|
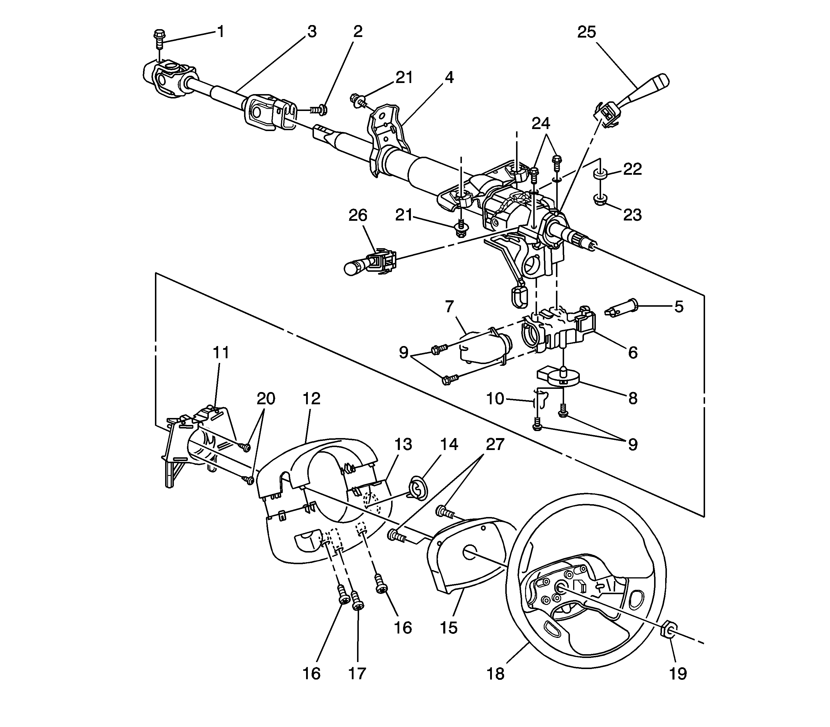
| (1) | Lower Intermediate
Steering Shaft Bolt |
| (2) | Upper Intermediate
Steering Shaft Bolt |
| (3) | Intermediate
Steering Shaft Assembly |
| (4) | Steering Column
Assembly |
| (5) | Ignition
Lock Cylinder |
| (6) | Ignition/Start
Switch Housing |
| (7) | Ignition/Start
Switch Assembly |
| (8) | Automatic
Transmission Shift Lock Control Solenoid Assembly |
| (9) | Ignitio/Start
Switch Bolts |
| (10) | Autimatic
Transmission Park Lock Cable Clip |
| (11) | Turn Signal
Switch Housing Assembly |
| (12) | Upper Trim
Cover |
| (13) | Lower Trim
Cover |
| (14) | Ignition/Start
Switch Bezel |
| (15) | Steering
Wheel Shroud |
| (16) | Lower Trim
Cover Screws |
| (17) | Upper Trim
Cover Screws |
| (18) | Steering
Wheel Assembly |
| (19) | Steering
Wheel Nut |
| (20) | Turn Signal
Switch Screws |
| (21) | Steering Column
Support Bolts |
| (21) | Steering Column
Support Bolts |
| (22) | Steering
Column Upper Support Washer |
| (23) | Steering
Column Support Nut |
| (24) | Ignition/Start
Switch Housing Bolts |
| (25) | Wiper/Washer
Switch Assembly |
| (26) | Turn Signal/Head
Lamp/Dimmer/Park Switch Assembly |
| (27) | Steering
Wheel Shroud Screws |