GM Service Manual Online
For 1990-2009 cars only

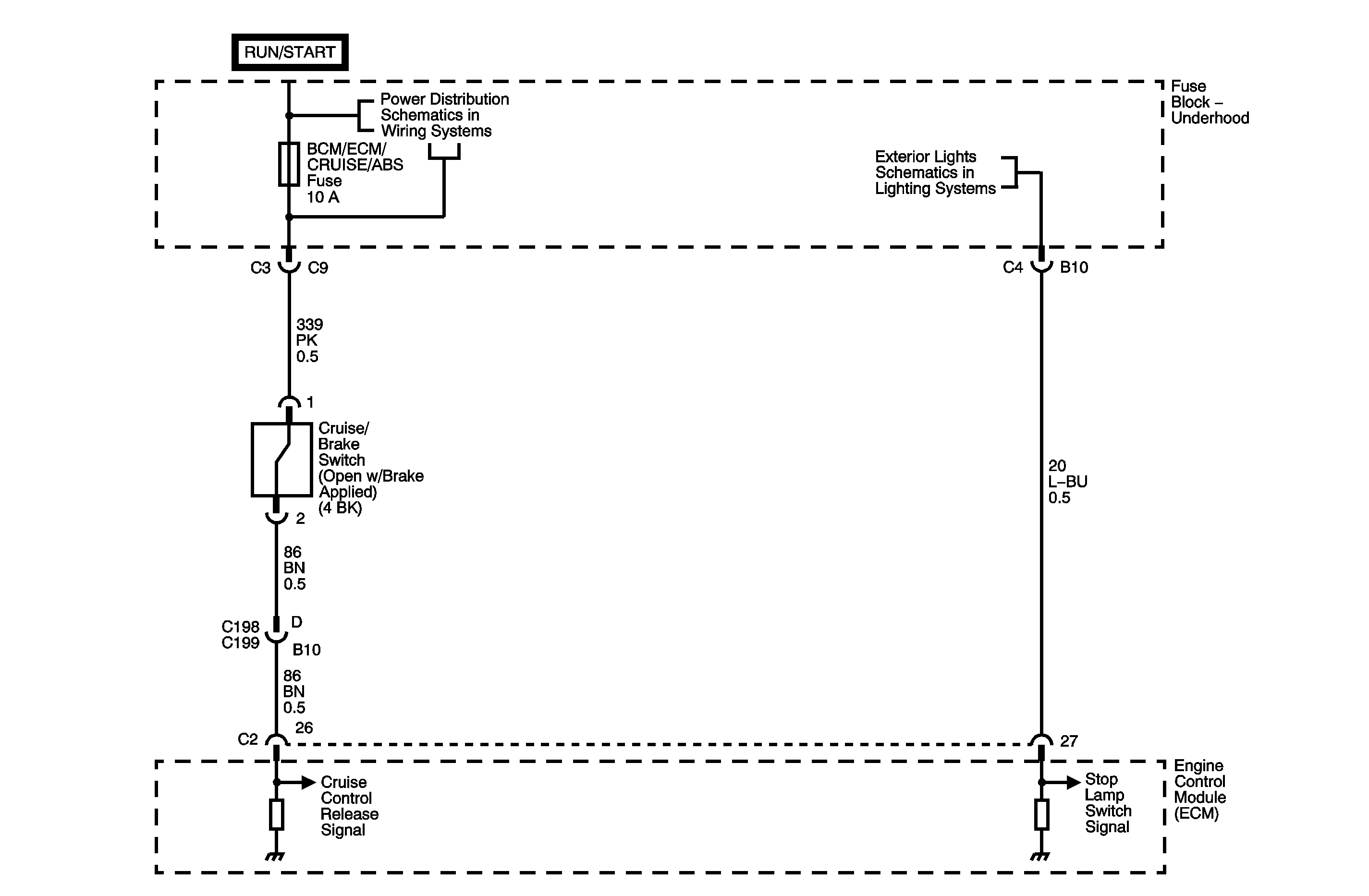
Object Number: 1242393  Size: MF

Circuit Description

The cruise brake switch is a normally closed switch. The stop lamp switch is a normally open switch. When the brake pedal is released, the electronic control module (ECM) detects a high voltage signal on the cruise brake switch signal circuit and a low signal voltage signal on the stop lamp switch signal circuit.

Conditions for Running the DTC

    • The engine speed is greater than 700 RPM.
    • The engine operates for greater than 2 seconds.
    • The ECM detects that the condition exists for 20 consecutive times in one ignition cycle.

Conditions for Setting the DTC

DTC P0571 will set when the ECM detects one of the following conditions:

    • A high signal voltage on the stop lamp switch signal circuit and a high signal voltage on the cruise control release signal circuit.
    • A low voltage signal on the cruise control release signal circuit and a low signal on the stop lamp switch signal circuit.

Action Taken When the DTC Sets

    • The ECM stores the DTC information into memory when the diagnostic runs and fails.
    • The malfunction indicator lamp (MIL) will not illuminate.
    • The ECM records the operating conditions at the time the diagnostic fails. The ECM stores this information in the Failure Records.
    • The cruise control system is disabled.

Conditions for Clearing the DTC

    • A last test failed, or current DTC, clears when the diagnostic runs and does not fail.
    • A history DTC will clear after 40 consecutive warm-up cycles, if no failures are reported by this or any other non-emission related diagnostic.
    • Use a scan tool in order to clear the DTC.

Diagnostic Aids

    • Inspect for proper adjustment of the cruise/brake switch, refer to Cruise Release Switch Adjustment .
    • Inspect for proper operation of the stop lamps, refer to Exterior Lighting Systems Description and Operation in Lighting Systems.
    • For an intermittent condition, refer to Testing for Intermittent Conditions and Poor Connections in Wiring Systems.

Step

Action

Yes

No

Schematic Reference: Cruise Control Schematics

Connector End View Reference: Cruise Control Connector End Views or to Lighting Systems Connector End Views in Lighting Systems

1

Did you perform the Cruise Control Diagnostic System Check?

Go to Step 2

Go to Diagnostic System Check - Cruise Control

2

  1. Connect a scan tool.
  2. Turn the ignition ON, with the engine OFF.
  3. With the scan tool, observe the Cruise Brake Switch parameter in the PCM Idle/Speed Control data list.

Does the Cruise Brake Switch parameter display Released?

Go to Step 3

Go to Step 4

3

  1. Connect a scan tool.
  2. Turn the ignition ON, with the engine OFF.
  3. With the scan tool, observe the Brake Switch parameter in the PCM Idle/Speed Control data list.

Does the Brake Switch parameter display Released?

Go to Diagnostic Aids

Go to Step 5

4

  1. Turn the ignition OFF.
  2. Disconnect the cruise brake switch.
  3. Turn the ignition ON, with the engine OFF.
  4. Connect a test lamp between the ignition 1 voltage circuit and a good ground.

Does the test lamp illuminate?

Go to Step 6

Go to Step 9

5

Test the stop lamp switch signal circuit for an open or for a high resistance between the underhood fuse block and the ECM. Refer to Circuit Testing and to Wiring Repairs in Wiring Systems.

Did you find and correct the condition?

Go to Step 12

Go to Step 8

6

Test the cruise control release signal circuit for an open or for a high resistance. Refer Circuit Testing and to Wiring Repairs in Wiring Systems.

Did you find and correct the condition?

Go to Step 12

Go to Step 7

7

Inspect for poor connections at the harness connector of the cruise brake switch. Refer to Testing for Intermittent Conditions and Poor Connections and to Connector Repairs in Wiring Systems.

Did you find and correct the condition?

Go to Step 12

Go to Step 10

8

Inspect for poor connections at the harness connector of the ECM. Refer to Testing for Intermittent Conditions and Poor Connections and Connector Repairs in Wiring Systems.

Did you find and correct the condition?

Go to Step 12

Go to Step 11

9

Repair the open, the short to ground, or the high resistance in the ignition 1 voltage circuit. Refer to Circuit Testing and to Wiring Repairs in Wiring Systems.

Did you complete the repair?

Go to Step 12

--

10

Replace the cruise brake switch. Refer to Cruise Control Release Switch Replacement .

Did you complete the repair?

Go to Step 12

--

11

Important: Program the replacement PCM.

Replace the ECM. Refer to Engine Control Module Replacement in Engine Controls-3.0 L (L81).

Did you complete the replacement?

Go to Step 12

--

12

  1. Use a scan tool in order to clear the DTCs.
  2. Operate the vehicle within the Conditions for Running the DTC.

Does the DTC reset?

Go to Step 2

System OK