GM Service Manual Online
For 1990-2009 cars only

DTC P1842 3.0L (L81)


Object Number: 1236700  Size: MF
Master Electrical Component List
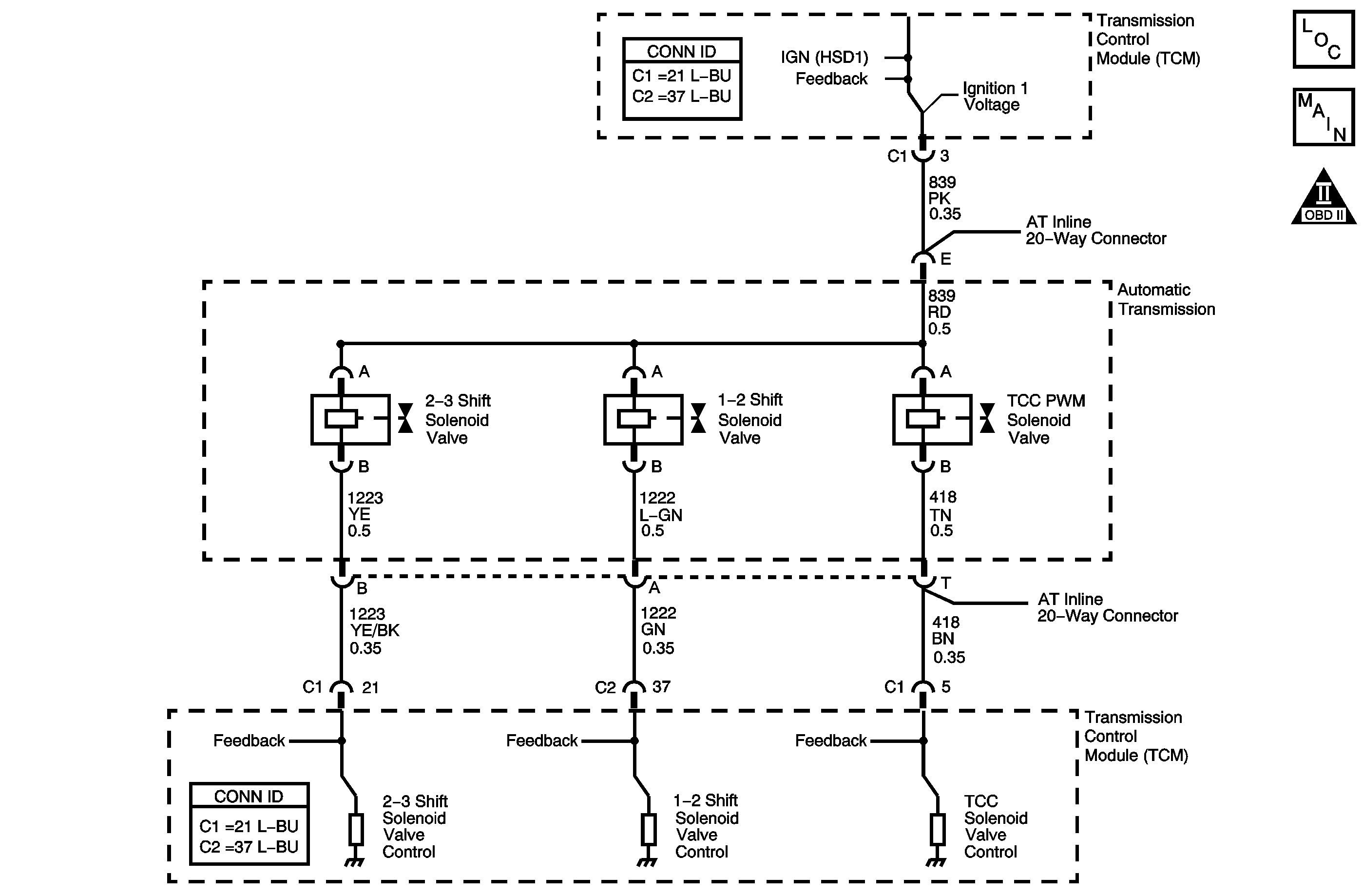
Automatic Transmission Controls Schematics 3.0L
OBD II Symbol Description Notice

Circuit Description

The 1-2 shift solenoid (SS) valve controls transmission fluid pressure acting on the 1-2 and 2-3 shift valves to position the valves for the appropriate gear. The 1-2 SS valve is a normally open exhaust valve located on the control valve body. The transmission control module (TCM) provides voltage to the pressure control solenoid, the shift solenoids, and the TCC PWM solenoid through two separate solid-state devices called High Side Drivers, called HSD1 and HSD2. HSD1 provides electrical power to the pressure control solenoid. HSD2 provides electrical power to the shift solenoids, and the TCC PWM solenoid. The TCM then commands the solenoid ON or OFF by also providing a ground path. When the 1-2 SS valve is commanded ON, the TCM senses low voltage. When the 1-2 SS valve is commanded OFF, the TCM senses high voltage.

If the TCM detects a continuous open or short to ground in the 1-2 SS valve circuit, then DTC P1842 sets. DTC P1842 is a type A DTC.

Conditions for Running the DTC

The engine run time is greater than 5 seconds.

Conditions for Setting the DTC

The 1-2 SS valve feedback circuit indicates a continuous open or short to ground for 4.3 seconds.

Action Taken When the DTC Sets

    • The TCM requests the ECM to illuminate the malfunction indicator lamp (MIL).
    • The TCM commands maximum line pressure.
    • The TCM inhibits 3-2 downshifts above 52 km/h (32 mph).
    • The TCM inhibits TCC engagement.
    • The TCM freezes transmission adaptive functions.
    • The ECM records the operating conditions when the Conditions for Setting the DTC are met. The ECM stores this information as Freeze Frame and Failure Records.
    • The TCM records the operating conditions when the Conditions for Setting the DTC are met. The TCM stores this information as Failure Records.
    • The TCM stores DTC P1842 in TCM history.

Conditions for Clearing the MIL/DTC

    • The ECM turns OFF the MIL after the third consecutive drive trip in which the TCM does not send a MIL illumination request.
    • A scan tool can clear the MIL/DTC.
    • The TCM clears the DTC from TCM history if the vehicle completes 40 warm-up cycles without an emission-related diagnostic fault occurring.
    • The TCM cancels the DTC default actions when the ignition switch is OFF long enough in order to power down the TCM.

Test Description

The numbers below refer to the step numbers on the diagnostic table.

  1. This step tests the electrical operation of the solenoid.

  2. This step tests the TCM and the wiring to the transmission.

  3. This step verifies that the circuit has the correct resistance.

DTC P1842

Step

Action

Value(s)

Yes

No

1

Did you perform the Diagnostic System Check - Engine Controls?

--

Go to Step 2

Go to Diagnostic System Check - Engine Controls in Engine Controls - 3.0L (L81)

2

  1. Install a scan tool.
  2. Turn ON the ignition, with the engine OFF.
  3. Important: Before clearing the DTC, use the scan tool in order to record the Freeze Frame and Failure Records. Using the Clear Info function erases the Freeze Frame and Failure Records from both the ECM and the TCM.

  4. Record the DTC Freeze Frame and Failure Records.
  5. Clear the DTC.

Is DTC P1845 or P1860 also set?

--

Go to Step 3

Go to Step 5

3

Test the ignition 1 voltage circuit (CKT 839) of the 1-2 SS valve for an open or a short to ground between the TCM C1 connector and the AT inline 20-way connector.

Refer to Circuit Testing and Wiring Repairs in Wiring Systems.

Did you find and correct the condition?

--

Go to Step 19

Go to Step 4

4

Important: The condition that affects this circuit may exist in other connecting branches of the circuit. Refer to Power Distribution Schematics in Wiring Systems for complete circuit distribution.

Test the ignition 1 voltage circuit (CKT 839) of the 1-2 SS valve for an open or a short to ground between the AT inline 20-way connector and the 1-2 SS valve.

Refer to Circuit Testing in Wiring Systems.

Did you find the condition?

--

Go to Step 16

--

5

  1. Use the scan tool in order to command the 1-2 SS valve ON and OFF 3 times.
  2. Listen at the transmission bottom pan.

Does the solenoid click when commanded ON and OFF?

--

Go to Intermittent Conditions in Engine Controls - 3.0L (L81)

Go to Step 6

6

  1. Turn OFF the ignition.
  2. Disconnect the AT inline 20-way connector. Additional DTCs may set.
  3. Install the J 44152 jumper harness (20 pins) on the engine side of the AT inline 20-way connector.
  4. Using the J-35616 connector test adapter kit, connect a test lamp between terminals E and A of the J 44152 .
  5. Refer to Automatic Transmission Inline 20-Way Connector End View .

  6. Turn ON the ignition, with the engine OFF.
  7. Command the 1-2 SS valve ON and OFF three times.

Is the test lamp ON when you command the solenoid ON, and OFF when you command the solenoid OFF?

--

Go to Step 10

Go to Step 7

7

Is the test lamp always ON?

--

Go to Step 8

Go to Step 9

8

Test the control circuit (CKT 1222) of the 1-2 SS valve for a short to ground between the TCM connector C2 and the AT inline 20-way connector.

Refer to Testing for Short to Ground and Wiring Repairs in Wiring Systems.

Did you find and correct the condition?

--

Go to Step 19

Go to Step 18

9

Test the control circuit (CKT 1222) of the 1-2 SS valve for an open between the TCM connector C2 and the AT inline 20-way connector.

Refer to Testing for Continuity and Wiring Repairs in Wiring Systems.

Did you find and correct the condition?

--

Go to Step 19

Go to Step 18

10

  1. Turn OFF the ignition.
  2. Disconnect the J 44152 from the engine side of the AT inline 20-way connector.
  3. Install the J 44152 on the transmission side of the AT inline 20-way connector.
  4. Using the DMM and the J-35616 connector test adapter kit, measure the resistance between terminals E and A of the J 44152 .

Refer to Automatic Transmission Inline 20-Way Connector End View .

Is the resistance within the specified range?

19-31 ohms

Go to Step 13

Go to Step 11

11

Is the resistance greater than the specified value?

31 ohms

Go to Step 12

Go to Step 13

12

  1. Test the control circuit (CKT 1222) of the 1-2 SS valve for an open between the AT inline 20-way connector and the 1-2 SS valve.
  2. Test the ignition 1 voltage circuit (CKT 839) of the 1-2 SS valve for an open between the AT inline 20-way connector and the 1-2 SS valve.

Refer to Testing for Continuity in Wiring Systems.

Did you find a condition?

--

Go to Step 16

Go to Step 17

13

Measure the resistance from terminal A of the J 44152 to ground.

Refer to Automatic Transmission Inline 20-Way Connector End View .

Is the resistance less than the specified value?

100 ohms

Go to Step 14

Go to Step 15

14

Test the control circuit (CKT 1222) of the 1-2 SS valve for a short to ground between the AT inline 20-way connector and the 1-2 SS valve.

Refer to Testing for Short to Ground in Wiring Systems.

Did you find the condition?

--

Go to Step 16

--

15

Measure the resistance between terminal A and all other terminals, except terminals B, T and E, of the J 44152 .

Refer to Automatic Transmission Inline 20-Way Connector End View .

Is the resistance between terminal A and any other terminal, except terminals B, T and E, less than the specified value?

100 ohms

Go to Step 16

Go to Step 17

16

Replace the automatic transmission wiring harness.

Refer to Wiring Harness Removal .

Did you complete the replacement?

--

Go to Step 19

--

17

Replace the 1-2 SS valve.

Refer to Control Valve Body Disassemble in Unit Repair.

Did you complete the replacement?

--

Go to Step 19

--

18

Replace the TCM.

Refer to Transmission Control Module Replacement in Engine Controls - 3.0L (L81).

Did you complete the replacement?

--

Go to Step 19

--

19

Perform the following procedure in order to verify the repair:

  1. Select DTC.
  2. Select Clear Info.
  3. Operate the vehicle under the following conditions:
  4. • Drive the vehicle in D4.
    • Allow the transmission to obtain a 1-2 upshift.
  5. Select Specific DTC.
  6. Enter DTC P1842.

Has the test run and passed?

--

Go to Step 20

Go to Step 2

20

With the scan tool, observe the stored information, capture info. and DTC info.

Does the scan tool display any DTCs that you have not diagnosed?

--

Go to Diagnostic Trouble Code (DTC) List in Engine Controls - 3.0L (L81)

System OK