GM Service Manual Online
For 1990-2009 cars only

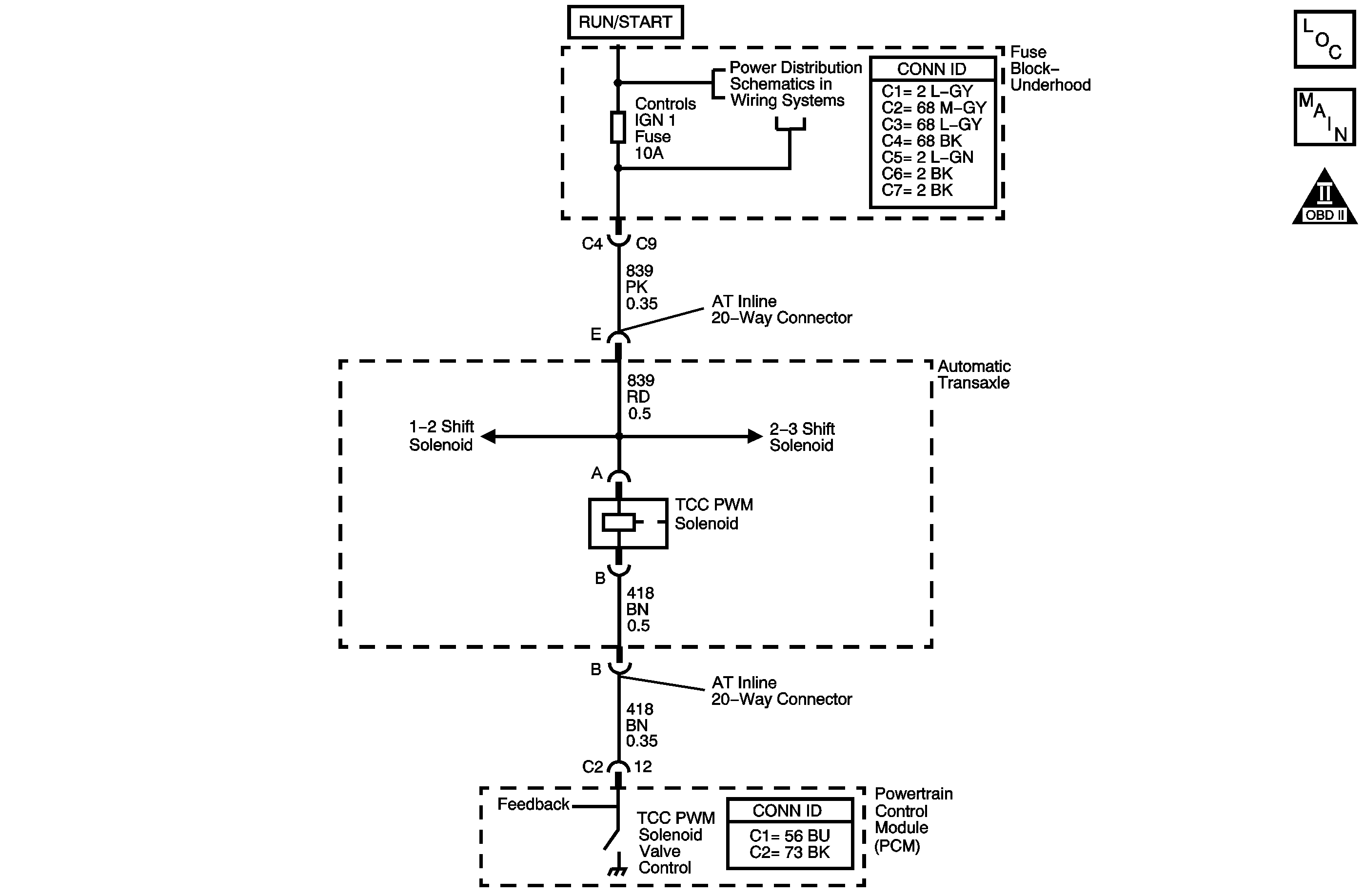
DTC P1860 2.2L (L61)


Object Number: 1236703  Size: MF
Master Electrical Component List
Automatic Transmission Controls Schematics 2.2L
OBD II Symbol Description Notice

Circuit Description

The torque converter clutch pulse width modulated (TCC PWM) solenoid valve is a normally-closed solenoid used to control the apply and release of the converter clutch. The PCM operates the solenoid with a negative duty cycle. When vehicle operating conditions are appropriate to apply the TCC, the PCM immediately increases the duty cycle to approximately 42 percent. The PCM then ramps the duty cycle to approximately 90 percent to achieve full TCC apply pressure. When the solenoid is commanded OFF, the PCM senses high voltage. When the solenoid is commanded ON, the PCM senses low voltage.

When the PCM detects a continuous open, short to ground or short to voltage in the TCC PWM solenoid valve circuit, then DTC P1860 sets. DTC P1860 is a type A DTC.

Conditions for Running the DTC

The TCC PWM solenoid valve duty cycle is less than 10 percent or greater than 90 percent.

Conditions for Setting the DTC

The PCM detects an open, short to ground or a short to voltage on the TCC PWM solenoid valve circuit within 4.3 seconds.

Action Taken When the DTC Sets

    • The PCM illuminates the malfunction indicator lamp (MIL).
    • The PCM inhibits TCC engagement.
    • The PCM freezes transmission adaptive functions.
    • The PCM records the operating conditions when the Conditions for Setting the DTC are met. The PCM stores this information as Freeze Frame and Failure Records.
    • The PCM stores DTC P1860 in PCM history.

Conditions for Clearing the MIL/DTC

    • The PCM turns OFF the MIL during the third consecutive trip in which the diagnostic test runs and passes.
    • A scan tool can clear the MIL/DTC.
    • The PCM clears the DTC from PCM history if the vehicle completes 40 warm-up cycles without an emission-related diagnostic fault occurring.
    • The PCM cancels the DTC default actions when the ignition switch is OFF long enough in order to power down the PCM.

Diagnostic Aids

Ensure the wiring harness is not stretched too tightly or other components are pressing on the connector body. Also, inspect for proper clearance to any other components and wiring. Refer to Testing for Intermittent Conditions and Poor Connections in Wiring Systems.

Test Description

The numbers below refer to the step numbers on the diagnostic table.

  1. This step tests the PCM and the wiring to the AT inline 20-way connector.

  2. This step tests the control circuit for a short to voltage.

  3. This step tests the circuit for correct resistance.

Step

Action

Value(s)

Yes

No

1

Did you perform the Diagnostic System Check - Engine Controls?

--

Go to Step 2

Go to Diagnostic System Check - Engine Controls in Engine Controls - 2.2L (L61)

2

  1. Install a scan tool.
  2. Turn ON the ignition, with the engine OFF.
  3. Important: Before clearing the DTC, use the scan tool in order to record the Failure Records. Using the Clear Info function erases the Failure Records from the PCM.

  4. Record the DTC Failure Records.
  5. Clear the DTC.

Is DTC P0753 or P0758 also set?

--

Go to Step 3

Go to Step 8

3

  1. Remove the ERLS fuse.
  2. Inspect the fuse for an open.
  3. Refer to Circuit Protection - Fuses in Wiring Systems.

Did you find the condition?

--

Go to Step 4

Go to Step 6

4

Important: The condition that affects this circuit may exist in other connecting branches of the circuit. Refer to Power Distribution Schematics in Wiring Systems for complete circuit distribution.

Test the ignition 1 voltage circuit (CKT 439) of the TCC PWM solenoid valve for a short to ground between the fuse block and the AT inline 20-way connector.

Refer to Testing for Short to Ground and Wiring Repairs in Wiring Systems.

Did you find and correct the condition?

--

Go to Step 25

Go to Step 5

5

Important: The condition that affects this circuit may exist in other connecting branches of the circuit. Refer to Power Distribution Schematics in Wiring Systems for complete circuit distribution.

Test the ignition 1 voltage circuit (CKT 839) of the TCC PWM solenoid valve for a short to ground between the AT inline 20-way connector and the TCC PWM solenoid valve.

Refer to Testing for Short to Ground in Wiring Systems.

Did you find the condition?

--

Go to Step 22

--

6

Test the ignition 1 voltage circuit (CKT 439) of the TCC PWM solenoid valve for an open between the fuse block and the AT inline 20-way connector.

Refer to Testing for Continuity and Wiring Repairs in Wiring Systems.

Did you find and correct the condition?

--

Go to Step 25

Go to Step 7

7

Test the ignition 1 voltage circuit (CKT 839) of the TCC PWM solenoid valve for an open between the AT inline 20-way connector and the TCC PWM solenoid valve.

Refer to Testing for Continuity in Wiring Systems.

Did you find the condition?

--

Go to Step 22

--

8

  1. Turn OFF the ignition.
  2. Disconnect the AT inline 20-way connector. Additional DTCs may set.
  3. Install the J 44152 jumper harness (20 pins) on the engine side of the AT inline 20-way connector.
  4. Using the J-35616 connector test adapter kit, connect a test lamp between terminal E and T of the J 44152 .
  5. Refer to Automatic Transmission Inline 20-Way Connector End View .

  6. Turn ON the ignition, with the engine OFF.

Is the test lamp ON?

--

Go to Step 9

Go to Step 11

9

  1. Turn OFF the ignition .
  2. Disconnect the PCM connector C2. Additional DTCs may set.
  3. Turn ON the ignition, with the engine OFF.

Is the test lamp ON?

--

Go to Step 10

Go to Step 24

10

Test the control circuit (CKT 418) of the TCC PWM solenoid valve for a short to ground between the PCM connector C2 and the AT inline 20-way connector.

Refer to Testing for Short to Ground and Wiring Repairs in Wiring Systems.

Did you find and correct the condition?

--

Go to Step 25

--

11

Using the scan tool, cycle the TCC PWM solenoid valve ON and OFF three times.

Does the test lamp cycle ON and OFF as commanded?

--

Go to Step 16

Go to Step 12

12

Is the test lamp always OFF?

--

Go to Step 13

--

13

Test the control circuit (CKT 418) of the TCC PWM solenoid valve for an open between the PCM connector C2 and the AT inline 20-way connector.

Refer to Testing for Continuity and Wiring Repairs in Wiring Systems.

Did you find and correct the condition?

--

Go to Step 25

Go to Step 14

14

Connect a test lamp from terminal T of the J 44152 to ground.

Refer to Automatic Transmission Inline 20-Way Connector End View .

Is the test lamp ON?

--

Go to Step 15

Go to Step 24

15

Test the control circuit (CKT 418) of the TCC PWM solenoid valve for a short to voltage between the PCM connector C2 and the AT inline 20-way connector.

Refer to Testing for a Short to Voltage and Wiring Repairs in Wiring Systems.

Did you find and correct the condition?

--

Go to Step 25

--

16

  1. Turn OFF the ignition .
  2. Disconnect the J 44152 from the engine side of the AT inline 20-way connector.
  3. Install the J 44152 on the transmission side of the AT inline 20-way connector.
  4. Using the DMM and the J-35616 connector test adapter kit, measure the resistance between terminal E and T of the J 44152 .

Refer to Automatic Transmission Inline 20-Way Connector End View .

Is the resistance within the specified range?

10-15 ohms

Go to Step 19

Go to Step 17

17

Is the resistance greater than the specified value?

15 ohms

Go to Step 18

Go to Step 19

18

  1. Test the control circuit (CKT 418) of the TCC PWM solenoid valve for an open between the AT inline 20-way connector and the TCC PWM solenoid valve.
  2. Test the ignition 1 voltage circuit (CKT 839) of the TCC PWM solenoid valve for an open between the AT inline 20-way connector and the TCC PWM solenoid valve.

Refer to Testing for Continuity in Wiring Systems.

Did you find a condition?

--

Go to Step 22

Go to Step 23

19

Measure the resistance from terminal T of the J 44152 to ground.

Refer to Automatic Transmission Inline 20-Way Connector End View .

Is the resistance less than the specified value?

1,000 ohms

Go to Step 20

Go to Step 21

20

Test the control circuit (CKT 418) of the TCC PWM solenoid valve for a short to ground between the AT inline 20-way connector and the TCC PWM solenoid valve.

Refer to Testing for Short to Ground in Wiring Systems.

Did you find a condition?

--

Go to Step 22

--

21

Measure the resistance between terminal T and all other terminals, except terminal A, B and E, of the J 44152 .

Refer to Automatic Transmission Inline 20-Way Connector End View .

Is the resistance between terminal T and any other terminal, except terminal A, B and E, less than the specified value?

1,000 ohms

Go to Step 22

Go to Step 23

22

Replace the automatic transmission wiring harness.

Refer to Wiring Harness Removal .

Did you complete the replacement?

--

Go to Step 25

--

23

Replace the TCC PWM solenoid valve.

Refer to Torque Converter Clutch Pulse Width Modulation Solenoid Replacement .

Did you complete the replacement?

--

Go to Step 25

--

24

Replace the PCM.

Refer to Powertrain Control Module Replacement in Engine Controls - 2.2L (L61).

Did you complete the replacement?

--

Go to Step 25

--

25

Perform the following procedure in order to verify the repair:

  1. Select DTC.
  2. Select Clear Info.
  3. Operate the vehicle under the following conditions:
  4. • Road test the vehicle with the gear select lever in D4.
    • Increase vehicle speed until the TCC is applied.
    • Ensure that the TCC duty cycle is 10-90% for more than 5 seconds.
  5. Select Specific DTC.
  6. Enter DTC P1860.

Has the test run and passed?

--

Go to Step 26

Go to Step 2

26

With the scan tool, observe the stored information, capture info and DTC info.

Does the scan tool display any DTCs that you have not diagnosed?

--

Go to Diagnostic Trouble Code (DTC) List in Engine Controls - 2.2L (L61)

System OK

DTC P1860 3.0L (L81)


Object Number: 1236700  Size: MF
Master Electrical Component List
Automatic Transmission Controls Schematics 3.0L
OBD II Symbol Description Notice

Circuit Description

The torque converter clutch pulse width modulated (TCC PWM) solenoid valve is a normally-closed solenoid used to control the apply and release of the converter clutch. The TCM operates the solenoid with a negative duty cycle. When vehicle operating conditions are appropriate to apply the TCC, the TCM immediately increases the duty cycle to approximately 42 percent. The TCM then ramps the duty cycle to approximately 90 percent to achieve full TCC apply pressure. When the solenoid is commanded OFF, the TCM senses high voltage. When the solenoid is commanded ON, the TCM senses low voltage.

When the TCM detects a continuous open, short to ground or short to voltage in the TCC PWM solenoid valve circuit, then DTC P1860 sets. DTC P1860 is a type A DTC.

Conditions for Running the DTC

    • No TCC system DTCs P0741 or P0742.
    • The engine run time is greater than 5 seconds.
    • The TCC PWM solenoid valve duty cycle is less than 10 percent or greater than 90 percent.

Conditions for Setting the DTC

The TCM detects an open, short to ground or a short to voltage on the TCC PWM solenoid valve circuit within 4.3 seconds.

Action Taken When the DTC Sets

    • The TCM requests the ECM to illuminate the malfunction indicator lamp (MIL).
    • The TCM inhibits TCC engagement.
    • The TCM freezes transmission adaptive functions.
    • The ECM records the operating conditions when the Conditions for Setting the DTC are met. The ECM stores this information as Freeze Frame and Failure Records.
    • The TCM records the operating conditions when the Conditions for Setting the DTC are met. The TCM stores this information as Failure Records.
    • The TCM stores DTC P1860 in TCM history.

Conditions for Clearing the MIL/DTC

    • The ECM turns OFF the MIL after the third consecutive drive trip in which the TCM does not send a MIL illumination request.
    • A scan tool can clear the MIL/DTC.
    • The TCM clears the DTC from TCM history if the vehicle completes 40 warm-up cycles without an emission-related diagnostic fault occurring.
    • The TCM cancels the DTC default actions when the ignition switch is OFF long enough in order to power down the TCM.

Diagnostic Aids

Ensure the wiring harness is not stretched too tightly or other components are pressing on the connector body. Also, inspect for proper clearance to any other components and wiring. Refer to Testing for Intermittent Conditions and Poor Connections in Wiring Systems.

Test Description

The numbers below refer to the step numbers on the diagnostic table.

  1. This step tests the TCM and the wiring to the AT inline 20-way connector.

  2. This step tests the control circuit for a short to voltage.

  3. This step tests the circuit for correct resistance.

Step

Action

Value(s)

Yes

No

1

Did you perform the Diagnostic System Check - Engine Controls?

--

Go to Step 2

Go to Diagnostic System Check - Engine Controls in Engine Controls - 3.0L (L81)

2

  1. Install a scan tool.
  2. Turn ON the ignition, with the engine OFF.
  3. Important: Before clearing the DTC, use the scan tool in order to record the Freeze Frame and Failure Records. Using the Clear Info function erases the Freeze Frame and Failure Records from both the ECM and the TCM.

  4. Record the DTC Failure Records.
  5. Clear the DTC.

Is DTC P1842 or P1845 also set?

--

Go to Step 3

Go to Step 5

3

Test the ignition 1 voltage circuit (CKT 839) of the TCC PWM solenoid valve for an open or a short to ground between the TCM C1 connector and the AT inline 20-way connector.

Refer to Circuit Testing in Wiring Systems.

Did you find and correct the condition?

--

Go to Step 21

Go to Step 4

4

Test the ignition 1 voltage circuit (CKT 839) of the TCC PWM solenoid valve for an open or a short to ground between the AT inline 20-way connector and the TCC PWM solenoid valve.

Refer to Circuit Testing in Wiring Systems.

Did you find the condition?

--

Go to Step 18

--

5

  1. Turn OFF the ignition.
  2. Disconnect the AT inline 20-way connector. Additional DTCs may set.
  3. Install the J 44152 jumper harness (20 pins) on the engine side of the AT inline 20-way connector.
  4. Using the J-35616 connector test adapter kit, connect a test lamp between terminal E and T of the J 44152 .
  5. Refer to Automatic Transmission Inline 20-Way Connector End View .

  6. Turn ON the ignition, with the engine OFF.

Is the test lamp ON?

--

Go to Step 6

Go to Step 7

6

Test the control circuit (CKT 418) of the TCC PWM solenoid valve for a short to ground between the TCM connector C1 and the AT inline 20-way connector.

Refer to Testing for Short to Ground and Wiring Repairs in Wiring Systems.

Did you find and correct the condition?

--

Go to Step 21

Go to Step 20

7

Using the scan tool, cycle the TCC PWM solenoid valve ON and OFF three times.

Does the test lamp cycle ON and OFF as commanded?

--

Go to Step 12

Go to Step 8

8

Is the test lamp always OFF?

--

Go to Step 9

--

9

Test the control circuit (CKT 418) of the TCC PWM solenoid valve for an open between the TCM connector C2 and the AT inline 20-way connector.

Refer to Testing for Continuity and Wiring Repairs in Wiring Systems.

Did you find and correct the condition?

--

Go to Step 21

Go to Step 10

10

Connect a test lamp from terminal T of the J 44152 to ground.

Refer to Automatic Transmission Inline 20-Way Connector End View .

Is the test lamp ON?

--

Go to Step 11

Go to Step 20

11

Test the control circuit (CKT 418) of the TCC PWM solenoid valve for a short to voltage between the TCM connector C2 and the AT inline 20-way connector.

Refer to Testing for a Short to Voltage and Wiring Repairs in Wiring Systems.

Did you find and correct the condition?

--

Go to Step 21

--

12

  1. Turn OFF the ignition .
  2. Disconnect the J 44152 from the engine side of the AT inline 20-way connector.
  3. Install the J 44152 on the transmission side of the AT inline 20-way connector.
  4. Using the DMM and the J-35616 connector test adapter kit, measure the resistance between terminal E and T of the J 44152 .

Refer to Automatic Transmission Inline 20-Way Connector End View .

Is the resistance within the specified range?

10-15 ohms

Go to Step 15

Go to Step 13

13

Is the resistance greater than the specified value?

15 ohms

Go to Step 14

Go to Step 15

14

  1. Test the control circuit (CKT 418) of the TCC PWM solenoid valve for an open between the AT inline 20-way connector and the TCC PWM solenoid valve.
  2. Test the ignition 1 voltage circuit (CKT 839) of the TCC PWM solenoid valve for an open between the AT inline 20-way connector and the TCC PWM solenoid valve.

Refer to Testing for Continuity in Wiring Systems.

Did you find a condition?

--

Go to Step 18

Go to Step 19

15

Measure the resistance from terminal T of the J 44152 to ground.

Refer to Automatic Transmission Inline 20-Way Connector End View .

Is the resistance less than the specified value?

1,000 ohms

Go to Step 16

Go to Step 17

16

Test the control circuit (CKT 418) of the TCC PWM solenoid valve for a short to ground between the AT inline 20-way connector and the TCC PWM solenoid valve.

Refer to Testing for Short to Ground in Wiring Systems.

Did you find a condition?

--

Go to Step 18

--

17

Measure the resistance between terminal T and all other terminals, except terminal A, B and E, of the J 44152 .

Refer to Automatic Transmission Inline 20-Way Connector End View .

Is the resistance between terminal T and any other terminal, except terminal A, B and E, less than the specified value?

1,000 ohms

Go to Step 18

Go to Step 19

18

Replace the automatic transmission wiring harness.

Refer to Wiring Harness Removal .

Did you complete the replacement?

--

Go to Step 21

--

19

Replace the TCC PWM solenoid valve.

Refer to Torque Converter Clutch Pulse Width Modulation Solenoid Replacement .

Did you complete the replacement?

--

Go to Step 21

--

20

Replace the TCM.

Refer to Transmission Control Module Replacement .

Did you complete the replacement?

--

Go to Step 21

--

21

Perform the following procedure in order to verify the repair:

  1. Select DTC.
  2. Select Clear Info.
  3. Operate the vehicle under the following conditions:
  4. • Road test the vehicle with the gear select lever in D4.
    • Increase vehicle speed until the TCC is applied.
    • Ensure that the TCC duty cycle is 10-90% for more than 5 seconds.
  5. Select Specific DTC.
  6. Enter DTC P1860.

Has the test run and passed?

--

Go to Step 22

Go to Step 2

22

With the scan tool, observe the stored information, capture info and DTC info.

Does the scan tool display any DTCs that you have not diagnosed?

--

Go to Diagnostic Trouble Code (DTC) List in Engine Controls - 3.0L (L81)

System OK