GM Service Manual Online
For 1990-2009 cars only

Object Number: 1247917  Size: MF
Master Electrical Component List
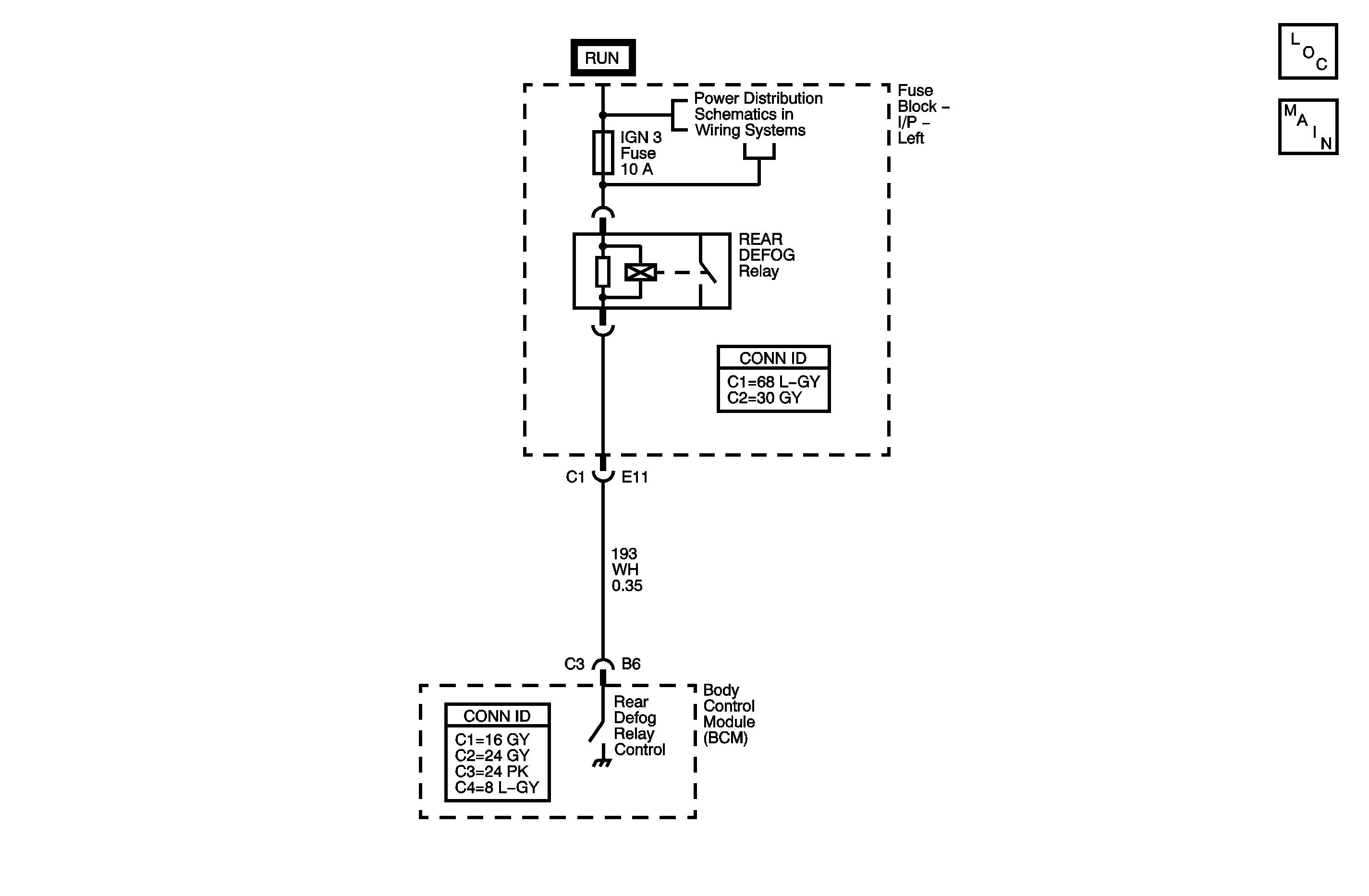
Defogger Schematics

Circuit Description

The body control module (BCM) monitors the rear defogger switch input. When the rear defogger is turned ON (defog switch closed), the BCM grounds the coil side of the rear defog relay. This will energize the relay activating the rear defogger.

The first time in an ignition cycle that the rear defogger is activated, the rear defogger will remain ON for 15 minutes, or until the ignition switch is turned OFF. If the rear defogger is activated again during the same ignition cycle, the rear defogger will remain ON for 7 1/2 minutes, or until the ignition switch is turned OFF.

Conditions for Running the DTC

The ignition is in RUN.

Conditions for Setting the DTC

    • The BCM detects a short to battery voltage in the rear defog relay control circuit when the relay is energized.
    • The BCM is commanding the rear defog system to the ON state.

Actions Taken When the DTC Sets

    • No light will illuminate in the I/P.
    • When a shorted to battery voltage condition exists in circuit 193 and the BCM has been requested to activate the rear defog system, the BCM will attempt to switch the circuit 193 to ground. High current flow will result and the BCM output will go into a protective state. The BCM output will not allow itself to be activated for as much as 3 minutes.

Conditions for Clearing the DTC

    • This DTC will change from current to history when the fault is no longer present.
    • A history DTC will clear after 100 consecutive ignition cycles if the condition for the malfunction is no longer present.

Step

Action

Yes

No

Schematic Reference: Defogger Schematics

Connector End View Reference: Master Electrical Component List in Wiring Systems

1

Did you perform the Defogger Diagnostic System Check?

Go to Step 2

Go to Diagnostic System Check - Defogger

2

  1. Turn ON the ignition, with the engine OFF.
  2. With a scan tool, select from Special Functions the Rear Defogger Relay from the BCM output controls.
  3. Command the REAR DEFOG relay ON and OFF.

Do you hear a click when you command the REAR DEFOG relay ON and OFF?

Go to Testing for Intermittent Conditions and Poor Connections in Wiring Systems

Go to Step 3

3

  1. Turn OFF the ignition.
  2. Disconnect the REAR DEFOG relay.
  3. Connect a test lamp between the rear defog relay control circuit of the REAR DEFOG relay coil and the supply voltage circuit of the REAR DEFOG relay coil.
  4. With a scan tool, command the REAR DEFOG relay ON and OFF .

Does the test lamp turn ON and OFF with each command?

Go to Step 5

Go to Step 4

4

Test the rear defog relay control circuit of the REAR DEFOG relay for a short to voltage. Refer to Circuit Testing and Wiring Repairs in Wiring Systems.

Did you find and correct the condition?

Go to Step 9

Go to Step 6

5

Inspect for poor connections at the REAR DEFOG relay. Refer to Testing for Intermittent Conditions and Poor Connections and Connector Repairs in Wiring Systems.

Did you find and correct the condition?

Go to Step 9

Go to Step 7

6

Inspect for poor connections at the harness connector of the BCM. Refer to Testing for Intermittent Conditions and Poor Connections and Connector Repairs in Wiring Systems.

Did you find and correct the condition?

Go to Step 9

Go to Step 8

7

Replace the REAR DEFOG relay. Refer to Relay Replacement in Wiring Systems.

Did you complete the replacement?

Go to Step 9

--

8

Important: Perform the programming or setup procedure for the replaced control module if required.

Replace the BCM. Refer to Body Control Module Replacement in Body Control System for applicable replacement procedure.

Did you complete the replacement?

Go to Step 9

--

9

  1. Use the scan tool in order to clear the DTCs.
  2. Operate the vehicle within the Conditions for Setting the DTC as specified in the supporting text.

Does the DTC reset?

Go to Step 2

System OK