GM Service Manual Online
For 1990-2009 cars only

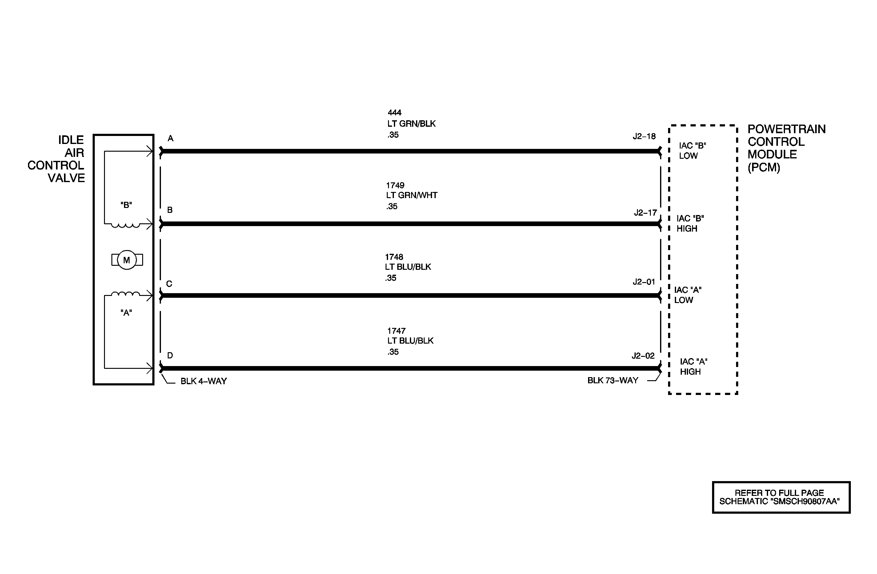
Object Number: 895515  Size: MF

Circuit Description

The engine idle speed is controlled by the idle air control (IAC) valve. The IAC valve is on the throttle body. The IAC valve pintle moves in and out of an idle air passage bore to control air flow around the throttle plate. The IAC valve consists of a movable pintle, driven by a gear attached to an electric motor called a stepper motor. The stepper motor is capable of highly accurate rotation, or of movement, called steps. The stepper motor has two separate windings that are called coils. Each coil is supplied current by two circuits from the powertrain control module (PCM). When the PCM changes polarity of a coil, the stepper motor moves one step. The PCM uses a predetermined number of counts to determine the IAC pintle position. Observe IAC counts with a scan tool. The IAC counts will increment up or down as the PCM attempts to change the IAC valve pintle position. An IAC Reset will occur when the ignition key is turned OFF. First, the PCM will seat the IAC pintle in the idle air passage bore. Second, the ECM will retract the pintle a predetermined number of counts to allow for efficient engine start-up. If the engine idle speed is out of range for a calibrated period of time, an idle speed diagnostic trouble code (DTC) sets.

Conditions For Running the DTC

    • DTCs P0106, P0107, P0108, P0112, P0113, P0116, P0117, P0118, P0122, P0123, P0125, P0128, P0500, P0508, P0509 are not set.
    • The ECT Sensor parameter is more than 50°C (122°F).
    • The IAT Sensor parameter is more than -25°C (-13°F)
    • The BARO parameter is more than 70 kPa.
    • The Engine Run Time parameter is more than 3 seconds.
    • The Ignition 1 Signal parameter is between 9-18 volts.
    • The Vehicle Speed parameter is 0 km/h (0 mph).

Conditions for Setting the DTC

The actual engine speed is 100 RPM less than the desired engine speed for more than 17 seconds.

Action Taken When the DTC Sets

    • The control module illuminates the malfunction indicator lamp (MIL) on the second consecutive ignition cycle that the diagnostic runs and fails.
    • The control module records the operating conditions at the time the diagnostic fails. The first time the diagnostic fails, the control module stores this information in the Failure Records. If the diagnostic reports a failure on the second consecutive ignition cycle, the control module records the operating conditions at the time of the failure. The control module writes the operating conditions to the Freeze Frame and updates the Failure Records.

Conditions for Clearing the MIL/DTC

    • The control module turns OFF the malfunction indicator lamp (MIL) after 3 consecutive ignition cycles that the diagnostic runs and does not fail.
    • A current DTC, Last Test Failed, clears when the diagnostic runs and passes.
    • A history DTC clears after 40 consecutive warm-up cycles, if no failures are reported by this or any other emission related diagnostic.
    • Clear the MIL and the DTC with a scan tool.

Diagnostic Aids

Inspect for the following conditions:

    • High resistance in an IAC valve control circuit
    •  Restricted air intake system
    • Proper operation and installation of all air intake components
    • Collapsed, clogged, or loose air intake ducts
    • A clogged air filter
    • Proper operation of the mass air flow (MAF) sensor, if equipped
    • A tampered with or damaged throttle stop screw
    • A tampered with or damaged throttle plate, throttle shaft, or throttle linkage
    • Objects blocking the IAC passage or throttle bore
    • Excessive deposits in the IAC passage or on the IAC pintle
    • Excessive deposits in the throttle bore or on the throttle plate
    • Vacuum leaks
    • A low or unstable idle condition could be caused by a non-IAC system problem that can not be overcome by the IAC valve--Refer to Symptoms - Engine Controls .

If the condition is determined to be intermittent, refer to Intermittent Conditions .

Test Description

The numbers below refer to the step numbers on the diagnostic table.

  1. This test will determine the ability of the PCM and the IAC valve control circuits to control the IAC valve.

  2. This test will determine the ability of the PCM to provide the IAC valve control circuits with a ground. On a normal operating system, the test lamp should not flash while the IAC Counts are incrementing.

Step

Action

Yes

No

Schematic Reference: Engine Controls Schematics

Connector End View Reference: Engine Controls Connector End Views or Powertrain Control Module Connector End Views

1

Did you perform the Diagnostic System Check-Engine Controls?

Go to Step 2

Go to Diagnostic System Check - Engine Controls

2

Important:  Ensure that the Engine Speed parameter stabilizes with each commanded RPM change to determine if the engine speed stays within 100 RPM of the commanded RPM.

  1. Set the parking brake and block the drive wheels.
  2. Start the engine.
  3. Turn OFF all accessories.
  4. Slowly increment engine speed to 1,700 RPM, then to 600 RPM, then to 1,700 RPM with the scan tool RPM control function.
  5. Exit the RPM control function.

Did the Engine Speed parameter stabilize within 100 RPM of the commanded RPM?

Go to Step 3

Go to Step 4

3

  1. Observe the Freeze Frame/Failure Records for this DTC.
  2. Turn OFF the ignition for 30 seconds.
  3. Start the engine.
  4. Operate the vehicle within the Conditions for Running the DTC. You may also operate the vehicle within the conditions that you observed from the Freeze Frame/Failure Records.

Does the DTC fail this ignition?

Go to Step 4

Go to Diagnostic Aids

4

  1. Turn OFF the ignition.
  2. Disconnect the IAC valve.
  3. Connect an J 37027-1A (SA9195E) IAC Motor Driver to the IAC valve.
  4. Start the engine.
  5. Command the IAC valve in until 600 RPM is reached with the J 37027-1A (SA9195E).
  6. Command the IAC valve out until 1,700 RPM is reached with the J 37027-1A (SA9195E).
  7. Return the engine speed to the Desired Idle Speed parameter.

Did the Engine Speed parameter steadily decrease to 600 RPM and steadily increase to 1,700 RPM when the IAC valve was commanded in and out?

Go to Step 5

Go to Step 11

5

  1. Connect a test lamp between one of the IAC valve control circuits and a good ground.
  2. Start the engine.
  3. Observe the IAC Counts parameter with a scan tool and observe the test lamp.
  4. Command high RPM with the J 37027-1A (SA9195E) until the IAC Counts parameter starts to increment.
  5. Command low RPM with the J 37027-1A (SA9195E) until the IAC Counts parameter starts to increment.
  6. Return the Engine Speed parameter to the Desired Idle Speed parameter.
  7. Repeat the above procedure for the other three IAC valve control circuits.

Did the test lamp remain ON, never flashing, while the IAC Counts were incrementing for any of the IAC valve control circuits?

Go to Step 10

Go to Step 6

6

Did the test lamp remain OFF, never flashing, while the IAC Counts were incrementing for any of the IAC valve control circuits?

Go to Step 9

Go to Step 7

7

  1. Connect a test lamp between the IAC coil A low circuit and the IAC coil A high circuit.
  2. Observe the IAC Counts parameter with a scan tool and observe the test lamp.
  3. Command high RPM with the J 37027-1A (SA9195E) until the IAC Counts parameter starts to increment.
  4. Command low RPM with the J 37027-1A (SA9195E) until the IAC Counts parameter starts to increment.
  5. Return the Engine Speed parameter to the Desired Idle Speed parameter.
  6. Repeat the above procedure with the test lamp connected between the IAC coil B low control circuit and the IAC coil B high control circuit.

Did the test lamp stay illuminated and never flashing while the IAC Counts were incrementing for any of the IAC valve control circuits?

Go to Step 8

Go to Step 16

8

Test for an intermittent and for a poor connection at the IAC valve. Refer to Testing for Intermittent Conditions and Poor Connections and Connector Repairs in Wiring Systems.

Did you find and correct the condition?

Go to Step 17

Go to Step 12

9

  1. Turn OFF the ignition.
  2. Disconnect the ECM.
  3. Test the circuit where the test lamp remained OFF for the following conditions:
  4. • An open circuit
    • A short to ground
    • A short to another IAC valve control circuit-- Refer to Circuit Testing and Wiring Repairs in Wiring Systems.

Did you find and correct the condition?

Go to Step 17

Go to Step 12

10

  1. Turn ON the ignition.
  2. Test the IAC valve control circuit where the test lamp remained ON for the following conditions:
  3. • A short to voltage
    • A short to another IAC valve circuit-- Refer to Circuit Testing and Wiring Repairs in Wiring Systems.

Did you find and correct the condition?

Go to Step 17

Go to Step 12

11

  1. Inspect for the following conditions:
  2. • Throttle body damage and tampering
    • Throttle lever screw tampering, if equipped
    • Restricted air intake system--Inspect for a possible collapsed/clogged air intake duct, before and after the air filter element, restricted air filter element, restriction at the throttle body intake screen, if equipped.
  3. Remove the IAC valve. Refer to Idle Air Control Valve Replacement .
  4. Inspect for the following conditions:
  5. • A clogged IAC passage
    • Excessive deposits on the throttle plate
    • Excessive deposits in the throttle bore
    • Excessive deposits on the IAC valve pintle

Did you find and correct the condition?

Go to Step 17

Go to Step 14

12

Test for an intermittent and for a poor connection at the ECM. Refer to Testing for Intermittent Conditions and Poor Connections and Connector Repairs in Wiring Systems.

Did you find and correct the condition?

Go to Step 17

Go to Step 13

13

  1. Disconnect the ECM.
  2. Test all IAC valve control circuits for high resistance. Refer to Circuit Testing and Wiring Repairs in Wiring Systems.

Did you find and correct the condition?

Go to Step 17

Go to Step 16

14

Test for an intermittent and for a poor connection at the IAC valve. Refer to Testing for Intermittent Conditions and Poor Connections and Connector Repairs in Wiring Systems.

Did you find and correct the condition?

Go to Step 17

Go to Step 15

15

Replace the IAC valve. Refer to Idle Air Control Valve Replacement .

Did you complete the replacement?

Go to Step 17

--

16

Replace the PCM. Refer to Powertrain Control Module Replacement .

Did you complete the replacement?

Go to Step 17

--

17

  1. Clear the DTCs with a scan tool.
  2. Turn OFF the ignition for 30 seconds.
  3. Start the engine.
  4. Operate the vehicle within the Conditions for Running the DTC. You may also operate the vehicle within the conditions that you observed from the Freeze Frame/Failure Records.

Did the DTC fail this ignition?

Go to Step 2

Go to Step 18

18

Observe the Capture Info with a scan tool.

Are there any DTCs that have not been diagnosed?

Go to Diagnostic Trouble Code (DTC) List

System OK