GM Service Manual Online
For 1990-2009 cars only

Object Number: 1226395  Size: MF

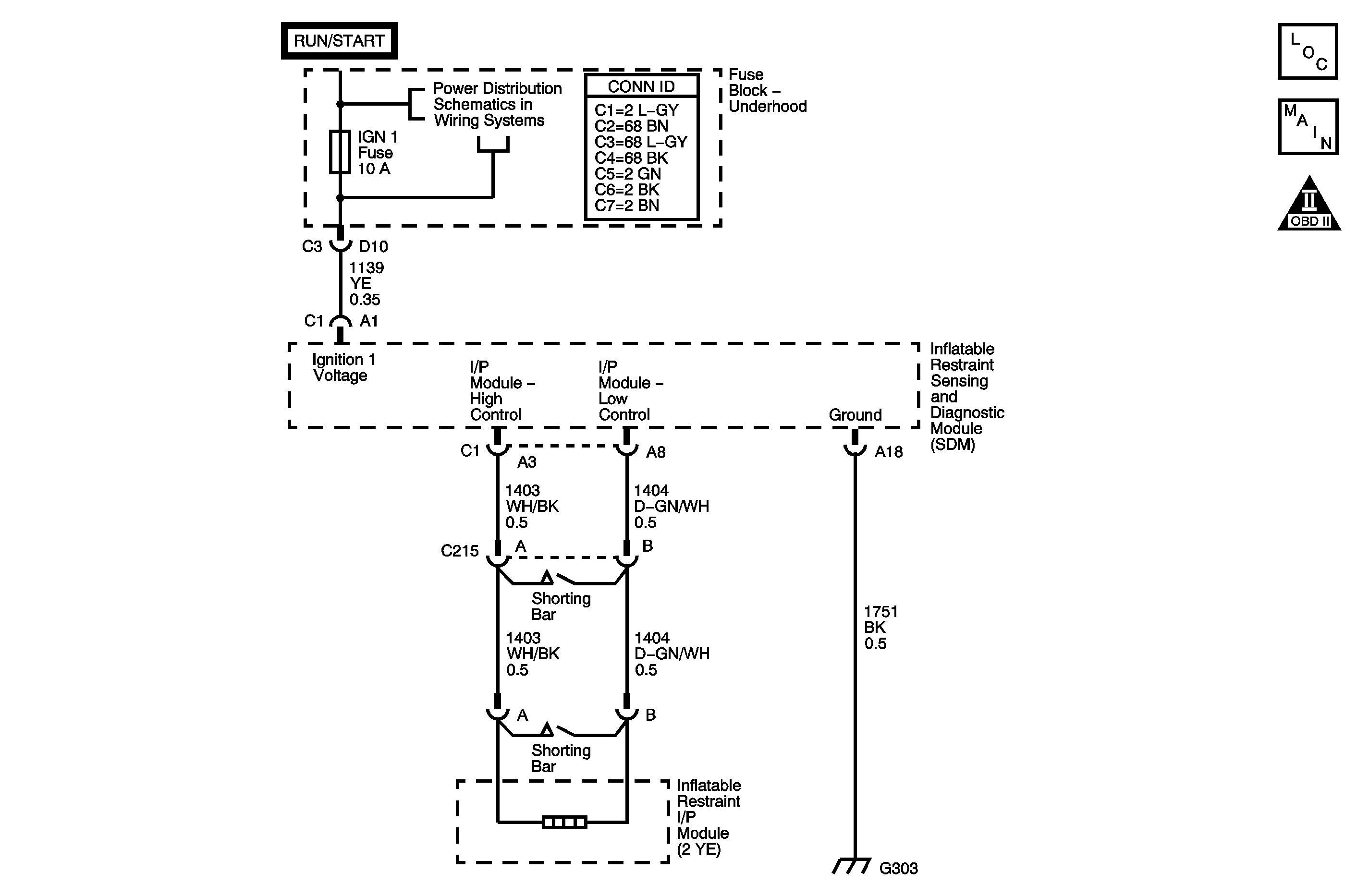
Circuit Description

The inflatable restraint instrument panel (I/P) module deployment loop consists of the inflatable restraint I/P module, and the I/P module high and low circuits. A shorting bar used within the I/P module connector shorts together the I/P module high and low circuits when the connector is disconnected. This helps to prevent unwanted deployment of the inflator module during servicing. During a frontal crash of sufficient force the inflatable restraint sensing and diagnostic module (SDM) allows current to flow through the deployment loop in order to deploy the I/P module. When the ignition is turned ON, the SDM performs continuous diagnostic tests on the deployment loops to check for proper circuit continuity and for shorts to ground or voltage. If a malfunction is detected, a diagnostic trouble code (DTC) will be stored in memory.

Conditions for Running the DTC

Ignition 1 voltage is within the normal operating voltage range.

Conditions for Setting the DTC

    • DTC B0016 will set when the I/P module deployment loop resistance is less than 1.3 ohms for 300 milliseconds.
    • DTC B0017 will set when one of the following conditions occurs:
       - I/P module high circuit is less than 2 volts and the I/P module deployment loop resistance is more than 3.7 ohms for 300 milliseconds.
       - I/P module deployment loop resistance is more than 6 ohms for 300 milliseconds.
    • DTC B0018 will set when one of the following conditions occur:
       - I/P module high and/or low circuit is short to ground or short to voltage for 300 milliseconds.
       - I/P module high circuit is less than 2 volts and I/P module deployment loop resistance is less than 6 ohms for 300 milliseconds.

Action Taken When the DTC Sets

The SDM commands the AIR BAG indicator ON via Class 2 serial data.

Conditions for Clearing the DTC

    • The condition responsible for setting the DTC no longer exists and the scan tool Clear DTCs function is used.
    • A history DTC will clear once 255 malfunction free ignition cycles have occurred.

Diagnostic Aids

The following are possible causes of the malfunction:

    • A short between the I/P module high and low circuits
    • An open or a high resistance in the I/P module high or low circuits
    • A short to ground or a short to voltage in the I/P module high or low circuits
    • The I/P module in-line connector
    • The I/P module pigtail connector
    • The SDM connector
    • A malfunctioning I/P module
    • A malfunctioning SDM

Thoroughly inspect the wiring and the connectors. An incomplete inspection of the wiring and the connectors may result in a misdiagnosis, causing a part replacement with the reappearance of the malfunction. If an intermittent malfunction exists, refer to Testing for Intermittent Conditions and Poor Connections in Wiring Systems.

Test Description

The numbers below refer to the step numbers on the diagnostic table.

  1. This step tests to see if the malfunction is caused by the I/P module.

  2. This step tests to see what DTCs are present. If DTC B0016 is present, test the I/P module for a short between high and low circuits. If DTC B0017 is present, test the I/P module high and low circuits for an open and for high resistance. If DTC B0018 is present, test the I/P module high and low circuits for a short to ground and for a short to voltage.

Step

Action

Yes

No

Schematic Reference: SIR Schematics

1

Did you perform the Diagnostic System Check - SIR?

Go to Step 2

Go to Diagnostic System Check - SIR

2

  1. Turn OFF the ignition.
  2. Disconnect the I/P module in-line connector. Refer to SIR Disabling and Enabling .
  3. Inspect the component and harness sides of the I/P module in-line connector for damage or corrosion that may cause the malfunction. Refer to Testing for Intermittent Conditions and Poor Connections and Connector Repairs in Wiring Systems.

Does the connector exhibit any signs of damage or corrosion?

Go to Step 3

Go to Step 4

3

  1. If the module side of the I/P module in-line connector is damaged, replace the module side of the I/P module connector. Refer to Connector Repairs in Wiring Systems.
  2. If the wiring harness side of the I/P module in-line connector is damaged, replace the harness side of the connector. Refer to Connector Repairs in Wiring Systems.

Did you complete the repair?

Go to Step 9

--

4

  1. Install the J 38715-A SIR Driver/Passenger Load Tool to the harness side of the I/P module in-line connector. Use the PASSENGER INFLATOR connector.
  2. Turn ON the ignition, with the engine OFF.
  3. With the scan tool, request the SIR DTC display.

Does the scan tool indicate that DTC B0016, B0017, or B0018 are current?

Go to Step 5

Go to Step 7

5

  1. Turn OFF the ignition.
  2. Disconnect and remove both the J 38715-A and adapter.
  3. Disconnect the inflatable restraint sensing and diagnostic module (SDM) connector. Refer to Inflatable Restraint Sensing and Diagnostic Module Replacement .
  4. Inspect the SDM connector for damage or corrosion that may cause a malfunction in the I/P module high and/or low circuits. Refer to Testing for Intermittent Conditions and Poor Connections and Connector Repairs in Wiring Systems.

Did you find and correct the condition?

Go to Step 9

Go to Step 8

6

  1. If DTC B0016 is present, test the I/P module for a short between the high and low circuits.
  2. If DTC B0017 is present, test the I/P module high and low circuits for a short to ground and for a short to voltage.
  3. If DTC B0018 is present, test the I/P module high and low circuits for an open and for high resistance.
  4. All the above conditions refer to Circuit Testing and Wiring Repairs in Wiring Systems.

Did you find and correct the condition?

Go to Step 9

Go to Step 8

7

  1. Turn OFF the ignition.
  2. Replace the I/P module. Refer to Inflatable Restraint Instrument Panel Module Replacement .

Did you complete the replacement?

Go to Step 9

--

8

  1. Turn OFF the ignition.
  2. Replace the SDM. Refer to Inflatable Restraint Sensing and Diagnostic Module Replacement .

Did you complete the replacement?

Go to Step 9

--

9

  1. Connect all SIR components.
  2. Turn ON the ignition, with the engine OFF.
  3. Use the scan tool in order to clear the DTCs.
  4. Operate the vehicle within the Conditions for Running the DTC as specified in the supporting text.

Does the DTC reset?

Go to Step 2

System OK