GM Service Manual Online
For 1990-2009 cars only

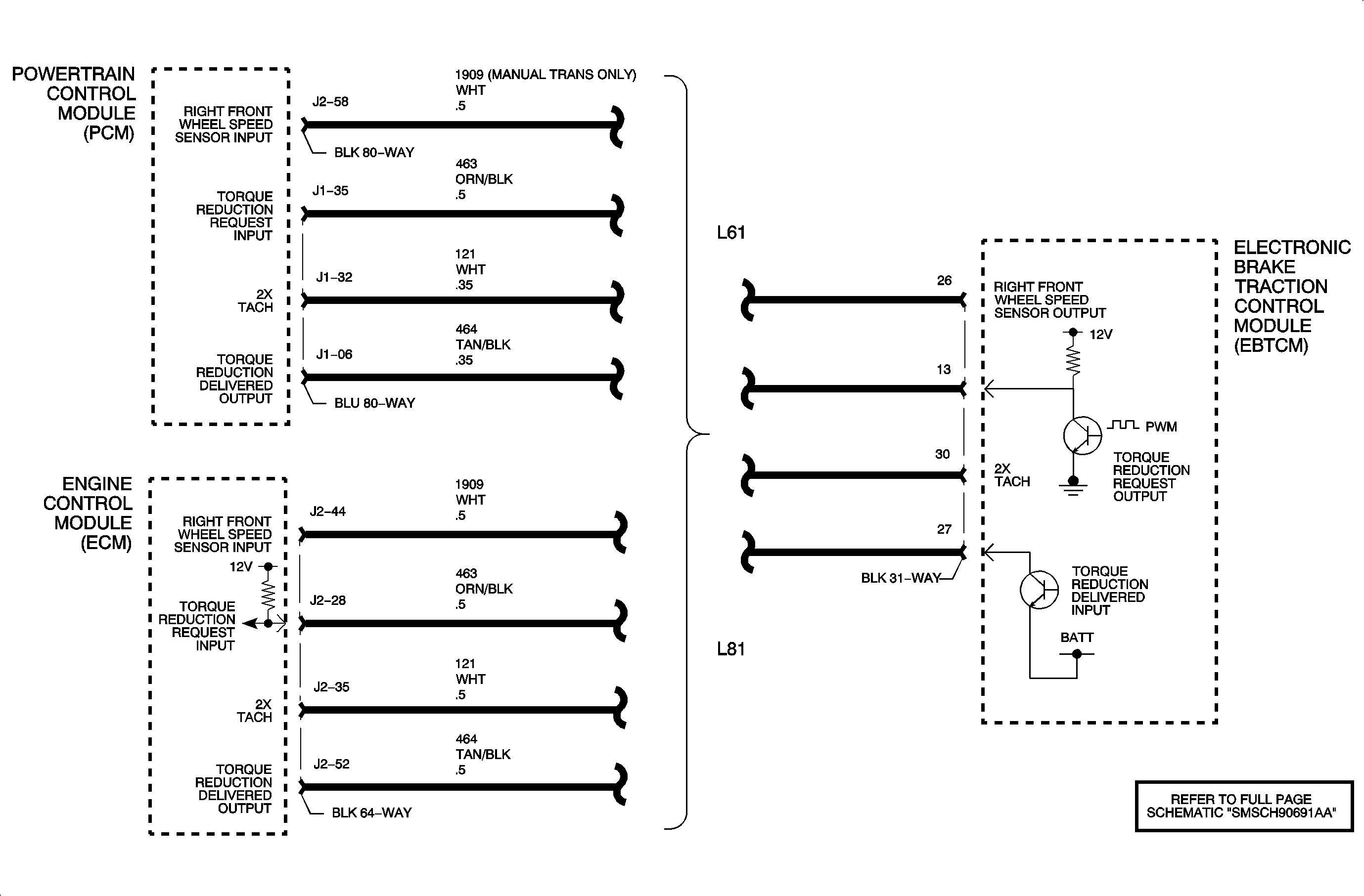
Object Number: 896162  Size: MF

Circuit Description

The PCM/ECM provides the EBTCM with engine RPM data so that it can determine traction control operation.

Conditions for Running the DTC

The ignition is ON.

Conditions for Setting the DTC

    • The DTC will set if the ABS control module detects an open or short in the RPM signal circuit.
    • The EBTCM does not receive a RPM signal one second after the engine has been started.

Action Taken When the DTC Sets

    • The EBTCM disables the TCS.
    • The TCS enable lamp is turned off.

Conditions for Clearing the DTC

    • The condition for the DTC is no longer present and the DTC is cleared with a scan tool.
    • The EBCM automatically clears the history DTC when a current DTC is not detected in 100 consecutive drive cycles.

Diagnostic Aids

Inspect the wiring, the components, and the connectors for the following:

    • Proper connection
    • Backed-out terminals
    • Broken connector locks
    • Corrosion in the connectors/terminals
    • Burned, chafed, or pinched wiring
    • A broken wire inside the insulation
    • Loose components
    • Both brake lamp bulbs burned out

Step

Action

Yes

No

Schematic Reference: Antilock Brake System Schematics

Connector End View Reference: Antilock Brake System Connector End Views or Lighting Systems Connector End Views in Lighting Systems

1

Did you perform the ABS Diagnostic System Check?

Go to Step 2

Go to Diagnostic System Check - ABS

2

  1. Connect the scan tool.
  2. Start the vehicle.
  3. Use the scan tool in order to monitor the engine speed in the ABS data disply

Does the scan tool display proper RPM at idle?

Go to Diagnostic Aids

Go to Step 3

3

Use the scan tool to monitor the engine speed in the Engine Data List.

Does the scan tool display proper RPM at idle?

Go to Step 6

Go to Step 4

4

Test the RPM signal circuit for an open or short. Refer to Circuit Testing and Wiring Repairs in Wiring Systems.

Did you find and correct the condition?

Go to Step 7

Go to Step 5

5

Important: New ABS control modules will automatically set DTC C0551 when installed. To clear DTC C0551, new modules must be configured with the correct engine and transmission option bit.

Replace the EBCM. Refer to Electronic Brake Control Module Replacement .

Did you complete the replacement?

Go to Step 7

--

6

Replace the PCM/ECM. Refer to Powertrain Control Module Replacement in Engine Controls -- 2.2L (L61) or Engine Control Module Replacement in Enging Controls -- 3.0L (L81).

Did you complete the replacement?

Go to Step 7

--

7

  1. Use the scan tool in order to clear the DTCs.
  2. Operate the vehicle within the Conditions for Running the DTC as specified in the supporting text.

Does the DTC reset?

Go to Step 2

System OK