GM Service Manual Online
For 1990-2009 cars only

Object Number: 891285  Size: MF

Circuit Diagnosis

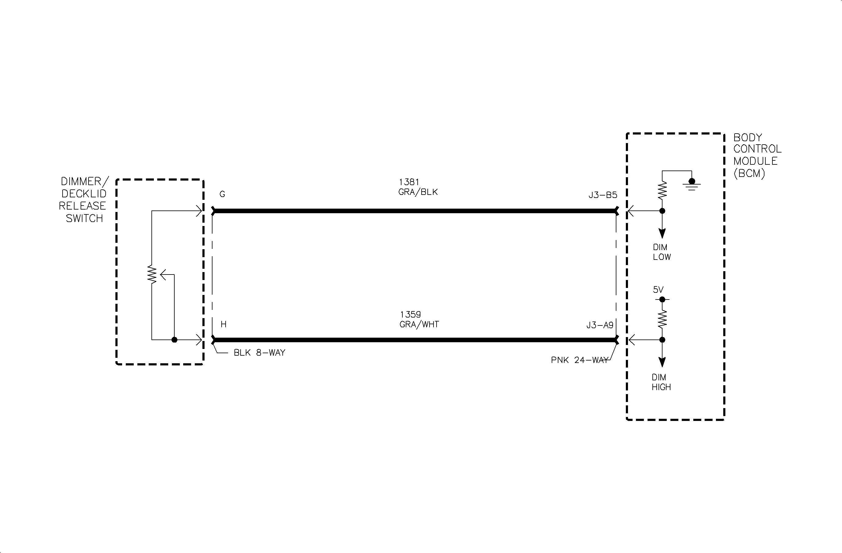
Display dimming is controlled by the body control module (BCM) based on input received from the dimming potentiometer. The dimming potentiometer is connected between circuit 1359 and circuit  1381. The BCM monitors these inputs and provides a pulse width modulated (PWM) output at circuit 8 to operate the display lamps.

DTC Parameters

    • The headlight/parklamp switch is ON.
    • Circuit 1359 is shorted-to-ground.

Diagnostic Aids

    • Check for a poor connection at the BCM. Inspect the harness connectors for backed-out terminals, improper terminal mating, broken connector locks, improperly formed or damaged terminals, and poor terminal-to-wire connection (terminal crimped over wire insulation and not conductors).
    • Inspect the wiring harness for damage. Check for broken or chaffed insulation.
    • Check for a poor connection at the dimming potentiometer.
    • If a fault is suspected to be intermittent, wiggling the harness wiring may help in locating the fault.

Object Number: 887189  Size: FP