GM Service Manual Online
For 1990-2009 cars only

Object Number: 891638  Size: MF

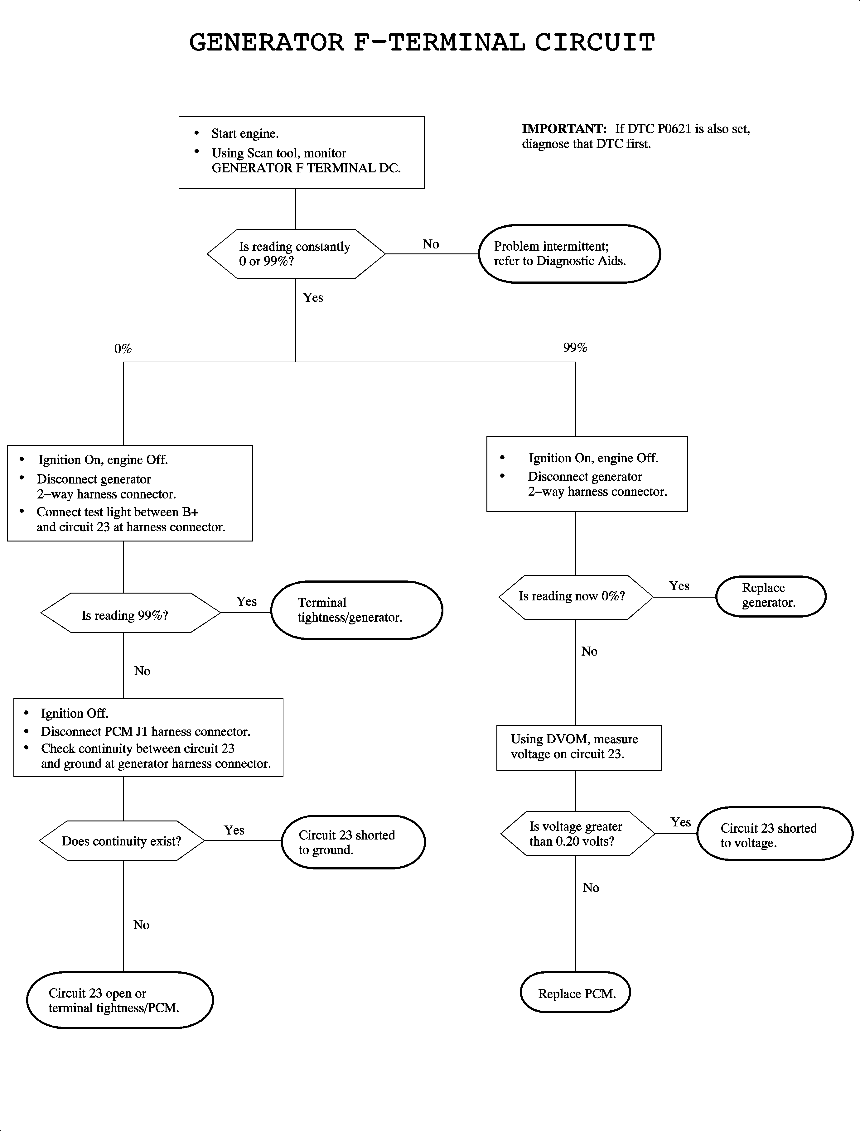
Circuit Description

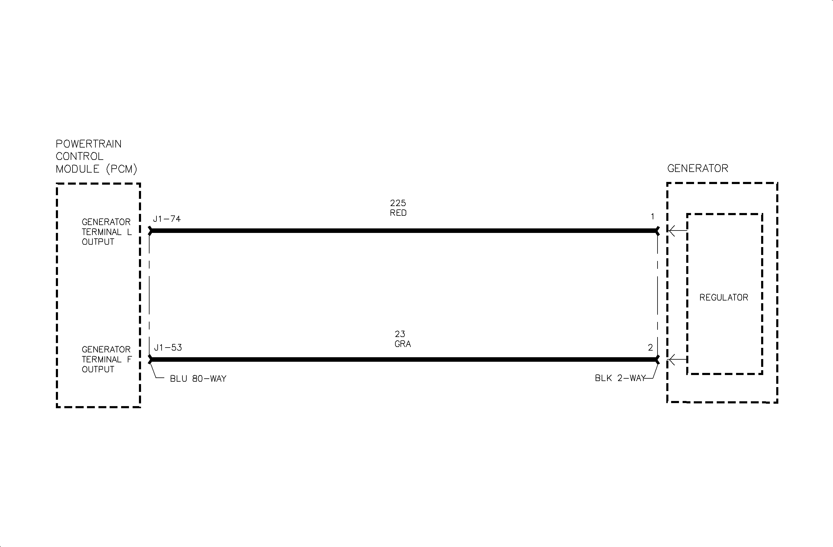
The L-terminal circuit 225 is a two-way link between the PCM and generator. The PCM supplies the generator with 5 volts whenever the ignition is On. The PCM will not supply 5 volts to the generator during engine cranking if battery voltage is below 9.6 volts. Once the engine is running, the generator must have the 5 volt supply to charge. If the generator stops charging while the engine is running, it will ground this 5 volt supply from the PCM. When the PCM detects this ground, it will send a message to the I/P cluster over the Class II link to illuminate the Charge telltale. The PCM determines electrical system load by monitoring the generator pulse width modulated (PWM) output on the F-terminal circuit 23.

Conditions for Setting the DTC

    • DTC P0622 will set if generator F-terminal duty cycle is less than 5% when:
       - Condition exists for longer than 30 seconds
       - Engine speed is between idle and 3000 rpm
    • DTC P0622 will set if generator F-terminal duty cycle is greater than 65% when:
       - Condition exists for longer than 5 seconds
       - Engine is NOT running
    • DTC P0622 diagnostic runs continuously with ignition On.
    • P0622 is a (type D) DTC

Diagnostic Aids

If DTC P0621 is also set, diagnose that DTC first. The generator will output a 0% duty cycle if it does not have 5 volts at the generator L-terminal while the engine is running.

If a low circuit fault occurs in the F-terminal circuit while the engine is running, the Charge telltale will illuminate, however, the generator will still charge. This only applies if the L-terminal circuit is functioning properly.

An open/short to ground or short to voltage on circuit 23 will set this DTC.

GENERATOR F-TERMINAL DC on the scan tool should read near 17% with ignition On and engine Off.

DTC P0622


Object Number: 890103  Size: FP