GM Service Manual Online
For 1990-2009 cars only

Object Number: 889661  Size: MF

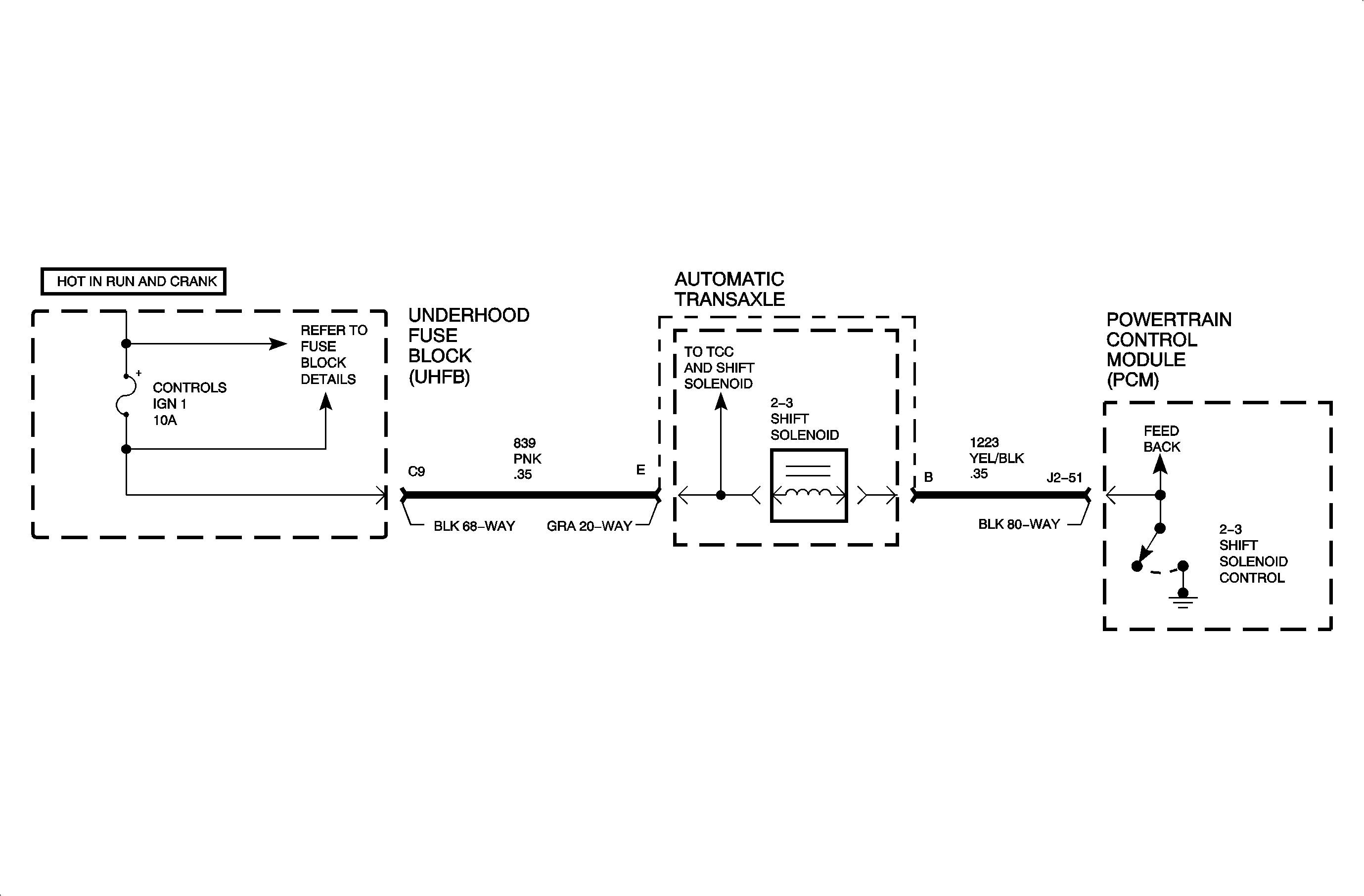
Circuit Description

The 2-3 shift solenoid is a normally open exhaust valve that, in conjunction with the 1-2 shift solenoid, allows four different shifting combinations. The 2-3 shift solenoid is attached to the control valve body. The PCM controls the solenoid by providing a ground through circuit 1223.

Conditions for Setting the DTC

DTC P0758 will set if solenoid feedback does not match PCM commanded state (e.g. PCM commanding solenoid ON and feedback reads ignition voltage) and the following conditions have been met:

    • Ignition in RUN position
    • Ignition voltage is between 8 and 18 volts

Diagnostic Aids

An open in the ignition feed circuit to the trans solenoids will set multiple codes (P0753 and P1860).

DTC P0753


Object Number: 887982  Size: FP