GM Service Manual Online
For 1990-2009 cars only

Object Number: 891289  Size: MF

Circuit Description

Daytime running lamps (DRL) are controlled by the body control module (BCM) based on input from the high beam headlamp CKT 1200, the low beam headlamp CKT 1201, the parking brake CKT 1134 and ignition switch state.

When DRL operation is desired, the BCM switches CKT 592 to ground. This action energizes the DRL relay. When energized, the DRL relay operates the left high beam headlamp and right high beam headlamp as a series circuit -- one-half of battery voltage across each high beam headlamp.

When DRL operation is not desired, the BCM does not provide ground for the DRL relay. When not energized, as when high beam headlamps are desired, the DRL relay operates the right and left high beam headlamps as a parallel circuit -- full battery voltage across each high beam headlamp.

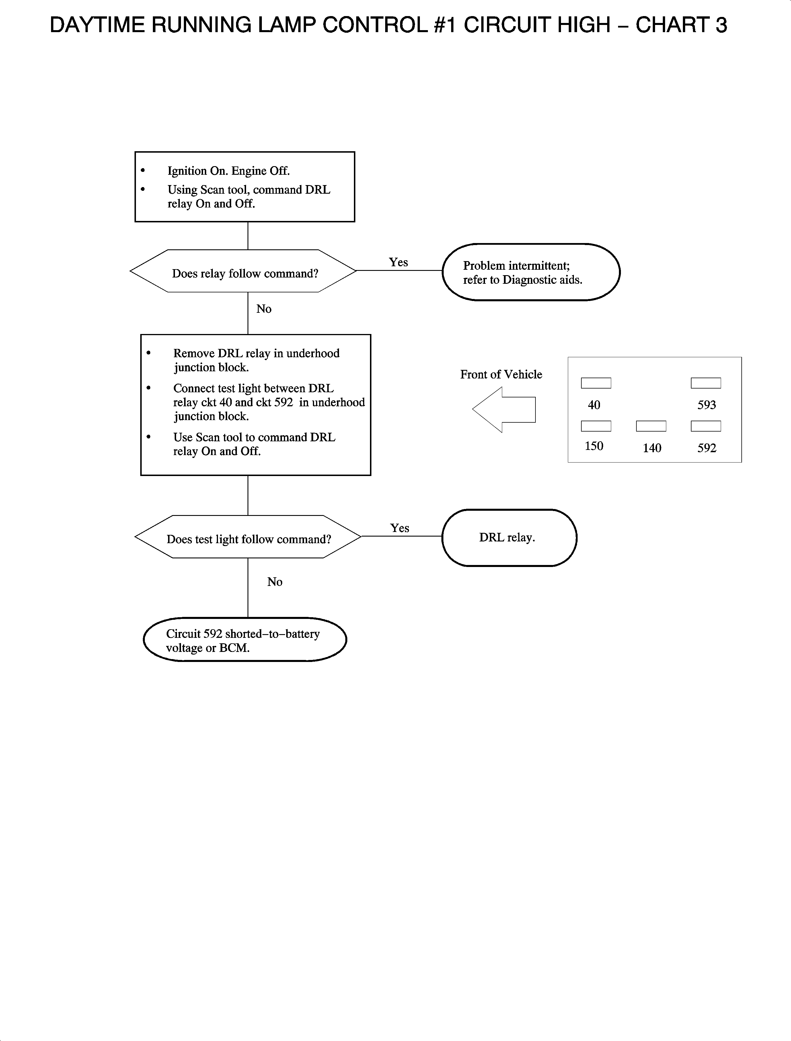
For DRL operation, the parking brake must be fully released, the ignition switch must be in the RUN position and headlamp switch must be in the OFF position. Under normal operating conditions, the feedback voltage to the BCM measured at CKT 1200 is:

Conditions for Setting the DTC

    • Ignition in RUN position
    • DRL commanded On
    • CKT 592 is shorted-to-battery voltage

Diagnostic Aids

    • Check for poor connection at the BCM. Inspect harness connectors for backed out terminals, improper terminal mating, broken connector locks, improperly formed or damaged terminals and poor terminal-to-wire connection -- terminal crimped over wire insulation and not conductors.
    • Inspect wiring harness for damage. Check for broken or chaffed insulation.
    • If fault is suspected to be intermittent, wiggling harness wiring may help in locating fault.

Object Number: 887200  Size: FP