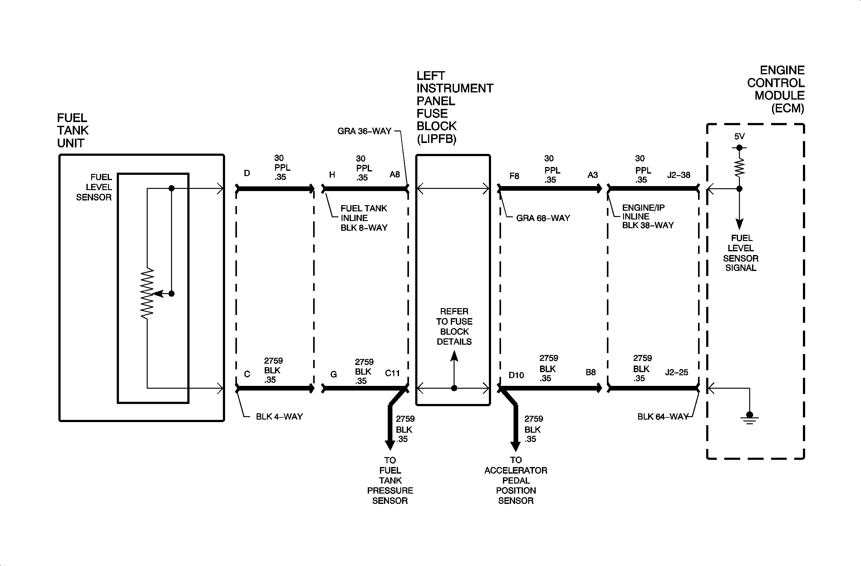
The fuel level sensor is a variable resistor that varies resistance according to changes in the level of fuel in the fuel tank. The ECM supplies a 5 volt reference through a pull-up resistor to the sensor, which is connected to ground. When the level in the fuel tank is high, the sensor resistance is low (low voltage on signal line). As the fuel level decreases, the sensor resistance increases (voltage increases on the signal line). The ECM uses the signal voltage to determine fuel tank level. The ECM averages the fuel level over time then sends it over the Class II link to the BCM. The BCM averages the fuel level with respect to vehicle speed then sends out a message to the I/P cluster for the fuel gauge over the link. DTC P0463 sets when the signal voltage at the ECM is above the calibrated voltage value.
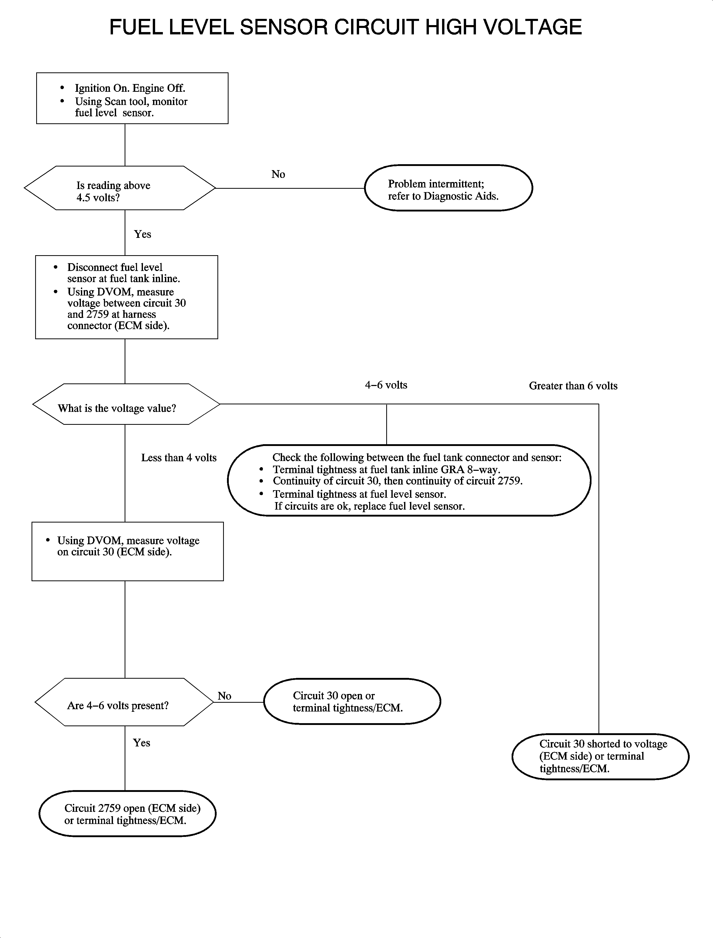
DTC P0463 will set if the signal from the fuel level sensor is greater than 4.5 volts when:
Condition exists for greater than 5 seconds.
DTC P0463 diagnostic runs continuously with ignition On.
P0463 is a (type D) DTC.
To locate an intermittent problem, use Scan tool to monitor FUEL LEVEL with ignition On, engine Off. Wiggling wires while watching for a change in FUEL LEVEL may locate the area where an open or short to voltage in the wiring could lie.
Note: The FUEL LEVEL voltage reading on Scan tool is averaged over time. If an intermittent circuit fault occurs, the reading will change slowly.
If DTC P0463 is active, the LOW FUEL telltale will be commanded On for 5 seconds and the fuel gauge will slowly fall to empty. The FUEL LEVEL voltage will remain high on the Scan toll with the condition present.
Fuel level sensor resistance range: 19-251 ohms.