GM Service Manual Online
For 1990-2009 cars only

Circuit Description

The Sensing and Diagnostic Module (SDM) contains a sensing device that converts vehicle velocity changes to an electrical signal. The electrical signal is generated by the SDM and compared to a value stored in memory. When the generated signals exceed the stored values, the SDM deploys the air bags and stores a DTC in its memory.

Conditions for Setting the DTC

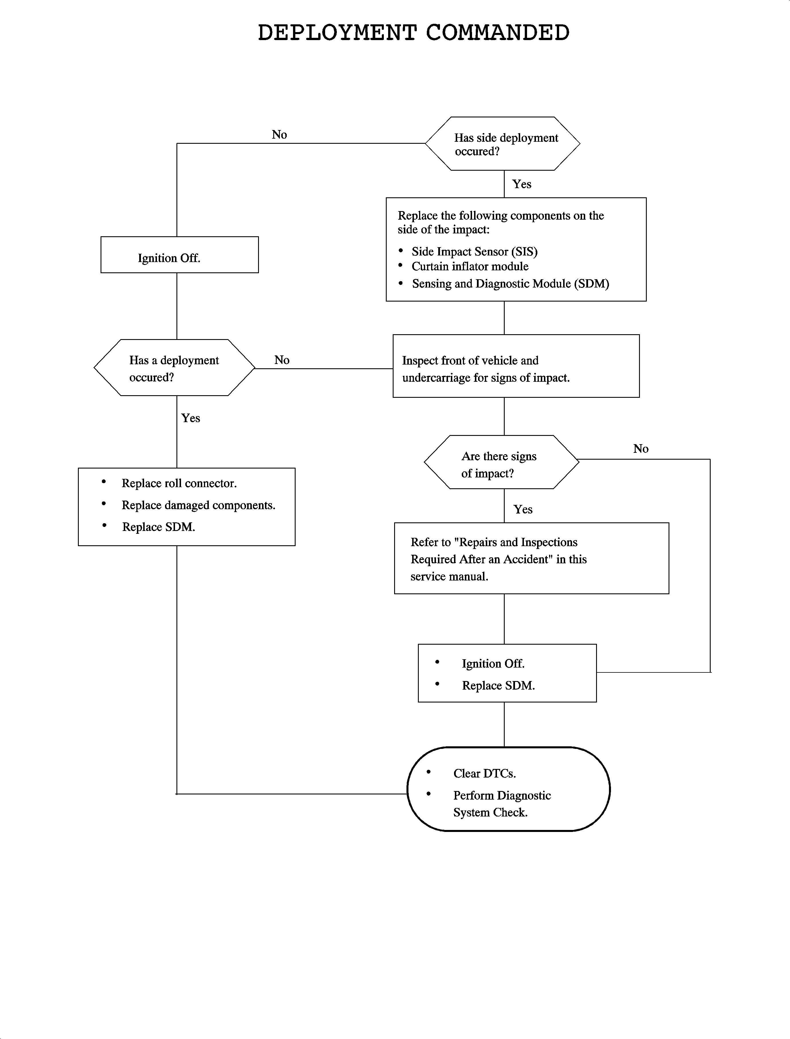
DTC B0051 sets when the SDM commands the inflator modules to deploy the air bags. The following conditions must be met to set this DTC.

    • Ignition voltage is present at the SDM and continuous.
    • The SDM detects a frontal or side crash.
    • Crash was of sufficient force to warrant deployment of the air bags.

Action Taken When the DTC Sets

    • DTC B0051 will set.
    • The air bag telltale will be on.
    • DTC is latched in the SDM memory.

Diagnostic Aids

    • Always start diagnosis of the SIR DTCs with an inspection of the vehicle, including its wiring and the SIR components for visible damage.

       Important: DTC B0051 is a latched code and can not be cleared from SDM memory.

    • Always replace the SDMs with DTC B0051 set, only after all collision repairs have been completed.
    • Always perform the Diagnostic System Check - SIR

B0051


Object Number: 889861  Size: FP