GM Service Manual Online
For 1990-2009 cars only

Object Number: 891273  Size: MF

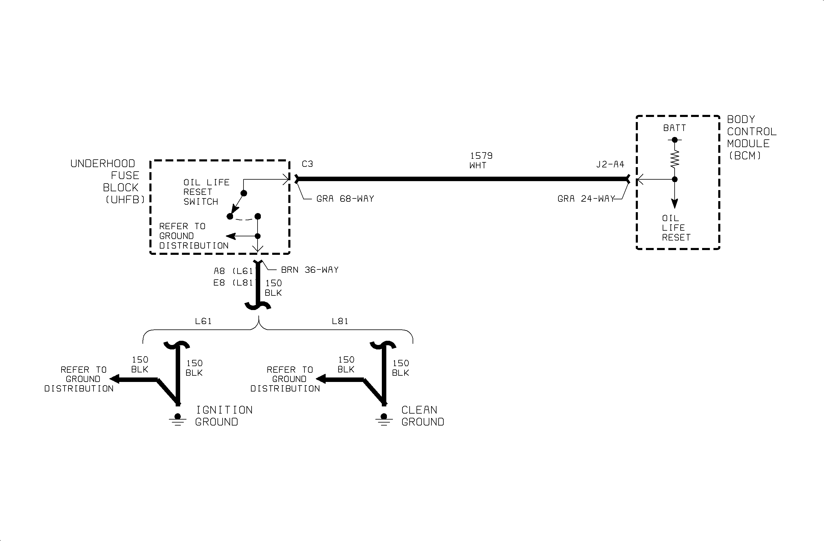
Circuit Description

The "CHANGE ENGINE OIL" telltale is reset by depressing the oil life reset push-button switch. This switch is located in the underhood junction block. Pressing this switch grounds circuits 1579. When grounded, the body control module (BCM) requests the engine controller to perform an oil life reset. When the reset is completed, the BCM will turn Off the "CHANGE ENGINE OIL" telltale.

Conditions for Setting the DTC

    • Ignition is in "RUN" position.
    • Engine is running.
    • Vehicle speed is greater than 10 km/h (6 mph)
    • Circuit 1579 shorted to ground

Diagnostic Aids

    • Inspect the wiring harness for damage. Check for broken or chaffed insulation.
    • If fault is suspected to be intermittent, wiggling harness wiring may help in locating fault.

DTC B3538


Object Number: 888359  Size: FP