GM Service Manual Online
For 1990-2009 cars only

Object Number: 889457  Size: MF

Circuit Description

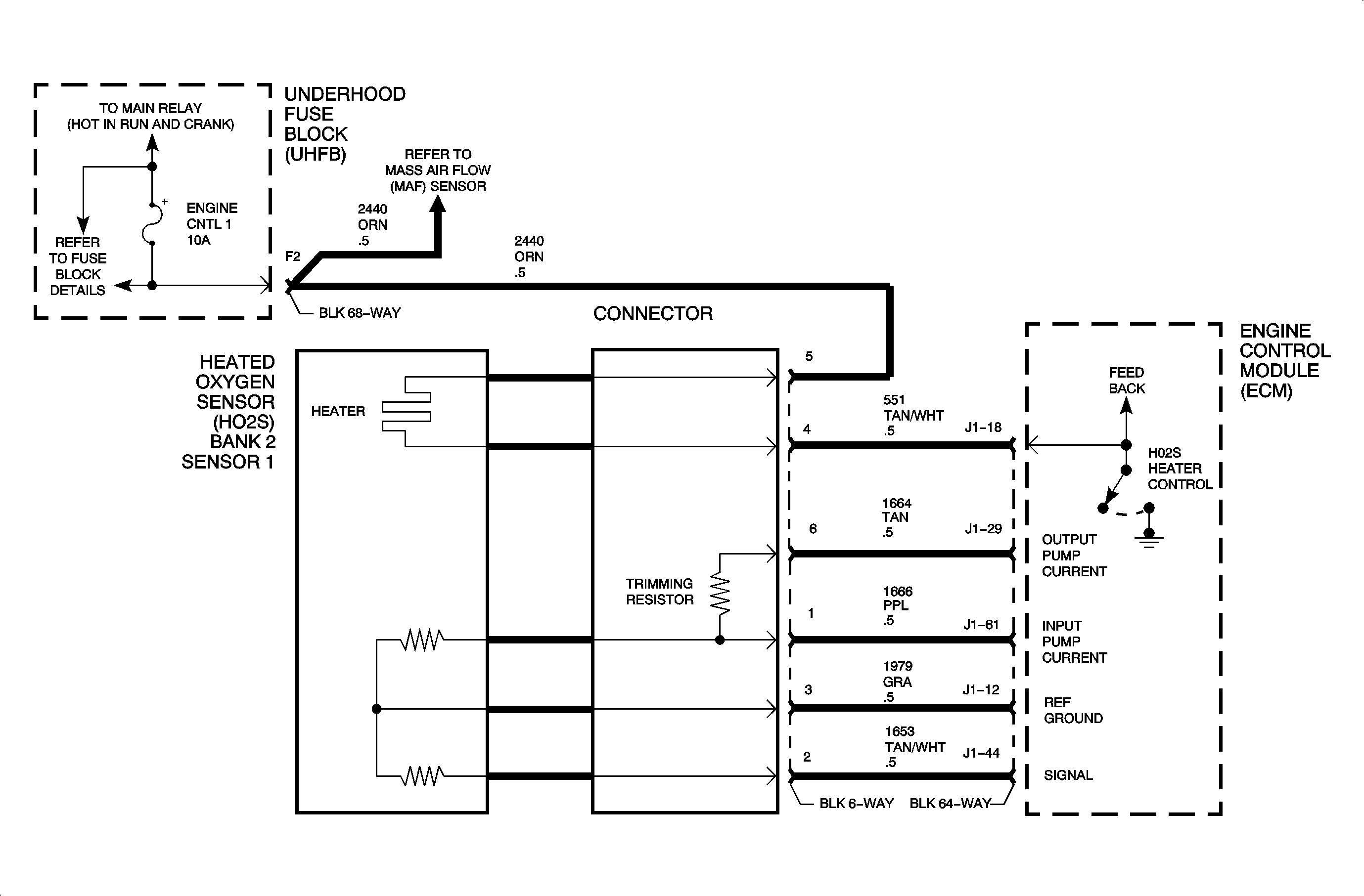
The heated oxygen (HO2S) bank 2 sensor 1 is threaded into the cylinder 2, 4, 6 exhaust manifold (cylinders 2, 4, 6 are closest to front of radiator). The sensor monitors the oxygen content in the exhaust gas before the pre-converter. The ECM supplies a variable output pump current to circuit 1664 in order to maintain a constant voltage level at the input pump current circuit 1666. As output pump current passes through the oxygen sensor when the sensor is operating above 300°C (572°F), the sensor will vary resistance according to changes in exhaust oxygen content. If oxygen content increases (lean air/fuel ratio) the resistance of the sensor increases which requires more current to maintain a constant voltage level. The ECM calculates a lambda value (actual air/fuel ratio divided by 14.6 to 1) based on the input pump current voltage level on circuit 1666 and the signal voltage level on circuit 1653. DTC P0150 will set when the HO2S bank 2 sensor 1 oxygen content value is too far out of range from the HO2S bank 2 sensor 2 oxygen content value.

DTC Parameters

DTC P0150 will set when the HO2S bank 2 sensor 1 oxygen content value is too far out of range from the HO2S bank 2 sensor 2 oxygen content value when any of the following conditions are met:

    • HO2S bank 2 sensor 1 lambda value is between 0.99 and 1.01 and HO2S bank 2 sensor 2 voltage is greater than 650 mV (rich) or less than 300 mV (lean).
        OR
    • HO2S bank 2 sensor 1 lambda is greater than 1.2 (lean) and HO2S bank 2 sensor 2 voltage is greater than 650 mV (rich).
        OR
    • HO2S bank 2 sensor 1 lambda is less than 0.8 (rich) and HO2S bank 2 sensor 2 is less than 300 mV (lean).
    • All of the above conditions must be met for longer than 2 - 16 seconds depending on driving state with no HO2S bank 2 sensor 1 heater or any HO2S bank 2 sensor 2 DTCs set.

DTC P0150 diagnostic runs continuously once the above conditions have been met.

P0150 is a (type B) DTC

Diagnostic Aids

To locate an intermittent problem, use Scan tool to monitor HO2S BANK 2 SENSOR 1 lambda value with ignition On, engine Off. Wiggling wires while watching for a change in HO2S BANK 2 SENSOR 1 lambda value may locate the area where an open, a short to ground, or a short to voltage in the wiring may exist.

A short to ground or a short to voltage on any HO2S non-heater circuit will display 3.999 for the HO2S BANK 2 SENSOR 1 lambda value on Scan tool. An open input pump current or reference ground circuit will display 1.000 for the HO2S BANK 2 SENSOR 1 lambda value on Scan tool.

An open, short to ground, or short to voltage on the HO2S bank 2 sensor 1 signal circuit may cause the engine to misfire on cylinders 2, 4, and 6.

Bank 2 will default to open loop if this DTC is active.


Object Number: 888115  Size: FP