GM Service Manual Online
For 1990-2009 cars only

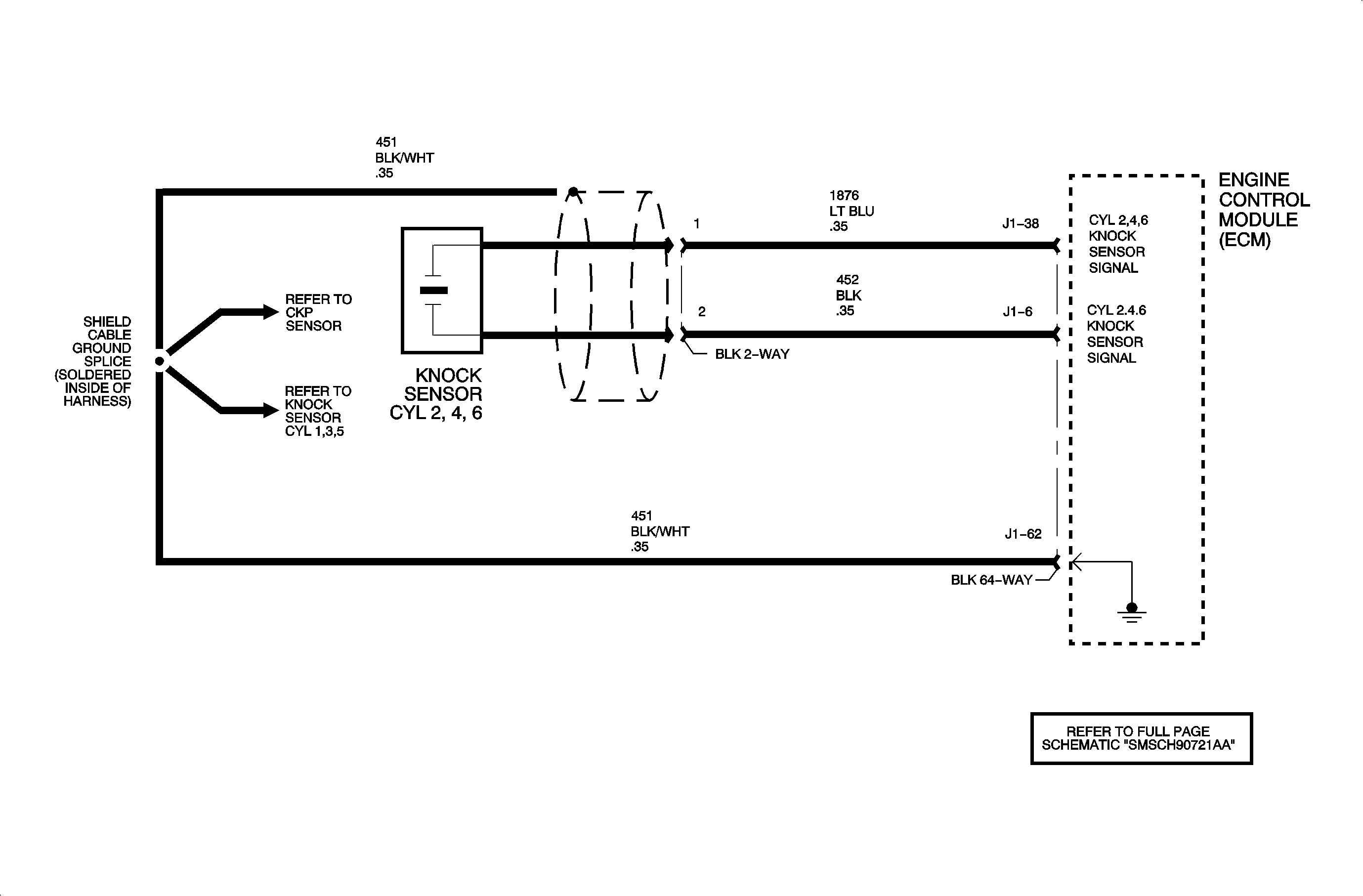
Object Number: 896221  Size: MF

Circuit Description

The knock sensor 2 bank 2 is a piezoelectric device that produces an AC voltage of different amplitude and frequency depending on the level of engine mechanical vibration. The engine control module (ECM) uses the sensor to determine if spark knock is occurring during a cylinder combustion event. If spark knock is detected, the ECM will retard timing on succeeding firing cylinders until the spark knock is eliminated. The ECM will always try to work back to zero compensation or no spark retard. In order to differentiate between normal engine noise and actual spark knock, the ECM will sample the knock sensor 2 signal for a certain length of time under different engine speeds and loads during non-cylinder firing events. This sampling is used to determine a range of acceptable normal engine noise. DTC P0333 sets when the ECM detects too much normal engine noise from knock sensor 2 for a certain length of time.

Conditions for Setting the DTC

DTC P0333 will set if knock sensor 2 signal voltage exceeds the maximum normal engine noise level, based on engine speed and load when:

    • The engine speed is greater than 2,000 RPM.
    • The engine coolant temperature (ECT) is greater than 40°C (104°F).

DTC P0333 diagnostic runs continuously once the above conditions have been met.

DTC P0333 is a type C DTC.

Diagnostic Aids

Important: KNOCK SENSOR 1 voltage on the scan tool may normally be greater than 2 volts difference at idle and up to 4 volts difference at full acceleration then that of KNOCK SENSOR 2. This is due to each bank having different frequency filtering within the ECM.

Wiggling the wires under different engine speeds, while using the scan tool to watch for a drop in KNOCK SENSOR 2 voltage, may locate the area where a short to voltage in the wiring may exist.

DTC P0333 may set due to excessive noise due to mechanical concerns. Possible causes may include:

    • Valve lifter noise
    • Loose belt tensioner
    • Loose accessory bracket
    • Low octane fuel in high ambient temperatures under heavy engine load
    • Noisy A/C compressor operation

The ECM has the ability to learn spark retard. If spark knock is present long enough, the ECM may retard timing far enough to incur a noticeable reduced engine power condition. Spark timing will return to normal once the spark knock condition is corrected.


Object Number: 898165  Size: FP