GM Service Manual Online
For 1990-2009 cars only

Object Number: 896188  Size: MF

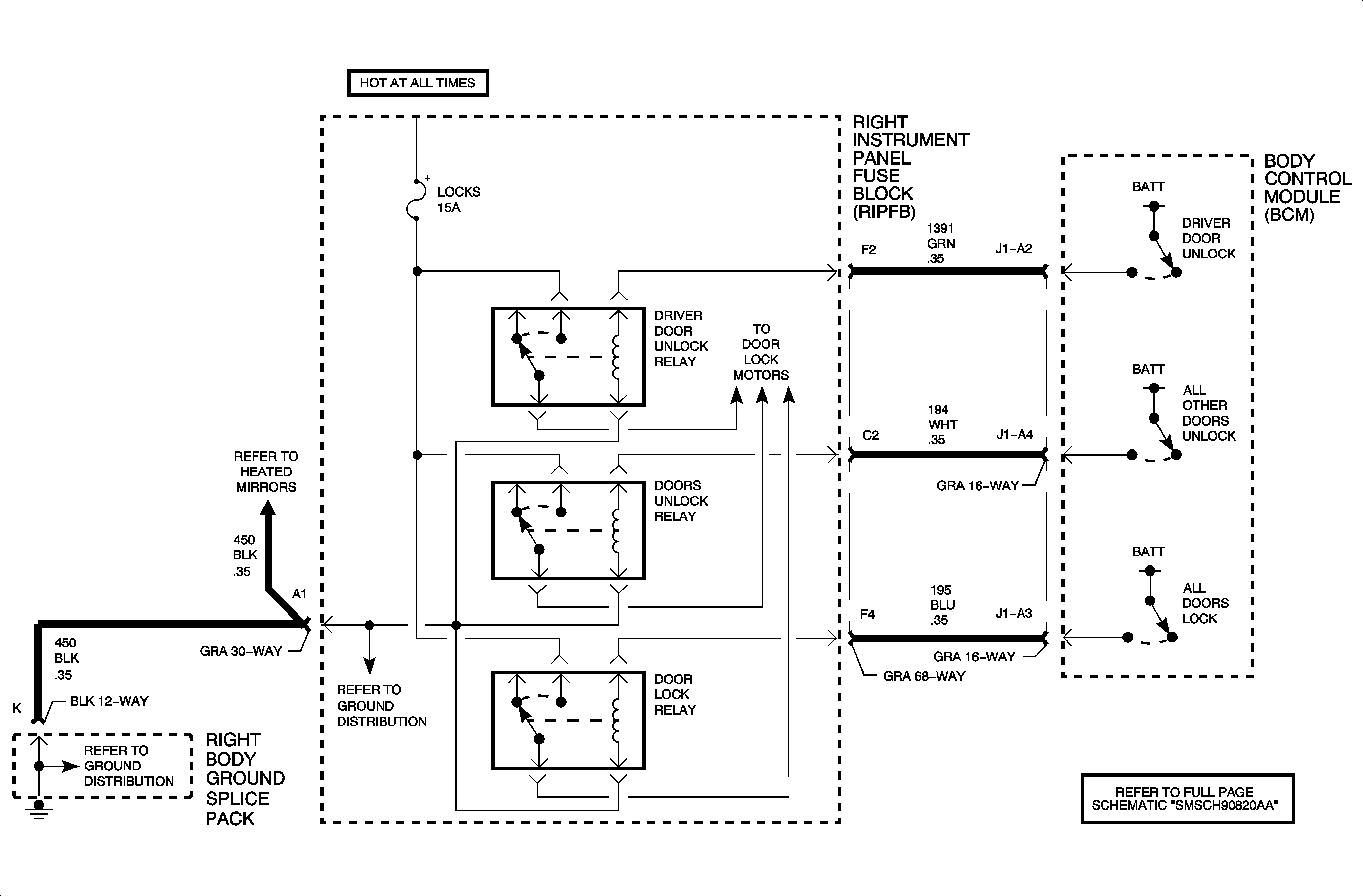
Circuit Description

The body control module (BCM) provides battery voltage to the all door lock relay through circuit 195. This DTC will fail current when circuit 195 is shorted to ground and the output is on.

Conditions for Setting the DTC

    • Output is on
    • Short to ground
    • No telltale illumination

Diagnostic Aids

If the condition is suspected to be intermittent, moving the wires will help in duplication of the condition.


Object Number: 898943  Size: FP