GM Service Manual Online
For 1990-2009 cars only

Object Number: 899005  Size: MF

Circuit Description

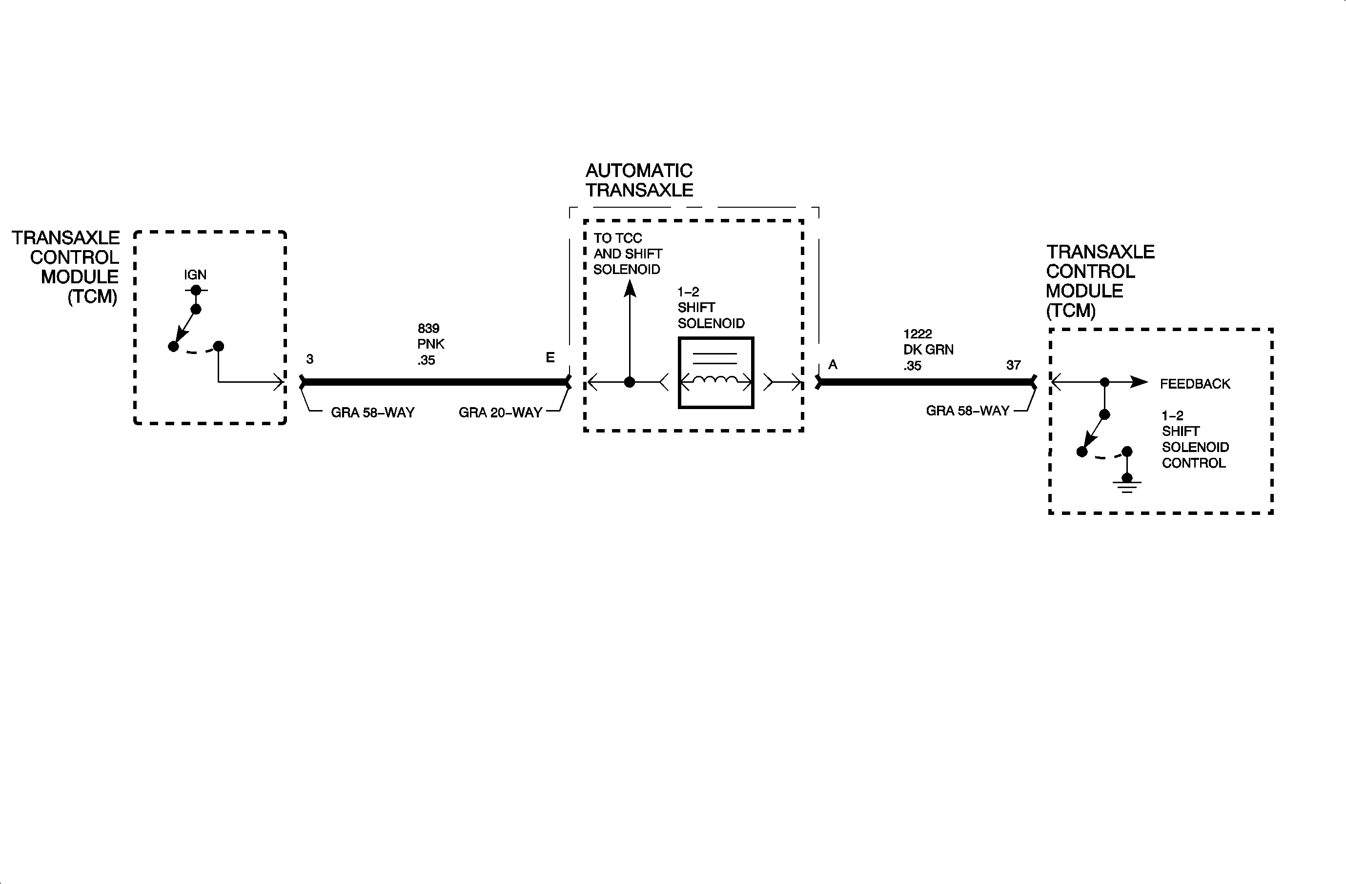
The 1-2 shift solenoid valve controls fluid flow acting on the 1-2 shift valve. The solenoid is a normally open valve that along with the 2-3 shift solenoid, allows four different shifting combinations. The 1-2 shift solenoid is attached to the valve body inside the transaxle. The transaxle control module (TCM) switches ignition voltage to power the solenoid and commands the solenoid ON and OFF by providing a ground path through circuit 1222.

When a TCM detects a continuous open or short to ground in the 1-2 SS Valve, DTC P1842 sets.

DTC Parameters

DTC P1842 will set if there is a continuous open or short to ground in the 1-2 shift solenoid valve circuit when:

    • Engine speed is:
       - MY 2002: 200-7,500 RPM for 5 seconds
       - MY 2003: 500-6,500 RPM for 5 seconds
    • MY 2002: Ignition 1 is 8-18 volts
    • DTC P1833 is not set.

DTC P1842 is a type A DTC.

Diagnostic Aids

Inspect the wiring at the TCM, the transaxle connector, the 1-2 SS shift solenoid 2-way Connector, and all other circuit connecting points for the following conditions:

    • A pent terminal
    • A backed out terminal
    • A damaged terminal
    • Poor terminal tension
    • A chafed wire
    • A broken wire inside the insulation
    • Moisture intrusion
    • Corrosion

When diagnosing for an intermittent short or open condition, massage the wiring harness while watching the test equipment for a change.

Shift Solenoid State Table

Gear

1-2 Shift Solenoid Valve

2-3 Shift Solenoid Valve

1st

ON

OFF

2nd

OFF

OFF

3rd

OFF

ON

4th

ON

ON


Object Number: 891251  Size: FP