GM Service Manual Online
For 1990-2009 cars only

Object Number: 899079  Size: MF

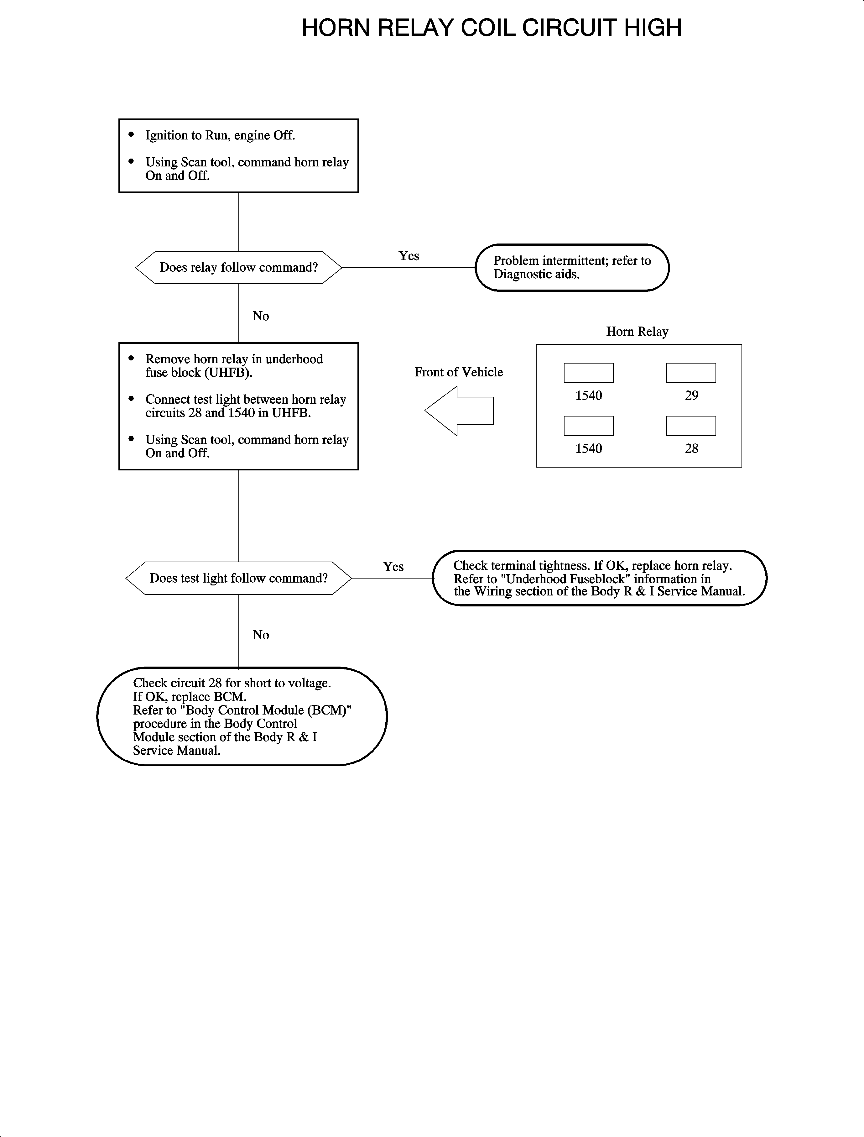
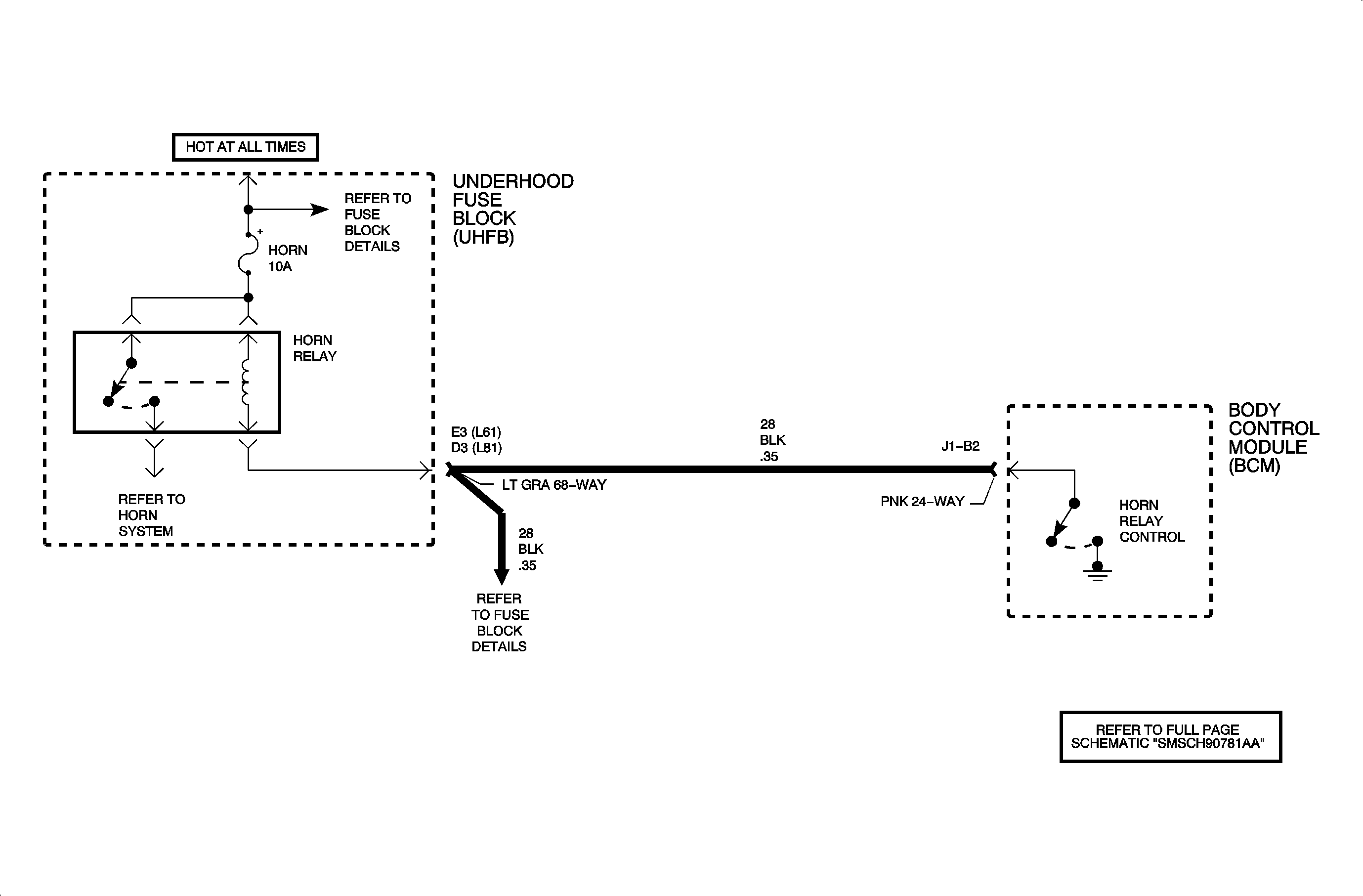
The body control module (BCM) controls the operation of the horn for the security system and the remote keyless entry (RKE) functions. Circuit 28 is grounded by the BCM when the horn operation is desired for RKE or the security function. Normal operation of the horn is performed by the horn switch grounding the horn relay and is not controlled by the BCM.

DTC Parameters

    • Horn operation is requested by the BCM; output is ON
    • Circuit 28 shorted to battery voltage
    • Service (wrench) light will illuminate

Diagnostic Aids

    • When a shorted to battery voltage condition exists in circuit 28 and the BCM requests operation of the horns, the BCM will attempt to switch circuit 28 to ground. High current flow will result and the BCM output will go into a protective state. The BCM output will not allow itself to be activated for as much as 3 minutes. The BCM is protected. Damage will not result.
    • Inspect the wiring harness for damage. Inspect for broken or chafed insulation.
    • Inspect for poor connection at the rear defrost switch.
    • If a fault is suspected to be intermittent, wiggling the harness wiring may help in locating the fault.
    • Inspect for poor connection at the BCM. Inspect the harness connectors for backed out terminals, improper terminal mating, broken connector locks, improperly formed or damaged terminals and poor terminal-to-wire connections (terminal is crimped over wire insulation and not the conductors.

Object Number: 891466  Size: FP