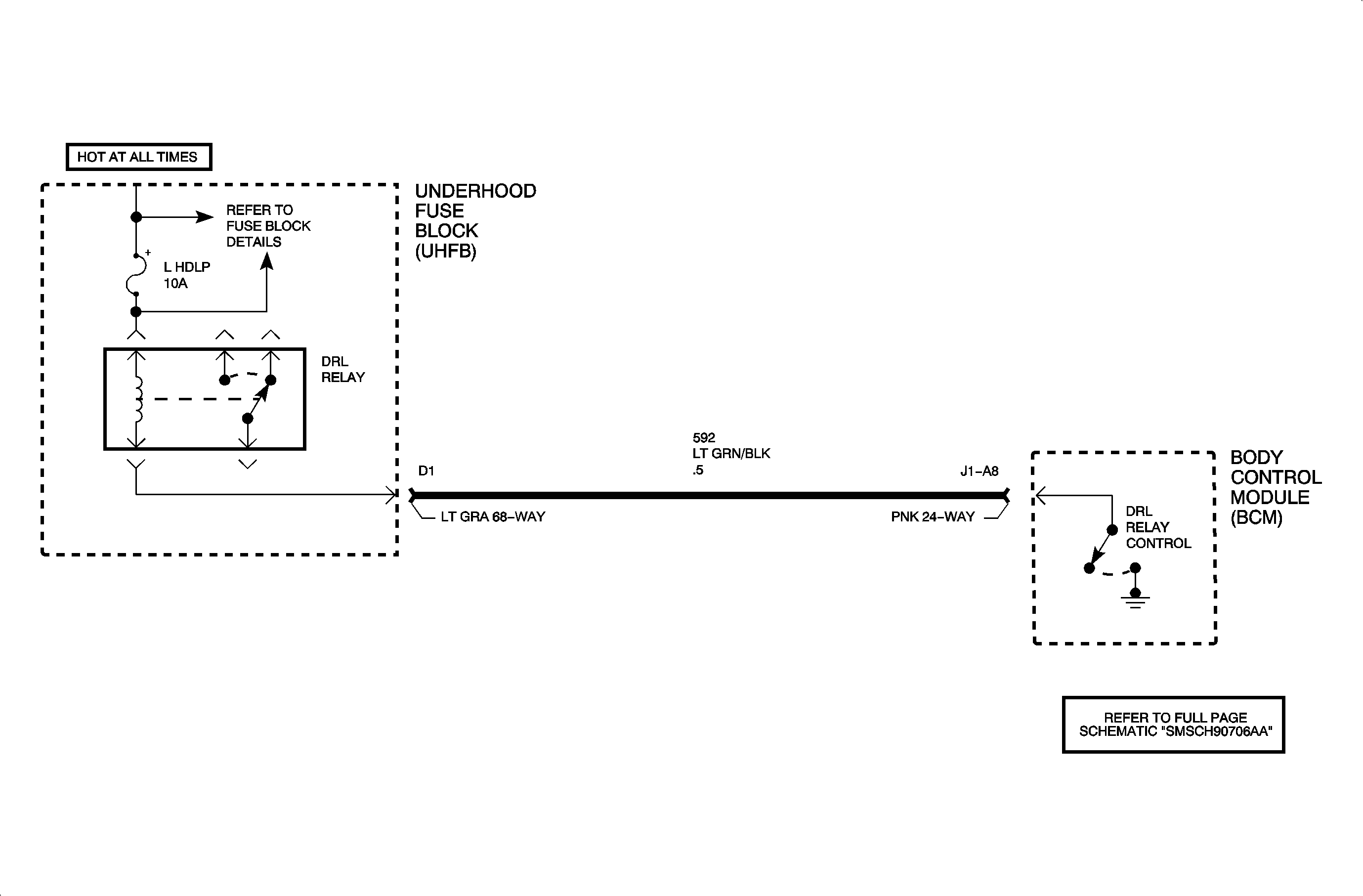
Circuit Description
Daytime running lamps (DRL) are controlled by the body control module (BCM)
based on input from the high beam headlamp circuit 1201, the low beam headlamp circuit
1200, the parking brake circuit 1134 and ignition switch state.
When DRL operation is desired, the BCM switches circuit 592 to ground. This
action energizes the DRL relay. When energized, the DRL relay operates the left high
beam headlamp and right high beam headlamp as a series circuit (one-half of battery
voltage across each high beam headlamp).
When DRL operation is not desired, the BCM does not provide ground for the DRL
relay. When not energized (as when high beam headlamps are desired) the DRL relay
operates the right and left high beam headlamps as a parallel circuit -- full
battery voltage across each high beam headlamp.
For DRL operation, the parking brake must be fully released, the ignition switch
must be in the RUN position and headlamp switch must be in the OFF position. Under
normal operating conditions, the feedback voltage to the BCM measured at circuit 1200
6-8 volts.
Conditions for Setting the DTC
| • | The ignition is in RUN position. |
| • | The DRL is commanded ON. |
| • | Circuit 592 is shorted to battery voltage. |
| • | No light will illuminate in the instrument panel (I/P). |
Diagnostic Aids
| • | Inspect for poor connection at the BCM. Inspect harness connectors for
backed out terminals, improper terminal mating, broken connector locks, improperly
formed or damaged terminals and poor terminal-to-wire connection -- terminal
crimped over wire insulation and not conductors. |
| • | Inspect wiring harness for damage. Inspect for broken or chaffed insulation. |
| • | If fault is suspected to be intermittent, wiggling the harness wiring
may help in locating fault. |