GM Service Manual Online
For 1990-2009 cars only

Object Number: 896171  Size: MF

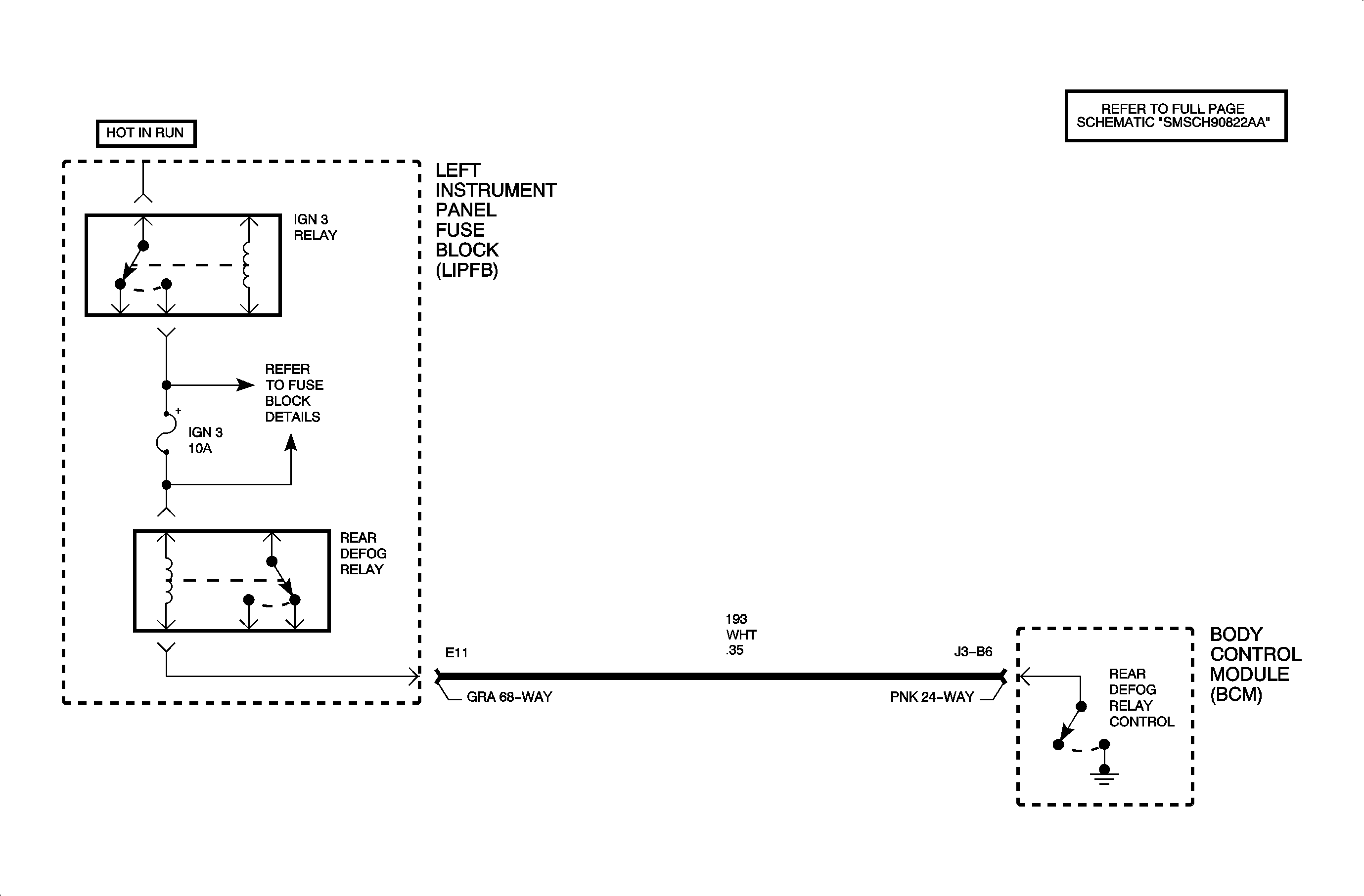
Circuit Description

When the rear defrost request is active, the body control module (BCM) will respond by grounding circuit 193, the coil of the rear defog relay.

This action energizes the rear defrost relay.

The first time in an ignition cycle that the rear defrost is activated, the rear defrost will remain ON for 15 minutes or until the ignition is turned OFF. If rear defrost is activated again during the same ignition cycle, the rear defrost will remain ON for 7 ½ minutes or until the ignition is turned OFF.

Conditions for Setting the DTC

    • The ignition is in RUN.
    • Circuit 193 is shorted to battery voltage.
    • The BCM is commanding the rear defrost system to the ON state.
    • No light will illuminate in the instrument panel (I/P).

Diagnostic Aids

    • When a shorted to battery voltage condition exists in circuit 193 and the BCM has been requested to activate the rear defrost system, the BCM will attempt to switch the circuit 193 to ground. High current flow will result and the BCM output will go into a protective state. The BCM output will not allow itself to be activated for as much as 3 minutes.
    • Inspect the wiring harness for damage. Inspect for broken or chaffed insulation.
    • If a fault is suspected to be intermittent, wiggling the harness wiring may help in locating the fault.
    • Several lamps flash in the I/P with the ignition OFF.
    • Inspect for poor connection at the BCM. Inspect the harness connectors for backed out terminals, improper terminal mating, broken connector locks, improperly formed or damaged terminals, and poor terminal to wire connection -- terminal crimped over wire insulation and not conductors.

Object Number: 890834  Size: FP