GM Service Manual Online
For 1990-2009 cars only

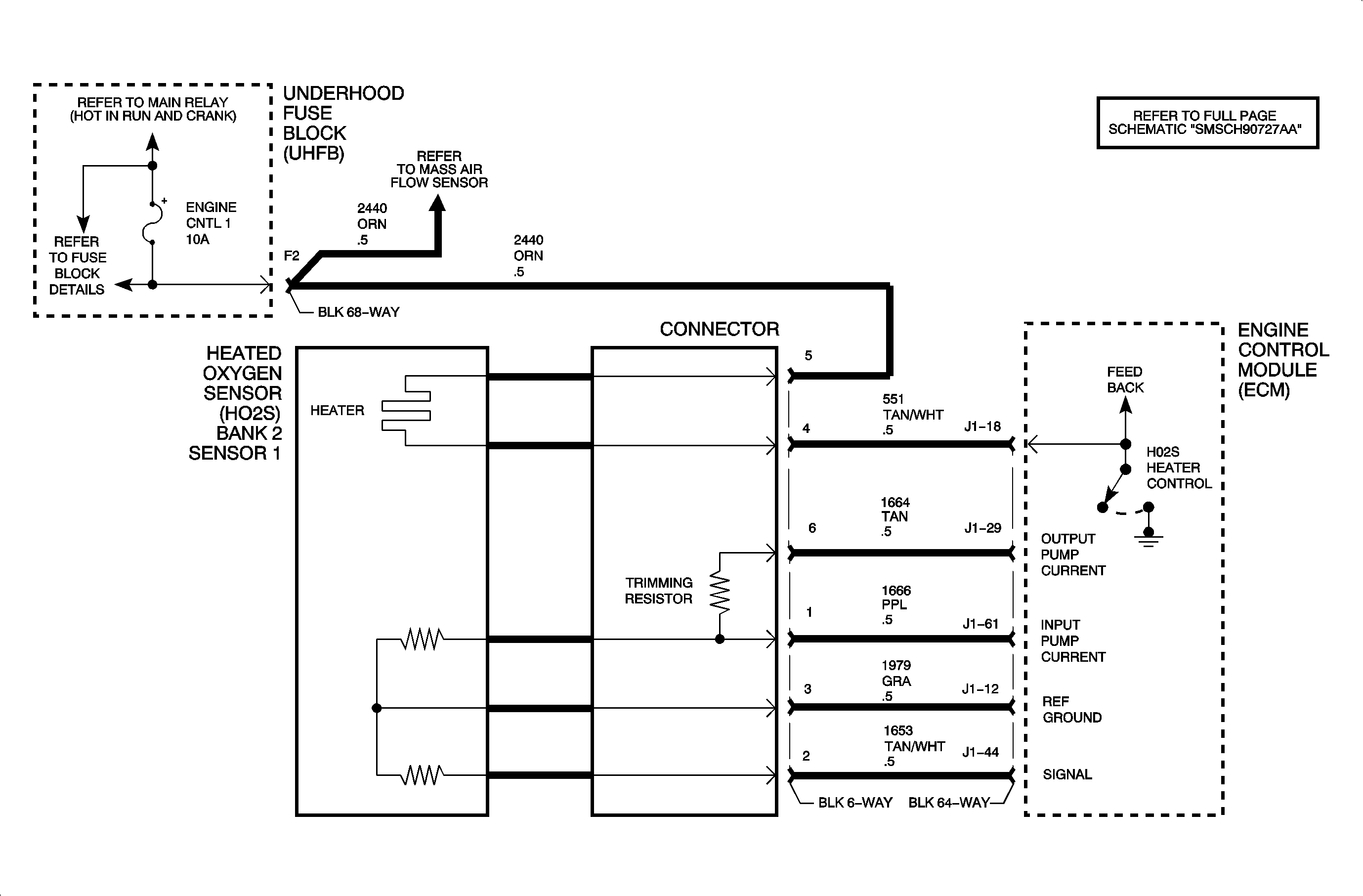
Object Number: 896228  Size: MF

The heated oxygen sensor (HO2S) bank 2 sensor 1 is threaded into the cylinder 2, 4, 6 exhaust manifold (cylinders 2, 4 and 6 are closest to the front of the radiator). The sensor monitors the oxygen content in the exhaust gas before the pre-converter. The ECM supplies a variable output pump current to circuit 1664 in order to maintain a constant voltage level at the input pump current circuit 1666. As output pump current passes through the oxygen sensor when the sensor is operating above 300°C (572°F), the sensor will vary resistance according to changes in the exhaust oxygen content. If the oxygen content increases (lean air/fuel ratio) the resistance of the sensor increases which requires less current to maintain a constant voltage level. The ECM calculates a lambda value (actual air/fuel ratio divided by 14.7 to 1) based on the input pump current voltage level on circuit 1666 and the signal voltage level on circuit 1653. DTC P0150 will set when the HO2S bank 2 sensor 1 oxygen content value is too far out of range from the HO2S bank 2 sensor 2 oxygen content value.

DTC Parameters

DTC P0150 will set when the HO2S bank 2 sensor 1 oxygen content value is too far out of range from the HO2S bank 2 sensor 2 oxygen content value when any of the following conditions are met:

    • The HO2S bank 2 sensor 1 lambda value is between 0.99-1.01 and the HO2S bank 2 sensor 2 voltage is greater than 848 mV (rich) or less than 103 mV (lean)
        OR
    • The HO2S bank 2 sensor 1 lambda is greater than 1.2 (lean) and the HO2S bank 2 sensor 2 voltage is greater than 848 mV (rich)
        OR
    • The HO2S bank 2 sensor 1 lambda is less than 0.8 (rich) and the HO2S bank 2 sensor 2 is less than 103 mV (lean)

All of the above conditions must be met for longer than 2-16 seconds, depending on the driving state, and no HO2S bank 2 sensor 1 heater, or any HO2S bank 2 sensor 2 DTCs are set.

DTC P0150 diagnostic runs continuously once the above conditions have been met.

P0150 is a type B DTC.

Diagnostic Aids

To locate an intermittent problem, use the scan tool to monitor HO2S BANK 2 SENSOR 1 lambda value with the ignition On, and the engine Off. Wiggling the wires while watching for a change in the HO2S BANK 2 SENSOR 1 lambda value may locate the area where an open, a short to ground, or a short to voltage in the wiring may exist.

A short to ground or a short to voltage on any HO2S non-heater circuit will display 3.999 for the HO2S BANK 2 SENSOR 1 lambda value on the scan tool. An open input pump current or reference ground circuit will display 1.000 for the HO2S BANK 2 SENSOR 1 lambda value on scan tool.

An open, short to ground, or short to voltage on the HO2S bank 2 sensor 1 signal circuit may cause the engine to misfire on cylinders 2, 4 and 6.

Bank 2 will default to open loop if this DTC is active.


Object Number: 898739  Size: FP