GM Service Manual Online
For 1990-2009 cars only

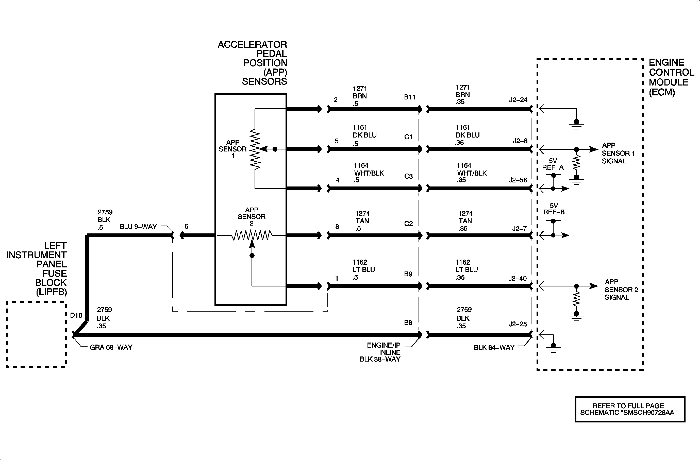
Object Number: 896238  Size: MF

Circuit Description

The accelerator pedal assembly contains 2 accelerator pedal position (APP) sensors with 2 independent 5-volt supplies, 2 independent grounds, and 2 independent signal circuits that vary resistance according to changes in the accelerator pedal position. The ECM measures the signal voltage from each APP sensor, which are reduced values of the ECM 5-volt references. As the accelerator pedal moves from the rest to full position, the voltage on APP sensor 1 signal increases from 0.25-3.97 volts, while the voltage on APP sensor 2 signal increases from 0.07-2.07 volts. The ECM monitors each APP signal circuit for faults as well as performing a comparison check between the sensor 1 and 2 signals. DTC P1271 will set if APP sensor 1 and APP sensor 2 signals are out of correlation with each other for a certain length of time.

Conditions for Setting the DTC

DTC P1271 will set if APP sensor 1 and APP sensor 2 are out of correlation when:

    • APP sensor 1 and APP sensor 2 signal voltages are out of correlation by greater than 0.27-0.99 volts based on the position of sensor 1 and the throttle angle.
    • The condition exists for longer than 140 ms.
    • The accelerator pedal position must be changing.
    • The battery voltage is greater than 7 volts.
    • The ignition is ON.

DTC P1271 diagnostic runs continuously once the above conditions have been met.

DTC P1271 is a type A and C DTC.

The MIL will illuminate 5 seconds after the DTC has been set with the fault still occurring.

Diagnostic Aids

Important: If a low or high voltage APP sensor circuit fault also sets, diagnose that DTC first. An intermittent circuit fault may also set this DTC.

To locate an intermittent problem, use the scan tool to monitor APP SENSOR 1 and APP SENSOR 2 with the ignition ON and the engine OFF. Press the accelerator pedal very slowly from the rest to full position, while monitoring each sensor voltage range. Watch for a sharp change in each of the voltage ranges, which would indicate a problem.

Make sure each APP sensor harness connector terminal is not spread and the connector is free of corrosion or foreign material.

APP sensor 2 should always be one half the voltage value of APP sensor 1 (+/- 0.1 volts) during the entire pedal travel range.

Sensor

Rest Position

Full Travel

APP Sensor 1

0.4

3.82

APP Sensor 2

0.22

1.92

Replace the accelerator pedal position sensors if a problem was found.