GM Service Manual Online
For 1990-2009 cars only

Object Number: 899104  Size: MF

Circuit Description

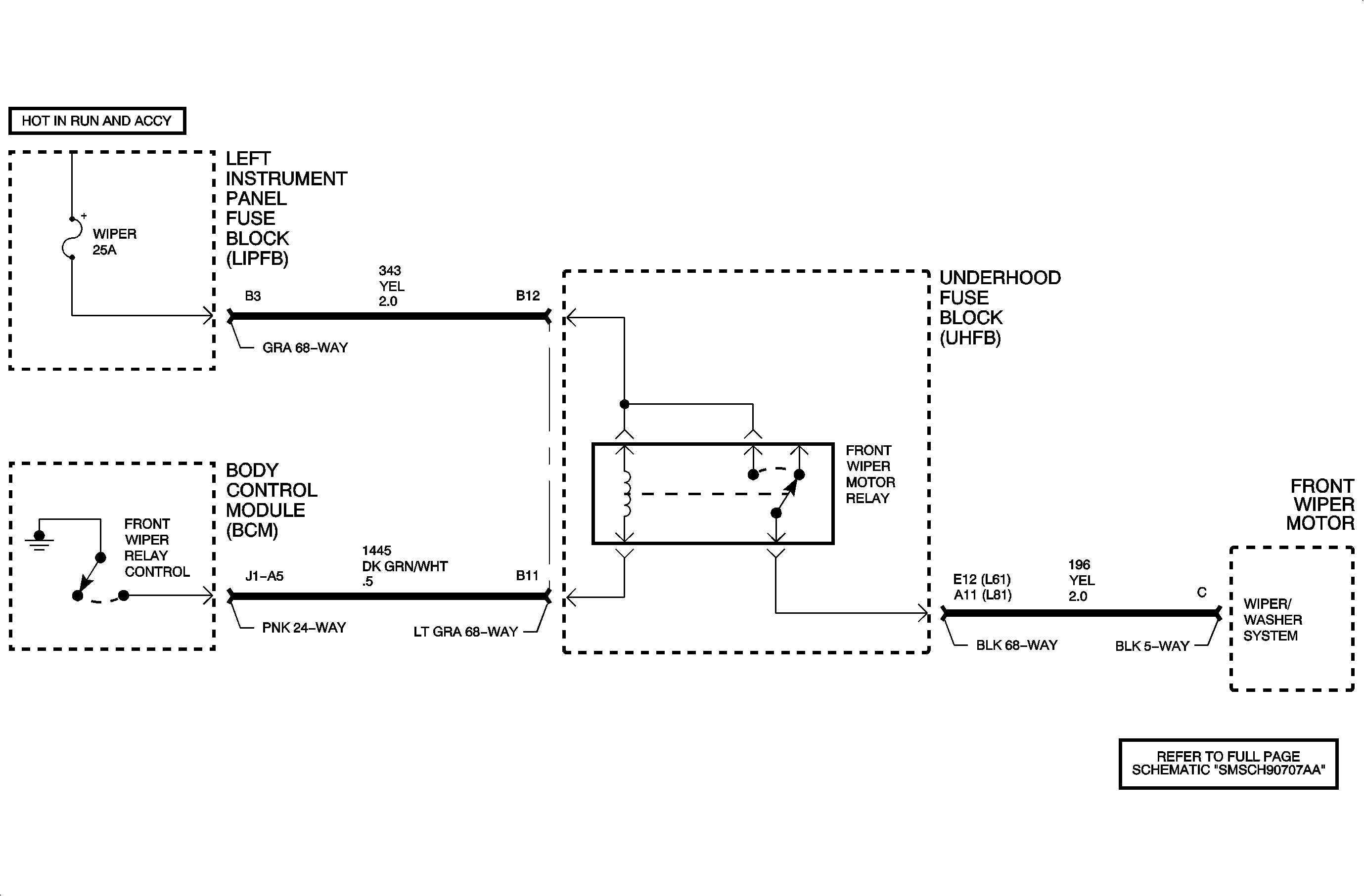
When intermittent or mist operation of the windshield wiper is selected, battery voltage from the wiper switch is applied to the front wiper input of the body control module (BCM). The BCM responds by switching circuit 1445 to ground. This action energizes the front wiper relay, providing low speed operation of the wiper motor during single swipes.

Control of the wiper during continuous LO or HI speed switch settings is direct wired from the wiper switch to the wiper motor and is not under the control of the BCM.

Conditions for Setting the DTC

    • Ignition is in RUN or ACC position
    • Mist or Intermittent wiper switch setting selected (output is On)
    • Circuit 1445 shorted to battery voltage
    • No light will illuminate in I/P.

Diagnostic Aids

    • When a shorted to battery voltage condition exists in circuit 1445 and the BCM has been requested to activate the front wiper relay, the BCM will attempt to switch circuit 1445 to ground. High current flow will result and the BCM output will go into a protective state. The BCM output will not allow itself to be activated for as much as three minutes.
    • Inspect wiring harness for damage. Check for broken or chaffed insulation.
    • If fault is suspected to be intermittent, wiggling harness wiring may help in locating fault.
    • No intermittent wipers
    • Check for poor connection at the BCM. Inspect harness connections for backed out terminals, improper terminal mating, broken connectors locks, improperly formed or damaged terminals and poor terminal-to-wire connection (terminal crimped over wire insulation not conductors).

Object Number: 898951  Size: FP