GM Service Manual Online
For 1990-2009 cars only

Object Number: 896199  Size: MF

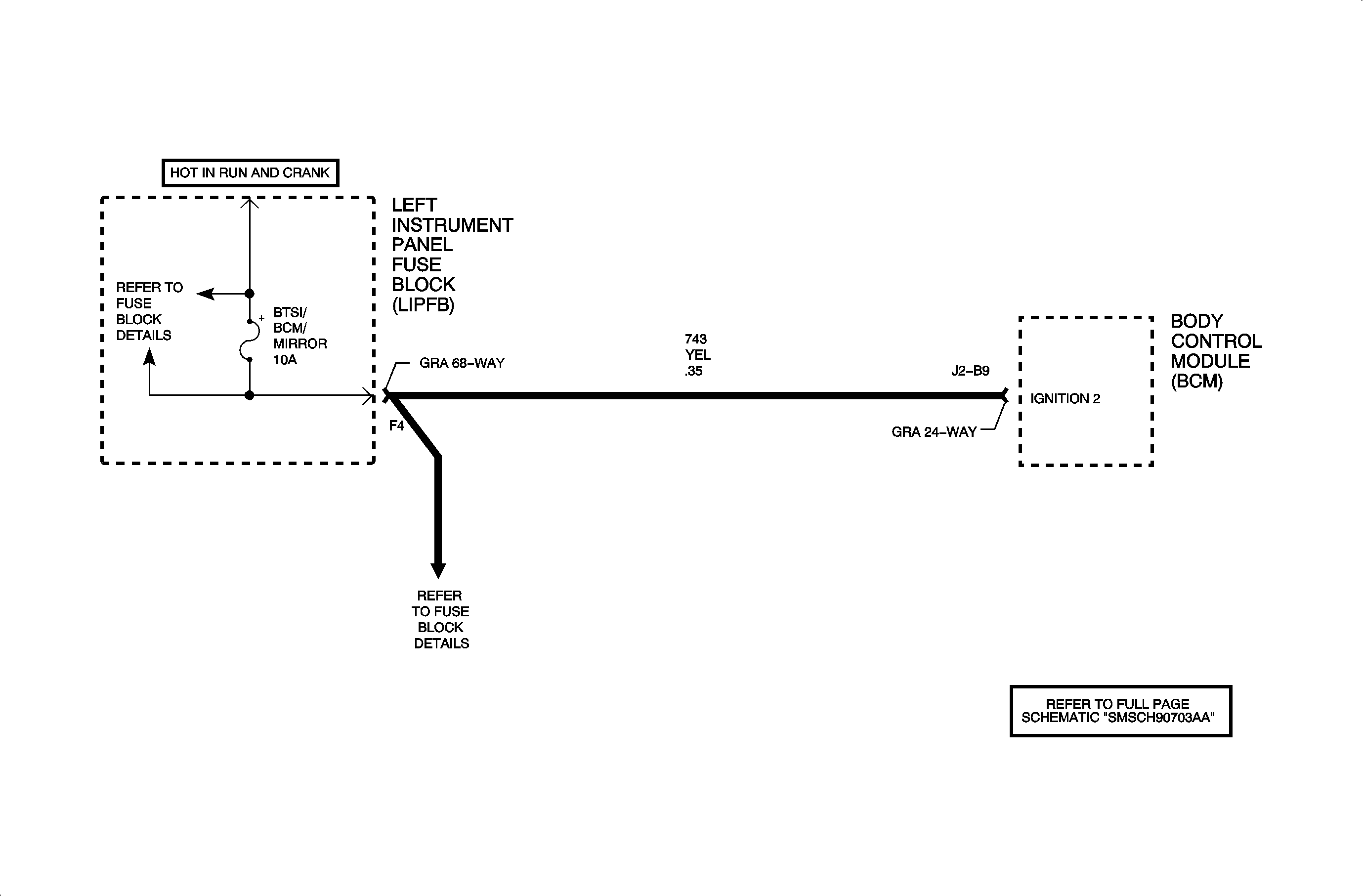
Circuit Description

The body control module (BCM) monitors the ignition 1 voltage circuit 339, the ignition 2 voltage circuit 743 and the engine run flag (ERF). The ERF is a serial data message from the engine controller.

Conditions for Setting the DTC

    • Ignition in the RUN position
    • Ignition in ACC circuit 743 shorted-to-ground or open
    • Engine run flag present (engine running)
    • All conditions for greater than 1 minute
    • No telltale illumination

Diagnostic Aids

    • A longer delay is required to set the diagnostic code for the ignition ACC circuit low, than for the ignition 2 circuit low (1 minute instead of 1 second). This timer has been added to avoid false diagnostic code setting, if the vehicle has experienced an extremely long crank condition. Maximum recommended crank time is 15 seconds to avoid damaging the starter.
    • Check for a poor connection at the BCM. Inspect the harness connectors for backed-out terminals, improper terminal mating, broken connector locks, improperly formed or damaged terminals and poor terminal-to-wire connection (crimped over the wire insulation and not over the conductors).
    • Inspect the wiring harness for damage. Check for broken or chaffed insulation.
    • If the fault is suspected to be intermittent, wiggling the harness wiring may help in locating the fault.

Object Number: 890886  Size: FP