GM Service Manual Online
For 1990-2009 cars only

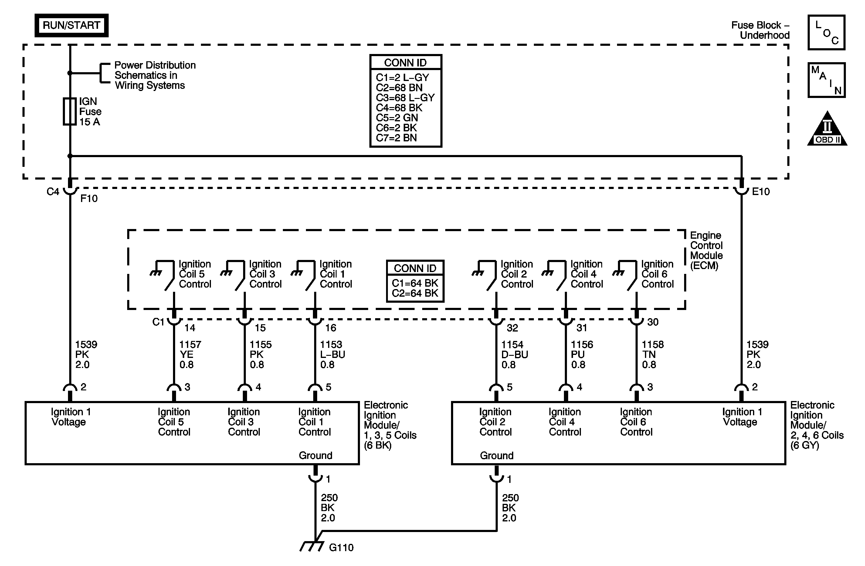
Object Number: 1247814  Size: MF
Engine Controls Component Views
Engine Controls Schematics

Circuit Description

The ignition system uses a ignition control module (ICM) for each bank. The ICMs consist of a controller and ignition coils. The ICMs are mounted in the center of each camshaft cover with short boots connecting the coils to the spark plugs. The engine control module (ECM) primarily uses engine speed and position information from the crankshaft (CKP) and camshaft position (CMP) sensors to control the sequence, dwell, and timing of the spark. The ECM can command each ignition coil ON/OFF by grounding the control circuit of the ignition coil. The control circuits are pulse width modulated (PWM) in order to precisely control the spark events.

Step

Action

Values

Yes

No

Schematic Reference: Engine Controls Schematics

Connector End View Reference: Engine Control Module Connector End Views or Engine Controls Connector End Views

1

Did you perform the Diagnostic System Check-Engine Controls?

--

Go to Step 2

Go to Diagnostic System Check - Engine Controls

2

Attempt to start the engine.

Does the engine start and idle?

--

Go to Step 3

Go to Step 4

3

  1. Idle the engine.
  2. Monitor the misfire counters with a scan tool.

Does the misfire counters indicate misfires for one cylinder?

--

Go to Step 8

Go to Step 4

4

  1. Turn OFF the ignition.
  2. Disconnect the harness connector of the inoperative ignition control module (ICM).
  3. Turn ON the ignition, with the engine OFF.
  4. Connect a test lamp from the ignition voltage circuit of the ICM to a good ground.

Does the test lamp illuminate?

--

Go to Step 5

Go to Step 15

5

Connect a test lamp from the ignition voltage circuit to the ground circuit of the ICM.

Does the test lamp illuminate?

--

Go to Step 6

Go to Step 16

6

  1. Remove the IGN fuse in the underhood fuse block.
  2. Measure the resistance of ignition voltage circuit of the ICM from the IGN fuse in the underhood fuse block to the harness connector of the ICM with a DMM.

Is the resistance less than the specified value?

3 ohms

Go to Step 7

Go to Step 17

7

Measure the resistance of ground circuit of the ICM from the harness connector of the ICM to a good ground with a DMM.

Is the resistance less than the specified value?

3 ohms

Go to Step 13

Go to Step 18

8

  1. Disconnect the harness connector of the ICM.
  2. Important: If using a different test lamp, the bulb resistance needs to be 4 ohms or less.

  3. Using jumper wires, connect the J 34730-405 TBI Harness Test Lamp (Noid Light) from the ignition voltage circuit to the control circuit of the inoperative ignition coil in the harness connector of the ICM
  4. Command the inoperative ignition coil ON with a scan tool.

Does the test lamp flash?

--

Go to Step 10

Go to Step 9

9

Does the test lamp remain ON?

--

Go to Step 11

Go to Step 12

10

  1. Using jumper wires, connect the J 34730-405 from the ignition voltage circuit to the control circuit of the good ignition coil in the harness connector of the ICM.
  2. Command the ignition coil ON with a scan tool.
  3. Compare the illumination of the good coil to that of the inoperative coil.

Does the test lamp illuminate with same brightness for both circuits?

--

Go to Step 13

Go to Step 12

11

Test the control circuit of the inoperative ignition coil for a short to ground. Refer to Circuit Testing and Wiring Repairs in Wiring Systems.

Did you find and correct the condition?

--

Go to Step 21

Go to Step 14

12

Test the control circuit of the inoperative ignition coil for one of the following conditions:

    • An open
    • A short to voltage
    • High resistance of more than 3 ohms

Refer to Circuit Testing and Wiring Repairs in Wiring Systems.

Did you find and correct the condition?

--

Go to Step 21

Go to Step 14

13

Test for shorted terminals or a poor connection at the ICM. Refer to Testing for Intermittent Conditions and Poor Connections and Connector Repairs in Wiring Systems.

Did you find and correct the condition?

--

Go to Step 21

Go to Step 19

14

Test for shorted terminals or a poor connection at the engine control module (ECM). Refer to Testing for Intermittent Conditions and Poor Connections and Connector Repairs in Wiring Systems.

Did you find and correct the condition?

--

Go to Step 21

Go to Step 20

15

Repair an open or a short to ground in the ignition voltage circuit of the ICM. Refer to Wiring Repairs in Wiring Systems.

Did you complete the repair?

--

Go to Step 21

--

16

Repair an open in the ground circuit of the ICM. Refer to Wiring Repairs in Wiring Systems.

Did you complete the repair?

--

Go to Step 21

--

17

Repair the high resistance in the ignition voltage circuit of the ICM. Refer to Wiring Repairs in Wiring Systems.

Did you complete the repair?

--

Go to Step 21

--

18

Repair the high resistance in the ground circuit of the ICM. Refer to Wiring Repairs in Wiring Systems.

Did you complete the repair?

--

Go to Step 21

--

19

Replace the coil assembly. Refer to Ignition Control Module Replacement - Bank 1 or Ignition Control Module Replacement - Bank 2 .

Did you complete the replacement?

--

Go to Step 21

--

20

Replace the ECM. Refer to Engine Control Module Replacement .

Did you complete the replacement?

--

Go to Step 21

--

21

  1. Turn the ignition OFF for 30 seconds.
  2. Start the engine and operate the vehicle.
  3. Observe the vehicle performance and driveability.

Does the vehicle operate normally?

--

System OK

Go to Step 2