GM Service Manual Online
For 1990-2009 cars only

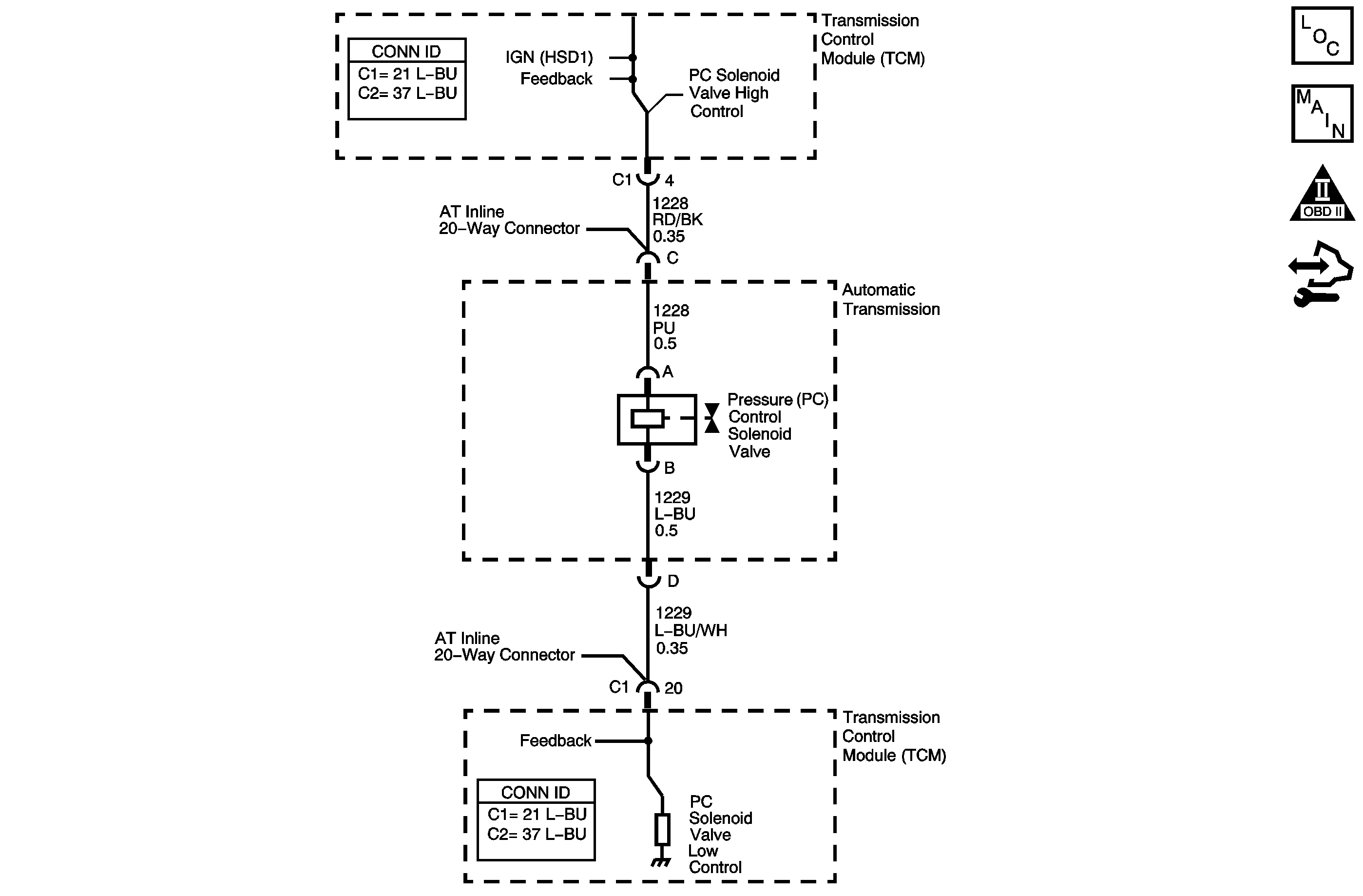
Object Number: 1409190  Size: MF
Master Electrical Component List
Automatic Transmission Controls Schematics
OBD II Symbol Description Notice
Control Module References

Circuit Description

The transmission control module (TCM) provides voltage to the pressure control solenoid, the shift solenoids, and the torque converter clutch pulse width modulated (TCC PWM) solenoid through 2 separate solid-state devices called high side drivers (HSD) - HSD1 and HSD2. HSD1 provides electrical power to the pressure control solenoid. HSD2 provides power to the shift solenoids and TCC PWM solenoid. A normal function of the TCM is to run tests on each driver to ensure that it is functioning properly.

When the TCM detects an open or a short to ground on HSD1, DTC P1831 sets. DTC P1831 is a type A DTC.

DTC Descriptor

This diagnostic procedure supports the following DTC:

DTC P1831 Pressure Control (PC)/Shift Lock Solenoid Control Circuit Low Voltage

Conditions for Running the DTC

The engine run time is greater than 5 seconds.

Conditions for Setting the DTC

The TCM detects an open or a short to ground on the HSD1 circuit when the HSD1 is commanded ON for 4.3 seconds.

Action Taken When the DTC Sets

    • The TCM requests the engine control module (ECM) to illuminate the malfunction indicator lamp (MIL).
    • The TCM commands an immediate landing to 2nd gear.
    • The TCM commands maximum line pressure.
    • The TCM inhibits TCC engagement.
    • The TCM commands HSD1 off.
    • The TCM freezes transmission adaptive function.
    • The ECM records the operating conditions when the Conditions for Setting the DTC are met. The ECM stores this information as Freeze Frame and Failure Records.
    • The TCM records the operating conditions when the Conditions for Setting the DTC are met. The TCM stores this information as Failure Records.
    • The TCM stores DTC P1831 in TCM history.

Conditions for Clearing the MIL/DTC

    • The ECM turns OFF the MIL after the third consecutive drive trip in which the TCM does not send a MIL illumination request.
    • A scan tool can clear the DTC.
    • The TCM clears the DTC from TCM history if the vehicle completes 40 warm-up cycles without an emission related diagnostic fault occurring.
    • The TCM cancels the DTC default actions when the ignition is OFF long enough in order to power down the TCM.

Step

Action

Yes

No

1

Did you perform the Diagnostic System Check - Vehicle?

Go to Step 2

Go to Diagnostic System Check - Vehicle in Vehicle DTC Information

2

  1. Install a scan tool.
  2. Turn ON the ignition with the engine OFF.
  3. Important: 

       • Before clearing the DTC, use the scan tool in order to record the ECM Freeze Frame and the TCM Failure Records. Using the Clear Info function erases the Freeze Frame and Failure Records from the ECM and the TCM.
       • Using the Clear Info function erases stored DTCs in both the ECM and TCM.

  4. Record the DTC Freeze Frame and Failure Records.
  5. Clear the DTC.
  6. Turn OFF the ignition for at least 30 seconds.
  7. Start the engine.

Did DTC P1831 reset?

Go to Step 3

Go to Intermittent Conditions in Engine Controls - 3.0L (L81)

3

Replace the TCM.

Refer to Control Module References in Computer/Integrating Systems for replacement, set-up, and programming.

Is the action complete?

Go to Step 4

--

4

Perform the following procedure in order to verify the repair:

  1. Select DTC.
  2. Select Clear Info.
  3. Start the engine.
  4. Select Specific DTC.
  5. Enter DTC P1831.

Has the test run and passed?

Go to Step 5

Go to Step 2

5

With the scan tool, observe the stored information, capture info and DTC info.

Does the scan tool display any DTCs that you have not diagnosed?

Go to Diagnostic Trouble Code (DTC) List - Vehicle in Vehicle DTC Information

System OK