GM Service Manual Online
For 1990-2009 cars only

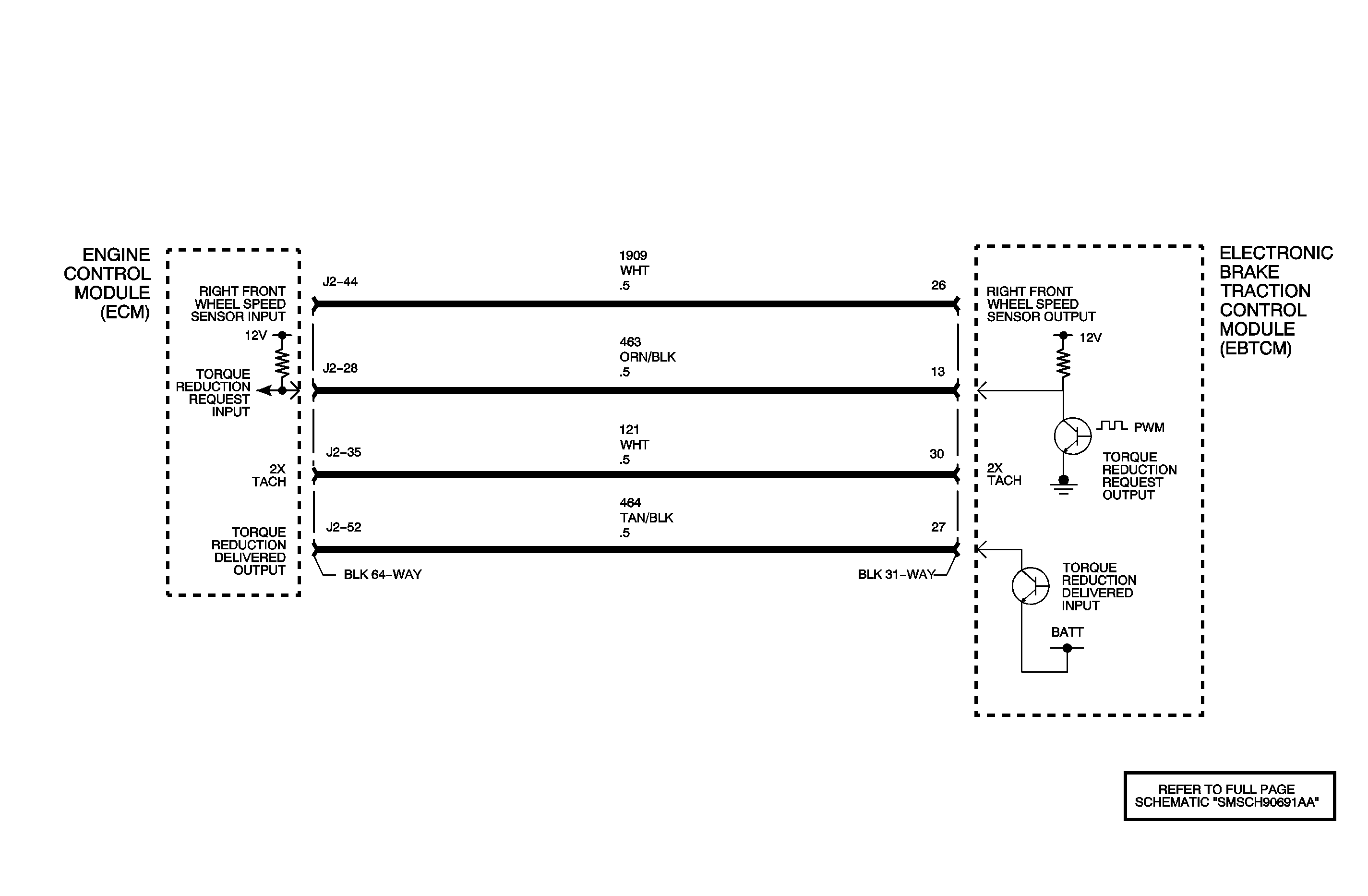
Object Number: 1498752  Size: MF

Circuit Description

The electronic brake and traction control module (EBTCM) and the engine control module (ECM) simultaneously control the traction control. The ECM reduces the amount of torque supplied to the drive wheels by retarding spark timing and selectively turning OFF the fuel injectors. The EBTCM actively applies the brakes to the front wheels in order to reduce torque.

The electronic brake control module (EBCM) sends a requested torque message via pulse width modulated (PWM) signal to the ECM. The duty cycle of the signal is used to determine how much engine torque the EBTCM is requesting the ECM to deliver. Normal values are between 10-90 percent duty cycle. The signal should be at 90 percent when traction control is not active and at lower values during traction control activations. The ECM supplies a pull up voltage of 5 volts that the EBTCM switches to ground to create the signal.

DTC Descriptor

This diagnostic procedure supports the following DTC:

DTC C0241 Powertrain Control Module (PCM) Indicated Torque Requested Malfunction

Conditions for Running the DTC

    • The ignition is ON.
    • The engine is running.

Conditions for Setting the DTC

    • The EBTCM does not receive the delivered torque signal, open, or shorted circuit.
    • An incorrect delivered torque signal is detected by the EBTCM.

Action Taken When the DTC Sets

    • Traction control will be disabled.
    • The traction off indicator turns ON.

Diagnostic Aids

    • It is very important that a thorough inspection of the wiring and connectors be performed. Failure to carefully and fully inspect wiring and connectors may result in misdiagnosis, causing part replacement with reappearance of the malfunction.
    • Thoroughly inspect any circuitry that may be causing the complaint for the following conditions:
       - Backed-out terminals
       - Improper mating
       - Broken locks
       - Improperly formed or damaged terminals
       - Poor terminal-to-wiring connections
       - Physical damage to the wiring harness
    • The following conditions may cause an intermittent malfunction:
       - A poor connection
       - Rubbed-through wire insulation
       - A broken wire inside the insulation
    • If the customer comments reflect that the amber ABS/TCS indicator is ON only during moist environmental conditions (rain, snow, vehicle wash), inspect all the wheel speed sensor (WSS) circuitry for signs of water intrusion. If the DTC is not current, clear all DTCs and simulate the effects of water intrusion by using the following procedure:
        1. Spray the suspected area with a 5 percent saltwater solution.

Add 2 teaspoons of salt to 12 ounces of water to make a 5 percent saltwater solution.

        2. Test drive the vehicle over various road surfaces (bumps, turns, etc.) above 40 km/h (25 mph) for at least 30 seconds.
        3. If the DTC returns, replace the suspected harness.
    • If an intermittent malfunction exists, refer to Testing for Intermittent Conditions and Poor Connections in Wiring Systems.

Step

Action

Values

Yes

No

Schematic Reference: Antilock Brake System Schematics

Connector End View Reference: Antilock Brake System Connector End Views

1

Did you perform the Diagnostic System Check - Vehicle?

--

Go to Step 2

Go to Diagnostic System Check - Vehicle in Vehicle DTC Information

2

  1. Use a scan tool in order to clear the DTCs.
  2. Turn OFF the ignition for 5 seconds.
  3. Start the engine.

Does the DTC set?

--

Go to Step 3

Go to Diagnostic Aids

3

With the engine running, use the scan tool in order to monitor the torque requested in the engine control module (ECM) data display.

Does the scan tool show a torque requested value between the specified value?

90-100%

Go to Diagnostic Aids

Go to Step 4

4

  1. Disconnect the electronic brake and traction control module (EBTCM).
  2. Using a DMM, measure the voltage on the delivered torque signal circuit.

Is the voltage measured within the specified range?

4-6 V

Go to Step 6

Go to Step 5

5

Test the requested torque signal circuit for an open or a short to ground. Refer to Circuit Testing and Wiring Repairs in Wiring Systems.

Did you find and correct the condition?

--

Go to Step 10

Go to Step 7

6

  1. Turn OFF the ignition.
  2. Inspect for poor connections at the harness connector of the EBTCM. Refer to Testing for Intermittent Conditions and Poor Connections and Connector Repairs in Wiring Systems.

Did you find and correct the condition?

--

Go to Step 10

Go to Step 8

7

Inspect for poor connections at the harness connector of the ECM. Refer to Testing for Intermittent Conditions and Poor Connections and Connector Repairs in Wiring Systems.

Did you find and correct the condition?

--

Go to Step 10

Go to Step 9

8

Important: New ABS control modules will automatically set DTC C0551 when installed. To clear correct engine and transmission option bit. Refer to ABS programming on the scan tool.

Replace the electronic brake control module (EBCM). Refer to Control Module References in Computer/Integrating Systems for replacement, setup, and programming.

Did you complete the replacement?

--

Go to Step 10

--

9

Important: Perform the setup procedure for the ECM.

Replace the ECM. Refer to Control Module References in Computer/Integrating Systems for replacement, setup, and programming.

Did you complete the replacement?

--

Go to Step 10

--

10

  1. Use the scan tool Clear All Class 2 DTCs function to clear all of the DTCs from all modules.
  2. Turn OFF the ignition for 5 seconds.
  3. Turn ON the ignition.
  4. Operate the vehicle within the Conditions for Running the DTC as specified in the supporting text.

Does the DTC reset?

--

Go to Step 2

System OK