GM Service Manual Online
For 1990-2009 cars only

SMU for the 2002-2003 L Series Powertrain Electrical Diagnostics Service Manuals Regarding DTCs P0218, P0711, P0712, P0713, P1810, P1815, P1816, P1817, P1818, P1860 and P1887

Subject:Service Manual Update for the 2002-2003 L-Series Powertrain Electrical Diagnostics Service Manuals Regarding DTCs P0218, P0711, P0712, P0713, P1810, P1815, P1816, P1817, P1818, P1860 and P1887

Models:2002-2003 Saturn L-Series Vehicles 4 cyl (L61) only



Purpose

The purpose of this bulletin is to update all the 2002-2003 L-Series Powertrain Electrical Diagnostics Service Manuals at your location.

Please obtain all the 2000-2003 Powertrain Diagnostics Service Manuals and update accordingly.

Important: The mini schematics for the following DTCs P0218, P0711, P0712, P0713, P1810, P1815, P1816, P1817, P1818, P1860 and P1887 have been updated to reflect circuit changes.

Refer to the following pages for updated mini schematics and the DTCs, with which they correspond.

Service Manual update for DTCs P0218, P0711, P0712, and P0713 (L61 Only) of the 2002-2003 Powertrain Diagnostics Service Manual. Refer to Technical Information Bulletin 02-T-00. October, 2002.


Object Number: 1225953  Size: MF

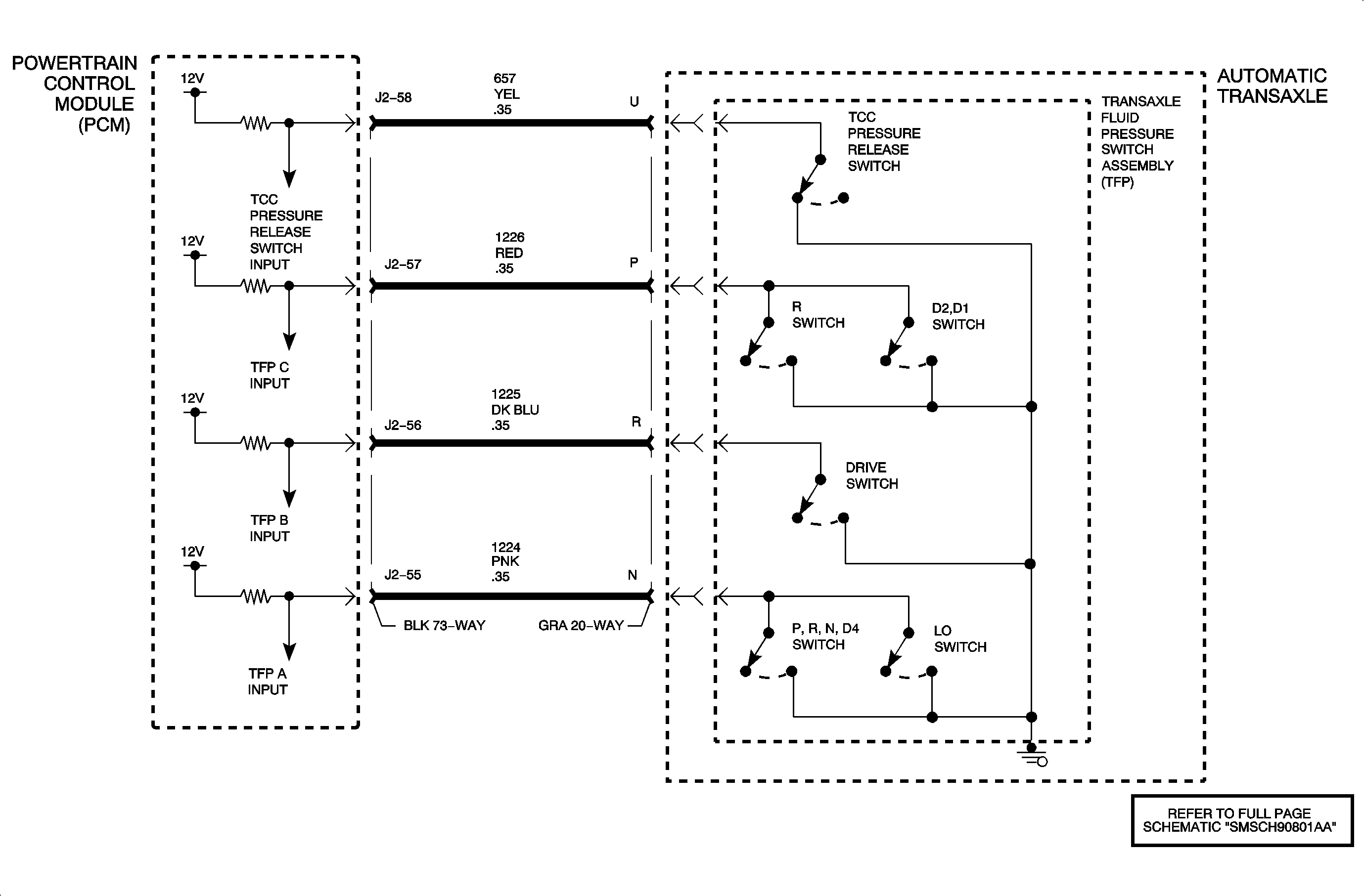
Service Manual update for DTCs P1810, P1815, P1816, P1817, P1818, and P1887 (L61 Only) of the 2002-2003 Powertrain Diagnostics Service Manual. Refer to Technical Information Bulletin 02-T-00. October, 2002.


Object Number: 1225954  Size: MF

Service Manual update for DTC P1860 (L61 Only) of the 2002-2003 Powertrain Diagnostics Service Manual. Refer to Technical Information Bulletin 02-T-00. October, 2002.


Object Number: 1225955  Size: MF