GM Service Manual Online
For 1990-2009 cars only
Connector 1: A/C Compressor Clutch
Connector 2: A/C Refrigerant Pressure Sensor
Connector 3: Accelerator Pedal Position (APP) Sensor
Connector 4: Accessory AC/DC Power Control Module X1 (KV1)
Connector 5: Accessory AC/DC Power Control Module X2 (KV1)
Connector 6: Accessory Power Outlet - 110V AC (KV1)
Connector 7: Accessory Power Outlet - Center Console
Connector 8: Accessory Power Outlet - I/P
Connector 9: Accessory Power Outlet - Rear
Connector 10: Accessory Power Outlet - Rear Console (DK1)
Connector 11: Adaptive Forward Lighting (AFL) Motor - Left (TSH)
Connector 12: Adaptive Forward Lighting (AFL) Motor - Right (TSH)
Connector 13: Air Temperature Actuator - Auxiliary
Connector 14: Air Temperature Actuator - Left (CJ2)
Connector 15: Air Temperature Actuator - Right (CJ2)
Connector 16: Air Temperature Actuator (C67)
Connector 17: Air Temperature Sensor - Lower Left (CJ2)
Connector 18: Air Temperature Sensor - Lower Right (CJ2)
Connector 19: Air Temperature Sensor - Upper Left (CJ2)
Connector 20: Air Temperature Sensor - Upper Right (CJ2)
Connector 21: Ambient Light Sensor (C67)
Connector 22: Ambient Temperature Sensor
Connector 23: Audio Amplifier X1 (UQA or UQS)
Connector 24: Audio Amplifier X2 (UQA or UQS)
Connector 25: Audio Amplifier X3 (UQA or UQS)
Connector 26: Audio/Video Adapter (U42)
Connector 27: Automatic Transmission
Connector 28: Automatic Transmission Internal Mode Switch (IMS)
Connector 29: Automatic Transmission Manual Shift Switch
Connector 30: Back Up Lamp - Left (W49)
Connector 31: Back Up Lamp - Left (WDA)
Connector 32: Back Up Lamp - Left (Z88)
Connector 33: Back Up Lamp - Right (W49)
Connector 34: Back Up Lamp - Right (WDA)
Connector 35: Back Up Lamp - Right (Z88)
Connector 36: Battery (-)
Connector 37: Battery (+)
Connector 38: Battery Current Sensor
Connector 39: Blower Motor
Connector 40: Blower Motor - Auxiliary
Connector 41: Blower Motor Control Module - Auxiliary X1
Connector 42: Blower Motor Control Module - Auxiliary X2
Connector 43: Blower Motor Control Module X1
Connector 44: Blower Motor Control Module X2
Connector 45: Body Control Module (BCM) X1
Connector 46: Body Control Module (BCM) X2
Connector 47: Body Control Module (BCM) X3
Connector 48: Body Control Module (BCM) X4
Connector 49: Body Control Module (BCM) X5
Connector 50: Body Control Module (BCM) X6
Connector 51: Body Control Module (BCM) X7
Connector 52: Brake Booster Pump - Auxiliary
Connector 53: Brake Booster Vacuum Sensor
Connector 54: Brake Fluid Level Switch
Connector 55: Brake Pedal Position Sensor
Connector 56: Camshaft Position (CMP) Actuator Solenoid Valve - Bank 1 Exhaust (LLT)
Connector 57: Camshaft Position (CMP) Actuator Solenoid Valve - Bank 2 Exhaust (LLT)
Connector 58: Camshaft Position (CMP) Actuator Solenoid Valve - Bank 1 Intake (LLT)
Connector 59: Camshaft Position (CMP) Actuator Solenoid Valve - Bank 2 Intake (LLT)
Connector 60: Camshaft Position (CMP) Sensor - Bank 1 Exhaust (LLT)
Connector 61: Camshaft Position (CMP) Sensor - Bank 2 Exhaust (LLT)
Connector 62: Camshaft Position (CMP) Sensor - Bank 1 Intake (LLT)
Connector 63: Camshaft Position (CMP) Sensor - Bank 2 Intake (LLT)
Connector 64: Cellular Telephone Microphone (UE1)
Connector 65: Center High Mounted Stop Lamp (CHMSL) (W49)
Connector 66: Center High Mounted Stop Lamp (CHMSL) (without W49)
Connector 67: Clock (W49)
Connector 68: Console Flood Lamp
Connector 69: Courtesy/Reading Lamps - 2nd Row (without U42)
Connector 70: Courtesy/Reading Lamps - 2nd Row X1 (C3U with U42)
Connector 71: Courtesy/Reading Lamps - 2nd Row X2 (C3U with U42)
Connector 72: Crankshaft Position (CKP) Sensor (LLT)
Connector 73: Data Link Connector (DLC)
Connector 74: Data Link Resistor (without MH6)
Connector 75: Daytime Running Lamp (DRL) - Left (W49 or Z88 with T61)
Connector 76: Daytime Running Lamp (DRL) - Left (WDA with T61)
Connector 77: Daytime Running Lamp (DRL) - Right (W49 or Z88 with T61)
Connector 78: Daytime Running Lamp (DRL) - Right (WDA with T61)
Connector 79: Digital Radio Receiver (U2K or UBS)
Connector 80: Digital Video Disc (DVD) Display (U42)
Connector 81: Door Control Module - Passenger X1 (AXC or AXE)
Connector 82: Door Control Module - Passenger X2 (AXC or AXE)
Connector 83: Door Control Module - Passenger X3 (AXC or AXE)
Connector 84: Door Control Module - Passenger X4 (AXC or AXE)
Connector 85: Door Control Module - Passenger X7 (AXC or AXE)
Connector 86: Door Latch - Driver
Connector 87: Door Latch - Left Rear
Connector 88: Door Latch - Passenger
Connector 89: Door Latch - Right Rear
Connector 90: Door Lock Switch - Driver (without AXC or AXE)
Connector 91: Door Lock Switch - Passenger (without AXC or AXE)
Connector 92: Driver Door Module (DDM) X1 (AXC or AXE)
Connector 93: Driver Door Module (DDM) X2 (AXC or AXE)
Connector 94: Driver Door Module (DDM) X3 (AXC or AXE)
Connector 95: Driver Door Module (DDM) X4 (AXC or AXE)
Connector 96: Driver Door Module (DDM) X7 (AXC or AXE)
Connector 97: Driver Information Center (DIC) Switch (UH9)
Connector 98: Electronic Brake Control Module (EBCM)
Connector 99: Electronic Compass Module (U80)
Connector 100: Engine Control Module (ECM) X1 (LLT)
Connector 101: Engine Control Module (ECM) X2 (LLT)
Connector 102: Engine Coolant Temperature (ECT) Sensor (LLT)
Connector 103: Engine Cooling Fan - Left and Engine Cooling Fan - Right
Connector 104: Engine Oil Pressure (EOP) Switch (LLT)
Connector 105: Evaporative Emission (EVAP) Canister Purge Solenoid Valve (LLT)
Connector 106: Evaporative Emissions (EVAP) Canister Vent Solenoid Valve (LLT)
Connector 107: Evaporator Temperature Sensor
Connector 108: Fog Lamp - Left Front (W49 or WDA with T96)
Connector 109: Fog Lamp - Left Front (Z88)
Connector 110: Fog Lamp - Right Front (W49 or WDA with T96)
Connector 111: Fog Lamp - Right Front (Z88)
Connector 112: Fuel Injector 1 (LLT)
Connector 113: Fuel Injector 2 (LLT)
Connector 114: Fuel Injector 3 (LLT)
Connector 115: Fuel Injector 4 (LLT)
Connector 116: Fuel Injector 5 (LLT)
Connector 117: Fuel Injector 6 (LLT)
Connector 118: Fuel Pump and Sender Assembly (LLT)
Connector 119: Fuel Pump Flow Control Module (LLT)
Connector 120: Fuel Pressure Sensor (LLT)
Connector 121: Fuel Rail Pressure (FRP) Sensor (LLT)
Connector 122: Fuel Tank Pressure (FTP) Sensor (LLT)
Connector 123: Garage Door Opener (UG1)
Connector 124: Generator X1
Connector 125: Generator X2
Connector 126: Hazard Switch
Connector 127: Head Up Display (HUD) (UV6)
Connector 128: Head Up Display (HUD) Switch (UV6)
Connector 129: Headlamp - Left (WDA with TVD)
Connector 130: Headlamp - Left (Z88 with TVD or W49)
Connector 131: Headlamp - Left High Beam (WDA without TVD)
Connector 132: Headlamp - Left High Beam (X88)
Connector 133: Headlamp - Left High Beam (Z88 without TVD)
Connector 134: Headlamp - Left High Beam Solenoid (W49)
Connector 135: Headlamp - Left High Beam Solenoid (WDA with TVD)
Connector 136: Headlamp - Left High Beam Solenoid (Z88 with TVD)
Connector 137: Headlamp - Left Low Beam (WDA without TVD)
Connector 138: Headlamp - Left Low Beam (X88 or Z88 without TVD)
Connector 139: Headlamp - Right (WDA with TVD)
Connector 140: Headlamp - Right (Z88 with TVD or W49)
Connector 141: Headlamp - Right High Beam (WDA without TVD)
Connector 142: Headlamp - Right High Beam (X88)
Connector 143: Headlamp - Right High Beam (Z88 without TVD)
Connector 144: Headlamp - Right High Beam Solenoid (W49)
Connector 145: Headlamp - Right High Beam Solenoid (WDA with TVD)
Connector 146: Headlamp - Right High Beam Solenoid (Z88 with TVD)
Connector 147: Headlamp - Right Low Beam (WDA without TVD)
Connector 148: Headlamp - Right Low Beam (X88 or Z88 without TVD)
Connector 149: Headlamp Control Module - Left High Beam (W49)
Connector 150: Headlamp Control Module - Right High Beam (W49)
Connector 151: Headlamp Control Module (TSH)
Connector 152: Headlamp Switch
Connector 153: Heated and Cooled Seat Switch - Driver (KB6)
Connector 154: Heated and Cooled Seat Switch - Passenger (KB6)
Connector 155: Heated Oxygen Sensor (HO2S) Bank 1 Sensor 1 (LLT)
Connector 156: Heated Oxygen Sensor (HO2S) Bank 1 Sensor 2 (LLT)
Connector 157: Heated Oxygen Sensor (HO2S) Bank 2 Sensor 1 (LLT)
Connector 158: Heated Oxygen Sensor (HO2S) Bank 2 Sensor 2 (LLT)
Connector 159: Heated Seat Control Module - Driver X1 (KA1 without AG3)
Connector 160: Heated Seat Control Module - Driver X2 (KA1 without AG3)
Connector 161: Heated Seat Control Module - Driver X3 (KA1 without AG3)
Connector 162: Heated Seat Control Module - Driver X4 (KA1 without AG3)
Connector 163: Heated Seat Element - Driver Back (KA1)
Connector 164: Heated Seat Element - Driver Back (KB6)
Connector 165: Heated Seat Element - Driver Cushion (KA1)
Connector 166: Heated Seat Element - Driver Cushion (KB6)
Connector 167: Heated Seat Element - Passenger Back (KA1)
Connector 168: Heated Seat Element - Passenger Back (KB6)
Connector 169: Heated Seat Element - Passenger Cushion (KA1)
Connector 170: Heated Seat Element - Passenger Cushion (KB6)
Connector 171: Heated Seat Switch - Driver (KA1)
Connector 172: Heated Seat Switch - Passenger (KA1)
Connector 173: High Pressure Fuel Pump (LLT)
Connector 174: Hood Ajar Switch (BTV)
Connector 175: Horn - High Note
Connector 176: Horn - Low Note
Connector 177: Horn Switch X1
Connector 178: Horn Switch X2
Connector 179: HVAC Control Assembly - Auxiliary (without UK6)
Connector 180: HVAC Control Module X1
Connector 181: HVAC Control Module X2 (C67)
Connector 182: HVAC Control Module X2 (CJ2)
Connector 183: HVAC Control Module X3
Connector 184: HVAC Control Module X4
Connector 185: I/P Switch Assembly
Connector 186: Ignition Coil 1 (LLT)
Connector 187: Ignition Coil 2 (LLT)
Connector 188: Ignition Coil 3 (LLT)
Connector 189: Ignition Coil 4 (LLT)
Connector 190: Ignition Coil 5 (LLT)
Connector 191: Ignition Coil 6 (LLT)
Connector 192: Ignition Lock Cylinder Control Actuator
Connector 193: Ignition Switch
Connector 194: Inflatable Restraint Front End Sensor - Left
Connector 195: Inflatable Restraint Front End Sensor - Right
Connector 196: Inflatable Restraint Front Passenger Presence System (PPS) Sensor
Connector 197: Inflatable Restraint I/P Module
Connector 198: Inflatable Restraint I/P Module Indicator
Connector 199: Inflatable Restraint Roof Rail Module - Driver
Connector 200: Inflatable Restraint Roof Rail Module - Passenger
Connector 201: Inflatable Restraint Sensing and Diagnostic Module (SDM)
Connector 202: Inflatable Restraint Side Impact Module - Left
Connector 203: Inflatable Restraint Side Impact Module - Right
Connector 204: Inflatable Restraint Side Impact Sensor (SIS) - Left Front
Connector 205: Inflatable Restraint Side Impact Sensor (SIS) - Left Rear
Connector 206: Inflatable Restraint Side Impact Sensor (SIS) - Right Front
Connector 207: Inflatable Restraint Side Impact Sensor (SIS) - Right Rear
Connector 208: Inflatable Restraint Steering Wheel Module Coil X1
Connector 209: Inflatable Restraint Steering Wheel Module Coil X2
Connector 210: Inflatable Restraint Steering Wheel Module Coil X3
Connector 211: Inflatable Restraint Steering Wheel Module X1
Connector 212: Inflatable Restraint Steering Wheel Module X2
Connector 213: Inflatable Restraint Vehicle Rollover Sensor
Connector 214: Infrared Transmitter (U42)
Connector 215: Input Speed Sensor (ISS)
Connector 216: Inside Air Temperature Sensor (CJ2)
Connector 217: Inside Rearview Mirror
Connector 218: Instrument Panel Cluster (IPC)
Connector 219: Knock Sensor (KS) 1 (LLT)
Connector 220: Knock Sensor (KS) 2 (LLT)
Connector 221: License Lamp - Left
Connector 222: License Lamp - Right
Connector 223: Liftgate Control Switch - Exterior
Connector 224: Liftgate Control Switch - Interior (TB5)
Connector 225: Liftgate Courtesy Lamp - Left
Connector 226: Liftgate Courtesy Lamp - Right
Connector 227: Liftgate Latch Assembly (TB4)
Connector 228: Liftgate Latch Assembly (TB5)
Connector 229: Liftgate Module (LGM) X1 (TB5)
Connector 230: Liftgate Module (LGM) X2 (TB5)
Connector 231: Liftgate Module (LGM) X3 (TB5)
Connector 232: Liftgate Motor Assembly X1 (TB5)
Connector 233: Liftgate Motor Assembly X2 (TB5)
Connector 234: Liftgate Object Sensor - Left (TB5)
Connector 235: Liftgate Object Sensor - Right (TB5)
Connector 236: Marker Lamp - Left Front (W49 or Z88)
Connector 237: Marker Lamp - Left Front (WDA)
Connector 238: Marker Lamp - Left Front (X88)
Connector 239: Marker Lamp - Left Rear (W49)
Connector 240: Marker Lamp - Left Rear (WDA)
Connector 241: Marker Lamp - Left Rear (X88)
Connector 242: Marker Lamp - Right Front (W49 or Z88)
Connector 243: Marker Lamp - Right Front (WDA)
Connector 244: Marker Lamp - Right Front (X88)
Connector 245: Marker Lamp - Right Rear (W49)
Connector 246: Marker Lamp - Right Rear (WDA)
Connector 247: Marker Lamp - Right Rear (X88)
Connector 248: Mass Air Flow (MAF)/Intake Air Temperature (IAT) Sensor (LLT)
Connector 249: Memory Seat Adjuster Switch - Driver (AG3)
Connector 250: Memory Seat Module (MSM) X1 (AG3)
Connector 251: Memory Seat Module (MSM) X2 (AG3)
Connector 252: Memory Seat Module X3 (MSM) (AG3)
Connector 253: Memory Seat Module (MSM) X4 (AG3)
Connector 254: Memory Seat Module (MSM) X5 (AG3)
Connector 255: Memory Seat Module (MSM) X6 (AG3)
Connector 256: Memory Seat Module (MSM) X7 (AG3)
Connector 257: Mode Actuator
Connector 258: Mode Actuator - Auxiliary
Connector 259: Object Alarm Module X1 (UD7)
Connector 260: Object Alarm Module X2 (UD7)
Connector 261: Object Alarm Sensor - Left Rear Corner (UD7)
Connector 262: Object Alarm Sensor - Left Rear Middle (UD7)
Connector 263: Object Alarm Sensor - Right Rear Corner (UD7)
Connector 264: Object Alarm Sensor - Right Rear Middle (UD7)
Connector 265: Output Speed Sensor (OSS)
Connector 266: Outside Rearview Mirror - Driver (DL6 or DS3)
Connector 267: Outside Rearview Mirror - Driver X1 (DNP or DNT)
Connector 268: Outside Rearview Mirror - Driver X2 (DNP or DNT)
Connector 269: Outside Rearview Mirror - Passenger (DL6 or DS3)
Connector 270: Outside Rearview Mirror - Passenger X1 (DNP or DNT)
Connector 271: Outside Rearview Mirror - Passenger X2 (DNP or DNT)
Connector 272: Outside Rearview Mirror Switch (DL6 or DS3)
Connector 273: Overhead Console Courtesy/Reading Lamps - Front
Connector 274: Overhead Console Courtesy/Reading Lamps - Rear
Connector 275: Park Brake Switch
Connector 276: Park Lamp - Left Rear (W49)
Connector 277: Park Lamp - Left Rear (Z88)
Connector 278: Park Lamp - Right Rear (W49)
Connector 279: Park Lamp - Right Rear (Z88)
Connector 280: Park/Turn Signal Lamp - Left (X88)
Connector 281: Park/Turn Signal Lamp - Right (X88)
Connector 282: PRNDL Lamp
Connector 283: Radio X1
Connector 284: Radio X2
Connector 285: Radio X3 (U42)
Connector 286: Radio X4 (U3R or UVB or UZR)
Connector 287: Radio/HVAC Control - Auxiliary X1 (UK6)
Connector 288: Radio/HVAC Control - Auxiliary X2 (UK6)
Connector 289: Rear Differential Clutch Control Module X1 (MH6)
Connector 290: Rear Differential Clutch Control Module X2 (MH6)
Connector 291: Rear Parking Assist (RPA) Display (UD7)
Connector 292: Rear Seat Audio (RSA) Control (RCA)
Connector 293: Rear Window Defogger Grid X1
Connector 294: Rear Window Defogger Grid X2
Connector 295: Rear Window Washer Fluid Pump
Connector 296: Rear Window Wiper Motor (without X88)
Connector 297: Rear Window Wiper Motor (X88)
Connector 298: Rearview Camera (UVC)
Connector 299: Recirculation Actuator
Connector 300: Remote Control Door Lock Receiver (RCDLR)
Connector 301: Seat Adjuster Switch - Driver (AG1)
Connector 302: Seat Adjuster Switch - Driver (AG3)
Connector 303: Seat Adjuster Switch - Driver (AH5)
Connector 304: Seat Adjuster Switch - Passenger (AAQ)
Connector 305: Seat Adjuster Switch - Passenger (AG2)
Connector 306: Seat Back Ventilation Heating and Cooling Module -- Driver (KB6)
Connector 307: Seat Back Ventilation Heating and Cooling Module -- Passenger (KB6)
Connector 308: Seat Belt Buckle - Driver
Connector 309: Seat Belt Buckle - Passenger
Connector 310: Seat Belt Buckle Pretensioner - Driver
Connector 311: Seat Belt Buckle Pretensioner - Passenger
Connector 312: Seat Belt Retractor Pretensioner - Driver
Connector 313: Seat Belt Retractor Pretensioner - Passenger
Connector 314: Seat Cushion Ventilation Heating and Cooling Module -- Driver (KB6)
Connector 315: Seat Cushion Ventilation Heating and Cooling Module -- Passenger (KB6)
Connector 316: Seat Front Vertical Motor - Driver (AG1 or AG3 or AH5)
Connector 317: Seat Front Vertical Motor Position Sensor - Driver (AG3)
Connector 318: Seat Horizontal Motor - Driver (AG1 or AG3 or AH5)
Connector 319: Seat Horizontal Motor - Passenger (AAQ or AG2)
Connector 320: Seat Horizontal Motor Position Sensor - Driver (AG3)
Connector 321: Seat Lumbar Horizontal Motor - Driver (AG3 or AH5)
Connector 322: Seat Lumbar Horizontal Motor - Passenger (AAQ)
Connector 323: Seat Lumbar Switch - Driver (AG3 or AH5)
Connector 324: Seat Lumbar Switch - Passenger (AAQ)
Connector 325: Seat Rear Vertical Motor - Driver (AG1 or AG3 or AH5)
Connector 326: Seat Rear Vertical Motor Position Sensor - Driver (AG3)
Connector 327: Seat Recline Motor - Driver (AG3 or AH5)
Connector 328: Seat Recline Motor - Passenger (AAQ)
Connector 329: Seat Recline Position Sensor - Driver (AG3)
Connector 330: Speaker - Center I/P (UQA or UQS)
Connector 331: Speaker - Left Front (UQA or UQS)
Connector 332: Speaker - Left Front (UQF)
Connector 333: Speaker - Left Front Tweeter
Connector 334: Speaker - Left Rear (UQA or UQS without W49)
Connector 335: Speaker - Left Rear (UQA or UQS with W49)
Connector 336: Speaker - Left Rear (UQF)
Connector 337: Speaker - Left Rear Compartment (UQA or UQS)
Connector 338: Speaker - Right Front (UQA or UQS)
Connector 339: Speaker - Right Front (UQF)
Connector 340: Speaker - Right Front Tweeter
Connector 341: Speaker - Right Rear (UQA or UQS without W49)
Connector 342: Speaker - Right Rear (UQA or UQS with W49)
Connector 343: Speaker - Right Rear (UQF)
Connector 344: Speaker - Right Rear Compartment (UQA or UQS)
Connector 345: Speaker - Subwoofer (UQA or UQS)
Connector 346: Starter Motor X1 (LLT)
Connector 347: Starter Motor X2 (LLT)
Connector 348: Steering Column Tilt/Telescope Actuator X1 (N38)
Connector 349: Steering Column Tilt/Telescope Actuator X2 (N38)
Connector 350: Steering Wheel Control Switch - Left
Connector 351: Steering Wheel Control Switch - Right (UK3)
Connector 352: Steering Wheel Speed Position Sensor
Connector 353: Steering Wheel/Column Tilt/Telescope Switch (N38)
Connector 354: Sunload Sensor (CJ2)
Connector 355: Sunroof Control Module (C3U)
Connector 356: Sunroof Shade Module (C3U)
Connector 357: Sunroof Shade Switch (C3U)
Connector 358: Sunroof Switch (C3U)
Connector 359: Sunshade - Left (DH6)
Connector 360: Sunshade - Right (DH6)
Connector 361: Tail Lamp - Left (Z88)
Connector 362: Tail Lamp - Right (Z88)
Connector 363: Tail/Stop and Turn Signal Lamp - Left (W49 or WDA or X88)
Connector 364: Tail/Stop and Turn Signal Lamp - Right (W49 or WDA or X88)
Connector 365: Theft Deterrent Module (TDM)
Connector 366: Throttle Body (LLT)
Connector 367: Trailer Connector (V92)
Connector 368: Turn Signal Lamp - Left Front (W49 or Z88)
Connector 369: Turn Signal Lamp - Lower Left Front (WDA)
Connector 370: Turn Signal Lamp - Lower Right Front (WDA)
Connector 371: Turn Signal Lamp - Right Front (W49 or Z88)
Connector 372: Turn Signal Lamp - Upper Left Front (WDA)
Connector 373: Turn Signal Lamp - Upper Right Front (WDA)
Connector 374: Turn Signal/Multifunction Switch X1
Connector 375: Turn Signal/Multifunction Switch X2
Connector 376: Variable Effort Steering Actuator (NV7)
Connector 377: Vehicle Communications Interface Module (VCIM) X1 (UE1)
Connector 378: Vehicle Communications Interface Module (VCIM) X2 (UE1)
Connector 379: Vehicle Communications Interface Module (VCIM) X3 (UE1)
Connector 380: Wheel Speed Sensor (WSS) - Left Front
Connector 381: Wheel Speed Sensor (WSS) - Left Rear
Connector 382: Wheel Speed Sensor (WSS) - Right Front
Connector 383: Wheel Speed Sensor (WSS) - Right Rear
Connector 384: Window Motor - Driver (AXC or AXE)
Connector 385: Window Motor - Driver (without AXC or AXE)
Connector 386: Window Motor - Left Rear
Connector 387: Window Motor - Passenger (AXC)
Connector 388: Window Motor - Passenger (without AXC)
Connector 389: Window Motor - Right Rear
Connector 390: Window Switch - Driver X1 (without AXC or AXE)
Connector 391: Window Switch - Driver X2 (without AXC or AXE)
Connector 392: Window Switch - Left Rear
Connector 393: Window Switch - Passenger (without AXC or AXE)
Connector 394: Window Switch - Right Rear
Connector 395: Windshield Washer Fluid Level Switch
Connector 396: Windshield Washer Fluid Pump
Connector 397: Windshield Washer Solvent Heater X1 (XA7)
Connector 398: Windshield Washer Solvent Heater X2 (XA7)
Connector 399: Windshield Wiper Motor
Connector 400: Yaw and Lateral Accelerometer Sensor

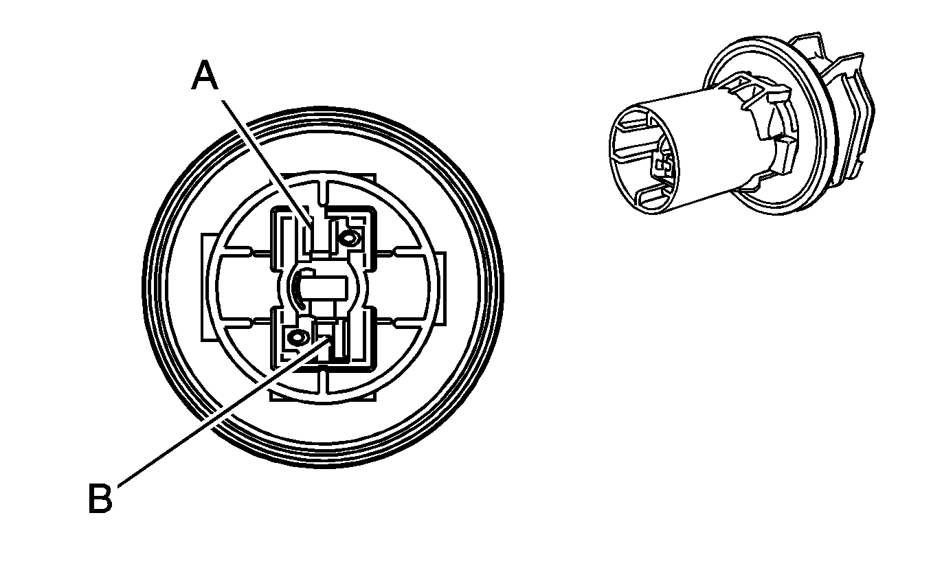
A/C Compressor Clutch


Object Number: 897985  Size: CH

Connector Part Information

  • OEM: 7282-5548-30
  • Service: 88953303
  • Description: 2-Way M YESC Weather Pack (BK)

Terminal Part Information

  • Terminal/Tray: 7114-4103-08/9
  • Core/Insulation Crimp: E/1
  • Release Tool/Test Probe: 12094430/J-35616-3 (GY)

A/C Compressor Clutch

Pin

Wire

Circuit

Function

1

0.5 D-GN

59

A/C Compressor Clutch Voltage

2

1 BK

1050

Ground

A/C Refrigerant Pressure Sensor


Object Number: 1519475  Size: CH

Connector Part Information

  • OEM: 15477863
  • Service: 88988301
  • Description: 3-Way F GT 150 Series, Sealed (BK)

Terminal Part Information

  • Terminal/Tray: 15326267/19
  • Core/Insulation Crimp: E/4
  • Release Tool/Test Probe: 15315247/J-35616-2A (GY)

A/C Refrigerant Pressure Sensor

Pin

Wire

Circuit

Function

1

0.5 TN

5514

Low Reference

2

0.5 GY

2700

5-Volt Reference

3

0.5 OG/BK

380

A/C Refrigerant Pressure Sensor Signal

Accelerator Pedal Position (APP) Sensor


Object Number: 886053  Size: CH

Connector Part Information

  • OEM: 19177553
  • Service: 88988944
  • Description: 6-Way F GT 150 Series, Sealed (BK)

Terminal Part Information

  • Terminal/Tray: 12191819/8
  • Core/Insulation Crimp: E/A
  • Release Tool/Test Probe: 15315247/J-35616-2A (GY)

Accelerator Pedal Position (APP) Sensor

Pin

Wire

Circuit

Function

A

0.35 PU

1272

Low Reference

B

0.35 L-BU

1162

APP Sensor 2 Signal

C

0.35 TN

1274

5-Volt Reference

D

0.35 BN

1271

Low Reference

E

0.35 D-BU

1161

APP Sensor 1 Signal

F

0.35 WH/BK

1164

5-Volt Reference

Accessory AC/DC Power Control Module X1 (KV1)


Object Number: 1540770  Size: CH

Connector Part Information

  • OEM: 6098-4542
  • Service: See Catalog
  • Description: 6-Way F 2.8 Series (OG)

Terminal Part Information

  • Terminal/Tray: 8100-4444/22
  • Core/Insulation Crimp: 2/A
  • Release Tool/Test Probe: 15315247/J-35616-35 (VT)

Accessory AC/DC Power Control Module X1 (KV1)

Pin

Wire

Circuit

Function

1

--

--

Not Used

2

0.8 D-BU

6807

120 VAC Inverter Control

3

--

--

Not Used

4

0.8 RD

5684

120 VAC Phase B

5

--

--

Not Used

6

0.8 BK

5683

120 VAC Phase A

Accessory AC/DC Power Control Module X2 (KV1)


Object Number: 1538784  Size: CH

Connector Part Information

  • OEM: 6098-4539
  • Service: 88987988
  • Description: 2-Way F Receptacle 6.3 Series (BK)

Terminal Part Information

  • Terminal/Tray: 7116-4122-02/10
  • Core/Insulation Crimp: A/B
  • Release Tool/Test Probe: 12094430/J-35616-42 (RD)

Accessory AC/DC Power Control Module X2 (KV1)

Pin

Wire

Circuit

Function

1

3 BK

650

Ground

2

3 RD/WH

2740

Battery Positive Voltage

Accessory Power Outlet - 110V AC (KV1)


Object Number: 1540771  Size: CH

Connector Part Information

  • OEM: 6098-4536
  • Service: See Catalog
  • Description: 6-Way F 1.5 (OG)

Terminal Part Information

  • Pins: 1, 3, 6
  • Terminal/Tray: 8240-0128/22
  • Core/Insulation Crimp: C/A
  • Release Tool/Test Probe: 15315247/J-35616-2A (GY)
  • Pins: 4
  • Terminal/Tray: 8240-0127/22
  • Core/Insulation Crimp: E/C
  • Release Tool/Test Probe: 15315247/J-35616-2A (GY)

Accessory Power Outlet - 110V AC (KV1)

Pin

Wire

Circuit

Function

1

0.8 D-BU

6807

120 VAC Inverter Control

2

--

--

Not Used

3

0.8 RD

5684

120 VAC Phase B

4

0.35 YE

43

Ignition Voltage

5

--

--

Not Used

6

0.8 BK

5683

120 VAC Phase A

Accessory Power Outlet - Center Console


Object Number: 362748  Size: CH

Connector Part Information

  • OEM: 12176836
  • Service: 15305923
  • Description: 3-Way F Metri-Pack 280 Series (GY)

Terminal Part Information

  • Terminal/Tray: 12110844/4
  • Core/Insulation Crimp: C/A
  • Release Tool/Test Probe: 15315247/J-35616-4A (PU)

Accessory Power Outlet - Center Console

Pin

Wire

Circuit

Function

A

1 RD/WH

2540

Battery Positive Voltage

B

--

--

Not Used

C

1 BK

750

Ground

Accessory Power Outlet - I/P


Object Number: 362748  Size: CH

Connector Part Information

  • OEM: 12176836
  • Service: 15305923
  • Description: 3-Way F Metri-Pack 280 Series (GY)

Terminal Part Information

  • Terminal/Tray: 12110844/4
  • Core/Insulation Crimp: C/A
  • Release Tool/Test Probe: 15315247/J-35616-4A (PU)

Accessory Power Outlet - I/P

Pin

Wire

Circuit

Function

A

1 RD/WH

2540

Battery Positive Voltage

B

--

--

Not Used

C

1 BK

750

Ground

Accessory Power Outlet - Rear


Object Number: 362748  Size: CH

Connector Part Information

  • OEM: 12176836
  • Service: 15305923
  • Description: 3-Way F Metri-Pack 280 Series (GY)

Terminal Part Information

  • Terminal/Tray: 12110844/4
  • Core/Insulation Crimp: C/A
  • Release Tool/Test Probe: 15315247/J-35616-4A (PU)

Accessory Power Outlet - Rear

Pin

Wire

Circuit

Function

A

1 RD/WH

140

Battery Positive Voltage

B

--

--

Not Used

C

1 BK

650

Ground

Accessory Power Outlet - Rear Console (DK1)


Object Number: 362748  Size: CH

Connector Part Information

  • OEM: 12176836
  • Service: 15305923
  • Description: 3-Way F Metri-Pack 280 Series (GY)

Terminal Part Information

  • Terminal/Tray: 12110844/4
  • Core/Insulation Crimp: C/A
  • Release Tool/Test Probe: 15315247/J-35616-4A (PU)

Accessory Power Outlet - Rear Console (DK1)

Pin

Wire

Circuit

Function

A

1 RD/WH

140

Battery Positive Voltage

B

--

--

Not Used

C

1 BK

750

Ground

Adaptive Forward Lighting (AFL) Motor - Left (TSH)


Object Number: 1960040  Size: CH

Connector Part Information

  • OEM: XAP-10V
  • Service: See Catalog
  • Description: 10-Way F XA Series (WH)

Terminal Part Information

  • Terminal/Tray: See Terminal Repair Kit
  • Core/Insulation Crimp: See Terminal Repair Kit
  • Release Tool/Test Probe: See Terminal Repair Kit

Adaptive Forward Lighting (AFL) Motor - Left (TSH)

Pin

Wire

Circuit

Function

1

0.35 GY

--

Left Headlamp High Beam Voltage

2

0.35 BK

--

Ground

3

0.35 RD

--

Battery Positive Voltage

4

0.35 BK

--

Ground

5

0.35 OG

--

Linear Interconnect Network (LIN)

6-10

--

--

Not Used

Adaptive Forward Lighting (AFL) Motor - Right (TSH)


Object Number: 1960040  Size: CH

Connector Part Information

  • OEM: XAP-10V
  • Service: See Catalog
  • Description: 10-Way F XA Series (WH)

Terminal Part Information

  • Terminal/Tray: See Terminal Repair Kit
  • Core/Insulation Crimp: See Terminal Repair Kit
  • Release Tool/Test Probe: See Terminal Repair Kit

Adaptive Forward Lighting (AFL) Motor - Right (TSH)

Pin

Wire

Circuit

Function

1

0.35 GY

--

Right Headlamp High Beam Voltage

2

0.35 BK

--

Ground

3

0.35 RD

--

Battery Positive Voltage

4

0.35 BK

--

Ground

5

0.35 OG

--

Linear Interconnect Network (LIN)

6-10

--

--

Not Used

Air Temperature Actuator - Auxiliary


Object Number: 280764  Size: CH

Connector Part Information

  • OEM: 12064993
  • Service: 12102485
  • Description: 6-Way F Micro-Pack 100 Series (BK)

Terminal Part Information

  • Terminal/Tray: 12146447/3
  • Core/Insulation Crimp: E/C
  • Release Tool/Test Probe: 12031876-1/J-35616-6 (BN)

Air Temperature Actuator - Auxiliary

Pin

Wire

Circuit

Function

5

0.35 GY

2614

Auxiliary Air Temperature Door Control

6

0.35 BN

6555

Auxiliary Temperature Motor Voltage

7

--

--

Not Used

8

0.35 GY/BK

1798

Low Reference

9

0.35 PK

2145

Auxiliary Air Temperature Door Position Signal

10

0.35 GY

596

5-Volt Reference

Air Temperature Actuator - Left (CJ2)


Object Number: 280764  Size: CH

Connector Part Information

  • OEM: 12064993
  • Service: 12102485
  • Description: 6-Way F Micro-Pack 100 Series (BK)

Terminal Part Information

  • Terminal/Tray: 12146447/3
  • Core/Insulation Crimp: E/C
  • Release Tool/Test Probe: 12031876-1/J-35616-6 (BN)

Air Temperature Actuator - Left (CJ2)

Pin

Wire

Circuit

Function

5

0.35 D-BU

1199

Air Temperature Door Control

6

0.35 L-GN

2210

Air Temperature Door Control

7

--

--

Not Used

8

0.35 YE

1791

Low Reference

9

0.35 L-BU

733

Air Temperature Door Position Signal

10

0.35 GY

598

5-Volt Reference

Air Temperature Actuator - Right (CJ2)


Object Number: 280764  Size: CH

Connector Part Information

  • OEM: 12064993
  • Service: 12102485
  • Description: 6-Way F Micro-Pack 100 Series (BK)

Terminal Part Information

  • Terminal/Tray: 12146447/3
  • Core/Insulation Crimp: E/C
  • Release Tool/Test Probe: 12031876-1/J-35616-6 (BN)

Air Temperature Actuator - Right (CJ2)

Pin

Wire

Circuit

Function

5

0.35 WH/BK

1236

Auxiliary Air Temperature Door Control

6

0.35 GY/BK

2778

Right Air Temperature Door Control A

7

--

--

Not Used

8

0.35 YE

1791

Low Reference

9

0.35 D-BU

1646

Auxiliary Air Temperature Door Position Signal

10

0.35 GY

598

5-Volt Reference

Air Temperature Actuator (C67)


Object Number: 280764  Size: CH

Connector Part Information

  • OEM: 12064993
  • Service: 12102485
  • Description: 6-Way F Micro-Pack 100 Series (BK)

Terminal Part Information

  • Terminal/Tray: 12146447/3
  • Core/Insulation Crimp: E/C
  • Release Tool/Test Probe: 12031876-1/J-35616-6 (BN)

Air Temperature Actuator (C67)

Pin

Wire

Circuit

Function

5

0.35 WH/BK

1236

Auxiliary Air Temperature Door Control

6

0.35 GY/BK

2778

Right Air Temperature Door Control A

7

--

--

Not Used

8

0.35 YE

1791

Low Reference

9

0.35 D-BU

1646

Auxiliary Air Temperature Door Position Signal

10

0.35 GY

598

5-Volt Reference

Air Temperature Sensor - Lower Left (CJ2)


Object Number: 1459283  Size: CH

Connector Part Information

  • OEM: 1-968704-1
  • Service: See Catalog
  • Description: 2-Way F MQS Series (BK)

Terminal Part Information

  • Terminal/Tray: 928999-5/15
  • Core/Insulation Crimp: H/H
  • Release Tool/Test Probe: 12094429/J-35616-64B (L-BU)

Air Temperature Sensor - Lower Left (CJ2)

Pin

Wire

Circuit

Function

1

0.35 TN

518

Lower Left Air Temperature Sensor Signal

2

0.35 TN

552

Low Reference

Air Temperature Sensor - Lower Right (CJ2)


Object Number: 1459283  Size: CH

Connector Part Information

  • OEM: 1-968704-1
  • Service: See Catalog
  • Description: 2-Way F MQS Series (BK)

Terminal Part Information

  • Terminal/Tray: 928999-5/15
  • Core/Insulation Crimp: H/H
  • Release Tool/Test Probe: 12094429/J-35616-64B (L-BU)

Air Temperature Sensor - Lower Right (CJ2)

Pin

Wire

Circuit

Function

1

0.35 TN

520

Lower Right Air Temperature Sensor Signal

2

0.35 TN

552

Low Reference

Air Temperature Sensor - Upper Left (CJ2)


Object Number: 1459283  Size: CH

Connector Part Information

  • OEM: 1-968704-1
  • Service: See Catalog
  • Description: 2-Way F MQS Series (BK)

Terminal Part Information

  • Terminal/Tray: 928999-5/15
  • Core/Insulation Crimp: H/H
  • Release Tool/Test Probe: 12094429/J-35616-64B (L-BU)

Air Temperature Sensor - Upper Left (CJ2)

Pin

Wire

Circuit

Function

1

0.35 TN

516

Upper Left Air Temperature Sensor Signal

2

0.35 YE

61

Low Reference

Air Temperature Sensor - Upper Right (CJ2)


Object Number: 1459283  Size: CH

Connector Part Information

  • OEM: 1-968704-1
  • Service: See Catalog
  • Description: 2-Way F MQS Series (BK)

Terminal Part Information

  • Terminal/Tray: 928999-5/15
  • Core/Insulation Crimp: H/H
  • Release Tool/Test Probe: 12094429/J-35616-64B (L-BU)

Air Temperature Sensor - Upper Right (CJ2)

Pin

Wire

Circuit

Function

1

0.35 TN

517

Upper Right Air Temperature Sensor Signal

2

0.35 YE

61

Low Reference

Ambient Light Sensor (C67)


Object Number: 82383  Size: CH

Connector Part Information

  • OEM: 12047662
  • Service: 12085535
  • Description: 2-Way F Metri-Pack 150 Series (BK)

Terminal Part Information

  • Terminal/Tray: 12064971/5
  • Core/Insulation Crimp: E/C
  • Release Tool/Test Probe: 12094429/J-35616-14 (GN)

Ambient Light Sensor (C67)

Pin

Wire

Circuit

Function

A

0.35 L-GN/BK

1137

DRL Ambient Light Sensor Signal

B

0.35 BK/WH

1551

Ground

Ambient Temperature Sensor


Object Number: 684793  Size: CH

Connector Part Information

  • OEM: 13543521
  • Service: See Catalog
  • Description: 2-Way F Metri-Pack 150 Series, Sealed (BK)

Terminal Part Information

  • Terminal/Tray: 12048074/2
  • Core/Insulation Crimp: E/1
  • Release Tool/Test Probe: 12094429/J-35616-14 (GN)

Ambient Temperature Sensor

Pin

Wire

Circuit

Function

A

0.35 L-GN/BK

735

Ambient Air Temperature Sensor Signal

B

0.35 YE

61

Low Reference

Audio Amplifier X1 (UQA or UQS)


Object Number: 1715234  Size: CH

Connector Part Information

  • OEM: 89047379
  • Service: 19115652
  • Description: 8-Way F Unsealed (L-GY)

Terminal Part Information

  • Pins: 1, 3, 5, 7
  • Terminal/Tray: 8100-4444/22
  • Core/Insulation Crimp: 2/A
  • Release Tool/Test Probe: 15315247/J-35616-35 (VT)
  • Pins: 4, 8
  • Terminal/Tray: 8100-4445/22
  • Core/Insulation Crimp: Pins 4 - 4/4
  • Core/Insulation Crimp: Pins 8 - F/D
  • Release Tool/Test Probe: 15315247/J-35616-35 (VT)

Audio Amplifier X1 (UQA or UQS)

Pin

Wire

Circuit

Function

1

1 GY

118

Left Front Speaker Output (-)

3

1 L-GN/BK

1794

Subwoofer Speaker Output (-)

4

2 RD/WH

2040

Battery Positive Voltage

5

1 TN

201

Left Front Speaker Output (+)

6

--

--

Not Used

7

1 D-BU/WH

346

Subwoofer Speaker Output (+)

8

3 BK/WH

351

Ground

Audio Amplifier X2 (UQA or UQS)


Object Number: 1566781  Size: CH

Connector Part Information

  • OEM: 15134091
  • Service: See Catalog
  • Description: 16-Way F 1.5 Series (BK)

Terminal Part Information

  • Pins: 1, 2, 7, 8, 15, 16
  • Terminal/Tray: 8240-0128/22
  • Core/Insulation Crimp: C/A
  • Release Tool/Test Probe: 15315247/J-35616-2A (GY)
  • Pins: 3-6
  • Terminal/Tray: 8240-0127/22
  • Core/Insulation Crimp: E/C
  • Release Tool/Test Probe: 15315247/J-35616-2A (GY)

Audio Amplifier X2 (UQA or UQS)

Pin

Wire

Circuit

Function

1

0.8 L-BU

115

Right Rear Speaker Output (-)

2

0.8 D-BU

46

Right Rear Speaker Output (+)

3

0.35 L-BU

1960

Front Center Speaker Output (-)

4

0.35 YE

1860

Front Center Speaker Output (+)

5

0.5 WH

1959

Left Rear Midrange Speaker Output (-)

6

0.5 TN

1859

Left Rear Midrange Speaker Output (+)

7

1 D-GN

117

Right Front Speaker Output (-)

8

1 L-GN

200

Right Front Speaker Output (+)

9-14

--

--

Not Used

15

0.8 BN

199

Left Rear Speaker Output (+)

16

0.8 YE

116

Left Rear Speaker Output (-)

Audio Amplifier X3 (UQA or UQS)


Object Number: 1566784  Size: CH

Connector Part Information

  • OEM: 15136073
  • Service: See Catalog
  • Description: 16-Way F Kaizen 0.64 (BK)

Terminal Part Information

  • Terminal/Tray: 7116-4618-02/14
  • Core/Insulation Crimp: P/P
  • Release Tool/Test Probe: J-38125-215/J-35616-64B (L-BU)

Audio Amplifier X3 (UQA or UQS)

Pin

Wire

Circuit

Function

1

0.5 WH

6763

Subwoofer Low Level Audio Signal (UQS)

2

0.5 OG

6761

Center Channel Low Level Audio Signal (-) (UQS)

3

0.5 D-BU

6760

Center Channel Low Level Audio Signal (UQS)

4

0.5 TN

1946

Right Rear Low Level Audio Signal (-) (without UK6)

0.5 TN/WH

5830

Right Rear Low Level Audio Signal (-) (UK6)

5

0.5 BN

5314

Left Rear Low Level Audio Signal (-) (UK6)

0.5 BN

1999

Left Rear Low Level Audio Signal (-) (without UK6)

6

0.5 L-GN

1948

Right Front Low Level Audio Signal (-)

7

0.5 D-GN

1947

Left Front Low Level Audio Signal (-)

8

0.35 WH

7066

Entertainment Remote Enable Signal

9

0.5 PK

6762

Subwoofer Low Level Audio (-) (UQS)

10

--

--

Not Used

11

0.35 OG

5748

Radio Audio Mute Signal

12

0.5 D-BU

546

Right Rear Low Level Audio Signal (+) (without UK6)

0.5 L-GN

5313

Right Rear Low Level Audio Signal (+) (UK6)

13

0.5 BN/WH

599

Left Rear Low Level Audio Signal (+) (without UK6)

0.5 L-BU

5312

Left Rear Low Level Audio Signal (+) (UK6)

14

0.5 L-GN/WH

512

Right Front Low Level Audio Signal (+)

15

0.5 TN

511

Left Front Low Level Audio Signal (+)

16

--

--

Not Used

Audio/Video Adapter (U42)


Object Number: 1715233  Size: CH

Connector Part Information

  • OEM: 15480082
  • Service: 19149303
  • Description: 8-Way F Micro 64 Series (GY)

Terminal Part Information

  • Terminal/Tray: 15359541/4
  • Core/Insulation Crimp: M/M
  • Release Tool/Test Probe: 15381651-2/J-35616-64B (L-BU)

Audio/Video Adapter (U42)

Pin

Wire

Circuit

Function

1

0.35 BARE

5346

Video Drain Wire

2

--

--

Not Used

3

0.35 PU

2056

Auxiliary Video High Signal

4

--

--

Not Used

5

0.35 WH

2058

Auxiliary Audio Right Signal

6

0.35 YE

2059

Auxiliary Audio Left Signal

7

0.35 BARE

5345

Auxiliary Audio Drain Wire

8

--

--

Not Used

Automatic Transmission


Object Number: 1910664  Size: CH

Connector Part Information

  • OEM: 15476346
  • Service: 19151494
  • Description: 20-Way F GT 150 Sealed (L-GY)

Terminal Part Information

  • Terminal/Tray: 15326267/19
  • Pins: 1, 2, 5, 12-16
  • Core/Insulation Crimp: E/4
  • Pins: 18, 19
  • Core/Insulation Crimp: E/1
  • Release Tool/Test Probe: 15315247/J-35616-2A (GY)

Automatic Transmission

Pin

Wire

Circuit

Function

1

0.8 BK/WH

451

Ground

2

0.5 TN/BK

2500

High Speed GMLAN Serial Data Bus+

3-4

--

--

Not Used

5

0.5 TN/BK

2500

High Speed GMLAN Serial Data Bus+

6-9

--

--

Not Used

10

0.8 RD/WH

3640

Battery Positive Voltage

11

--

--

Not Used

12

0.5 TN

2501

High Speed GMLAN Serial Data Bus-

13

0.5 PK

1339

Ignition Voltage

14

0.5 TN

2501

High Speed GMLAN Serial Data Bus-

15

0.5 D-BU

5985

Ignition Voltage

16-17

--

--

Not Used

18

0.8 BK/WH

451

Ground

19

--

--

Not Used

20

0.5 OG/BK

1786

Park/Neutral Signal

Automatic Transmission Internal Mode Switch (IMS)


Object Number: 347262  Size: CH

Connector Part Information

  • OEM: 15336500
  • Service: Non-Serviceable
  • Description: 6-Way F Metri-Pack 150.2 Series (GN)

Terminal Part Information

  • Terminal/Tray: Non-Serviceable
  • Core/Insulation Crimp: Non-Serviceable
  • Release Tool/Test Probe: Non-Serviceable

Automatic Transmission Internal Mode Switch (IMS)

Pin

Wire

Circuit

Function

A

0.5 GY

--

Low Reference

B

0.5 BK

--

Transmission Range Switch Signal P

C

0.5 YE

--

Transmission Range Switch Signal C

D

0.5 RD

--

Transmission Range Switch Signal B

E

0.5 GN

--

Transmission Range Switch Signal A

F

0.5 WH

--

Park/Neutral Switch Signal

Automatic Transmission Manual Shift Switch


Object Number: 40399  Size: CH

Connector Part Information

  • OEM: 12064761
  • Service: 12064761
  • Description: 4-Way M Metri-Pack 150 Series (BK)

Terminal Part Information

  • Terminal/Tray: See Terminal Repair Kit
  • Core/Insulation Crimp: See Terminal Repair Kit
  • Release Tool/Test Probe: See Terminal Repair Kit

Automatic Transmission Manual Shift Switch

Pin

Wire

Circuit

Function

A

GN

--

Ignition Voltage

B

GN

--

Tap Up/Tap Down Switch Signal

C-D

--

--

Not Used

Back Up Lamp - Left (W49)


Object Number: 1860844  Size: CH

Connector Part Information

  • OEM: 7712-5354-4WB
  • Service: See Catalog
  • Description: 2-Way F Lamp Socket, Axial (BK)

Terminal Part Information

  • Terminal/Tray: See Terminal Repair Kit
  • Core/Insulation Crimp: See Terminal Repair Kit
  • Release Tool/Test Probe: See Terminal Repair Kit

Back Up Lamp - Left (W49)

Pin

Wire

Circuit

Function

A

0.5 WH

--

Backup Lamp Voltage

B

0.5 BK

--

Ground

Back Up Lamp - Left (WDA)


Object Number: 1710998  Size: CH

Connector Part Information

  • OEM: 1-1438608-1
  • Service: 19149296
  • Description: 2-Way F MQS Series, Sealed (BK)

Terminal Part Information

  • Terminal/Tray: 962885-5/15
  • Core/Insulation Crimp: 6/6
  • Release Tool/Test Probe: 12094429/J-35616-64B (L-BU)

Back Up Lamp - Left (WDA)

Pin

Wire

Circuit

Function

1

0.5 L-GN

24

Backup Lamp Voltage

2

0.5 BK

650

Ground

Back Up Lamp - Left (Z88)


Object Number: 1710998  Size: CH

Connector Part Information

  • OEM: 1-1438608-2
  • Service: See Catalog
  • Description: 2-Way F MQS Series, Sealed (D-GY)

Terminal Part Information

  • Terminal/Tray: See Terminal Repair Kit
  • Core/Insulation Crimp: See Terminal Repair Kit
  • Release Tool/Test Probe: See Terminal Repair Kit

Back Up Lamp - Left (Z88)

Pin

Wire

Circuit

Function

1

0.5 BK

--

Ground

2

0.5 BK

--

Backup Lamp Voltage

Back Up Lamp - Right (W49)


Object Number: 1860844  Size: CH

Connector Part Information

  • OEM: 7712-5354-4WB
  • Service: See Catalog
  • Description: 2-Way F Lamp Socket, Axial (BK)

Terminal Part Information

  • Terminal/Tray: See Terminal Repair Kit
  • Core/Insulation Crimp: See Terminal Repair Kit
  • Release Tool/Test Probe: See Terminal Repair Kit

Back Up Lamp - Right (W49)

Pin

Wire

Circuit

Function

A

0.5 WH

--

Backup Lamp Voltage

B

0.5 BK

--

Ground

Back Up Lamp - Right (WDA)


Object Number: 1710998  Size: CH

Connector Part Information

  • OEM: 1-1438608-1
  • Service: 19149296
  • Description: 2-Way F MQS Series, Sealed (BK)

Terminal Part Information

  • Terminal/Tray: 962885-5/15
  • Core/Insulation Crimp: 6/6
  • Release Tool/Test Probe: 12094429/J-35616-64B (L-BU)

Back Up Lamp - Right (WDA)

Pin

Wire

Circuit

Function

1

0.5 L-GN

24

Backup Lamp Voltage

2

0.5 BK

650

Ground

Back Up Lamp - Right (Z88)


Object Number: 1710998  Size: CH

Connector Part Information

  • OEM: 1-1438608-2
  • Service: See Catalog
  • Description: 2-Way F MQS Series, Sealed (D-GY)

Terminal Part Information

  • Terminal/Tray: See Terminal Repair Kit
  • Core/Insulation Crimp: See Terminal Repair Kit
  • Release Tool/Test Probe: See Terminal Repair Kit

Back Up Lamp - Right (Z88)

Pin

Wire

Circuit

Function

1

0.5 BK

--

Ground

2

0.5 BK

--

Backup Lamp Voltage

Battery (-)

Terminal Part Information

  • Terminal: R61014-002
  • Core/Insulation Crimp: N/A
  • Description: Battery Terminal

Battery (-)

Pin

Wire

Circuit

Function

-

32 BK

50

Ground

10 BK

50

Ground

Battery (+)

Terminal Part Information

  • Terminal: R3311-033
  • Core/Insulation Crimp: N/A
  • Description: Battery Terminal

Battery (+)

Pin

Wire

Circuit

Function

+

40 RD

1

Battery Positive Voltage

1 RD

1

Battery Positive Voltage (UE1)

Battery Current Sensor


Object Number: 646415  Size: CH

Connector Part Information

  • OEM: 19177527
  • Service: See Catalog
  • Description: 3-Way F GT 150 Series, Sealed (BK)

Terminal Part Information

  • Terminal/Tray: 12191819/8
  • Core/Insulation Crimp: E/A
  • Release Tool/Test Probe: 15315247/J-35616-2A (GY)

Battery Current Sensor

Pin

Wire

Circuit

Function

A

0.35 PK

5076

Current Sensor Voltage

B

0.35 BN

5077

Low Reference

C

0.35 WH

5075

Current Sensor Signal

Blower Motor


Object Number: 62488  Size: CH

Connector Part Information

  • OEM: 12084957
  • Service: 12126461
  • Description: 2-Way F (BK)

Terminal Part Information

  • Terminal/Tray: See Terminal Repair Kit
  • Core/Insulation Crimp: See Terminal Repair Kit
  • Release Tool/Test Probe: See Terminal Repair Kit

Blower Motor

Pin

Wire

Circuit

Function

A

3.0 PU

65

Blower Motor Voltage

B

3.0 BK

5987

Low Reference

Blower Motor - Auxiliary


Object Number: 808706  Size: CH

Connector Part Information

  • OEM: 12064749
  • Service: 12064749
  • Description: 2-Way F Metri-Pack 480 Series (BK)

Terminal Part Information

  • Terminal/Tray: See Terminal Repair Kit
  • Core/Insulation Crimp: See Terminal Repair Kit
  • Release Tool/Test Probe: See Terminal Repair Kit

Blower Motor - Auxiliary

Pin

Wire

Circuit

Function

A

3.0 RD/WH

65

Blower Motor Voltage

B

3.0 OG

5988

Low Reference

Blower Motor Control Module - Auxiliary X1


Object Number: 1817814  Size: CH

Connector Part Information

  • OEM: 15226103
  • Service: 88988507
  • Description: 2-Way F Receptacle 6.3 Series (BK)

Terminal Part Information

  • Terminal/Tray: 12191812/19
  • Core/Insulation Crimp: See Terminal Repair Kit
  • Release Tool/Test Probe: 15315247/J-35616-2A (GY)

Blower Motor Control Module - Auxiliary X1

Pin

Wire

Circuit

Function

1

3.0 RD/WH

65

Blower Motor Voltage

2

3.0 OG

5988

Low Reference

Blower Motor Control Module - Auxiliary X2


Object Number: 1798802  Size: CH

Connector Part Information

  • OEM: 15226104
  • Service: 88988512
  • Description: 6-Way F YESC Kaizen Series (BK)

Terminal Part Information

  • Terminal/Tray: 7114-4122-02/9
  • Core/Insulation Crimp: A/B
  • Release Tool/Test Probe: 12094430/J-35616-43 (RD)

Blower Motor Control Module - Auxiliary X2

Pin

Wire

Circuit

Function

1-2

--

--

Not Used

3

0.35 D-GN

2211

Auxiliary Blower Motor Speed Control

4

--

--

Not Used

5

3.0 BK

850

Ground

6

3.0 RD/WH

2640

Battery Positive Voltage

Blower Motor Control Module X1


Object Number: 1817814  Size: CH

Connector Part Information

  • OEM: 15226103
  • Service: 88988507
  • Description: 2-Way F Receptacle 6.3 Series (BK)

Terminal Part Information

  • Terminal/Tray: 12191812/19
  • Core/Insulation Crimp: See Terminal Repair Kit
  • Release Tool/Test Probe: 15315247/J-35616-2A (GY)

Blower Motor Control Module X1

Pin

Wire

Circuit

Function

1

3.0 PU

65

Blower Motor Voltage

2

3.0 BK

5987

Low Reference

Blower Motor Control Module X2


Object Number: 1798802  Size: CH

Connector Part Information

  • OEM: 15226104
  • Service: 88988512
  • Description: 6-Way F YESC Kaizen Series (BK)

Terminal Part Information

  • Terminal/Tray: 7114-4122-02/9
  • Core/Insulation Crimp: A/B
  • Release Tool/Test Probe: 12094430/J-35616-43 (RD)

Blower Motor Control Module X2

Pin

Wire

Circuit

Function

1-2

--

--

Not Used

3

0.35 GY/BK

754

Blower Motor Speed Control

4

--

--

Not Used

5

3.0 BK

450

Ground

6

3.0 RD/BK

442

Battery Positive Voltage

Body Control Module (BCM) X1


Object Number: 1664495  Size: CH

Connector Part Information

  • OEM: 15482789
  • Service: 88988838
  • Description: 27-Way F HIT Series (L-GN)

Terminal Part Information

  • Terminal/Tray: SNAC3-A021T-M0.64/20
  • Core/Insulation Crimp: J/J
  • Release Tool/Test Probe: 12094429/J-35616-64B (L-BU)

Body Control Module (BCM) X1

Pin

Wire

Circuit

Function

1

--

--

Not Used

2

0.35 WH

1390

Ignition II/III/Key in Ignition

3

0.35 GY

1884

Cruise Control Switch Signal

4

0.35 WH/BK

1073

Ignition Key Resistor Signal

5

0.35 L-GN

1715

Windshield Wiper Switch High Signal

6

0.35 D-BU

1796

Steering Wheel Controls Signal (UK3)

7

--

--

Not Used

8

0.35 TN/BK

6009

Low Reference

9

0.35 L-BU

1714

Windshield Wiper Switch Low Signal

10-12

--

--

Not Used

13

0.35 L-GN

1011

Remote Radio Control Signal (RCA)

14

0.35 PK

3

Ignition Voltage

15

0.35 L-BU/WH

1414

Left Turn Signal Switch Signal

16

0.35 D-BU/WH

1415

Right Turn Signal Switch Signal

17

0.35 PU

1375

12-Volt Reference

18

0.35 PU

524

Headlamp Dimmer Switch High Beam Signal

19

0.35 TN

2144

Hazard Switch Signal

20

0.35 PU

5526

Tap Up/Tap Down Switch Signal

21

0.35 BN

4

Ignition Voltage

22

--

--

Not Used

23

0.35 L-BU

553

Tow/Haul Switch Signal

24

0.35 PK

94

Windshield Washer Switch Signal

25

0.35 BN

1356

Flash To Pass Switch Signal

26-27

--

--

Not Used

Body Control Module (BCM) X2


Object Number: 1664496  Size: CH

Connector Part Information

  • OEM: 15482790
  • Service: 88988839
  • Description: 25-Way F HIT Series (WH)

Terminal Part Information

  • Pins: 1, 2, 3, 5
  • Terminal/Tray: SNAC-A061T-M2.8/20
  • Core/Insulation Crimp: E/A
  • Release Tool/Test Probe: 12094429/J-35616-4A (PU)
  • Pins: 8, 11, 12, 17, 18, 20, 21, 22, 25
  • Terminal/Tray: SNAC3-A021T-M0.64/20
  • Core/Insulation Crimp: J/J
  • Release Tool/Test Probe: 12094429/J-35616-64B (L-BU)

Body Control Module (BCM) X2

Pin

Wire

Circuit

Function

1

0.8 OG

1732

Courtesy Lamps Voltage

2

0.8 RD/WH

1240

Battery Positive Voltage

3

0.8 GY

8

Instrument Panel Lamp Voltage

4

--

--

Not Used

5

0.8 GY/BK

690

Courtesy Lamp High Control

6-7

--

--

Not Used

8

0.35 BN/WH

301

Rear Park Lamps Voltage

9-10

--

--

Not Used

11

0.35 L-GN/BK

1137

DRL Ambient Light Sensor Signal

12

0.35 WH

103

Headlamp Switch Headlamps On Signal

13-16

--

--

Not Used

17

0.35 D-GN

306

Headlamp Switch Headlamps Off Signal

18

0.35 PK/BK

1597

Courtesy Lamps Switch On Signal

19

--

--

Not Used

20

0.5 PU

5357

Right Tail Lamp Outage Detection Signal (Z88)

21

0.35 BN/WH

1571

Traction Control Switch Signal

22

0.35 D-GN/WH

1135

A/T Shift Lock Control Solenoid Voltage

23-24

--

--

Not Used

25

0.35 PU

328

Interior Lamp Switch Signal

Body Control Module (BCM) X3


Object Number: 1664498  Size: CH

Connector Part Information

  • OEM: 15482791
  • Service: 88988840
  • Description: 25-Way F HIT Series (L-BU)

Terminal Part Information

  • Pins: 1-3, 5
  • Terminal/Tray: SNAC-A061T-M2.8/20
  • Core/Insulation Crimp: E/A
  • Release Tool/Test Probe: 12094429/J-35616-4A (PU)
  • Pins: 8-19, 21, 22
  • Terminal/Tray: SNAC3-A021T-M0.64/20
  • Core/Insulation Crimp: J/J
  • Release Tool/Test Probe: 12094429/J-35616-64B (L-BU)

Body Control Module (BCM) X3

Pin

Wire

Circuit

Function

1

0.8 BK/WH

1551

Ground

2

0.8 RD/WH

1640

Battery Positive Voltage

3

0.8 RD/WH

4540

Battery Positive Voltage

4

--

--

Not Used

5

0.8 BK/WH

1551

Ground

6-7

--

--

Not Used

8

0.35 TN/BK

2500

High Speed GMLAN Serial Data Bus+

9

0.35 TN

2501

High Speed GMLAN Serial Data Bus-

10

0.35 D-GN

5060

Low Speed GMLAN Serial Data

11

0.35 D-GN

44

Instrument Panel Lamps Dimmer Switch Signal

12

0.35 OG/WH

812

12-Volt Reference

13

0.35 L-GN

526

Stop Lamp Switch Signal

14

0.35 TN

552

Low Reference

15

0.35 GY

598

5-Volt Reference

16

0.35 TN/BK

2500

High Speed GMLAN Serial Data Bus+

17

0.35 TN

2501

High Speed GMLAN Serial Data Bus-

18

0.35 PU/WH

1382

LED Dimming Signal

19

0.35 L-BU

5986

Communication Enable

20

--

--

Not Used

21

0.35 OG

192

Fog Lamps Enable (T96)

22

0.35 GN/WH

7158

Cruise Control Indicator Dimming Signal

23-25

--

--

Not Used

Body Control Module (BCM) X4


Object Number: 1664499  Size: CH

Connector Part Information

  • OEM: 15482792
  • Service: 88988841
  • Description: 25-Way F HIT Series (BK)

Terminal Part Information

  • Pins: 7, 9-13, 15-17, 19, 21-23
  • Terminal/Tray: SNAC3-A021T-M0.64/20
  • Core/Insulation Crimp: J/J
  • Release Tool/Test Probe: 12094429/J-35616-64B (L-BU)
  • Pins: 1-5
  • Terminal/Tray: SNAC-A061T-M2.8/20
  • Core/Insulation Crimp: E/A
  • Release Tool/Test Probe: 12094429/J-35616-4A (PU)

Body Control Module (BCM) X4

Pin

Wire

Circuit

Function

1

0.8 RD/WH

340

Battery Positive Voltage (Z88 or W49)

1 RD/WH

340

Battery Positive Voltage (WDA)

2

1 RD/WH

240

Battery Positive Voltage

3

1 RD/WH

440

Battery Positive Voltage

4

0.8 RD/WH

2140

Battery Positive Voltage

5

1 D-BU/WH

1315

Right Turn Signal Indicator Lamp Voltage

6

--

--

Not Used

7

0.35 YE

196

Windshield Wiper Motor Park Switch Signal

8

--

--

Not Used

9

0.35 BK

50

Ground

10

0.35 RD/WH

2440

Battery Positive Voltage

11

0.35 D-GN/WH

1317

Fog Lamp Relay Control (T96)

12

0.5 YE

5187

Right Trailer Turn Signal Lamp (V92)

13

0.5 OG

5186

Left Trailer Turn Signal Lamp (V92)

14

--

--

Not Used

15

0.35 OG

2268

Windshield Washer Relay Control

16

0.35 TN/WH

1969

Headlamp Relay Control (W49 or WDA or Z88 with TVD)

17

0.35 PK/BK

109

Hood Ajar Switch Signal (BTV)

18

--

--

Not Used

19

0.35 D-BU

5985

Ignition Voltage

20

--

--

Not Used

21

0.35 PK

1439

Ignition Voltage

22

0.35 YE

5704

Liftgate Latch Relay Coil Control (TB4)

23

0.35 PU

544

Headlamp Low Beam Voltage (W49 or WDA or Z88 with TVD)

24-25

--

--

Not Used

Body Control Module (BCM) X5


Object Number: 1664500  Size: CH

Connector Part Information

  • OEM: 15480179
  • Service: 88988837
  • Description: 25-Way F HIT Series (BN)

Terminal Part Information

  • Pins: 6, 8-11, 13-18, 20, 21, 23, 24
  • Terminal/Tray: SNAC3-A021T-M0.64/20
  • Core/Insulation Crimp: J/J
  • Release Tool/Test Probe: 12094429/J-35616-64B (L-BU)
  • Pins: 1-5
  • Terminal/Tray: SNAC-A061T-M2.8/20
  • Core/Insulation Crimp: E/A
  • Release Tool/Test Probe: 12094429/J-35616-4A (PU)

Body Control Module (BCM) X5

Pin

Wire

Circuit

Function

1

0.8 YE

18

Left Rear Stop/Turn Lamp Voltage

2

0.8 D-GN

19

Right Rear Stop/Turn Lamp Voltage

3

--

--

Not Used

4

0.8 L-BU/WH

1314

Left Turn Signal Indicator Lamp Voltage

5

0.8 L-BU

1320

Stop Lamp Voltage

6

0.5 WH

17

Stop Lamp Voltage

7

--

--

Not Used

8

0.35 PK

5076

Current Sensor Voltage

9

0.35 WH

5075

Current Sensor Signal

10

0.35 BN

5077

Low Reference

11

0.35 D-GN

5706

Liftgate Relay High Control (TB4)

12

--

--

Not Used

13

0.35 OG

300

Power Mode

14

0.35 WH

2283

Rear Wiper/Washer Switch Voltage

15

0.35 PU

5531

Hood Closed Switch Signal (BTV)

16

0.5 OG/BK

233

Park Brake Switch Signal

17

0.5 YE/BK

5356

Left Tail Lamp Outage Detection Signal (Z88)

18

0.35 TN

28

Horn Relay Control

19

--

--

Not Used

20

0.35 GY

91

Windshield Wiper Switch Signal 2

21

0.35 TN

860

Front Windshield Wiper Switch High Signal

22

--

--

Not Used

23

0.35 PK/WH

1970

Headlamp Low Beam Relay Control (W49 or WDA or Z88 with TVD)

24

0.35 WH

1080

Park Lamp Relay Control

25

--

--

Not Used

Body Control Module (BCM) X6


Object Number: 1664502  Size: CH

Connector Part Information

  • OEM: 15482793
  • Service: 88988842
  • Description: 25-Way F Receptacle 0.64 2.8 (PK)

Terminal Part Information

  • Pins: 1-3
  • Terminal/Tray: SNAC-A061T-M2.8/20
  • Core/Insulation Crimp: E/A
  • Release Tool/Test Probe: 12094429/J-35616-4A (PU)
  • Pins: 8-10, 12, 14-16, 18, 20-23
  • Terminal/Tray: SNAC3-A021T-M0.64/20
  • Core/Insulation Crimp: J/J
  • Release Tool/Test Probe: 12094429/J-35616-64B (L-BU)

Body Control Module (BCM) X6

Pin

Wire

Circuit

Function

1

--

--

Not Used

2

0.8 L-GN

24

Backup Lamp Voltage

3

0.8 GY

8

Instrument Panel Lamp Voltage

4-7

--

--

Not Used

8

0.35 TN/WH

746

Right Front Door Ajar Switch Signal (without AXC or AXE)

9

0.35 D-BU

245

Passenger Door Lock Switch Unlock (without AXC or AXE)

10

0.35 GY/BK

745

Left Front Door Ajar Switch Signal (without AXC or AXE)

11

--

--

Not Used

12

0.35 PK/BK

1303

Liftgate Ajar Switch Signal (TB4)

13

--

--

Not Used

14

0.35 L-GN/BK

748

Right Rear Door Ajar Switch Signal

15

0.35 L-BU/BK

747

Left Rear Door Ajar Switch Signal

16-17

--

--

Not Used

18

0.35 L-BU

244

Passenger Door Lock Switch Lock (without AXC or AXE)

19-20

--

--

Not Used

21

0.35 PU/WH

1382

LED Dimming Signal

22

0.35 L-GN

5926

Rear Access Open Switch Signal (TB4)

23

0.35 GY

5797

Rear Closure Handle Switch Open Signal (TB4)

24-25

--

--

Not Used

Body Control Module (BCM) X7


Object Number: 1664505  Size: CH

Connector Part Information

  • OEM: 15466053
  • Service: 88988806
  • Description: 28-Way F HIT Series (GY)

Terminal Part Information

  • Terminal/Tray: SNAC3-A021T-M0.64/20
  • Core/Insulation Crimp: J/J
  • Release Tool/Test Probe: 12094429/J-35616-64B (L-BU)

Body Control Module (BCM) X7

Pin

Wire

Circuit

Function

1

--

--

Not Used

2

0.35 YE

43

Ignition Voltage

3-5

--

--

Not Used

6

0.35 YE

356

Driver Door Lock Relay Unlock Control (without AXC or AXE)

7

0.35 L-GN

1391

Driver Door Unlock Relay Control

8

0.35 D-BU

545

DRL Voltage (TVD with Z88)

9

0.35 L-BU

5921

Driver Door Unlock Relay Control

10

--

--

Not Used

11

0.35 OG/BK

781

Driver Door Lock Switch Unlock Signal (without AXC or AXE)

12

0.35 PK/BK

780

Driver Door Lock Switch Lock Signal (without AXC or AXE)

13

0.35 D-BU

38

Backup Lamp Relay Control (V92)

14-17

--

--

Not Used

18

0.35 L-GN

170

Power Window Master Switch Right Rear Up Signal (AXC or AXE)

19

0.35 PU

169

Power Window Master Switch Left Rear Down Signal (AXC or AXE)

20

--

--

Not Used

21

0.35 D-BU

1307

Power Window Master Switch Lockout Signal (AXC or AXE)

22-24

--

--

Not Used

25

0.35 PU/WH

6816

Heated Seat Indicator Dimming (KA1 without A45)

26

0.35 PU

171

Power Window Master Switch Right Rear Down Signal (AXC or AXE)

27

0.35 L-BU/WH

280

Power Window Master Switch Lockout Right Rear Signal (AXC or AXE)

28

0.35 D-GN

168

Power Window Master Switch Left Rear Up Signal (AXC or AXE)

Brake Booster Pump - Auxiliary


Object Number: 1826248  Size: CH

Connector Part Information

  • OEM: 7282-5575-10
  • Service: See Catalog
  • Description: 2-Way M 2.8 Series Sealed (D-GY)

Terminal Part Information

  • Terminal/Tray: 7114-4151-02/9
  • Core/Insulation Crimp: C/1
  • Release Tool/Test Probe: 12094430/J-35616-5 (PU)

Brake Booster Pump - Auxiliary

Pin

Wire

Circuit

Function

1

1 OG

1470

Brake Booster Pump Motor Voltage

2

1 BK

451

Ground

Brake Booster Vacuum Sensor


Object Number: 1856791  Size: CH

Connector Part Information

  • OEM: 7283569110
  • Service: See Catalog
  • Description: 3-Way F 1.5 Sealed (D-GY)

Terminal Part Information

  • Terminal/Tray: 7116-4102-08/9
  • Core/Insulation Crimp: E/1
  • Release Tool/Test Probe: 12094430/J-35616-2A (GY)

Brake Booster Vacuum Sensor

Pin

Wire

Circuit

Function

1

0.5 OG

6030

Brake Vacuum Sensor Signal

2

0.5 YE/BK

6032

Low Reference

3

0.5 GY

6031

5-Volt Reference

Brake Fluid Level Switch


Object Number: 655692  Size: CH

Connector Part Information

  • OEM: 12162193
  • Service: 88987993
  • Description: 2-Way F Metri-Pack 150.2 Series, Sealed, Pull To Seat (BK)

Terminal Part Information

  • Terminal/Tray: 12124075/5
  • Core/Insulation Crimp: E/C
  • Release Tool/Test Probe: 12180559-1/J-35616-14 (GN)

Brake Fluid Level Switch

Pin

Wire

Circuit

Function

A

0.35 BK/WH

1551

Ground

B

0.35 TN/WH

33

Brake Warning Indicator Control

Brake Pedal Position Sensor


Object Number: 1243663  Size: CH

Connector Part Information

  • OEM: 88953336
  • Service: 88953364
  • Description: 3-Way F GT 150 Series (BK)

Terminal Part Information

  • Terminal/Tray: 12191812/19
  • Core/Insulation Crimp: E/C
  • Release Tool/Test Probe: 15315247/J-35616-2A (GY)

Brake Pedal Position Sensor

Pin

Wire

Circuit

Function

A

0.35 GY

598

5-Volt Reference

B

0.35 L-GN

526

Stop Lamp Switch Signal

C

0.35 TN

552

Low Reference

Camshaft Position (CMP) Actuator Solenoid Valve - Bank 1 Exhaust (LLT)


Object Number: 1331453  Size: CH

Connector Part Information

  • OEM: 7283752630
  • Service: See Catalog
  • Description: 2-Way F Sealed (BK)

Terminal Part Information

  • Terminal/Tray: 7116-4026/11
  • Core/Insulation Crimp: E/1
  • Release Tool/Test Probe: 15313892/J-35616-18 (BK)

Camshaft Position (CMP) Actuator Solenoid Valve - Bank 1 Exhaust (LLT)

Pin

Wire

Circuit

Function

1

0.5 PK/BK

5293

Powertrain Main Relay Fused Supply

2

0.5 L-GN

5282

Camshaft Phaser Exhaust Solenoid

Camshaft Position (CMP) Actuator Solenoid Valve - Bank 2 Exhaust (LLT)


Object Number: 1331453  Size: CH

Connector Part Information

  • OEM: 7283752630
  • Service: See Catalog
  • Description: 2-Way F Sealed (BK)

Terminal Part Information

  • Terminal/Tray: 7116-4026/11
  • Core/Insulation Crimp: E/1
  • Release Tool/Test Probe: 15313892/J-35616-18 (BK)

Camshaft Position (CMP) Actuator Solenoid Valve - Bank 2 Exhaust (LLT)

Pin

Wire

Circuit

Function

1

0.5 PK/BK

5293

Powertrain Main Relay Fused Supply

2

0.5 WH/BK

5283

Camshaft Phaser Exhaust Solenoid

Camshaft Position (CMP) Actuator Solenoid Valve - Bank 1 Intake (LLT)


Object Number: 1331453  Size: CH

Connector Part Information

  • OEM: 7283752630
  • Service: See Catalog
  • Description: 2-Way F Sealed (BK)

Terminal Part Information

  • Terminal/Tray: 7116-4026/11
  • Core/Insulation Crimp: E/1
  • Release Tool/Test Probe: 15313892/J-35616-18 (BK)

Camshaft Position (CMP) Actuator Solenoid Valve - Bank 1 Intake (LLT)

Pin

Wire

Circuit

Function

1

0.5 PK/BK

5293

Powertrain Main Relay Fused Supply

2

0.5 PU

5284

Camshaft Phaser Intake Solenoid

Camshaft Position (CMP) Actuator Solenoid Valve - Bank 2 Intake (LLT)


Object Number: 1331453  Size: CH

Connector Part Information

  • OEM: 7283752630
  • Service: See Catalog
  • Description: 2-Way F Sealed (BK)

Terminal Part Information

  • Terminal/Tray: 7116-4026/11
  • Core/Insulation Crimp: E/1
  • Release Tool/Test Probe: 15313892/J-35616-18 (BK)

Camshaft Position (CMP) Actuator Solenoid Valve - Bank 2 Intake (LLT)

Pin

Wire

Circuit

Function

1

0.5 PK/BK

5293

Powertrain Main Relay Fused Supply

2

0.5 OG/BK

5272

Camshaft Phaser Intake Solenoid

Camshaft Position (CMP) Sensor - Bank 1 Exhaust (LLT)


Object Number: 1331443  Size: CH

Connector Part Information

  • OEM: 1-928-403-968
  • Service: See Catalog
  • Description: 3-Way F Sealed (BK)

Terminal Part Information

  • Terminal/Tray: 1928498056/8
  • Core/Insulation Crimp: E/1
  • Release Tool/Test Probe: J-38125-561/J-35616-35 (VT)

Camshaft Position (CMP) Sensor - Bank 1 Exhaust (LLT)

Pin

Wire

Circuit

Function

1

0.5 TN

552

Low Reference

2

0.5 D-GN

5273

Camshaft Position Exhaust Sensor

3

0.5 GY

705

5-Volt Reference 2

Camshaft Position (CMP) Sensor - Bank 2 Exhaust (LLT)


Object Number: 1331443  Size: CH

Connector Part Information

  • OEM: 1-928-403-968
  • Service: See Catalog
  • Description: 3-Way F Sealed (BK)

Terminal Part Information

  • Terminal/Tray: 1928498056/8
  • Core/Insulation Crimp: E/1
  • Release Tool/Test Probe: J-38125-561/J-35616-35 (VT)

Camshaft Position (CMP) Sensor - Bank 2 Exhaust (LLT)

Pin

Wire

Circuit

Function

1

0.5 TN

552

Low Reference

2

0.5 PU

5274

Camshaft Position Exhaust Sensor

3

0.5 GY

705

5-Volt Reference 2

Camshaft Position (CMP) Sensor - Bank 1 Intake (LLT)


Object Number: 1331443  Size: CH

Connector Part Information

  • OEM: 1-928-403-968
  • Service: See Catalog
  • Description: 3-Way F Sealed (BK)

Terminal Part Information

  • Terminal/Tray: 1928498056/8
  • Core/Insulation Crimp: E/1
  • Release Tool/Test Probe: J-38125-561/J-35616-35 (VT)

Camshaft Position (CMP) Sensor - Bank 1 Intake (LLT)

Pin

Wire

Circuit

Function

1

0.5 TN

552

Low Reference

2

0.5 OG

5275

Camshaft Position Intake Sensor

3

0.5 GY

705

5-Volt Reference 2

Camshaft Position (CMP) Sensor - Bank 2 Intake (LLT)


Object Number: 1331443  Size: CH

Connector Part Information

  • OEM: 1-928-403-968
  • Service: See Catalog
  • Description: 3-Way F Sealed (BK)

Terminal Part Information

  • Terminal/Tray: 1928498056/8
  • Core/Insulation Crimp: E/1
  • Release Tool/Test Probe: J-38125-561/J-35616-35 (VT)

Camshaft Position (CMP) Sensor - Bank 2 Intake (LLT)

Pin

Wire

Circuit

Function

1

0.5 TN

552

Low Reference

2

0.5 YE

5276

Camshaft Position Intake Sensor

3

0.5 GY

705

5-Volt Reference 2

Cellular Telephone Microphone (UE1)


Object Number: 35441  Size: CH

Connector Part Information

  • OEM: 12047663
  • Service: 12085481
  • Description: 2-Way M Metri-Pack 150 Series (BK)

Terminal Part Information

  • Terminal/Tray: 12047581/2
  • Core/Insulation Crimp: E/C
  • Release Tool/Test Probe: 12094429/J-35616-3 (GY)

Cellular Telephone Microphone (UE1)

Pin

Wire

Circuit

Function

A

0.35 BARE

514

Ground

B

0.35 GY

655

Cellular Microphone Signal

Center High Mounted Stop Lamp (CHMSL) (W49)


Object Number: 1413080  Size: CH

Connector Part Information

  • OEM: 13575577
  • Service: See Catalog
  • Description: 2-Way F 090 Series (L-GY)

Terminal Part Information

  • Terminal/Tray: 7116-1420/11
  • Core/Insulation Crimp: E/1
  • Release Tool/Test Probe: 15315247/J-35616-18 (BK)

Center High Mounted Stop Lamp (CHMSL) (W49)

Pin

Wire

Circuit

Function

1

0.5 BK

650

Ground

2

0.5 L-BU

1320

Stop Lamp Voltage

Center High Mounted Stop Lamp (CHMSL) (without W49)


Object Number: 1413080  Size: CH

Connector Part Information

  • OEM: 7223-1324
  • Service: 88988460
  • Description: 2-Way F 090 Series (BK)

Terminal Part Information

  • Terminal/Tray: 7116-1420/11
  • Core/Insulation Crimp: E/1
  • Release Tool/Test Probe: 15315247/J-35616-18 (BK)

Center High Mounted Stop Lamp (CHMSL) (without W49)

Pin

Wire

Circuit

Function

1

0.5 BK

650

Ground

2

0.5 L-BU

1320

Stop Lamp Voltage

Clock (W49)


Object Number: 1715243  Size: CH

Connector Part Information

  • OEM: 15368694
  • Service: 88953272
  • Description: 3-Way F Multilock 070 Series (WH)

Terminal Part Information

  • Terminal/Tray: 173630-7/7
  • Core/Insulation Crimp: E/4
  • Release Tool/Test Probe: 15315247/J-35616-33 (YE)

Clock (W49)

Pin

Wire

Circuit

Function

1

0.35 RD/WH

1840

Battery Positive Voltage

2

0.35 BK

1450

Ground

3

0.35 PU/WH

1382

LED Dimming Signal

Console Flood Lamp


Object Number: 35441  Size: CH

Connector Part Information

  • OEM: 12047663
  • Service: 12085481
  • Description: 2-Way M Metri-Pack 150 Series (BK)

Terminal Part Information

  • Terminal/Tray: 12047581/2
  • Core/Insulation Crimp: E/C
  • Release Tool/Test Probe: 12094429/J-35616-3 (GY)

Console Flood Lamp

Pin

Wire

Circuit

Function

A

0.35 BK

850

Ground

B

0.35 PU/WH

1382

LED Dimming Signal

Courtesy/Reading Lamps - 2nd Row (without U42)


Object Number: 333035  Size: CH

Connector Part Information

  • OEM: 12047781
  • Service: 12101864
  • Description: 3-Way F Metri-Pack 150 Series (BK)

Terminal Part Information

  • Terminal/Tray: 12064971/5
  • Core/Insulation Crimp: E/C
  • Release Tool/Test Probe: 12094429/J-35616-14 (GN)

Courtesy/Reading Lamps - 2nd Row (without U42)

Pin

Wire

Circuit

Function

A

0.5 OG

1732

Courtesy Lamps Voltage

B

0.5 BK

850

Ground

C

0.5 GY/BK

690

Courtesy Lamp High Control

Courtesy/Reading Lamps - 2nd Row X1 (C3U with U42)


Object Number: 333035  Size: CH

Connector Part Information

  • OEM: 12047781
  • Service: 12101864
  • Description: 3-Way F Metri-Pack 150 Series (BK)

Terminal Part Information

  • Terminal/Tray: 12064971/5
  • Core/Insulation Crimp: E/C
  • Release Tool/Test Probe: 12094429/J-35616-14 (GN)

Courtesy/Reading Lamps - 2nd Row X1 (C3U with U42)

Pin

Wire

Circuit

Function

A

0.5 OG

1732

Courtesy Lamps Voltage

B

0.5 BK

850

Ground

C

0.5 GY/BK

690

Courtesy Lamp High Control

Courtesy/Reading Lamps - 2nd Row X2 (C3U with U42)


Object Number: 333035  Size: CH

Connector Part Information

  • OEM: 12047781
  • Service: 12101864
  • Description: 3-Way F Metri-Pack 150 Series (BK)

Terminal Part Information

  • Terminal/Tray: 12064971/5
  • Core/Insulation Crimp: E/C
  • Release Tool/Test Probe: 12094429/J-35616-14 (GN)

Courtesy/Reading Lamps - 2nd Row X2 (C3U with U42)

Pin

Wire

Circuit

Function

A

0.5 OG

1732

Courtesy Lamps Voltage

B

0.5 BK

850

Ground

C

0.5 GY/BK

690

Courtesy Lamp High Control

Crankshaft Position (CKP) Sensor (LLT)


Object Number: 1664596  Size: CH

Connector Part Information

  • OEM: 31403-3710
  • Service: 88988337
  • Description: 3-Way F 064 Series Sealed (BK)

Terminal Part Information

  • Terminal/Tray: 33468-0003/23
  • Core/Insulation Crimp: See Terminal Repair Kit
  • Release Tool/Test Probe: J-38125-213/J-35616-64B (L-BU)

Crankshaft Position (CKP) Sensor (LLT)

Pin

Wire

Circuit

Function

1

0.5 TN

452

Low Reference

2

0.5 YE

573

CKP Sensor Signal

3

0.5 GY

605

5-Volt Reference 3

Data Link Connector (DLC)


Object Number: 68793  Size: CH

Connector Part Information

  • OEM: 19177614
  • Service: See Catalog
  • Description: 16-Way F Metri-Pack 150 Series (BK)

Terminal Part Information

  • Terminal/Tray: 12129484/19
  • Core/Insulation Crimp: E/C
  • Release Tool/Test Probe: 12094429/J-35616-14 (GN)

Data Link Connector (DLC)

Pin

Wire

Circuit

Function

1

0.35 D-GN

5060

Low Speed GMLAN Serial Data

2-3

--

--

Not Used

4

0.5 BK

750

Ground

5

0.35 BK/WH

1551

Ground

6

0.35 TN/BK

2500

High Speed GMLAN Serial Data Bus+

7-13

--

--

Not Used

14

0.35 TN

2501

High Speed GMLAN Serial Data Bus-

15

--

--

Not Used

16

0.35 RD/WH

1840

Battery Positive Voltage

Data Link Resistor (without MH6)


Object Number: 523630  Size: CH

Connector Part Information

  • OEM: 19177503
  • Service: 15306156
  • Description: 2-Way F GT 150 Series (BK)

Terminal Part Information

  • Terminal/Tray: 15326427/5
  • Core/Insulation Crimp: E/A
  • Release Tool/Test Probe: 15315247/J-35616-2A (GY)

Data Link Resistor (without MH6)

Pin

Wire

Circuit

Function

A

0.35 TN/BK

2500

High Speed GMLAN Serial Data Bus+

B

0.35 TN

2501

High Speed GMLAN Serial Data Bus-

Daytime Running Lamp (DRL) - Left (W49 or Z88 with T61)


Object Number: 1906264  Size: CH

Connector Part Information

  • OEM: 7900-1486-004
  • Service: See Catalog
  • Description: 3-Way F Lamp Socket Sealed (BK)

Terminal Part Information

  • Terminal/Tray: See Terminal Repair Kit
  • Core/Insulation Crimp: See Terminal Repair Kit
  • Release Tool/Test Probe: See Terminal Repair Kit

Daytime Running Lamp (DRL) - Left (W49 or Z88 with T61)

Pin

Wire

Circuit

Function

1

0.8 OG

--

Left DRL/Turn Voltage (Z88)

0.8 L-BU/WH

--

Left DRL/Turn Voltage (W49)

2

--

--

Not Used

3

0.8 BK

--

Ground

Daytime Running Lamp (DRL) - Left (WDA with T61)


Object Number: 1869767  Size: CH

Connector Part Information

  • OEM: 1-967644-1
  • Service: See Catalog
  • Description: 2-Way F TYCO Sealed (BK)

Terminal Part Information

  • Terminal/Tray: See Terminal Repair Kit
  • Core/Insulation Crimp: See Terminal Repair Kit
  • Release Tool/Test Probe: See Terminal Repair Kit

Daytime Running Lamp (DRL) - Left (WDA with T61)

Pin

Wire

Circuit

Function

1

0.5 BK

--

Ground

2

0.5 PU

--

Left DRL/Turn Voltage

Daytime Running Lamp (DRL) - Right (W49 or Z88 with T61)


Object Number: 1906264  Size: CH

Connector Part Information

  • OEM: 7900-1486-004
  • Service: See Catalog
  • Description: 3-Way F Lamp Socket Sealed (BK)

Terminal Part Information

  • Terminal/Tray: See Terminal Repair Kit
  • Core/Insulation Crimp: See Terminal Repair Kit
  • Release Tool/Test Probe: See Terminal Repair Kit

Daytime Running Lamp (DRL) - Right (W49 or Z88 with T61)

Pin

Wire

Circuit

Function

1

0.8 OG

--

Right DRL/Turn Voltage (Z88)

0.8 L-BU/WH

--

Right DRL/Turn Voltage (W49)

2

--

--

Not Used

3

0.8 BK

--

Ground

Daytime Running Lamp (DRL) - Right (WDA with T61)


Object Number: 1869767  Size: CH

Connector Part Information

  • OEM: 1-967644-1
  • Service: See Catalog
  • Description: 2-Way F TYCO Sealed (BK)

Terminal Part Information

  • Terminal/Tray: See Terminal Repair Kit
  • Core/Insulation Crimp: See Terminal Repair Kit
  • Release Tool/Test Probe: See Terminal Repair Kit

Daytime Running Lamp (DRL) - Right (WDA with T61)

Pin

Wire

Circuit

Function

1

0.5 BK

--

Ground

2

0.5 PU

--

Right DRL/Turn Voltage

Digital Radio Receiver (U2K or UBS)


Object Number: 850856  Size: CH

Connector Part Information

  • OEM: 15394150
  • Service: See Catalog
  • Description: 16-Way F Micro-Pack 064 Series (BK)

Terminal Part Information

  • Terminal/Tray: 15359541/4
  • Core/Insulation Crimp: M/M
  • Release Tool/Test Probe: 15381651-2/J-35616-64B (L-BU)

Digital Radio Receiver (U2K or UBS)

Pin

Wire

Circuit

Function

1

0.5 TN/WH

372

Left Audio Signal (-)

2

0.5 BN/WH

367

Left Audio Signal (+)

3

0.5 D-GN/WH

368

Right Audio Signal (+)

4

0.5 GY

388

Right Audio Signal (-)

5

0.35 D-GN

5060

Low Speed GMLAN Serial Data

6-8

--

--

Not Used

9

0.5 BK/WH

351

Ground

10-15

--

--

Not Used

16

0.5 RD/WH

2340

Battery Positive Voltage

Digital Video Disc (DVD) Display (U42)


Object Number: 1711011  Size: CH

Connector Part Information

  • OEM: 15490628
  • Service: See Catalog
  • Description: 10-Way F Kaizen 0.64 Series (BK)

Terminal Part Information

  • Terminal/Tray: 7116-4618-02/14
  • Core/Insulation Crimp: P/P
  • Release Tool/Test Probe: J-38125-215/J-35616-64B (L-BU)

Digital Video Disc (DVD) Display (U42)

Pin

Wire

Circuit

Function

1

0.35 D-GN

6975

DVD Video Signal (+)

2

0.35 WH/BK

5335

DVD Video Signal (-)

3-5

--

--

Not Used

6

0.5 BK/WH

351

Ground

7

0.5 RD/WH

2340

Battery Positive Voltage

8

0.35 WH

7066

Entertainment Remote Enable Signal

9

0.35 PK/BK

5844

Video Bright Control

10

0.35 L-GN/BK

5845

Video Mode Signal

Door Control Module - Passenger X1 (AXC or AXE)


Object Number: 1664521  Size: CH

Connector Part Information

  • OEM: 6098-4607
  • Service: 88988497
  • Description: 6-Way F 2.8mm PBT (BK)

Terminal Part Information

  • Pins: 1-3, 5
  • Terminal/Tray: 8100-4445/22
  • Core/Insulation Crimp: 4/4
  • Release Tool/Test Probe: 15315247/J-35616-35 (VT)
  • Pins: 4
  • Terminal/Tray: 8100-4444/22
  • Core/Insulation Crimp: 2/A
  • Release Tool/Test Probe: 15315247/J-35616-35 (VT)

Door Control Module - Passenger X1 (AXC or AXE)

Pin

Wire

Circuit

Function

1

2 BN

667

Power Window Motor Right Front Down Control (AXE)

2

2 RD/WH

3340

Battery Positive Voltage (AXE)

3

2 D-BU

666

Power Window Motor Right Front Up Control (AXE)

4

0.8 RD/WH

840

Battery Positive Voltage (AXC or AXE)

5

2 BK

750

Ground (AXC or AXE)

6

--

--

Not Used

Door Control Module - Passenger X2 (AXC or AXE)


Object Number: 1664488  Size: CH

Connector Part Information

  • OEM: 7283-9078-80
  • Service: See Catalog
  • Description: 16-Way F Kaizen 0.64 Series (BN)

Terminal Part Information

  • Terminal/Tray: 7116-4618-02/14
  • Core/Insulation Crimp: P/P
  • Release Tool/Test Probe: J-38125-215/J-35616-64B (L-BU)

Door Control Module - Passenger X2 (AXC or AXE)

Pin

Wire

Circuit

Function

1-2

--

--

Not Used

3

0.35 D-BU

6133

Linear Interconnect Network Bus (AXC)

4

--

--

Not Used

5

0.5 YE

5943

Low Reference

6

--

--

Not Used

7

0.5 GY

295

Door Lock Actuator Lock Control

8

0.5 TN

294

Door Lock Actuator Unlock Control

9

0.35 D-GN

5060

Low Speed GMLAN Serial Data

10-12

--

--

Not Used

13

0.5 TN/WH

746

Right Front Door Ajar Switch Signal

14-16

--

--

Not Used

Door Control Module - Passenger X3 (AXC or AXE)


Object Number: 1664581  Size: CH

Connector Part Information

  • OEM: 7283-9040-30
  • Service: See Catalog
  • Description: 10-Way F YESC Kaizen Series (BK)

Terminal Part Information

  • Terminal/Tray: 7116-4618-02/14
  • Core/Insulation Crimp: P/P
  • Release Tool/Test Probe: J-38125-215/J-35616-64B (L-BU)

Door Control Module - Passenger X3 (AXC or AXE)

Pin

Wire

Circuit

Function

1

0.35 OG/BK

6162

Outside Right Mirror Right Front Up Control (A45 with DNP or DNT or DS3)

2

0.35 GY/BK

6161

Outside Right Mirror Horizontal Position Control (A45 with DNP or DNT or DS3)

3

0.5 D-GN

628

Low Reference (A45 with DNP or DNT or DS3)

4-5

--

--

Not Used

6

0.35 WH

7196

Outside Right Mirror Drive Motor Common (A45 with DNP or DNT or DS3)

7

0.5 OG

2267

Mirror Heating Element Voltage (A45 with DNP or DNT or DS3)

8

0.35 PK/BK

5862

Low Reference (UFT)

9-10

--

--

Not Used

Door Control Module - Passenger X4 (AXC or AXE)


Object Number: 1664522  Size: CH

Connector Part Information

  • OEM: 7283-9065-40
  • Service: See Catalog
  • Description: 14-Way F Kaizen 0.64 Series (L-GY)

Terminal Part Information

  • Terminal/Tray: 7116-4618-02/14
  • Core/Insulation Crimp: P/P
  • Release Tool/Test Probe: J-38125-215/J-35616-64B (L-BU)

Door Control Module - Passenger X4 (AXC or AXE)

Pin

Wire

Circuit

Function

1

0.35 WH/BK

6185

Passenger Heated Seat Medium Indicator Control (A45 with KA1 or KB6)

2

0.35 YE

1685

Passenger Heated Seat High Temperature Indicator Control (A45 with KA1 or KB6)

3

0.35 GY

6182

Low Reference (A45 with KB6)

4-5

--

--

Not Used

6

0.35 D-BU

6180

Low Reference (A45 with KA1 or KB6)

7

0.35 GY

6182

Low Reference (A45 with KA1)

8

--

--

Not Used

9

0.35 TN

1686

Passenger Heated Seat Low Temperature Indicator Control (A45 with KA1 or KB6)

10

0.35 BN

6179

5-Volt Reference (A45 with KA1 or KB6)

11

0.35 PU

6181

5-Volt Reference (A45 with KA1)

12

0.35 PU

6181

5-Volt Reference (A45 with KB6)

13-14

--

--

Not Used

Door Control Module - Passenger X7 (AXC or AXE)


Object Number: 1664543  Size: CH

Connector Part Information

  • OEM: 7283-9045
  • Service: See Catalog
  • Description: 10-Way F 064 Series Unsealed (WH)

Terminal Part Information

  • Terminal/Tray: 7116-4618-02/14
  • Core/Insulation Crimp: P/P
  • Release Tool/Test Probe: J-38125-215/J-35616-64B (L-BU)

Door Control Module - Passenger X7 (AXC or AXE)

Pin

Wire

Circuit

Function

1

0.35 YE

6804

Driver Mirror Motor Down Control (DNP or DNT)

2

0.35 L-BU

6805

Right Extend Motor Retract/Unfold Control (DNP or DNT)

3

--

--

Not Used

4

0.35 BN

787

Passenger Mirror Vertical Position Sensor Signal (A45 with DNP or DNT or DS3)

5

0.35 L-BU/BK

785

Passenger Mirror Horizontal Position Sensor Signal (A45 with DNP or DNT or DS3)

6

--

--

Not Used

7

0.35 YE

674

5-Volt Reference (A45 with DNP or DNT or DS3)

8

0.35 PK

5861

Passenger Side Object Detection LED Signal (UFT)

9

--

--

Not Used

10

0.35 L-GN

675

Low Reference (A45 with DNP or DS3)

Door Latch - Driver


Object Number: 845631  Size: CH

Connector Part Information

  • OEM: 6-1355688-1
  • Service: See Catalog
  • Description: 10-Way F 1.2 Micro III Timer (BK)

Terminal Part Information

  • Terminal/Tray: 4-969005-1/16
  • Core/Insulation Crimp: E/1
  • Release Tool/Test Probe: J-38125-560/J-35616-33 (YE)

Door Latch - Driver

Pin

Wire

Circuit

Function

1

--

--

Not Used

2

0.8 TN

694

Driver Door Lock Actuator Unlock Control (without AXC or AXE)

0.5 TN

694

Driver Door Lock Actuator Unlock Control (AXC or AXE)

3

0.8 GY

295

Door Lock Actuator Lock Control (without AXC or AXE)

0.5 GY

295

Door Lock Actuator Lock Control (AXC or AXE)

4-5

--

--

Not Used

6

0.5 GY/BK

745

Left Front Door Ajar Switch Signal

7

--

--

Not Used

8

0.5 YE

5942

Low Reference (AXC or AXE)

0.35 BK

550

Ground (without AXC or AXE)

9-10

--

--

Not Used

Door Latch - Left Rear


Object Number: 812596  Size: CH

Connector Part Information

  • OEM: 6-1355683-1
  • Service: 88986251
  • Description: 6-Way F Sealed Series (BK)

Terminal Part Information

  • Pins: 2-6
  • Terminal/Tray: 4-969005-1/16
  • Core/Insulation Crimp: E/1
  • Release Tool/Test Probe: J-38125-560/J-35616-33 (YE)

Door Latch - Left Rear

Pin

Wire

Circuit

Function

1

--

--

Not Used

2

0.8 TN

294

Door Lock Actuator Unlock Control

3

0.8 GY

295

Door Lock Actuator Lock Control

4

0.5 L-BU/BK

747

Left Rear Door Ajar Switch Signal

5

--

--

Not Used

6

0.5 BK

550

Ground

Door Latch - Passenger


Object Number: 812596  Size: CH

Connector Part Information

  • OEM: 6-1355683-1
  • Service: 88986251
  • Description: 6-Way F Sealed Series (BK)

Terminal Part Information

  • Terminal/Tray: 4-969005-1/16
  • Core/Insulation Crimp: E/1
  • Release Tool/Test Probe: J-38125-560/J-35616-33 (YE)

Door Latch - Passenger

Pin

Wire

Circuit

Function

1

0.5 TN/WH

746

Right Front Door Ajar Switch Signal

2

--

--

Not Used

3

0.5 YE

5943

Low Reference (AXC or AXE)

0.35 BK

750

Ground (without AXC or AXE)

4

--

--

Not Used

5

0.5 TN

294

Door Lock Actuator Unlock Control (AXC or AXE)

0.8 TN

294

Door Lock Actuator Unlock Control (without AXC or AXE)

6

0.8 GY

295

Door Lock Actuator Lock Control (without AXC or AXE)

0.5 GY

295

Door Lock Actuator Lock Control (AXC or AXE)

Door Latch - Right Rear


Object Number: 812596  Size: CH

Connector Part Information

  • OEM: 6-1355683-1
  • Service: 88986251
  • Description: 6-Way F Sealed Series (BK)

Terminal Part Information

  • Pins: 1-3, 5, 6
  • Terminal/Tray: 964274-2/16
  • Core/Insulation Crimp: E/1
  • Release Tool/Test Probe: J-38125-560/J-35616-33 (YE)

Door Latch - Right Rear

Pin

Wire

Circuit

Function

1

0.5 L-GN/BK

748

Right Rear Door Ajar Switch Signal

2

--

--

Not Used

3

0.5 BK

750

Ground

4

--

--

Not Used

5

0.8 TN

294

Door Lock Actuator Unlock Control

6

0.8 GY

295

Door Lock Actuator Lock Control

Door Lock Switch - Driver (without AXC or AXE)


Object Number: 130714  Size: CH

Connector Part Information

  • OEM: 12124997
  • Service: 12167130
  • Description: 5-Way F Metri-Pack 150 Series, Unsealed (BK)

Terminal Part Information

  • Terminal/Tray: 12103359/18
  • Core/Insulation Crimp: E/C
  • Release Tool/Test Probe: 12094429/J-35616-14 (GN)

Door Lock Switch - Driver (without AXC or AXE)

Pin

Wire

Circuit

Function

A

0.35 GY

8

Instrument Panel Lamp Voltage

B

0.35 BK

550

Ground

C

--

--

Not Used

D

0.5 OG/BK

781

Driver Door Lock Switch Unlock Signal (WDA)

0.5 PK/BK

780

Driver Door Lock Switch Lock Signal (Z88)

E

0.5 PK/BK

780

Driver Door Lock Switch Lock Signal (WDA)

0.5 OG/BK

781

Driver Door Lock Switch Unlock Signal (Z88)

Door Lock Switch - Passenger (without AXC or AXE)


Object Number: 130714  Size: CH

Connector Part Information

  • OEM: 12124997
  • Service: 12167130
  • Description: 5-Way F Metri-Pack 150 Series, Unsealed (BK)

Terminal Part Information

  • Terminal/Tray: 12103359/18
  • Core/Insulation Crimp: E/C
  • Release Tool/Test Probe: 12094429/J-35616-14 (GN)

Door Lock Switch - Passenger (without AXC or AXE)

Pin

Wire

Circuit

Function

A

0.35 GY

8

Instrument Panel Lamp Voltage

B

0.35 BK

750

Ground

C

--

--

Not Used

D

0.5 D-BU

245

Passenger Door Lock Switch Unlock

E

0.5 L-BU

244

Passenger Door Lock Switch Lock

Driver Door Module (DDM) X1 (AXC or AXE)


Object Number: 1664521  Size: CH

Connector Part Information

  • OEM: 6098-4607
  • Service: 88988497
  • Description: 6-Way F 2.8mm PBT (BK)

Terminal Part Information

  • Pins: 4
  • Terminal/Tray: 8100-4444/22
  • Core/Insulation Crimp: 2/A
  • Release Tool/Test Probe: 15315247/J-35616-35 (VT)
  • Pins: 5
  • Terminal/Tray: 8100-4445/22
  • Core/Insulation Crimp: 4/4
  • Release Tool/Test Probe: 15315247/J-35616-35 (VT)

Driver Door Module (DDM) X1 (AXC or AXE)

Pin

Wire

Circuit

Function

1-3

--

--

Not Used

4

1 RD/WH

3240

Battery Positive Voltage

5

2 BK

550

Ground

6

--

--

Not Used

Driver Door Module (DDM) X2 (AXC or AXE)


Object Number: 1664488  Size: CH

Connector Part Information

  • OEM: 7283-9078-80
  • Service: See Catalog
  • Description: 16-Way F Kaizen 0.64 Series (BN)

Terminal Part Information

  • Terminal/Tray: 7116-4618-02/14
  • Core/Insulation Crimp: P/P
  • Release Tool/Test Probe: J-38125-215/J-35616-64B (L-BU)

Driver Door Module (DDM) X2 (AXC or AXE)

Pin

Wire

Circuit

Function

1-2

--

--

Not Used

3

0.35 BN

6132

Linear Interconnect Network Bus

4

--

--

Not Used

5

0.5 YE

5942

Low Reference

6

--

--

Not Used

7

0.5 GY

295

Door Lock Actuator Lock Control

8

0.5 TN

294

Door Lock Actuator Unlock Control

9

0.35 D-GN

5060

Low Speed GMLAN Serial Data

10-12

--

--

Not Used

13

0.5 GY/BK

745

Left Front Door Ajar Switch Signal

14-16

--

--

Not Used

Driver Door Module (DDM) X3 (AXC or AXE)


Object Number: 1664581  Size: CH

Connector Part Information

  • OEM: 7283-9040-30
  • Service: See Catalog
  • Description: 10-Way F YESC Kaizen Series (BK)

Terminal Part Information

  • Terminal/Tray: 7116-4618-02/14
  • Core/Insulation Crimp: P/P
  • Release Tool/Test Probe: J-38125-215/J-35616-64B (L-BU)

Driver Door Module (DDM) X3 (AXC or AXE)

Pin

Wire

Circuit

Function

1

0.35 D-BU/WH

6160

Outside Left Mirror Vertical Position Control

2

0.35 D-GN/WH

6159

Outside Left Mirror Horizontal Position Control

3

0.5 L-GN

627

Low Reference

4-5

--

--

Not Used

6

0.35 WH

7197

Outside Left Mirror Drive Motor Common

7

0.5 OG

2267

Mirror Heating Element Voltage

8

0.35 PK/BK

5855

Low Reference (UFT)

9-10

--

--

Not Used

Driver Door Module (DDM) X4 (AXC or AXE)


Object Number: 1664522  Size: CH

Connector Part Information

  • OEM: 7283-9065-40
  • Service: See Catalog
  • Description: 14-Way F Kaizen 0.64 Series (L-GY)

Terminal Part Information

  • Terminal/Tray: 7116-4618-02/14
  • Core/Insulation Crimp: P/P
  • Release Tool/Test Probe: J-38125-215/J-35616-64B (L-BU)

Driver Door Module (DDM) X4 (AXC or AXE)

Pin

Wire

Circuit

Function

1

0.35 WH/BK

6177

Driver Heated Seat Medium Indicator Control (A45 with KA1 or KB6)

2

0.35 D-GN

1661

Driver Heated Seat High Temperature Indicator Control (A45 with KA1 or KB6)

3

--

--

Not Used

4

0.35 D-BU/WH

5978

Low Reference (AG3)

5

0.35 OG

614

Memory Set Switch Signal (AG3)

6

0.35 D-BU

6172

Driver Heated Seat Switch Back Cushion Signal (A45 with KA1 or KB6)

7

0.35 GY

6175

Driver Heated Seat Switch Back Signal (A45 with KA1)

8

--

--

Not Used

9

0.35 L-BU

1662

Driver Heated Seat Low Temperature Indicator Control (A45 with KA1 or KB6)

10

0.35 BN

6173

Driver Heated Seat Switch Back Cushion LED (A45 with KA1 or KB6)

11

0.35 PU

6174

Driver Heated Seat Switch Back LED (A45 with KA1)

12

0.35 PU

6174

Driver Heated Seat Switch Back LED (A45 with KB6)

13

0.35 BN/WH

6064

Memory Switch Dimming Control (AG3)

14

0.35 GY/BK

5979

Memory Seat Switch Exit Signal (AG3)

Driver Door Module (DDM) X7 (AXC or AXE)


Object Number: 1664543  Size: CH

Connector Part Information

  • OEM: 7283-9045
  • Service: See Catalog
  • Description: 10-Way F 064 Series Unsealed (WH)

Terminal Part Information

  • Terminal/Tray: 7116-4618-02/14
  • Core/Insulation Crimp: P/P
  • Release Tool/Test Probe: J-38125-215/J-35616-64B (L-BU)

Driver Door Module (DDM) X7 (AXC or AXE)

Pin

Wire

Circuit

Function

1

0.35 YE

6802

Left Extend/Fold Mirror Motor Extend Control (DNP or DNT)

2

0.35 L-BU

6803

Passenger Mirror Motor Down Control (DNP or DNT)

3

--

--

Not Used

4

0.35 D-GN

784

Driver Mirror Vertical Position Sensor Signal (A45 with DNP or DNT or DS3)

5

0.35 GY

786

Driver Mirror Horizontal Position Sensor Signal (A45 with DNP or DNT or DS3)

6

--

--

Not Used

7

0.35 D-BU

672

5-Volt Reference (A45 with DNP or DNT or DS3)

8

0.35 PK

5853

Low Reference (UFT)

9

--

--

Not Used

10

0.35 BN

673

Low Reference (A45 with DNP or DNT or DS3)

Driver Information Center (DIC) Switch (UH9)


Object Number: 1715224  Size: CH

Connector Part Information

  • OEM: 15491277
  • Service: 88988747
  • Description: 5-Way F HCM 5PA Series (BK)

Terminal Part Information

  • Terminal/Tray: SHCM-A03T-P025/20
  • Core/Insulation Crimp: J/J
  • Release Tool/Test Probe: 12094429/J-35616-64B (L-BU)

Driver Information Center (DIC) Switch (UH9)

Pin

Wire

Circuit

Function

1

0.35 D-GN/WH

1358

DIC Switch Signal

2

0.35 BN

897

Low Reference

3

0.35 PK

893

DIC Select Menu Switch Signal

4

0.35 PU/WH

1382

LED Dimming Signal

5

0.35 BK

1450

Ground

Electronic Brake Control Module (EBCM)


Object Number: 1862109  Size: CH

Connector Part Information

  • OEM: 31381-1005
  • Service: See Catalog
  • Description: 38-Way F 2.8 Series, Sealed (BK)

Terminal Part Information

  • Pins: 1, 13, 25, 38
  • Terminal/Tray: 15304720/19
  • Core/Insulation Crimp: 4/5
  • Release Tool/Test Probe: 15315247/J-35616-4A (PU)
  • Pins: 2, 3, 5, 6, 10-12, 14-16, 18-20, 21, 24, 26-28, 31-35, 37
  • Terminal/Tray: 7116-3703-02/14
  • Core/Insulation Crimp: 9/9
  • Release Tool/Test Probe: J-38125-215/J-35616-64B (L-BU)

Electronic Brake Control Module (EBCM)

Pin

Wire

Circuit

Function

1

3 RD/BK

142

Battery Positive Voltage

2

0.5 GY

6031

5-Volt Reference

3

0.5 WH

320

Engine Mount Solenoid Control (W49)

4

--

--

Not Used

5

0.5 WH

1294

Variable Effort Steering Actuator Voltage (NV7)

6

0.5 TN

833

Low Reference

7-9

--

--

Not Used

10

0.5 OG

6030

Brake Vacuum Sensor Signal

11

0.5 D-GN/WH

817

Vehicle Speed Signal (U3R or UZR or UVB)

12

0.5 L-BU

2088

Low Reference

13

3 BK/WH

251

Ground

14

0.5 TN

2501

High Speed GMLAN Serial Data Bus-

15

0.5 TN

2501

High Speed GMLAN Serial Data Bus-

16

0.5 YE/BK

6032

Low Reference

17

--

--

Not Used

18

0.5 D-GN

872

Right Front Wheel Speed Sensor Signal

19

0.5 BN

882

Right Rear Wheel Speed Sensor Signal

20

0.5 OG

885

Low Reference

21

0.5 L-BU

830

Left Front Wheel Speed Sensor Signal

22-23

--

--

Not Used

24

0.5 L-GN/BK

6432

CAN Bus Low Serial Data

25

2 RD/WH

3540

Battery Positive Voltage

26

0.5 TN/BK

2500

High Speed GMLAN Serial Data Bus+

27

0.5 TN/BK

2500

High Speed GMLAN Serial Data Bus+

28

0.5 BN

1295

Variable Effort Steering Actuator Control (NV7)

29-30

--

--

Not Used

31

0.5 WH

883

Low Reference

32

0.5 D-GN

2087

12-Volt Reference

33

0.5 TN

884

Left Rear Wheel Speed Sensor Signal

34

0.5 YE

873

Low Reference

35

0.5 L-BU

5986

Communication Enable

36

--

--

Not Used

37

0.5 TN/WH

6433

CAN Bus High Serial Data

38

2 BK/WH

251

Ground

Electronic Compass Module (U80)


Object Number: 1865635  Size: CH

Connector Part Information

  • OEM: 88988900
  • Service: See Catalog
  • Description: 4-Way F AIT2PB-04A-1 AKAIT II Series (BK)

Terminal Part Information

  • Terminal/Tray: 7116-4618-02/14
  • Core/Insulation Crimp: P/P
  • Release Tool/Test Probe: J-38125-215/J-35616-64B (L-BU)

Electronic Compass Module (U80)

Pin

Wire

Circuit

Function

1

0.35 OG

300

Ignition 3 Voltage

2

0.35 BK

850

Ground

3

0.35 D-GN

6135

Linear Interconnect Network Bus

4

--

--

Not Used

Engine Control Module (ECM) X1 (LLT)


Object Number: 1826274  Size: CH

Connector Part Information

  • OEM: 1928404927
  • Service: 19153157
  • Description: 96-Way F 1.2 Series Sealed (BK)

Terminal Part Information

  • Terminal/Tray: 1928498135/19
  • Core/Insulation Crimp: Pins 1,2, 6, 7, 9, 10, 14, 15, 18, 24, 25, 30, 33-36, 38-46, 48, 49, 55-57, 59-61, 67, 70, 72, 73, 76, 77, 79-84, 88-90, 92, 93, 96 - J/J
  • Core/Insulation Crimp: Pins 3-5, 26-29, 50-53, 74, 75 - K/K
  • Release Tool/Test Probe: J-38125-213/J-35616-64B (L-BU)

Engine Control Module (ECM) X1 (LLT)

Pin

Wire

Circuit

Function

1

0.5 L-GN

5282

Camshaft Phaser Exhaust Solenoid (1)

2

0.5 PU

5284

Camshaft Phaser Intake Solenoid (1)

3

1 PU/WH

4906

Direct Fuel Injector (DFI) High Voltage Cylinder 6

4

1 PU

4806

Direct Fuel Injector (DFI) High Voltage Control Cylinder 6

5

1 YE

7301

High Pressure Fuel Pump Actuator High Control

6

0.5 D-GN/WH

428

EVAP Canister Purge Solenoid Control

7

0.5 OG

5275

Camshaft Position Intake Sensor (1)

8

--

--

Not Used

9

0.5 PU

5274

Camshaft Position Exhaust Sensor (2)

10

0.5 OG

225

Generator Turn On Signal

11-14

--

--

Not Used

15

0.5 GY

705

5-Volt Reference 2

16

--

--

Not Used

17

0.5 TN/BK

231

Oil Pressure Switch Signal

18

0.35 BN

7448

Vacuum Assist Pump Relay Coil Control

19-23

--

--

Not Used

24

0.75 YE

581

TAC Motor Control - 1

25

0.5 WH/BK

5283

Camshaft Phaser Exhaust Solenoid (2)

26

1 D-GN

4803

Direct Fuel Injector (DFI) High Voltage Control Cylinder 3

27

1 D-GN/WH

4903

Direct Fuel Injector (DFI) High Voltage Cylinder 3

28

1 L-GN

4805

Direct Fuel Injector (DFI) High Voltage Control Cylinder 5

29

1 L-GN/WH

4905

Direct Fuel Injector (DFI) High Voltage Cylinder 5

30

0.5 GY

23

Generator Field Duty Cycle Signal

31-32

--

--

Not Used

33

0.5 YE

5276

Camshaft Position Intake Sensor (2)

34

0.5 D-GN

5273

Camshaft Position Exhaust Sensor (1)

35

0.5 YE

573

CKP Sensor Signal

36

0.5 YE

2918

FRP Sensor Signal

37

--

--

Not Used

38

0.5 GY

598

5-Volt Reference 1

39

0.5 GY

2701

5-Volt Reference 3

40

--

--

Not Used

41

0.5 TN

552

Low Reference

42

0.5 TN

808

Low Reference

43

--

--

Not Used

44

0.5 TN

476

Low Reference

45

0.5 GY

605

5-Volt Reference 3

46

0.5 TN

452

Low Reference

47

--

--

Not Used

48

0.75 BN

582

TAC Motor Control - 2

49

0.5 OG/BK

5272

Camshaft Phaser Intake Solenoid (2)

50

1 L-BU

4804

Direct Fuel Injector (DFI) High Voltage Control Cylinder 4

51

1 BN

4801

Direct Fuel Injector (DFI) High Voltage Control Cylinder 1

52

1 D-BU

4802

Direct Fuel Injector (DFI) High Voltage Control Cylinder 2

53

1 D-BU/WH

4902

Direct Fuel Injector (DFI) High Voltage Cylinder 2

54

0.5 BN/WH

419

MIL Control

55

0.5 PU

2121

IC 1 Control

56

0.5 L-BU

2123

IC 3 Control

57

0.5 D-GN

2125

IC 5 Control

58

--

--

Not Used

59

0.5 D-BU

496

Knock Sensor 1 Signal

60

0.5 GY

2303

Knock Sensor 2 Signal

61

--

--

Not Used

62-63

--

--

Not Used

64

0.5 TN

407

Low Reference

65-66

--

--

Not Used

67

0.5 TN/WH

3111

HO2S Low Signal (Bank 1 Sensor 1)

68-69

--

--

Not Used

70

0.5 PU/WH

3210

HO2S High Signal (Bank 2 Sensor 1)

71

--

--

Not Used

72

0.5 L-GN

3212

HO2S Heater Low Control Bank 2 Sensor 1

73

1 PU

7300

High Pressure Fuel Pump Actuator Low Control

74

1 L-BU/WH

4904

Direct Fuel Injector (DFI) High Voltage Cylinder 4

75

1 BN/WH

4901

Direct Fuel Injector (DFI) High Voltage Cylinder 1

76

0.5 PK/BK

5291

Ignition Voltage

77

0.5 PK/BK

5292

Ignition Voltage

78

--

--

Not Used

79

0.5 OG/WH

2122

IC 2 Control

80

0.5 D-GN/WH

2124

IC 4 Control

81

0.5 L-BU/WH

2126

IC 6 Control

82

0.5 YE

410

ECT Sensor Signal

83

0.5 GY

1716

Knock Sensor 1 Signal

84

0.5 L-BU

1876

Knock Sensor 2 Signal

85-87

--

--

Not Used

88

0.5 TN

2752

Low Reference

89

0.5 PU

486

TP Sensor 2 Signal

90

0.5 D-GN

485

TP Sensor 1 Signal

91

--

--

Not Used

92

0.5 PU/WH

3110

HO2S High Signal (Bank 1 Sensor 1)

93

0.5 TN/WH

3211

HO2S Low Signal (Bank 1 Sensor 1)

94-95

--

--

Not Used

96

0.5 GY/WH

3113

HO2S Heater Low Control Bank 1 Sensor 1

Engine Control Module (ECM) X2 (LLT)


Object Number: 1360604  Size: CH

Connector Part Information

  • OEM: 1928404916
  • Service: 19115599
  • Description: 58-Way F 2.8 Series Sealed (BK)

Terminal Part Information

  • Pins: 1-6
  • Terminal/Tray: 1928498058/8
  • Core/Insulation Crimp: E/1
  • Release Tool/Test Probe: J-38125-561/J-35616-35 (VT)
  • Pins: 7, 9-11, 13-15, 17-27, 34-39, 41-52, 54-58
  • Terminal/Tray: 1928498135/19
  • Core/Insulation Crimp: J/J
  • Release Tool/Test Probe: J-38125-213/J-35616-64B (L-BU)

Engine Control Module (ECM) X2 (LLT)

Pin

Wire

Circuit

Function

1

2 BK/WH

451

Ground

2

2 BK/WH

451

Ground

3

1 PK/BK

5290

Ignition Voltage

4

2 BK/WH

451

Ground

5

1 PK/BK

5290

Ignition Voltage

6

1 PK/BK

5290

Ignition Voltage

7

0.5 GY/WH

3122

HO2S Heater Low Control Bank 2 Sensor 1

8

--

--

Not Used

9

0.5 TN

2759

Low Reference

10

0.5 D-GN/WH

465

Fuel Pump Relay Control

11

0.5 TN

5514

Low Reference

12

--

--

Not Used

13

0.5 YE

492

MAF Sensor Signal

14

0.5 GY

2709

5-Volt Reference

15

0.5 D-BU

1161

APP Sensor 1 Signal

16

--

--

Not Used

17

0.5 OG/BK

1786

Park/Neutral Signal

18

--

--

Not Used

19

0.5 WH

1310

EVAP Canister Vent Solenoid Control

20

0.5 OG/WH

3223

HO2S Heater Low Control (Bank 2 Sensor 2)

21

--

--

Not Used

22

0.5 TN

2760

Low Reference

23

0.5 TN/WH

3121

HO2S Low Signal (Bank 1 Sensor 2)

24

0.5 TN

3221

HO2S Low Signal (Bank 2 Sensor 2)

25

0.5 L-BU

1162

APP Sensor 2 Signal

26

--

--

Not Used

27

0.5 D-GN

890

Fuel Tank Pressure Sensor Signal

28-33

--

--

Not Used

34

0.5 BN

1271

Low Reference

35

0.5 GY

2700

5-Volt Reference 3

36

0.5 PU

1589

Fuel Level Sensor Signal

37

--

--

Not Used

38

0.5 PU

3120

HO2S High Signal (Bank 1 Sensor 2)

39

0.5 OG/BK

380

A/C Refrigerant Pressure Sensor Signal

40

--

--

Not Used

41

0.5 D-BU

5985

Accessory Wakeup Serial Data

42

0.5 TN/BK

2500

High Speed GMLAN Serial Data Bus+

43

--

--

Not Used

44

0.5 D-GN/WH

459

A/C Compressor Clutch Relay Control

45

0.5 D-BU

473

High Speed Cooling Fan Relay Control

46

0.5 D-GN

335

Low Speed Cooling Fan Relay Control

47

0.5 PU

1272

Low Reference

48

0.5 TN

1274

5-Volt Reference 3

49

0.5 WH/BK

1164

5-Volt Reference 2

50

0.5 L-BU

6289

Induction Air Temperature Sensor Signal

51

0.5 PU

3220

HO2S High Signal (Bank 2 Sensor 2)

52

0.5 WH

17

Stop Lamp Switch Signal

53

--

--

Not Used

54

0.5 PK

439

Ignition Voltage

55

0.5 TN

2501

High Speed GMLAN Serial Data Bus-

56

0.5 RD/WH

540

Battery Positive Voltage

57

0.5 YE

447

Starter Relay Coil Control

58

0.5 YE

5991

Main Relay Control

Engine Coolant Temperature (ECT) Sensor (LLT)


Object Number: 784092  Size: CH

Connector Part Information

  • OEM: 1928403874
  • Service: 88988963
  • Description: 2-Way F Kompakt 2.8 Series, Sealed (BK)

Terminal Part Information

  • Terminal/Tray: 1928498054/8
  • Core/Insulation Crimp: E/1
  • Release Tool/Test Probe: J-38125-561/J-35616-35 (VT)

Engine Coolant Temperature (ECT) Sensor (LLT)

Pin

Wire

Circuit

Function

1

0.5 YE

410

ECT Sensor Signal

2

0.5 TN

476

Low Reference

Engine Cooling Fan - Left and Engine Cooling Fan - Right


Object Number: 810077  Size: CH

Connector Part Information

  • OEM: 12191387
  • Service: 13506139
  • Description: 4-Way M Metri-Pack 150 Series (BK)

Terminal Part Information

  • Terminal/Tray: 12129497/1
  • Core/Insulation Crimp: F/5
  • Release Tool/Test Probe: 12094430/J-35616-5 (PU)

Engine Cooling Fan - Left and Engine Cooling Fan - Right

Pin

Wire

Circuit

Function

A

3 BK

250

Right Cooling Fan Motor Ground

B

3 L-BU

409

Right Cooling Fan Motor High Control

C

3 WH

504

Left Cooling Fan Motor High Control

D

3 GY

532

Left Cooling Fan Motor Low Control

Engine Oil Pressure (EOP) Switch (LLT)


Object Number: 516616  Size: CH

Connector Part Information

  • OEM: 12065400
  • Service: 12126436
  • Description: 4-Way F Metri-Pack 150 Series (GN)

Terminal Part Information

  • Terminal/Tray: 12048074/2
  • Core/Insulation Crimp: E/1
  • Release Tool/Test Probe: 12094429/J-35616-14 (GN)

Engine Oil Pressure (EOP) Switch (LLT)

Pin

Wire

Circuit

Function

A

0.5 TN/BK

231

Oil Pressure Switch Signal

B

0.5 TN

407

Low Reference

C-D

--

--

Not Used

Evaporative Emission (EVAP) Canister Purge Solenoid Valve (LLT)


Object Number: 1331450  Size: CH

Connector Part Information

  • OEM: 1928404072
  • Service: 88988586
  • Description: 2-Way F 2.8 Sealed (BK)

Terminal Part Information

  • Terminal/Tray: 1928498056/8
  • Core/Insulation Crimp: E/1
  • Release Tool/Test Probe: J-38125-561/J-35616-35 (VT)

Evaporative Emission (EVAP) Canister Purge Solenoid Valve (LLT)

Pin

Wire

Circuit

Function

1

0.5 PK/BK

5293

Powertrain Main Relay Fused Supply

2

0.5 D-GN/WH

428

EVAP Canister Purge Solenoid Control

Evaporative Emissions (EVAP) Canister Vent Solenoid Valve (LLT)


Object Number: 684795  Size: CH

Connector Part Information

  • OEM: 12052643
  • Service: 12101858
  • Description: 2-Way F Metri-Pack 150 Series Sealed (RD)

Terminal Part Information

  • Terminal/Tray: 12048074/2
  • Core/Insulation Crimp: E/1
  • Release Tool/Test Probe: 12094429/J-35616-2A (GY)

Evaporative Emissions (EVAP) Canister Vent Solenoid Valve (LLT)

Pin

Wire

Circuit

Function

A

0.5 RD/WH

4140

Battery Positive Voltage

B

0.5 WH

1310

EVAP Canister Vent Solenoid Control

Evaporator Temperature Sensor


Object Number: 1459283  Size: CH

Connector Part Information

  • OEM: 1-968704-1
  • Service: See Catalog
  • Description: 2-Way F MQS Series (BK)

Terminal Part Information

  • Terminal/Tray: See Terminal Repair Kit
  • Core/Insulation Crimp: See Terminal Repair Kit
  • Release Tool/Test Probe: See Terminal Repair Kit

Evaporator Temperature Sensor

Pin

Wire

Circuit

Function

1

0.35 WH

2622

Evaporator Temperature Sensor Signal

2

0.35 TN

552

Low Reference

Fog Lamp - Left Front (W49 or WDA with T96)


Object Number: 1413064  Size: CH

Connector Part Information

  • OEM: 12124819
  • Service: 12085498
  • Description: 2-Way F Metri-Pack 280 Series, Sealed (BK)

Terminal Part Information

  • Terminal/Tray: 12077411/2
  • Core/Insulation Crimp: 2/5
  • Release Tool/Test Probe: 12094430/J-35616-4A (PU)

Fog Lamp - Left Front (W49 or WDA with T96)

Pin

Wire

Circuit

Function

A

0.5 PU

34

Front Fog Lamp Voltage

B

0.5 BK

1350

Ground

Fog Lamp - Left Front (Z88)


Object Number: 1862046  Size: CH

Connector Part Information

  • OEM: 13513272
  • Service: See Catalog
  • Description: 2-Way F GT 150 Series, Sealed (BK)

Terminal Part Information

  • Pins: A
  • Terminal/Tray: 12191812/19
  • Core/Insulation Crimp: E/C
  • Release Tool/Test Probe: 15315247/J-35616-2A (GY)
  • Pins: B
  • Terminal/Tray: 15496531/8
  • Core/Insulation Crimp: E/A
  • Release Tool/Test Probe: 15315247/J-35616-2A (GY)

Fog Lamp - Left Front (Z88)

Pin

Wire

Circuit

Function

A

0.5 PU

34

Front Fog Lamp Voltage

B

0.35 BK

1250

Ground

Fog Lamp - Right Front (W49 or WDA with T96)


Object Number: 1413064  Size: CH

Connector Part Information

  • OEM: 12124819
  • Service: 12085498
  • Description: 2-Way F Metri-Pack 280 Series, Sealed (BK)

Terminal Part Information

  • Terminal/Tray: 12077411/2
  • Core/Insulation Crimp: 2/5
  • Release Tool/Test Probe: 12094430/J-35616-4A (PU)

Fog Lamp - Right Front (W49 or WDA with T96)

Pin

Wire

Circuit

Function

A

0.5 PU

34

Front Fog Lamp Voltage

B

0.5 BK

1350

Ground

Fog Lamp - Right Front (Z88)


Object Number: 1862046  Size: CH

Connector Part Information

  • OEM: 13513272
  • Service: See Catalog
  • Description: 2-Way F GT 150 Series, Sealed (BK)

Terminal Part Information

  • Terminal/Tray: 15496531/8
  • Core/Insulation Crimp: E/A
  • Release Tool/Test Probe: 15315247/J-35616-2A (GY)

Fog Lamp - Right Front (Z88)

Pin

Wire

Circuit

Function

A

0.5 PU

34

Front Fog Lamp Voltage

B

0.35 BK

1350

Ground

Fuel Injector 1 (LLT)


Object Number: 784092  Size: CH

Connector Part Information

  • OEM: 1928403874
  • Service: See Catalog
  • Description: 2-Way F Sealed (BK)

Terminal Part Information

  • Terminal/Tray: See Terminal Repair Kit
  • Core/Insulation Crimp: See Terminal Repair Kit
  • Release Tool/Test Probe: See Terminal Repair Kit

Fuel Injector 1 (LLT)

Pin

Wire

Circuit

Function

1

1 TN

4801

Direct Fuel Injector (DFI) High Voltage Control Cylinder 1

2

1 BK

4901

Direct Fuel Injector (DFI) High Voltage Cylinder 1

Fuel Injector 2 (LLT)


Object Number: 784092  Size: CH

Connector Part Information

  • OEM: 1928403874
  • Service: See Catalog
  • Description: 2-Way F Sealed (BK)

Terminal Part Information

  • Terminal/Tray: See Terminal Repair Kit
  • Core/Insulation Crimp: See Terminal Repair Kit
  • Release Tool/Test Probe: See Terminal Repair Kit

Fuel Injector 2 (LLT)

Pin

Wire

Circuit

Function

1

1 TN

4802

Direct Fuel Injector (DFI) High Voltage Control Cylinder 2

2

1 BK

4902

Direct Fuel Injector (DFI) High Voltage Cylinder 2

Fuel Injector 3 (LLT)


Object Number: 784092  Size: CH

Connector Part Information

  • OEM: 1928403874
  • Service: See Catalog
  • Description: 2-Way F Sealed (BK)

Terminal Part Information

  • Terminal/Tray: See Terminal Repair Kit
  • Core/Insulation Crimp: See Terminal Repair Kit
  • Release Tool/Test Probe: See Terminal Repair Kit

Fuel Injector 3 (LLT)

Pin

Wire

Circuit

Function

1

1 TN

4803

Direct Fuel Injector (DFI) High Voltage Control Cylinder 3

2

1 BK

4903

Direct Fuel Injector (DFI) High Voltage Cylinder 3

Fuel Injector 4 (LLT)


Object Number: 784092  Size: CH

Connector Part Information

  • OEM: 1928403874
  • Service: See Catalog
  • Description: 2-Way F Sealed (BK)

Terminal Part Information

  • Terminal/Tray: See Terminal Repair Kit
  • Core/Insulation Crimp: See Terminal Repair Kit
  • Release Tool/Test Probe: See Terminal Repair Kit

Fuel Injector 4 (LLT)

Pin

Wire

Circuit

Function

1

1 TN

4804

Direct Fuel Injector (DFI) High Voltage Control Cylinder 4

2

1 BK

4904

Direct Fuel Injector (DFI) High Voltage Cylinder 4

Fuel Injector 5 (LLT)


Object Number: 784092  Size: CH

Connector Part Information

  • OEM: 1928403874
  • Service: See Catalog
  • Description: 2-Way F Sealed (BK)

Terminal Part Information

  • Terminal/Tray: See Terminal Repair Kit
  • Core/Insulation Crimp: See Terminal Repair Kit
  • Release Tool/Test Probe: See Terminal Repair Kit

Fuel Injector 5 (LLT)

Pin

Wire

Circuit

Function

1

1 TN

4805

Direct Fuel Injector (DFI) High Voltage Control Cylinder 5

2

1 BK

4905

Direct Fuel Injector (DFI) High Voltage Cylinder 5

Fuel Injector 6 (LLT)


Object Number: 784092  Size: CH

Connector Part Information

  • OEM: 1928403874
  • Service: See Catalog
  • Description: 2-Way F Sealed (BK)

Terminal Part Information

  • Terminal/Tray: See Terminal Repair Kit
  • Core/Insulation Crimp: See Terminal Repair Kit
  • Release Tool/Test Probe: See Terminal Repair Kit

Fuel Injector 6 (LLT)

Pin

Wire

Circuit

Function

1

1 TN

4806

Direct Fuel Injector (DFI) High Voltage Control Cylinder 6

2

1 BK

4906

Direct Fuel Injector (DFI) High Voltage Cylinder 6

Fuel Pump and Sender Assembly (LLT)


Object Number: 684908  Size: CH

Connector Part Information

  • OEM: 15127959
  • Service: 15306360
  • Description: 4-Way F GT 280 Series Sealed 5.8 (BK)

Terminal Part Information

  • Terminal/Tray: 15304719/19
  • Core/Insulation Crimp: Pins A, D: 2/5
  • Core/Insulation Crimp: Pins B, C: E/5
  • Release Tool/Test Probe: 15315247/J-35616-4A (PU)

Fuel Pump and Sender Assembly (LLT)

Pin

Wire

Circuit

Function

A

2 PK

1580

Fuel Pump Motor Low Reference

B

2 GY

120

Fuel Pump Voltage

C

0.35 TN

2759

Low Reference

D

0.5 PU

1589

Fuel Level Sensor Signal

Fuel Pump Flow Control Module (LLT)


Object Number: 1711002  Size: CH

Connector Part Information

  • OEM: ASGPB-47R1A-K
  • Service: See Catalog
  • Description: 47-Way F ASG Series (BK)

Terminal Part Information

  • Terminal/Tray: See Terminal Repair Kit
  • Core/Insulation Crimp: See Terminal Repair Kit
  • Release Tool/Test Probe: See Terminal Repair Kit

Fuel Pump Flow Control Module (LLT)

Pin

Wire

Circuit

Function

1

3 BK

650

Ground

2-4

--

--

Not Available

5

0.35 GY

7447

Low Reference

6

0.35 TN

2501

High Speed GMLAN Serial Data -

7

0.35 TN/BK

2500

High Speed GMLAN Serial Data +

8-9

--

--

Not Available

10

0.35 PU

7446

Fuel Line Pressure Sensor Signal

11-12

--

--

Not Available

13

0.35 D-GN/WH

465

Fuel Pump Relay Control

14

--

--

Not Available

15

0.35 PK

439

Ignition Voltage

16

2 PK

1580

Low Reference

17

0.5 L-BU

5986

Serial Data Communication Enable

18-20

--

--

Not Available

21

0.35 TN

2501

High Speed GMLAN Serial Data -

22

0.35 TN/BK

2500

High Speed GMLAN Serial Data +

23-31

--

--

Not Available

32

3 RD/WH

2940

Battery Positive Voltage

33-35

--

--

Not Available

36

0.35 BN

7445

5-Volt Reference

37-43

--

--

Not Available

44

0.5 GY

7443

Drain Wire

45-46

--

--

Not Available

47

2 GY

120

Fuel Pump Voltage

Fuel Pressure Sensor (LLT)


Object Number: 1860942  Size: CH

Connector Part Information

  • OEM: 19115173
  • Service: 19168035
  • Description: 3-Way F Sealed (BK)

Terminal Part Information

  • Terminal/Tray: See Terminal Repair Kit
  • Core/Insulation Crimp: See Terminal Repair Kit
  • Release Tool/Test Probe: See Terminal Repair Kit

Fuel Pressure Sensor (LLT)

Pin

Wire

Circuit

Function

1

0.35 PU

7446

Fuel Line Pressure Sensor Signal

2

0.35 GY

7447

Fuel Line Pressure Sensor Signal

3

0.35 BN

7445

5-Volt Reference

Fuel Rail Pressure (FRP) Sensor (LLT)


Object Number: 1331443  Size: CH

Connector Part Information

  • OEM: 1928403966
  • Service: See Catalog
  • Description: 3-Way F Sealed (BK)

Terminal Part Information

  • Terminal/Tray: See Terminal Repair Kit
  • Core/Insulation Crimp: See Terminal Repair Kit
  • Release Tool/Test Probe: See Terminal Repair Kit

Fuel Rail Pressure (FRP) Sensor (LLT)

Pin

Wire

Circuit

Function

1

0.5 TN

808

Low Reference

2

0.5 YE

2918

FRP Sensor Signal

3

0.5 GY

598

5-Volt Reference 1

Fuel Tank Pressure (FTP) Sensor (LLT)


Object Number: 1664596  Size: CH

Connector Part Information

  • OEM: 88988720
  • Service: 19149288
  • Description: 3-Way F Metri-Pack 150 Series Sealed (BK)

Terminal Part Information

  • Terminal/Tray: See Terminal Repair Kit
  • Core/Insulation Crimp: See Terminal Repair Kit
  • Release Tool/Test Probe: See Terminal Repair Kit

Fuel Tank Pressure (FTP) Sensor (LLT)

Pin

Wire

Circuit

Function

1

0.35 D-GN

890

Fuel Tank Pressure Sensor Signal

2

0.35 TN

2759

Low Reference

3

0.35 GY

2709

5-Volt Reference

Garage Door Opener (UG1)


Object Number: 406848  Size: CH

Connector Part Information

  • OEM: 09016038
  • Service: See Catalog
  • Description: 3-Way M P/C Egdeboard (NA)

Terminal Part Information

  • Terminal/Tray: 08-50-0115/20
  • Core/Insulation Crimp: E/C
  • Release Tool/Test Probe: J-38125-213/J-35616-4A (PU)

Garage Door Opener (UG1)

Pin

Wire

Circuit

Function

1

0.5 RD/WH

3140

Battery Positive Voltage

2

0.5 GY

8

Instrument Panel Lamp Voltage

3

0.5 BK

850

Ground

Generator X1


Object Number: 1522871  Size: CH

Connector Part Information

  • OEM: 1928403137
  • Service: 89046837
  • Description: 2-Way F 2.8 Junior Power Timer (BK)

Terminal Part Information

  • Terminal/Tray: 4-964286-1/16
  • Core/Insulation Crimp: E/1
  • Release Tool/Test Probe: 12093647/J-35616-4A (PU)

Generator X1

Pin

Wire

Circuit

Function

1

0.5 OG

225

Generator Turn On Signal

2

0.5 GY

23

Generator Field Duty Cycle Signal

Generator X2

Connector Part Information

  • OEM: 7003-1171-02
  • Core/Insulation Crimp: N/A
  • Description: Ring Terminal

Generator X2

Pin

Wire

Circuit

Function

A

19 RD/BK

1

Battery Positive Voltage

Hazard Switch


Object Number: 333035  Size: CH

Connector Part Information

  • OEM: 12047781
  • Service: 12101864
  • Description: 3-Way F Metri-Pack 150 Series (BK)

Terminal Part Information

  • Pins: A
  • Terminal/Tray: 12047767/2
  • Core/Insulation Crimp: E/A
  • Release Tool/Test Probe: 12094429/J-35616-14 (GN)
  • Pins: B, C
  • Terminal/Tray: 12064971/5
  • Core/Insulation Crimp: E/C
  • Release Tool/Test Probe: 12094429/J-35616-14 (GN)

Hazard Switch

Pin

Wire

Circuit

Function

A

0.8 GY

8

Instrument Panel Lamp Voltage

B

0.35 BK

750

Ground

C

0.35 TN

2144

Hazard Switch Signal

Head Up Display (HUD) (UV6)


Object Number: 483131  Size: CH

Connector Part Information

  • OEM: 175964-2
  • Service: 15306185
  • Description: 8-Way F AMP Multilock 040 MarkII (BK)

Terminal Part Information

  • Terminal/Tray: 173681-2/17
  • Core/Insulation Crimp: E/4
  • Release Tool/Test Probe: 15315247/J-35616-16 (L-GN)

Head Up Display (HUD) (UV6)

Pin

Wire

Circuit

Function

1

0.35 D-GN

5060

Low Speed GMLAN Serial Data

2

--

--

Not Used

3

0.35 BN

622

HUD Switch Signal

4

0.35 BK/WH

1551

Ground

5

0.35 L-BU/BK

5812

HUD Off/Dimming Control

6

0.5 RD/WH

4540

Battery Positive Voltage

7

--

--

Not Used

8

0.35 L-GN/BK

5699

Low Reference

Head Up Display (HUD) Switch (UV6)


Object Number: 1862240  Size: CH

Connector Part Information

  • OEM: 15269798
  • Service: See Catalog
  • Description: 6-Way F AIT II Series (BK)

Terminal Part Information

  • Terminal/Tray: 7116-4618-02/14
  • Core/Insulation Crimp: P/P
  • Release Tool/Test Probe: J-38125-215/J-35616-64B (L-BU)

Head Up Display (HUD) Switch (UV6)

Pin

Wire

Circuit

Function

1

--

--

Not Used

2

0.35 L-BU/BK

5812

HUD Off/Dimming Control

3

0.35 L-GN/BK

5699

Low Reference

4

0.35 BK

1450

Ground

5

0.35 PU/WH

1382

LED Dimming Signal

6

0.35 BN

622

HUD Switch Signal

Headlamp - Left (WDA with TVD)


Object Number: 1860727  Size: CH

Connector Part Information

  • OEM: 0-1418889
  • Service: See Catalog
  • Description: 16-Way F (BK)

Terminal Part Information

  • Terminal/Tray: See Terminal Repair Kit
  • Core/Insulation Crimp: See Terminal Repair Kit
  • Release Tool/Test Probe: See Terminal Repair Kit

Headlamp - Left (WDA with TVD)

Pin

Wire

Circuit

Function

5

0.8 YE

--

Left Headlamp Low Beam Voltage

6

0.8 BK

--

Ground

7

--

--

Not Used

8

0.5 D-GN/WH

--

Left Headlamp High Beam Voltage

9

0.5 BK

--

Ground

10-21

--

--

Not Used

Headlamp - Left (Z88 with TVD or W49)


Object Number: 1884162  Size: CH

Connector Part Information

  • OEM: VECR-07 (04)
  • Service: See Catalog
  • Description: 7-Way F (BK)

Terminal Part Information

  • Terminal/Tray: See Terminal Repair Kit
  • Core/Insulation Crimp: See Terminal Repair Kit
  • Release Tool/Test Probe: See Terminal Repair Kit

Headlamp - Left (Z88 with TVD or W49)

Pin

Wire

Circuit

Function

1

COAX

--

High Intensity Discharge

2

COAX

--

High Intensity Discharge

3

COAX

--

High Intensity Discharge

4-5

--

--

Not Used

6

0.8 BK

--

Ground

7

0.8 RD

--

Left Headlamp Low Beam Voltage (Z88)

0.8 PU

--

Left Headlamp Low Beam Voltage (W49)

Headlamp - Left High Beam (WDA without TVD)


Object Number: 1232375  Size: CH

Connector Part Information

  • OEM: 699707-1
  • Service: See Catalog
  • Description: 2-Way F Two-Position Receptacle Housing (BK)

Terminal Part Information

  • Terminal/Tray: See Terminal Repair Kit
  • Core/Insulation Crimp: See Terminal Repair Kit
  • Release Tool/Test Probe: See Terminal Repair Kit

Headlamp - Left High Beam (WDA without TVD)

Pin

Wire

Circuit

Function

A

0.5 BK

--

Ground

B

0.5 D-GN/WH

--

Left Headlamp High Beam Voltage

Headlamp - Left High Beam (X88)


Object Number: 684797  Size: CH

Connector Part Information

  • OEM: 12059182
  • Service: 12101898
  • Description: 2-Way F Metri-Pack 280 Series, Sealed (BK)

Terminal Part Information

  • Terminal/Tray: See Terminal Repair Kit
  • Core/Insulation Crimp: See Terminal Repair Kit
  • Release Tool/Test Probe: See Terminal Repair Kit

Headlamp - Left High Beam (X88)

Pin

Wire

Circuit

Function

A

1.25 BK

--

Ground

B

1.25 BK

--

Left Headlamp High Beam Voltage

Headlamp - Left High Beam (Z88 without TVD)


Object Number: 1884163  Size: CH

Connector Part Information

  • OEM: 1544352-1
  • Service: See Catalog
  • Description: 2-Way F 2-Position Receptacle Housing (BK)

Terminal Part Information

  • Terminal/Tray: See Terminal Repair Kit
  • Core/Insulation Crimp: See Terminal Repair Kit
  • Release Tool/Test Probe: See Terminal Repair Kit

Headlamp - Left High Beam (Z88 without TVD)

Pin

Wire

Circuit

Function

1

1.5 BK

--

Ground

A

1.5 WH

--

Right Headlamp High Beam Voltage

Headlamp - Left High Beam Solenoid (W49)


Object Number: 1960044  Size: CH

Connector Part Information

  • OEM: XLP-02V
  • Service: See Catalog
  • Description: 2-Way F XL Series (WH)

Terminal Part Information

  • Terminal/Tray: See Terminal Repair Kit
  • Core/Insulation Crimp: See Terminal Repair Kit
  • Release Tool/Test Probe: See Terminal Repair Kit

Headlamp - Left High Beam Solenoid (W49)

Pin

Wire

Circuit

Function

1

0.35 BK

--

Ground

2

0.35 GY

--

Left Headlamp High Beam Voltage

Headlamp - Left High Beam Solenoid (WDA with TVD)


Object Number: 1870226  Size: CH

Connector Part Information

  • OEM: 968705-9
  • Service: 88953152
  • Description: 3-Way F MQS Series (L-BU)

Terminal Part Information

  • Terminal/Tray: See Terminal Repair Kit
  • Core/Insulation Crimp: See Terminal Repair Kit
  • Release Tool/Test Probe: See Terminal Repair Kit

Headlamp - Left High Beam Solenoid (WDA with TVD)

Pin

Wire

Circuit

Function

1

0.5 GN/WH

--

Left Headlamp High Beam Voltage

2

--

--

Not Used

3

0.5 BK

 

Ground

Headlamp - Left High Beam Solenoid (Z88 with TVD)


Object Number: 1871119  Size: CH

Connector Part Information

  • OEM: 0-925014-1-2W
  • Service: See Catalog
  • Description: 2-Way F 2.8 Series (WH)

Terminal Part Information

  • Terminal/Tray: See Terminal Repair Kit
  • Core/Insulation Crimp: See Terminal Repair Kit
  • Release Tool/Test Probe: See Terminal Repair Kit

Headlamp - Left High Beam Solenoid (Z88 with TVD)

Pin

Wire

Circuit

Function

I

1.5 BK

--

Ground

II

1.5 WH

--

Left Headlamp High Beam Voltage

Headlamp - Left Low Beam (WDA without TVD)


Object Number: 1413064  Size: CH

Connector Part Information

  • OEM: 12059183
  • Service: See Catalog
  • Description: 2-Way F H11 Lamp Socket

Terminal Part Information

  • Terminal/Tray: See Terminal Repair Kit
  • Core/Insulation Crimp: See Terminal Repair Kit
  • Release Tool/Test Probe: See Terminal Repair Kit

Headlamp - Left Low Beam (WDA without TVD)

Pin

Wire

Circuit

Function

A

0.5 BK

--

Ground

B

0.5 YE

--

Left Headlamp Low Beam Voltage

Headlamp - Left Low Beam (X88 or Z88 without TVD)


Object Number: 1413064  Size: CH

Connector Part Information

  • OEM: 92095787
  • Service: See Catalog
  • Description: 2-Way F H11 Lamp Socket

Terminal Part Information

  • Terminal/Tray: See Terminal Repair Kit
  • Core/Insulation Crimp: See Terminal Repair Kit
  • Release Tool/Test Probe: See Terminal Repair Kit

Headlamp - Left Low Beam (X88 or Z88 without TVD)

Pin

Wire

Circuit

Function

A

1.5 RD

--

Left Headlamp Low Beam Voltage (Z88)

1.25 RD

--

Ground (X88)

B

1.5 BK

--

Ground (Z88)

1.25 RD

--

Left Headlamp Low Beam Voltage (X88)

Headlamp - Right (WDA with TVD)


Object Number: 1860727  Size: CH

Connector Part Information

  • OEM: 0-1418889
  • Service: See Catalog
  • Description: 16-Way F (BK)

Terminal Part Information

  • Terminal/Tray: See Terminal Repair Kit
  • Core/Insulation Crimp: See Terminal Repair Kit
  • Release Tool/Test Probe: See Terminal Repair Kit

Headlamp - Right (WDA with TVD)

Pin

Wire

Circuit

Function

5

0.8 YE

--

Right Headlamp Low Beam Voltage

6

0.8 BK

--

Ground

7

--

--

Not Used

8

0.5 D-GN/WH

--

Right Headlamp High Beam Voltage

9

0.5 BK

--

Ground

10-21

--

--

Not Used

Headlamp - Right (Z88 with TVD or W49)


Object Number: 1884162  Size: CH

Connector Part Information

  • OEM: VECR-07(04)
  • Service: See Catalog
  • Description: 7-Way F (BK)

Terminal Part Information

  • Terminal/Tray: See Terminal Repair Kit
  • Core/Insulation Crimp: See Terminal Repair Kit
  • Release Tool/Test Probe: See Terminal Repair Kit

Headlamp - Right (Z88 with TVD or W49)

Pin

Wire

Circuit

Function

1

COAX

--

High Intensity Discharge

2

COAX

--

High Intensity Discharge

3

COAX

--

High Intensity Discharge

4-5

--

--

Not Used

6

0.8 BK

--

Ground

7

0.8 RD

--

Right Headlamp Low Beam Voltage (Z88)

0.8 PU

--

Right Headlamp Low Beam Voltage (W49)

Headlamp - Right High Beam (WDA without TVD)


Object Number: 1232375  Size: CH

Connector Part Information

  • OEM: 699707-1
  • Service: See Catalog
  • Description: 2-Way F 2-Position Receptacle Housing (BK)

Terminal Part Information

  • Terminal/Tray: See Terminal Repair Kit
  • Core/Insulation Crimp: See Terminal Repair Kit
  • Release Tool/Test Probe: See Terminal Repair Kit

Headlamp - Right High Beam (WDA without TVD)

Pin

Wire

Circuit

Function

A

0.5 BK

--

Ground

B

0.5 D-GN/WH

--

Right Headlamp High Beam Voltage

Headlamp - Right High Beam (X88)


Object Number: 684797  Size: CH

Connector Part Information

  • OEM: 12059182
  • Service: 12101898
  • Description: 2-Way F Metri-Pack 280 Series, Sealed (BK)

Terminal Part Information

  • Terminal/Tray: See Terminal Repair Kit
  • Core/Insulation Crimp: See Terminal Repair Kit
  • Release Tool/Test Probe: See Terminal Repair Kit

Headlamp - Right High Beam (X88)

Pin

Wire

Circuit

Function

A

1.25 BK

--

Ground

B

1.25 BK

--

Right Headlamp High Beam Voltage

Headlamp - Right High Beam (Z88 without TVD)


Object Number: 1884163  Size: CH

Connector Part Information

  • OEM: 1544352-1
  • Service: See Catalog
  • Description: 2-Way F 2-Position Receptacle Housing (BK)

Terminal Part Information

  • Terminal/Tray: See Terminal Repair Kit
  • Core/Insulation Crimp: See Terminal Repair Kit
  • Release Tool/Test Probe: See Terminal Repair Kit

Headlamp - Right High Beam (Z88 without TVD)

Pin

Wire

Circuit

Function

1

1.5 BK

--

Ground

A

1.5 WH

--

Right Headlamp High Beam Voltage

Headlamp - Right High Beam Solenoid (W49)


Object Number: 1960044  Size: CH

Connector Part Information

  • OEM: XLP-02V
  • Service: See Catalog
  • Description: 2-Way F XL Series (WH)

Terminal Part Information

  • Terminal/Tray: See Terminal Repair Kit
  • Core/Insulation Crimp: See Terminal Repair Kit
  • Release Tool/Test Probe: See Terminal Repair Kit

Headlamp - Right High Beam Solenoid (W49)

Pin

Wire

Circuit

Function

1

0.35 BK

--

Ground

2

0.35 GY

--

Right Headlamp High Beam Voltage

Headlamp - Right High Beam Solenoid (WDA with TVD)


Object Number: 1870226  Size: CH

Connector Part Information

  • OEM: 968705-9
  • Service: 88953152
  • Description: 3-Way F MQS Series (L-BU)

Terminal Part Information

  • Terminal/Tray: See Terminal Repair Kit
  • Core/Insulation Crimp: See Terminal Repair Kit
  • Release Tool/Test Probe: See Terminal Repair Kit

Headlamp - Right High Beam Solenoid (WDA with TVD)

Pin

Wire

Circuit

Function

1

0.5 GN/WH

--

Right Headlamp High Beam Voltage

2

--

--

Not Used

3

0.5 BK

 

Ground

Headlamp - Right High Beam Solenoid (Z88 with TVD)


Object Number: 1871119  Size: CH

Connector Part Information

  • OEM: 0-925014-1-2W
  • Service: See Catalog
  • Description: 2-Way F 2.8 Series (WH)

Terminal Part Information

  • Terminal/Tray: See Terminal Repair Kit
  • Core/Insulation Crimp: See Terminal Repair Kit
  • Release Tool/Test Probe: See Terminal Repair Kit

Headlamp - Right High Beam Solenoid (Z88 with TVD)

Pin

Wire

Circuit

Function

I

1.5 BK

--

Ground

II

1.5 WH

--

Right Headlamp High Beam Voltage

Headlamp - Right Low Beam (WDA without TVD)


Object Number: 1413064  Size: CH

Connector Part Information

  • OEM: 12059183
  • Service: See Catalog
  • Description: 2-Way F H11 Lamp Socket

Terminal Part Information

  • Terminal/Tray: See Terminal Repair Kit
  • Core/Insulation Crimp: See Terminal Repair Kit
  • Release Tool/Test Probe: See Terminal Repair Kit

Headlamp - Right Low Beam (WDA without TVD)

Pin

Wire

Circuit

Function

A

0.5 BK

--

Ground

B

0.5 YE

--

Right Headlamp Low Beam Voltage

Headlamp - Right Low Beam (X88 or Z88 without TVD)


Object Number: 1413064  Size: CH

Connector Part Information

  • OEM: 92095787
  • Service: See Catalog
  • Description: 2-Way F H11 Lamp Socket

Terminal Part Information

  • Terminal/Tray: See Terminal Repair Kit
  • Core/Insulation Crimp: See Terminal Repair Kit
  • Release Tool/Test Probe: See Terminal Repair Kit

Headlamp - Right Low Beam (X88 or Z88 without TVD)

Pin

Wire

Circuit

Function

A

1.5 RD

--

Right Headlamp Low Beam Voltage (Z88)

1.25 RD

--

Ground (X88)

B

1.5 BK

--

Ground (Z88)

1.25 RD

--

Right Headlamp Low Beam Voltage (X88)

Headlamp Control Module - Left High Beam (W49)


Object Number: 1960043  Size: CH

Connector Part Information

  • OEM: XARP-05V
  • Service: See Catalog
  • Description: 5-Way F XA Series (BK)

Terminal Part Information

  • Terminal/Tray: See Terminal Repair Kit
  • Core/Insulation Crimp: See Terminal Repair Kit
  • Release Tool/Test Probe: See Terminal Repair Kit

Headlamp Control Module - Left High Beam (W49)

Pin

Wire

Circuit

Function

1

0.35 GY

--

Left Headlamp High Beam Voltage

2

0.35 BK

--

Ground

3

--

--

Not Used

4

0.35 BK

--

Ground

5

0.35 GY

--

Left Headlamp High Beam Voltage

Headlamp Control Module - Right High Beam (W49)


Object Number: 1960043  Size: CH

Connector Part Information

  • OEM: XARP-05V
  • Service: See Catalog
  • Description: 5-Way F XA Series (BK)

Terminal Part Information

  • Terminal/Tray: See Terminal Repair Kit
  • Core/Insulation Crimp: See Terminal Repair Kit
  • Release Tool/Test Probe: See Terminal Repair Kit

Headlamp Control Module - Right High Beam (W49)

Pin

Wire

Circuit

Function

1

0.35 GY

--

Right Headlamp High Beam Voltage

2

0.35 BK

--

Ground

3

--

--

Not Used

4

0.35 BK

--

Ground

5

0.35 GY

--

Right Headlamp High Beam Voltage

Headlamp Control Module (TSH)


Object Number: 1960038  Size: CH

Connector Part Information

  • OEM: HLP-12V
  • Service: See Catalog
  • Description: 12-Way F HL Series (BK)

Terminal Part Information

  • Terminal/Tray: See Terminal Repair Kit
  • Core/Insulation Crimp: See Terminal Repair Kit
  • Release Tool/Test Probe: See Terminal Repair Kit

Headlamp Control Module (TSH)

Pin

Wire

Circuit

Function

1

0.35 RD

--

Communication Enable

2

0.35 WH

--

High Speed GMLAN Serial Data Bus-

3

0.35 YE

--

High Speed GMLAN Serial Data Bus+

4

0.35 BK

--

Ground

5

0.35 OG

--

Linear Interconnect Network (LIN)

6

0.35 RD

--

Battery Positive Voltage

7

0.5 RD

--

Battery Positive Voltage

8-9

--

--

Not Used

10

0.35 BK

--

Ground

11

0.35 OG

--

Linear Interconnect Network (LIN)

12

0.35 RD

--

Battery Positive Voltage

Headlamp Switch


Object Number: 850856  Size: CH

Connector Part Information

  • OEM: 15416970
  • Service: See Catalog
  • Description: 16-Way F Micro-Pack 64 Series (BK)

Terminal Part Information

  • Terminal/Tray: 15359541/4
  • Core/Insulation Crimp: M/M
  • Release Tool/Test Probe: 15381651-2/J-35616-64B (L-BU)

Headlamp Switch

Pin

Wire

Circuit

Function

1

0.35 WH

103

Headlamp Switch Headlamps On Signal

2

0.35 BN/WH

301

Rear Park Lamps Voltage

3

0.35 D-GN

306

Headlamp Switch Headlamps Off Signal

4-5

--

--

Not Used

6

0.35 OG

192

Fog Lamps Enable (T96)

7

0.35 PU/WH

1382

LED Dimming Signal

8

0.8 BK/WH

1551

Ground

9

0.35 PU

328

Interior Lamp Switch Signal

10

0.35 L-GN

6096

Washer Fluid Heated Control Switch Signal (XA7)

11

--

--

Not Used

12

0.35 PK/BK

1597

Courtesy Lamps Switch On Signal

13

0.35 D-GN

44

Instrument Panel Lamps Dimmer Switch Signal

14

--

--

Not Used

15

0.35 OG/WH

812

12-Volt Reference

16

--

--

Not Used

Heated and Cooled Seat Switch - Driver (KB6)


Object Number: 1399235  Size: CH

Connector Part Information

  • OEM: 30700-1100
  • Service: See Catalog
  • Description: 10-Way F HDAC64 DR Series (GY)

Terminal Part Information

  • Terminal/Tray: 1393364-2/7
  • Core/Insulation Crimp: K/K
  • Release Tool/Test Probe: 15315247/J-35616-64B (L-BU)

Heated and Cooled Seat Switch - Driver (KB6)

Pin

Wire

Circuit

Function

1

0.35 BN

6173

Driver Heated Seat Switch Back Cushion LED

2

--

--

Not Used

3

0.35 PU/WH

1382

LED Dimming Signal

4

0.35 D-BU

6172

Driver Heated Seat Switch Back Cushion Signal

5

0.35 GY

6175

Driver Heated Seat Switch Back Signal

6

0.35 L-BU

1662

Driver Heated Seat Low Temperature Indicator Control

7

0.5 BK

750

Ground

8

0.35 WH/BK

6177

Driver Heated Seat Medium Indicator Control

9

0.35 PU

6174

Driver Heated Seat Switch Back LED

10

0.35 D-GN

1661

Driver Heated Seat High Temperature Indicator Control

Heated and Cooled Seat Switch - Passenger (KB6)


Object Number: 1399235  Size: CH

Connector Part Information

  • OEM: 30700-1101
  • Service: See Catalog
  • Description: 10-Way F HDAC64 DR Series (BK)

Terminal Part Information

  • Terminal/Tray: 1393364-2/7
  • Core/Insulation Crimp: K/K
  • Release Tool/Test Probe: 15315247/J-35616-64B (L-BU)

Heated and Cooled Seat Switch - Passenger (KB6)

Pin

Wire

Circuit

Function

1

0.35 BN

6179

Passenger Heated Seat Switch Back Cushion LED

2

--

--

Not Used

3

0.35 PU/WH

1382

LED Dimming Signal

4

0.35 D-BU

6180

Passenger Heated Seat Switch Back Cushion Signal

5

0.35 GY

6182

Passenger Heated Seat Switch Back Signal

6

0.35 TN

1686

Passenger Heated Seat Low Temperature Indicator Control

7

0.5 BK

750

Ground

8

0.35 WH/BK

6185

Passenger Heated Seat Medium Indicator Control

9

0.35 PU

6181

Passenger Heated Seat Switch Back LED

10

0.35 YE

1685

Passenger Heated Seat High Temperature Indicator Control

Heated Oxygen Sensor (HO2S) Bank 1 Sensor 1 (LLT)


Object Number: 831392  Size: CH

Connector Part Information

  • OEM: 12092839
  • Service: 15305960
  • Description: 5-Way M Metri-Pack 150 Sealed (BK)

Terminal Part Information

  • Terminal/Tray: 12048074/2
  • Core/Insulation Crimp: E/1
  • Release Tool/Test Probe: 12094429/J-35616-14 (GN)

Heated Oxygen Sensor (HO2S) Bank 1 Sensor 1 (LLT)

Pin

Wire

Circuit

Function

A

0.5 TN/WH

3111

HO2S Low Signal (Bank 1 Sensor 1)

B

0.5 PU/WH

3110

HO2S High Signal (Bank 1 Sensor 1)

C

--

--

Not Used

D

0.5 PK/BK

5293

Powertrain Main Relay Fused Supply

E

0.5 GY/WH

3113

HO2S Heater Low Control (Bank 1 Sensor 1)

Heated Oxygen Sensor (HO2S) Bank 1 Sensor 2 (LLT)


Object Number: 831392  Size: CH

Connector Part Information

  • OEM: 12092839
  • Service: 15305960
  • Description: 5-Way M Metri-Pack 150 Sealed (BK)

Terminal Part Information

  • Terminal/Tray: 12048074/2
  • Core/Insulation Crimp: E/1
  • Release Tool/Test Probe: 12094429/J-35616-14 (GN)

Heated Oxygen Sensor (HO2S) Bank 1 Sensor 2 (LLT)

Pin

Wire

Circuit

Function

A

0.5 TN/WH

3121

HO2S Low Signal (Bank 1 Sensor 2)

B

0.5 PU

3120

HO2S High Signal (Bank 1 Sensor 2)

C

--

--

Not Used

D

0.5 PK/BK

5293

Powertrain Main Relay Fused Supply

E

0.5 GY/WH

3122

HO2S Heater Low Control (Bank 1 Sensor 2)

Heated Oxygen Sensor (HO2S) Bank 2 Sensor 1 (LLT)


Object Number: 831392  Size: CH

Connector Part Information

  • OEM: 12092839
  • Service: 15305960
  • Description: 5-Way M Metri-Pack 150 Sealed (BK)

Terminal Part Information

  • Terminal/Tray: 12048074/2
  • Core/Insulation Crimp: E/1
  • Release Tool/Test Probe: 12094429/J-35616-14 (GN)

Heated Oxygen Sensor (HO2S) Bank 2 Sensor 1 (LLT)

Pin

Wire

Circuit

Function

A

0.5 TN/WH

3211

HO2S Low Signal (Bank 2 Sensor 1)

B

0.5 PU/WH

3210

HO2S High Signal (Bank 2 Sensor 1)

C

--

--

Not Used

D

0.5 PK/BK

5293

Powertrain Main Relay Fused Supply

E

0.5 L-GN

3212

HO2S Heater Low Control (Bank 2 Sensor 1)

Heated Oxygen Sensor (HO2S) Bank 2 Sensor 2 (LLT)


Object Number: 831392  Size: CH

Connector Part Information

  • OEM: 12092839
  • Service: 15305960
  • Description: 5-Way M Metri-Pack 150 Sealed (BK)

Terminal Part Information

  • Terminal/Tray: 12048074/2
  • Core/Insulation Crimp: E/1
  • Release Tool/Test Probe: 12094429/J-35616-14 (GN)

Heated Oxygen Sensor (HO2S) Bank 2 Sensor 2 (LLT)

Pin

Wire

Circuit

Function

A

0.5 TN

3221

HO2S Low Signal (Bank 2 Sensor 2)

B

0.5 PU

3220

HO2S High Signal (Bank 2 Sensor 2)

C

--

--

Not Used

D

0.5 PK/BK

5293

Powertrain Main Relay Fused Supply

E

0.5 OG/WH

3223

HO2S Heater Low Control (Bank 1 Sensor 2)

Heated Seat Control Module - Driver X1 (KA1 without AG3)


Object Number: 1664577  Size: CH

Connector Part Information

  • OEM: 6098-4606
  • Service: See Catalog
  • Description: 6-Way F 2.8 Series (BN)

Terminal Part Information

  • Terminal/Tray: See Terminal Repair Kit
  • Core/Insulation Crimp: See Terminal Repair Kit
  • Release Tool/Test Probe: See Terminal Repair Kit

Heated Seat Control Module - Driver X1 (KA1 without AG3)

Pin

Wire

Circuit

Function

1

0.8 PU

2424

Driver Heated Seat Back Element Control

2

0.8 PK

2480

Passenger Heated Seat Cushion Element Control

3

0.8 BN

2432

Driver Heated Seat Back Element Voltage

4

0.8 L-BU

2433

Passenger Heated Seat Back Element Control

5

0.8 L-GN

2078

Heated Seat Cushion Element Control

6

0.8 D-BU

2479

Passenger Heated Seat Element Voltage

Heated Seat Control Module - Driver X2 (KA1 without AG3)


Object Number: 1653389  Size: CH

Connector Part Information

  • OEM: 6098-4713
  • Service: 88988652
  • Description: 8-Way F 2.8 Series (BK)

Terminal Part Information

  • Terminal/Tray: See Terminal Repair Kit
  • Core/Insulation Crimp: See Terminal Repair Kit
  • Release Tool/Test Probe: See Terminal Repair Kit

Heated Seat Control Module - Driver X2 (KA1 without AG3)

Pin

Wire

Circuit

Function

1

1 RD/WH

640

Battery Positive Voltage

2

1 BK

550

Ground

3-4

--

--

Not Used

5

0.35 PK

2426

Low Reference

6

0.35 YE

2080

Low Reference

7

0.35 TN

2482

Low Reference

8

0.35 L-BU

5476

Low Reference

Heated Seat Control Module - Driver X3 (KA1 without AG3)


Object Number: 1664581  Size: CH

Connector Part Information

  • OEM: 7283-9040-30
  • Service: See Catalog
  • Description: 10-Way F YESC Kaizen Series (BK)

Terminal Part Information

  • Terminal/Tray: 7116-4618-02/14
  • Core/Insulation Crimp: P/P
  • Release Tool/Test Probe: J-38125-215/J-35616-64B (L-BU)

Heated Seat Control Module - Driver X3 (KA1 without AG3)

Pin

Wire

Circuit

Function

1-3

--

--

Not Used

4

0.35 L-BU

1662

Driver Heated Seat Low Temperature Indicator Control

5

0.35 D-GN

1661

Driver Heated Seat High Temperature Indicator Control

6

0.35 D-GN

5060

Low Speed GMLAN Serial Data

7-8

--

--

Not Used

9

0.35 TN

1686

Passenger Heated Seat Low Temperature Indicator Control

10

0.35 YE

1685

Passenger Heated Seat High Temperature Indicator Control

Heated Seat Control Module - Driver X4 (KA1 without AG3)


Object Number: 1715223  Size: CH

Connector Part Information

  • OEM: 31410-1200
  • Service: See Catalog
  • Description: 20-Way F 0.64 Series (BK)

Terminal Part Information

  • Terminal/Tray: 7116-4618-02/14
  • Core/Insulation Crimp: P/P
  • Release Tool/Test Probe: J-38125-215/J-35616-64B (L-BU)

Heated Seat Control Module - Driver X4 (KA1 without AG3)

Pin

Wire

Circuit

Function

1

0.35 D-BU

6172

Driver Heated Seat Switch Back Cushion Signal

2

--

--

Not Used

3

0.35 GY

6182

Passenger Heated Seat Switch Back Signal

4-5

--

--

Not Used

6

0.35 BN

6185

Passenger Heated Seat Medium Indicator Control

7

0.35 BN

6179

Passenger Heated Seat Switch Back Cushion LED

8

--

--

Not Used

9

0.35 YE/BK

2079

Heated Seat Cushion Temperature Sensor Signal

10

0.35 TN

2436

Heated Seat Back Temperature Sensor Signal

11

0.35 GY

6175

Driver Heated Seat Switch Back Signal

12-13

--

--

Not Used

14

0.35 D-BU

6180

Passenger Heated Seat Switch Back Cushion Signal

15

0.35 PU

6174

Driver Heated Seat Switch Back LED

16

0.35 WH/BK

6177

Driver Heated Seat Medium Indicator Control

17

0.35 BN

6173

Driver Heated Seat Switch Back Cushion LED

18

0.35 PU

6181

Passenger Heated Seat Switch Back LED

19

0.35 D-BU

2425

Driver Heated Seat Back Temperature Sensor Signal

20

0.35 GY

2434

Passenger Heated Seat Cushion Temperature Sensor Signal

Heated Seat Element - Driver Back (KA1)


Object Number: 39661  Size: CH

Connector Part Information

  • OEM: 12047786
  • Service: 12085536
  • Description: 4-Way M Metri-Pack 150 Series, Unsealed (BK)

Terminal Part Information

  • Terminal/Tray: 12047581/2
  • Core/Insulation Crimp: Pins A, B - E/A
  • Core/Insulation Crimp: Pins C, D - E/C
  • Release Tool/Test Probe: 12094429/J-35616-3 (GY)

Heated Seat Element - Driver Back (KA1)

Pin

Wire

Circuit

Function

A

0.8 BN

2432

Driver Heated Seat Back Element Voltage

B

0.8 PU

2424

Driver Heated Seat Back Element Control

C

0.35 D-BU

2425

Driver Heated Seat Back Temperature Sensor Signal

D

0.35 PK

2426

Low Reference

Heated Seat Element - Driver Back (KB6)


Object Number: 40425  Size: CH

Connector Part Information

  • OEM: 12064763
  • Service: 12101876
  • Description: 6-Way M Metri-Pack 150 Series, Unsealed (GY)

Terminal Part Information

  • Terminal/Tray: 12047581/2
  • Core/Insulation Crimp: Pins A, F- E/A
  • Core/Insulation Crimp: Pins D, E - E/C
  • Release Tool/Test Probe: 12094429/J-35616-3 (GY)

Heated Seat Element - Driver Back (KB6)

Pin

Wire

Circuit

Function

A

0.8 BN

2432

Driver Heated Seat Back Element Voltage

B-C

--

--

Not Used

D

0.35 D-BU

2425

Driver Heated Seat Back Temperature Sensor Signal

E

0.35 PK

2426

Low Reference

F

0.8 PU

2424

Driver Heated Seat Back Element Control

Heated Seat Element - Driver Cushion (KA1)


Object Number: 39661  Size: CH

Connector Part Information

  • OEM: 12047786
  • Service: 12085536
  • Description: 4-Way M Metri-Pack 150 Series, Unsealed (BK)

Terminal Part Information

  • Terminal/Tray: 12047581/2
  • Core/Insulation Crimp: Pins A, B - E/A
  • Core/Insulation Crimp: Pins C, D - E/C
  • Release Tool/Test Probe: 12094429/J-35616-3 (GY)

Heated Seat Element - Driver Cushion (KA1)

Pin

Wire

Circuit

Function

A

0.8 BN

2432

Driver Heated Seat Back Element Voltage

B

0.8 L-GN

2078

Heated Seat Cushion Element Control

C

0.35 YE/BK

2079

Heated Seat Cushion Temperature Sensor Signal

D

0.35 YE

2080

Low Reference

Heated Seat Element - Driver Cushion (KB6)


Object Number: 40425  Size: CH

Connector Part Information

  • OEM: 12064763
  • Service: 12101876
  • Description: 6-Way M Metri-Pack 150 Series, Unsealed (GY)

Terminal Part Information

  • Terminal/Tray: 12047581/2
  • Core/Insulation Crimp: Pins A, F- E/A
  • Core/Insulation Crimp: Pins B-E - E/C
  • Release Tool/Test Probe: 12094429/J-35616-3 (GY)

Heated Seat Element - Driver Cushion (KB6)

Pin

Wire

Circuit

Function

A

0.8 PU

2424

Driver Heated Seat Back Element Control

B

0.35 D-BU

2079

Driver Heated Seat Temperature Sensor Signal 2

C

0.35 YE

2080

Low Reference

D

0.35 OG

7018

Seat Cushion Temperature Sensor Signal

E

0.35 OG/WH

7019

Low Reference

F

0.8 L-GN

2078

Heated Seat Cushion Element Control

Heated Seat Element - Passenger Back (KA1)


Object Number: 39661  Size: CH

Connector Part Information

  • OEM: 12047786
  • Service: 12085536
  • Description: 4-Way M Metri-Pack 150 Series, Unsealed (BK)

Terminal Part Information

  • Terminal/Tray: 12047581/2
  • Core/Insulation Crimp: Pins A, B - E/A
  • Core/Insulation Crimp: Pins C, D - E/C
  • Release Tool/Test Probe: 12094429/J-35616-3 (GY)

Heated Seat Element - Passenger Back (KA1)

Pin

Wire

Circuit

Function

A

0.8 D-BU

2479

Passenger Heated Seat Element Voltage

B

0.8 L-BU

2433

Passenger Heated Seat Back Element Control

C

0.35 TN

2436

Heated Seat Back Temperature Sensor Signal

D

0.35 TN

2482

Low Reference

Heated Seat Element - Passenger Back (KB6)


Object Number: 40425  Size: CH

Connector Part Information

  • OEM: 12064763
  • Service: 12101876
  • Description: 6-Way M Metri-Pack 150 Series, Unsealed (GY)

Terminal Part Information

  • Terminal/Tray: 12047581/2
  • Core/Insulation Crimp: Pins A, F- E/A
  • Core/Insulation Crimp: Pins D, E - E/C
  • Release Tool/Test Probe: 12094429/J-35616-3 (GY)

Heated Seat Element - Passenger Back (KB6)

Pin

Wire

Circuit

Function

A

0.8 D-BU

2479

Passenger Heated Seat Element Voltage

B-C

--

--

Not Used

D

0.35 TN

2436

Heated Seat Back Temperature Sensor Signal

E

0.35 TN

2482

Low Reference

F

0.8 TN

2481

Passenger Heated Seat Back Element Control

Heated Seat Element - Passenger Cushion (KA1)


Object Number: 39661  Size: CH

Connector Part Information

  • OEM: 12047786
  • Service: 12085536
  • Description: 4-Way M Metri-Pack 150 Series, Unsealed (BK)

Terminal Part Information

  • Terminal/Tray: 12047581/2
  • Core/Insulation Crimp: Pins A, B - E/A
  • Core/Insulation Crimp: Pins C, D - E/C
  • Release Tool/Test Probe: 12094429/J-35616-3 (GY)

Heated Seat Element - Passenger Cushion (KA1)

Pin

Wire

Circuit

Function

A

0.8 D-BU

2479

Passenger Heated Seat Element Voltage

B

0.8 PK

2480

Passenger Heated Seat Cushion Element Control

C

0.35 GY

2434

Passenger Heated Seat Cushion Temperature Sensor Signal

D

0.35 L-BU

5476

Low Reference

Heated Seat Element - Passenger Cushion (KB6)


Object Number: 40425  Size: CH

Connector Part Information

  • OEM: 12064763
  • Service: 12101876
  • Description: 6-Way M Metri-Pack 150 Series, Unsealed (GY)

Terminal Part Information

  • Terminal/Tray: 12047581/2
  • Core/Insulation Crimp: Pins A, F- E/A
  • Core/Insulation Crimp: Pins B-E - E/C
  • Release Tool/Test Probe: 12094429/J-35616-3 (GY)

Heated Seat Element - Passenger Cushion (KB6)

Pin

Wire

Circuit

Function

A

0.8 TN

2481

Passenger Heated Seat Back Element Control

B

0.35 GY

2434

Passenger Heated Seat Temperature Sensor Signal 2

C

0.35 L-BU

5476

Low Reference

D

0.35 D-BU

5475

Passenger Heated Seat Temperature Sensor Signal 1

E

0.35 PK

2435

Low Reference

F

0.8 PK

2480

Heated Seat Cushion Element Control

Heated Seat Switch - Driver (KA1)


Object Number: 1399235  Size: CH

Connector Part Information

  • OEM: 30700-1100
  • Service: See Catalog
  • Description: 10-Way F HDAC64 DR Series (GY)

Terminal Part Information

  • Terminal/Tray: 1393364-2/7
  • Core/Insulation Crimp: K/K
  • Release Tool/Test Probe: 15315247/J-35616-64B (L-BU)

Heated Seat Switch - Driver (KA1)

Pin

Wire

Circuit

Function

1

0.35 BN

6173

Driver Heated Seat Switch Back Cushion LED

2

0.35 PU/WH

6816

Heated Seat Indicator Dimming

3

0.35 PU/WH

1382

LED Dimming Signal

4

0.35 D-BU

6172

Driver Heated Seat Switch Back Cushion Signal

5

0.35 GY

6175

Driver Heated Seat Switch Back Signal

6

0.35 L-BU

1662

Driver Heated Seat Low Temperature Indicator Control

7

0.5 BK

750

Ground

8

0.35 WH/BK

6177

Driver Heated Seat Medium Indicator Control

9

0.35 PU

6174

Driver Heated Seat Switch Back LED

10

0.35 D-GN

1661

Driver Heated Seat High Temperature Indicator Control

Heated Seat Switch - Passenger (KA1)


Object Number: 1399235  Size: CH

Connector Part Information

  • OEM: 30700-1101
  • Service: See Catalog
  • Description: 10-Way F HDAC64 DR Series (BK)

Terminal Part Information

  • Terminal/Tray: 1393364-2/7
  • Core/Insulation Crimp: K/K
  • Release Tool/Test Probe: 15315247/J-35616-64B (L-BU)

Heated Seat Switch - Passenger (KA1)

Pin

Wire

Circuit

Function

1

0.35 BN

6179

Passenger Heated Seat Switch Back Cushion LED

2

0.35 PU/WH

6816

Heated Seat Indicator Dimming

3

0.35 PU/WH

1382

LED Dimming Signal

4

0.35 D-BU

6180

Passenger Heated Seat Switch Back Cushion Signal

5

0.35 GY

6182

Passenger Heated Seat Switch Back Signal

6

0.35 TN

1686

Passenger Heated Seat Low Temperature Indicator Control

7

0.5 BK

750

Ground

8

0.35 WH/BK

6185

Passenger Heated Seat Medium Indicator Control

9

0.35 PU

6181

Passenger Heated Seat Switch Back LED

10

0.35 YE

1685

Passenger Heated Seat High Temperature Indicator Control

High Pressure Fuel Pump (LLT)


Object Number: 784092  Size: CH

Connector Part Information

  • OEM: 1-928-403-874
  • Service: See Catalog
  • Description: 2-Way F Sealed (BK)

Terminal Part Information

  • Terminal/Tray: See Terminal Repair Kit
  • Core/Insulation Crimp: See Terminal Repair Kit
  • Release Tool/Test Probe: See Terminal Repair Kit

High Pressure Fuel Pump (LLT)

Pin

Wire

Circuit

Function

1

1 PU

7300

High Pressure Fuel Pump Actuator Low Control

2

1 YE

7301

High Pressure Fuel Pump Actuator High Control

Hood Ajar Switch (BTV)


Object Number: 646415  Size: CH

Connector Part Information

  • OEM: 19177527
  • Service: See Catalog
  • Description: 3-Way F GT 150 Series, Sealed (BK)

Terminal Part Information

  • Terminal/Tray: 12191819/8
  • Core/Insulation Crimp: E/A
  • Release Tool/Test Probe: 15315247/J-35616-2A (GY)

Hood Ajar Switch (BTV)

Pin

Wire

Circuit

Function

A

0.35 PK/BK

109

Hood Ajar Switch Signal

B

0.35 PU

5531

Hood Closed Switch Signal

C

0.35 BK

1250

Ground

Horn - High Note


Object Number: 1527729  Size: CH

Connector Part Information

  • OEM: 88988434
  • Service: 88988313
  • Description: 2-Way F GT 150 Series Sealed (GY)

Terminal Part Information

  • Terminal/Tray: 12191819/8
  • Core/Insulation Crimp: Pins A - E/A
  • Core/Insulation Crimp: Pins B - 2/A
  • Release Tool/Test Probe: 15315247/J-35616-2A (GY)

Horn - High Note

Pin

Wire

Circuit

Function

A

0.5 BK

1250

Ground

B

0.8 D-GN

1329

Horn Fuse Voltage

Horn - Low Note


Object Number: 1527729  Size: CH

Connector Part Information

  • OEM: 88988434
  • Service: 88988313
  • Description: 2-Way F GT 150 Series Sealed (GY)

Terminal Part Information

  • Terminal/Tray: 12191819/8
  • Core/Insulation Crimp: Pins A - E/A
  • Core/Insulation Crimp: Pins B - 2/A
  • Release Tool/Test Probe: 15315247/J-35616-2A (GY)

Horn - Low Note

Pin

Wire

Circuit

Function

A

0.5 BK

1250

Ground

B

0.8 D-GN

1329

Horn Fuse Voltage

Horn Switch X1


Object Number: 1862166  Size: CH

Connector Part Information

  • OEM: 2-521102-2
  • Service: See Catalog
  • Description: 1-Way F 4.75 Series (RD)

Terminal Part Information

  • Terminal/Tray: See Terminal Repair Kit
  • Core/Insulation Crimp: See Terminal Repair Kit
  • Release Tool/Test Probe: See Terminal Repair Kit

Horn Switch X1

Pin

Wire

Circuit

Function

1

0.35 D-GN

29

Horn Control

Horn Switch X2


Object Number: 1862161  Size: CH

Connector Part Information

  • OEM: 2-520128-2
  • Service: See Catalog
  • Description: 1-Way F 6.35 Series (RD)

Terminal Part Information

  • Terminal/Tray: See Terminal Repair Kit
  • Core/Insulation Crimp: See Terminal Repair Kit
  • Release Tool/Test Probe: See Terminal Repair Kit

Horn Switch X2

Pin

Wire

Circuit

Function

1

0.35 BK/WH

1550

Ground

HVAC Control Assembly - Auxiliary (without UK6)


Object Number: 1711011  Size: CH

Connector Part Information

  • OEM: 89047355
  • Service: See Catalog
  • Description: 10-Way F 0.64 Unsealed (BK)

Terminal Part Information

  • Terminal/Tray: 7116-4618-02/14
  • Core/Insulation Crimp: P/P
  • Release Tool/Test Probe: J-38125-215/J-35616-64B (L-BU)

HVAC Control Assembly - Auxiliary (without UK6)

Pin

Wire

Circuit

Function

1

0.35 GY

8

Instrument Panel Lamp Voltage

2

0.5 BK

750

Ground

3

0.5 GY

596

5-Volt Reference

4

0.5 GY/BK

1798

Low Reference

5-6

--

--

Not Used

7

0.5 PU/WH

760

Auxiliary Blower Motor Speed Control

8

0.5 YE

2214

Auxiliary Air Temperature Door Control

9

--

--

Not Used

10

0.5 OG

2615

Auxiliary Mode Door Control

HVAC Control Module X1


Object Number: 1715226  Size: CH

Connector Part Information

  • OEM: 15126709
  • Service: See Catalog
  • Description: 20-Way F USCAR 0.64 Series (BN)

Terminal Part Information

  • Terminal/Tray: 7116-4618-02/14
  • Core/Insulation Crimp: P/P
  • Release Tool/Test Probe: J-38125-215/J-35616-64B (L-BU)

HVAC Control Module X1

Pin

Wire

Circuit

Function

1-3

--

--

Not Used

4

0.35 D-GN

734

Inside Air Temperature Sensor Signal (CJ2)

5

0.35 GY

1548

Passenger Sunload Sensor Signal (CJ2)

6-7

--

--

Not Used

8

0.5 PK

2145

Air Temperature Switch Signal - Right (C67)

0.5 PU/WH

760

Auxiliary Blower Motor Speed Control (CJ2 without UK6)

9

0.5 OG

2615

Auxiliary Mode Door Control (without UK6)

10

0.5 YE

2214

Auxiliary Air Temperature Door Control (without UK6)

11-14

--

--

Not Used

15

0.35 L-BU/BK

590

Driver Sunload Sensor Signal (CJ2)

16

0.35 TN

516

Upper Left Air Temperature Sensor Signal (CJ2)

17

0.35 TN

517

Upper Right Air Temperature Sensor Signal (CJ2)

18

0.5 GY

2599

Auxiliary Mode Door Control (C67)

0.5 PK

2145

Air Temperature Switch Signal - Right (CJ2)

19

0.5 PU/WH

760

Auxiliary Blower Motor Speed Control (C67 without UK6)

0.5 GY

2599

Auxiliary Mode Door Control (CJ2)

20

--

--

Not Used

HVAC Control Module X2 (C67)


Object Number: 1715229  Size: CH

Connector Part Information

  • OEM: 7283-9080-90
  • Service: See Catalog
  • Description: 16-Way F USCAR 0.64 Series (BU)

Terminal Part Information

  • Terminal/Tray: 7116-4618-02/14
  • Core/Insulation Crimp: P/P
  • Release Tool/Test Probe: J-38125-215/J-35616-64B (L-BU)

HVAC Control Module X2 (C67)

Pin

Wire

Circuit

Function

1

0.35 PU/WH

1382

LED Dimming Signal

2

0.35 OG

300

Power Mode

3

0.35 BK/WH

1551

Ground

4

0.5 RD/WH

4540

Battery Positive Voltage

5

0.35 D-GN

5060

Low Speed GMLAN Serial Data

6-7

--

--

Not Used

8

0.35 WH

193

Rear Defog Relay Control

9

0.35 L-GN/BK

735

Ambient Air Temperature Sensor Signal

10

0.35 BK

1450

Ground

11

--

--

Not Used

12

0.35 YE

61

Low Reference

13-16

--

--

Not Used

HVAC Control Module X2 (CJ2)


Object Number: 1711013  Size: CH

Connector Part Information

  • OEM: 7283-9076-30
  • Service: See Catalog
  • Description: 16-Way F Kaizen 0.64 Series (BK)

Terminal Part Information

  • Terminal/Tray: 7116-4618-02/14
  • Core/Insulation Crimp: P/P
  • Release Tool/Test Probe: J-38125-215/J-35616-64B (L-BU)

HVAC Control Module X2 (CJ2)

Pin

Wire

Circuit

Function

1

0.5 RD/WH

4540

Battery Positive Voltage

2-3

--

--

Not Used

4

0.35 L-GN/BK

735

Ambient Air Temperature Sensor Signal

5

0.35 D-GN

5060

Low Speed GMLAN Serial Data

6-7

--

--

Not Used

8

0.35 BK/WH

1551

Ground

9

0.35 OG

300

Power Mode

10

0.35 WH

193

Rear Defog Relay Control

11-15

--

--

Not Used

16

0.35 YE

61

Low Reference

HVAC Control Module X3


Object Number: 1715228  Size: CH

Connector Part Information

  • OEM: 15126710
  • Service: 15126710
  • Description: 20-Way F (GY)

Terminal Part Information

  • Terminal/Tray: SAIT-A03T-M064/14
  • Core/Insulation Crimp: P/P
  • Release Tool/Test Probe: J-38125-215A/J35616-64B (L-BU)

HVAC Control Module X3

Pin

Wire

Circuit

Function

1

0.35 TN

518

Lower Left Air Temperature Sensor Signal (CJ2)

2

0.35 L-GN

2275

Mode Door Position Signal

3

0.35 PU

1838

Recirculation Door Position Signal

4

0.35 GY/BK

754

Blower Motor Speed Control

5

0.35 TN

2273

Mode Door Control

6

0.35 D-BU

1199

Air Temperature Door Control (CJ2)

7

0.35 D-GN

1614

Recirculation Door Control B

8

0.35 WH/BK

1236

Auxiliary Air Temperature Door Control

9

--

--

Not Used

10

0.35 GY

598

5-Volt Reference

11

0.35 TN

520

Lower Right Air Temperature Sensor Signal (CJ2)

12

0.35 L-BU

733

Air Temperature Door Position Signal (CJ2)

13

0.35 D-BU

1646

Auxiliary Air Temperature Door Position Signal

14

0.35 WH

2622

Evaporator Temperature Sensor Signal

15

0.35 WH

119

Mode Door Control

16

0.35 L-GN

2210

Air Temperature Door Control (CJ2)

17

0.35 TN/BK

2274

Recirculation Door Control A

18

0.35 GY/BK

2778

Right Air Temperature Door Control A

19

0.35 TN

552

Low Reference

20

0.35 YE

1791

Low Reference

HVAC Control Module X4


Object Number: 1715225  Size: CH

Connector Part Information

  • OEM: 7283-9079-60
  • Service: See Catalog
  • Description: 16-Way F 064 Series Unsealed (GN)

Terminal Part Information

  • Terminal/Tray: 7116-4618-02/14
  • Core/Insulation Crimp: P/P
  • Release Tool/Test Probe: J-38125-215/J-35616-64B (L-BU)

HVAC Control Module X4

Pin

Wire

Circuit

Function

1

--

--

Not Used

2

0.5 GY

596

5-Volt Reference

3

0.5 L-GN/WH

5729

Auxiliary Mode Motor Voltage

4

0.5 BN

6555

Auxiliary Temperature Motor Voltage

5

0.5 GY/BK

1798

Low Reference (C67)

6

0.5 GY/BK

1798

Low Reference

7-9

--

--

Not Used

10

0.5 D-GN

2211

Auxiliary Blower Motor Speed Control

11

0.5 OG

2215

Auxiliary Mode Door Control

12

0.5 GY

2614

Auxiliary Air Temperature Door Control

13-16

--

--

Not Used

I/P Switch Assembly


Object Number: 1664569  Size: CH

Connector Part Information

  • OEM: 31410-1120
  • Service: See Catalog
  • Description: 12-Way F 0.64 Series (BK)

Terminal Part Information

  • Terminal/Tray: 7116-4618-02/14
  • Core/Insulation Crimp: P/P
  • Release Tool/Test Probe: J-38125-215/J-35616-64B (L-BU)

I/P Switch Assembly

Pin

Wire

Circuit

Function

1

0.35 BN/WH

1571

Traction Control Switch Signal

2

--

--

Not Used

3

0.35 BK

750

Ground

4

0.35 PU/WH

1382

LED Dimming Signal

5

0.35 GY

391

Rear Window Wiper Switch Signal (W49)

6

0.35 WH

2283

Rear Wiper/Washer Switch Voltage (W49)

7

0.35 D-GN/WH

5800

Liftgate Open/Close Switch Signal (TB5)

8

0.35 D-GN

6112

Power Liftgate On/Off Switch Signal (TB5)

9-10

--

--

Not Used

11

0.35 L-BU

553

Tow/Haul Switch Signal

12

0.35 L-GN

2270

Rear Window Washer Relay Control (W49)

Ignition Coil 1 (LLT)


Object Number: 1331446  Size: CH

Connector Part Information

  • OEM: 1928403441
  • Service: 88988582
  • Description: 4-Way F Sealed (BK)

Terminal Part Information

  • Terminal/Tray: 4-964286-1/16
  • Core/Insulation Crimp: E/1
  • Release Tool/Test Probe: 12093647/J-35616-4A (PU)

Ignition Coil 1 (LLT)

Pin

Wire

Circuit

Function

1

0.5 PU

2121

IC 1 Control

2

1 PK/BK

5291

Ignition 1 Voltage

3

1 BK

2550

Ground

4

1 BK

2550

Ground

Ignition Coil 2 (LLT)


Object Number: 1331446  Size: CH

Connector Part Information

  • OEM: 1928403441
  • Service: 88988582
  • Description: 4-Way F Sealed (BK)

Terminal Part Information

  • Pins: 1, 2
  • Terminal/Tray: 4-964286-1/16
  • Core/Insulation Crimp: E/1
  • Release Tool/Test Probe: 12093647/J-35616-4A (PU)

Ignition Coil 2 (LLT)

Pin

Wire

Circuit

Function

1

0.5 OG/WH

2122

IC 2 Control

2

1 PK/BK

5292

Ignition 1 Voltage

3

1 BK

2650

Ground

4

1 BK

2650

Ground

Ignition Coil 3 (LLT)


Object Number: 1331446  Size: CH

Connector Part Information

  • OEM: 1928403441
  • Service: 88988582
  • Description: 4-Way F Sealed (BK)

Terminal Part Information

  • Terminal/Tray: 4-964286-1/16
  • Core/Insulation Crimp: E/1
  • Release Tool/Test Probe: 12093647/J-35616-4A (PU)

Ignition Coil 3 (LLT)

Pin

Wire

Circuit

Function

1

0.5 L-BU

2123

IC 3 Control

2

1 PK/BK

5291

Ignition 1 Voltage

3

1 BK

2550

Ground

4

1 BK

2550

Ground

Ignition Coil 4 (LLT)


Object Number: 1331446  Size: CH

Connector Part Information

  • OEM: 1928403441
  • Service: 88988582
  • Description: 4-Way F Sealed (BK)

Terminal Part Information

  • Pins: 1, 2
  • Terminal/Tray: 4-964286-1/16
  • Core/Insulation Crimp: E/1
  • Release Tool/Test Probe: 12093647/J-35616-4A (PU)

Ignition Coil 4 (LLT)

Pin

Wire

Circuit

Function

1

0.5 D-GN/WH

2124

IC 4 Control

2

1 PK/BK

5292

Ignition 1 Voltage

3

1 BK

2650

Ground

4

1 BK

2650

Ground

Ignition Coil 5 (LLT)


Object Number: 1331446  Size: CH

Connector Part Information

  • OEM: 1928403441
  • Service: 88988582
  • Description: 4-Way F Sealed (BK)

Terminal Part Information

  • Terminal/Tray: 4-964286-1/16
  • Core/Insulation Crimp: E/1
  • Release Tool/Test Probe: 12093647/J-35616-4A (PU)

Ignition Coil 5 (LLT)

Pin

Wire

Circuit

Function

1

0.5 D-GN

2125

IC 5 Control

2

1 PK/BK

5291

Ignition 1 Voltage

3

1 BK

2550

Ground

4

1 BK

2550

Ground

Ignition Coil 6 (LLT)


Object Number: 1331446  Size: CH

Connector Part Information

  • OEM: 1928403441
  • Service: 88988582
  • Description: 4-Way F Sealed (BK)

Terminal Part Information

  • Terminal/Tray: 4-964286-1/16
  • Core/Insulation Crimp: E/1
  • Release Tool/Test Probe: 12093647/J-35616-4A (PU)

Ignition Coil 6 (LLT)

Pin

Wire

Circuit

Function

1

0.5 L-BU/WH

2126

IC 6 Control

2

1 PK/BK

5292

Ignition 1 Voltage

3

1 BK

2650

Ground

4

1 BK

2650

Ground

Ignition Lock Cylinder Control Actuator


Object Number: 1856797  Size: CH

Connector Part Information

  • OEM: 7283725830
  • Service: See Catalog
  • Description: 2-Way F GT 150 Unsealed (BK)

Terminal Part Information

  • Terminal/Tray: 12191812/19
  • Core/Insulation Crimp: E/C
  • Release Tool/Test Probe: 15315247/J-35616-2A (GY)

Ignition Lock Cylinder Control Actuator

Pin

Wire

Circuit

Function

1

0.35 BK

1450

Ground

2

0.35 PU/WH

1630

Steering Column Key Cylinder Lock Solenoid Control

Ignition Switch


Object Number: 1664590  Size: CH

Connector Part Information

  • OEM: HCMPBC06K
  • Service: See Catalog
  • Description: 6-Way F (BK)

Terminal Part Information

  • Terminal/Tray: SHCM-A03T-P025/20
  • Core/Insulation Crimp: J/J
  • Release Tool/Test Probe: 12094429/J-35616-64B (L-BU)

Ignition Switch

Pin

Wire

Circuit

Function

1

0.35 PK

3

Ignition Voltage

2

0.35 RD/WH

1040

Battery Positive Voltage

3

0.35 BN

4

Accessory Voltage

4

0.35 WH

1390

Off/Run/Crank Voltage

5

--

--

Not Used

6

0.35 WH/BK

1073

Ignition Key Resistor Signal

Inflatable Restraint Front End Sensor - Left


Object Number: 744046  Size: CH

Connector Part Information

  • OEM: 15356723
  • Service: 15306439
  • Description: 2-Way F GT 150 Sealed 4.0 (YE)

Terminal Part Information

  • Terminal/Tray: Service With Pigtail
  • Core/Insulation Crimp: N/A
  • Release Tool/Test Probe: 15315247/J-35616-2A (GY)

Inflatable Restraint Front End Sensor - Left

Pin

Wire

Circuit

Function

A

0.35 TN/OG

5045

Low Reference

B

0.35 YE

354

Discriminating Sensor - Signal

Inflatable Restraint Front End Sensor - Right


Object Number: 744046  Size: CH

Connector Part Information

  • OEM: 15356723
  • Service: 15306439
  • Description: 2-Way F GT 150 Sealed 4.0 (YE)

Terminal Part Information

  • Terminal/Tray: Service With Pigtail
  • Core/Insulation Crimp: N/A
  • Release Tool/Test Probe: 15315247/J-35616-2A (GY)

Inflatable Restraint Front End Sensor - Right

Pin

Wire

Circuit

Function

A

0.35 GY

5600

Low Reference

B

0.35 D-GN

1409

Discriminating Sensor - Right - Signal

Inflatable Restraint Front Passenger Presence System (PPS) Sensor


Object Number: 2152680  Size: CH

Connector Part Information

  • OEM: 6098-5519
  • Service: 19153764
  • Description: 4-Way M Low Profile 1.5 Series (BK)

Terminal Part Information

  • Terminal/Tray: Service With Pigtail
  • Core/Insulation Crimp: N/A
  • Release Tool/Test Probe: N/A

Inflatable Restraint Front Passenger Presence System (PPS) Sensor

Pin

Wire

Circuit

Function

1

0.35 D-GN

5060

Low Speed GMLAN Serial Data

2

--

--

Not Used

3

0.35 RD/WH

1340

Battery Positive Voltage

4

0.35 BK/WH

1751

Ground

Inflatable Restraint I/P Module


Object Number: 2152682  Size: CH

Connector Part Information

  • OEM: SNAPB-05UN-1FYS
  • Service: 19153434
  • Service Caution: The connector at the Inflatable Restraint Module cannot be disconnected or removed without damage to the module. If the connector is removed from the module, the entire module with harness must be replaced.
  • Description: 5-Way F 0.64 Series Unsealed (YE)

Terminal Part Information

  • Terminal/Tray: See Terminal Repair Kit
  • Core/Insulation Crimp: See Terminal Repair Kit
  • Release Tool/Test Probe: See Terminal Repair Kit

Inflatable Restraint I/P Module

Pin

Wire

Circuit

Function

1

0.35 YE

3025

I/P Module - Stage 1 - High Control

2

0.35 OG

3024

I/P Module - Stage 1 - Low Control

3

--

--

Not Used

4

0.35 GY

3027

I/P Module - Stage 2 - High Control

5

0.35 PU

3026

I/P Module - Stage 2 - Low Control

Inflatable Restraint I/P Module Indicator


Object Number: 1538776  Size: CH

Connector Part Information

  • OEM: 15398877
  • Service: See Catalog
  • Description: 5-Way F HCM Series (WH)

Terminal Part Information

  • Terminal/Tray: Service With Pigtail
  • Core/Insulation Crimp: N/A
  • Release Tool/Test Probe: 12094429/J-35616-64B (L-BU)

Inflatable Restraint I/P Module Indicator

Pin

Wire

Circuit

Function

1

0.35 D-BU

2307

Passenger Air Bag On Indicator Control

2

0.35 BK

1450

Ground

3

0.35 D-GN

2308

Passenger Air Bag Off Indicator Control

4

0.35 PK

1139

Ignition Voltage

5

0.35 PU

5234

Passenger Seat Belt Indicator

Inflatable Restraint Roof Rail Module - Driver


Object Number: 646194  Size: CH

Connector Part Information

  • OEM: 12186799
  • Service: 15306012
  • Service Caution: The connector at the Inflatable Restraint Module cannot be disconnected or removed without damage to the module. If the connector is removed from the module, the entire module with harness must be replaced.
  • Description: 2-Way M Metri-Pack 280 Series (YE)

Terminal Part Information

  • Terminal/Tray: 12066337/18
  • Core/Insulation Crimp: E/A
  • Release Tool/Test Probe: 12094429/J-35616-5 (PU)

Inflatable Restraint Roof Rail Module - Driver

Pin

Wire

Circuit

Function

A

0.35 PU/WH

5019

Roof Rail Module - Left - High Control

B

0.35 PK

5020

Roof Rail Module - Left - Low Control

Inflatable Restraint Roof Rail Module - Passenger


Object Number: 646194  Size: CH

Connector Part Information

  • OEM: 12186799
  • Service: 15306012
  • Service Caution: The connector at the Inflatable Restraint Module cannot be disconnected or removed without damage to the module. If the connector is removed from the module, the entire module with harness must be replaced.
  • Description: 2-Way M Metri-Pack 280 Series (YE)

Terminal Part Information

  • Terminal/Tray: 12066337/18
  • Core/Insulation Crimp: E/A
  • Release Tool/Test Probe: 12094429/J-35616-5 (PU)

Inflatable Restraint Roof Rail Module - Passenger

Pin

Wire

Circuit

Function

A

0.35 YE/BK

5021

Roof Rail Module - Right - High Control

B

0.35 WH/BK

5022

Roof Rail Module - Right - Low Control

Inflatable Restraint Sensing and Diagnostic Module (SDM)


Object Number: 1468532  Size: CH

Connector Part Information

  • OEM: 6-184464-5
  • Service: See Catalog
  • Description: 60-Way F GET Series (YE)

Terminal Part Information

  • Terminal/Tray: Service With Terminated Lead
  • Core/Insulation Crimp: N/A
  • Release Tool/Test Probe: 15315247/J-35616-64B (L-BU)

Inflatable Restraint Sensing and Diagnostic Module (SDM)

Pin

Wire

Circuit

Function

1

0.5 BK/WH

1751

Ground

2

0.35 D-GN

5060

Low Speed GMLAN Serial Data

3

0.35 D-GN

5060

Low Speed GMLAN Serial Data

4

0.35 PK

3022

Steering Wheel Module - Stage 2 - Low Control

5

0.35 WH

3023

Steering Wheel Module - Stage 2 - High Control

6

0.35 GY

3027

I/P Module - Stage 2 - High Control

7

0.35 PU

3026

I/P Module - Stage 2 - Low Control

8

0.35 BN

3020

Steering Wheel Module - Stage 1 - Low Control

9

0.35 TN

3021

Steering Wheel Module - Stage 1 - High Control

10

0.35 YE

3025

I/P Module - Stage 1 - High Control

11

0.35 OG

3024

I/P Module - Stage 1 - Low Control

12

0.5 YE/BK

2138

Side Impact Module - Left Front - Low Control

13

0.5 BN

2137

Side Impact Module - Left Front - High Control

14

0.5 TN/WH

2135

Side Impact Module - Right Front - High Control

15

0.5 L-GN

2136

Side Impact Module - Right Front - Low Control

16

0.5 YE/BK

3065

Seat Belt Buckle Pretensioner - Left - Low Control

17

0.5 WH

3064

Seat Belt Buckle Pretensioner - Left - High Control

18

0.5 TN

3062

Seat Belt Buckle Pretensioner - Right - High Control

19

0.5 L-BU/BK

3063

Seat Belt Buckle Pretensioner - Right - Low Control

20

0.5 PK

5020

Roof Rail Module - Left - Low Control

21

0.5 PU/WH

5019

Roof Rail Module - Left - High Control

22

0.5 YE/BK

5021

Roof Rail Module - Right - High Control

23

0.5 WH/BK

5022

Roof Rail Module - Right - Low Control

24

0.5 OG/BK

2119

Seat Belt Retractor Pretensioner - Left - Low Control

25

0.5 TN/WH

2118

Seat Belt Retractor Pretensioner - Left - High Control

26

0.5 L-GN

2116

Seat Belt Retractor Pretensioner - Right - High Control

27

0.5 OG

2117

Seat Belt Retractor Pretensioner - Right - Low Control

28

0.35 PK

5057

Low Reference

29

--

--

Not Used

30

0.35 L-BU

5056

Seat Position Sensor - Right - Signal (W49)

31

0.35 RD/WH

1340

Battery Positive Voltage

32

0.5 PK

1139

Ignition Voltage

33-35

--

--

Not Used

36

0.35 YE

354

Discriminating Sensor - Signal

37

0.35 D-GN

1409

Discriminating Sensor - Right - Signal

38

0.35 TN/OG

5045

Front End Sensor - Signal

39

0.35 GY

5600

Low Reference

40

0.35 PU/WH

6628

Low Reference

41

0.35 WH/BK

6629

Low Reference

42

0.35 WH

2132

Side Impact Sensing Module - Left - Signal

43

0.35 D-GN

2134

Side Impact Sensing Module - Right - Signal

44

0.35 L-BU

6622

Left Rear Side Impact Sensing Module Signal

45

0.35 L-BU/WH

6626

Right Rear Side Impact Sensing Module Signal

46

0.35 L-GN/BK

6623

Low Reference

47

0.35 PK/BK

6627

Low Reference

48-57

--

--

Not Used

58

0.35 YE/BK

5229

Roll Over Sensor High Signal

59

0.35 D-GN

5016

Seat Belt Switch - Left - Signal

60

0.35 OG

1362

Seat Belt Switch - Right - Signal

Inflatable Restraint Side Impact Module - Left


Object Number: 2152685  Size: CH

Connector Part Information

  • OEM: SNAPB-02UN-1FYS
  • Service: 19153427
  • Service Caution: The connector at the Inflatable Restraint Module cannot be disconnected or removed without damage to the module. If the connector is removed from the module, the entire module with harness must be replaced.
  • Description: 2-Way F 0.64 Series Unsealed (YE)

Terminal Part Information

  • Terminal/Tray: See Catalog
  • Core/Insulation Crimp: See Catalog
  • Release Tool/Test Probe: See Catalog

Inflatable Restraint Side Impact Module - Left

Pin

Wire

Circuit

Function

1

0.5 BN

2137

Side Impact Module - Left Front - High Control

2

0.5 YE/BK

2138

Side Impact Module - Left Front - Low Control

Inflatable Restraint Side Impact Module - Right


Object Number: 2152685  Size: CH

Connector Part Information

  • OEM: SNAPB-02UN-1FYS
  • Service: 19153427
  • Service Caution: The connector at the Inflatable Restraint Module cannot be disconnected or removed without damage to the module. If the connector is removed from the module, the entire module with harness must be replaced.
  • Description: 2-Way F 0.64 Series Unsealed (YE)

Terminal Part Information

  • Terminal/Tray: See Catalog
  • Core/Insulation Crimp: See Catalog
  • Release Tool/Test Probe: See Catalog

Inflatable Restraint Side Impact Module - Right

Pin

Wire

Circuit

Function

1

0.5 TN/WH

2135

Side Impact Module - Right Front - High Control

2

0.5 L-GN

2136

Side Impact Module - Right Front - Low Control

Inflatable Restraint Side Impact Sensor (SIS) - Left Front


Object Number: 744046  Size: CH

Connector Part Information

  • OEM: 15356723
  • Service: 15306439
  • Description: 2-Way F GT 150 Sealed 4.0 (YE)

Terminal Part Information

  • Terminal/Tray: Service With Pigtail
  • Core/Insulation Crimp: N/A
  • Release Tool/Test Probe: 15315247/J-35616-2A (GY)

Inflatable Restraint Side Impact Sensor (SIS) - Left Front

Pin

Wire

Circuit

Function

A

0.35 PU/WH

6628

Low Reference

B

0.35 WH

2132

Side Impact Sensing Module - Left - Signal

Inflatable Restraint Side Impact Sensor (SIS) - Left Rear


Object Number: 744046  Size: CH

Connector Part Information

  • OEM: 15356723
  • Service: 15306439
  • Description: 2-Way F GT 150 Sealed 4.0 (YE)

Terminal Part Information

  • Terminal/Tray: Service With Pigtail
  • Core/Insulation Crimp: N/A
  • Release Tool/Test Probe: 15315247/J-35616-2A (GY)

Inflatable Restraint Side Impact Sensor (SIS) - Left Rear

Pin

Wire

Circuit

Function

A

0.35 L-GN/BK

6623

Low Reference

B

0.35 L-BU

6622

Left Rear Side Impact Sensing Module Signal

Inflatable Restraint Side Impact Sensor (SIS) - Right Front


Object Number: 744046  Size: CH

Connector Part Information

  • OEM: 15356723
  • Service: 15306439
  • Description: 2-Way F GT 150 Sealed 4.0 (YE)

Terminal Part Information

  • Terminal/Tray: Service With Pigtail
  • Core/Insulation Crimp: N/A
  • Release Tool/Test Probe: 15315247/J-35616-2A (GY)

Inflatable Restraint Side Impact Sensor (SIS) - Right Front

Pin

Wire

Circuit

Function

A

0.35 WH/BK

6629

Low Reference

B

0.35 D-GN

2134

Side Impact Sensing Module - Right - Signal

Inflatable Restraint Side Impact Sensor (SIS) - Right Rear


Object Number: 744046  Size: CH

Connector Part Information

  • OEM: 15356723
  • Service: 15306439
  • Description: 2-Way F GT 150 Sealed 4.0 (YE)

Terminal Part Information

  • Terminal/Tray: Service With Pigtail
  • Core/Insulation Crimp: N/A
  • Release Tool/Test Probe: 15315247/J-35616-2A (GY)

Inflatable Restraint Side Impact Sensor (SIS) - Right Rear

Pin

Wire

Circuit

Function

A

0.35 PK/BK

6627

Low Reference

B

0.35 L-BU/WH

6626

Right Rear Side Impact Sensing Module Signal

Inflatable Restraint Steering Wheel Module Coil X1


Object Number: 1862241  Size: CH

Connector Part Information

  • OEM: 15269795
  • Service: See Catalog
  • Description: 10-Way F AIT II Series (BK)

Terminal Part Information

  • Terminal/Tray: Service With Terminated Lead
  • Core/Insulation Crimp: N/A
  • Release Tool/Test Probe: J-38125-215/J-35616-64B (L-BU)

Inflatable Restraint Steering Wheel Module Coil X1

Pin

Wire

Circuit

Function

1

0.35 TN

28

Horn Relay Control

2

0.35 PU

1375

12-Volt Reference

3

0.35 PU/WH

7005

LED Dimming Signal

4

0.35 BK/WH

1551

Ground

5

0.35 GY

1884

Cruise Control Switch Signal

6

0.35 GN/WH

7158

Cruise Control Indicator Dimming Signal

7

0.35 D-BU

1796

Steering Wheel Controls Signal (UK3)

8-10

--

--

Not Used

Inflatable Restraint Steering Wheel Module Coil X2


Object Number: 1862241  Size: CH

Connector Part Information

  • OEM: 15269795
  • Service: See Catalog
  • Description: 10-Way F AIT II Series (BK)

Terminal Part Information

  • Terminal/Tray: Service With Terminated Lead
  • Core/Insulation Crimp: N/A
  • Release Tool/Test Probe: J-38125-215/J-35616-64B (L-BU)

Inflatable Restraint Steering Wheel Module Coil X2

Pin

Wire

Circuit

Function

1-3

--

--

Not Used

4

0.35 D-BU

1796

Steering Wheel Controls Signal (UK3)

5

0.35 GN/WH

7158

Cruise Control Indicator Dimming Signal

6

0.35 GY

1884

Cruise Control Switch Signal

7

0.35 BK/WH

1551

Ground

8

0.35 PU/WH

7005

LED Dimming Signal

9

0.35 PU

1375

12-Volt Reference

10

0.35 D-GN

29

Horn Control

Inflatable Restraint Steering Wheel Module Coil X3


Object Number: 1399226  Size: CH

Connector Part Information

  • OEM: 15393421
  • Service: 88987853
  • Description: 4-Way F Micro-Pack 064 Series (YE)

Terminal Part Information

  • Terminal/Tray: Service With Pigtail
  • Core/Insulation Crimp: N/A
  • Release Tool/Test Probe: 12180559-1/J-35616-64B (L-BU)

Inflatable Restraint Steering Wheel Module Coil X3

Pin

Wire

Circuit

Function

1

0.35 TN

3021

Steering Wheel Module - Stage 1 - High Control

2

0.35 BN

3020

Steering Wheel Module - Stage 1 - Low Control

3

0.35 WH

3023

Steering Wheel Module - Stage 2 - High Control

4

0.35 PK

3022

Steering Wheel Module - Stage 2 - Low Control

Inflatable Restraint Steering Wheel Module X1


Object Number: 1841819  Size: CH

Connector Part Information

  • OEM: 54560236
  • Service: See Catalog
  • Description: 2-Way F (GY)

Terminal Part Information

  • Terminal/Tray: See Terminal Repair Kit
  • Core/Insulation Crimp: See Terminal Repair Kit
  • Release Tool/Test Probe: See Terminal Repair Kit

Inflatable Restraint Steering Wheel Module X1

Pin

Wire

Circuit

Function

1

0.35 TN

3021

Steering Wheel Module - Stage 1 - High Control

2

0.35 BN

3020

Steering Wheel Module - Stage 1 - Low Control

Inflatable Restraint Steering Wheel Module X2


Object Number: 1841821  Size: CH

Connector Part Information

  • OEM: 54560222
  • Service: See Catalog
  • Description: 2-Way F (PU)

Terminal Part Information

  • Terminal/Tray: See Terminal Repair Kit
  • Core/Insulation Crimp: See Terminal Repair Kit
  • Release Tool/Test Probe: See Terminal Repair Kit

Inflatable Restraint Steering Wheel Module X2

Pin

Wire

Circuit

Function

1

0.35 WH

3023

Steering Wheel Module - Stage 2 - High Control

2

0.35 PK

3022

Steering Wheel Module - Stage 2 - Low Control

Inflatable Restraint Vehicle Rollover Sensor


Object Number: 1845399  Size: CH

Connector Part Information

  • OEM: 6189-7001
  • Service: See Catalog
  • Description: 6-Way F 0.64 Series, Sealed (YE)

Terminal Part Information

  • Terminal/Tray: Service With Pigtail
  • Core/Insulation Crimp: N/A
  • Release Tool/Test Probe: 15315247/J-35616-64B (L-BU)

Inflatable Restraint Vehicle Rollover Sensor

Pin

Wire

Circuit

Function

1

0.35 RD/WH

1340

Battery Positive Voltage

2

--

--

Not Used

3

0.35 D-GN

5060

Low Speed GMLAN Serial Data

4

0.35 D-GN

5060

Low Speed GMLAN Serial Data

5

0.35 YE/BK

5229

Roll Over Sensor High Signal

6

0.5 BK/WH

1751

Ground

Infrared Transmitter (U42)


Object Number: 1664488  Size: CH

Connector Part Information

  • OEM: 7283-9078-80
  • Service: See Catalog
  • Description: 16-Way F Kaizen 0.64 Series (BN)

Terminal Part Information

  • Terminal/Tray: 7116-4618-02/14
  • Core/Insulation Crimp: P/P
  • Release Tool/Test Probe: J-38125-215/J-35616-64B (L-BU)

Infrared Transmitter (U42)

Pin

Wire

Circuit

Function

1

0.35 L-BU

5826

Left DVD Audio Signal (+)

2

0.35 PU

6979

DVD Audio Common (-)

3

0.35 WH

5828

Right DVD Audio Signal (+)

4

0.5 PK

5829

Infrared Module Voltage

5-7

--

--

Not Used

8

0.35 OG/BK

5831

Remote Infrared Signal (+)

9

0.35 OG/BK

5329

Left Infrared Audio Signal (+)

10

0.35 BN/WH

5331

Infrared Audio Low Reference

11

0.35 PU/WH

5330

Right Infrared Audio Signal (+)

12

0.5 BK/WH

351

Ground

13-15

--

--

Not Used

16

0.35 TN/WH

5830

Remote Infrared Signal (-)

Input Speed Sensor (ISS)


Object Number: 1910665  Size: CH

Connector Part Information

  • OEM: 15467085
  • Service: Non-Serviceable
  • Description: 2-Way F M/P 150.2 Series P2S (L-GY)

Terminal Part Information

  • Terminal/Tray: Non-Serviceable
  • Core/Insulation Crimp: Non-Serviceable
  • Release Tool/Test Probe: Non-Serviceable

Input Speed Sensor (ISS)

Pin

Wire

Circuit

Function

A

0.5 WH

--

ISS High Signal

B

0.5 BK

--

ISS Low Signal

Inside Air Temperature Sensor (CJ2)


Object Number: 816551  Size: CH

Connector Part Information

  • OEM: 12059252
  • Service: 12102749
  • Description: 2-Way M Metri-Pack 150 Series (RD)

Terminal Part Information

  • Terminal/Tray: 12047581/2
  • Core/Insulation Crimp: E/C
  • Release Tool/Test Probe: 12094429/J-35616-3 (GY)

Inside Air Temperature Sensor (CJ2)

Pin

Wire

Circuit

Function

A

0.35 D-GN

734

Inside Air Temperature Sensor Signal

B

0.35 YE

61

Low Reference

Inside Rearview Mirror


Object Number: 872580  Size: CH

Connector Part Information

  • OEM: 917981-2
  • Service: 15306351
  • Description: 16-Way F 0.040/0.070 HYBRID I/O (BK)

Terminal Part Information

  • Terminal/Tray: 175266-5/15
  • Core/Insulation Crimp: Pins 5, 13, 15, 16 - J/J
  • Core/Insulation Crimp: Pins 8, 9, 11, 12, 14 - K/K
  • Release Tool/Test Probe: 15315247/J-35616-16 (L-GN)

Inside Rearview Mirror

Pin

Wire

Circuit

Function

1-4

--

--

Not Used

5

0.35 GY

1690

Automatic Day/Night Mirror Signal (DNP)

6-7

--

--

Not Used

8

0.5 BK

850

Ground (UE1 or DD8)

9

0.5 BK/WH

24

Backup Lamp Voltage (DD8)

10

--

--

Not Used

11

0.5 BK/GN

2514

Keypad Signal (UE1)

12

0.5 BK/L-GN

2515

Keypad Voltage (UE1)

13

0.35 BK/YE

43

Ignition Voltage (DD8)

14

0.5 BK/GY

2516

Keypad Green LED Signal (UE1)

15

0.35 BN/WH

2517

Keypad Red LED Signal (UE1)

16

0.35 BK/RD

1691

Low Reference (DNP)

Instrument Panel Cluster (IPC)


Object Number: 1715223  Size: CH

Connector Part Information

  • OEM: 15126711
  • Service: See Catalog
  • Description: 20-Way F 0.64 Series (BK)

Terminal Part Information

  • Terminal/Tray: 7116-4618-02/14
  • Core/Insulation Crimp: P/P
  • Release Tool/Test Probe: J-38125-215/J-35616-64B (L-BU)

Instrument Panel Cluster (IPC)

Pin

Wire

Circuit

Function

1

0.35 RD/WH

1840

Battery Positive Voltage

2

0.35 BK/WH

1551

Ground

3

0.35 PK

1139

Ignition Voltage

4

0.35 BN/WH

419

MIL Control

5

--

--

Not Used

6

0.35 PK

893

DIC Select Menu Switch Signal (UH9)

7

0.35 D-GN/WH

1358

DIC Switch Signal (UH9)

8

--

--

Not Used

9

0.35 D-GN

5060

Low Speed GMLAN Serial Data

10

--

--

Not Used

11

0.35 PU

5234

Passenger Seat Belt Indicator

12

0.35 D-BU

2307

Passenger Air Bag On Indicator Control

13

0.35 D-GN

2308

Passenger Air Bag Off Indicator Control

14

0.35 TN

185

Low Washer Fluid Indicator Control

15

0.35 D-BU/WH

5970

Washer Fluid Heated Control Switch LED Voltage (XA7)

16-17

--

--

Not Used

18

0.35 TN/WH

33

Brake Warning Indicator Control

19

0.35 BN

897

Low Reference (UH9)

20

--

--

Not Used

Knock Sensor (KS) 1 (LLT)


Object Number: 1232999  Size: CH

Connector Part Information

  • OEM: 88986864
  • Service: See Catalog
  • Description: 2-Way F GT 150 Sealed (NA)

Terminal Part Information

  • Terminal/Tray: See Terminal Repair Kit
  • Core/Insulation Crimp: See Terminal Repair Kit
  • Release Tool/Test Probe: See Terminal Repair Kit

Knock Sensor (KS) 1 (LLT)

Pin

Wire

Circuit

Function

A

0.5 D-BU

496

Knock Sensor 1 Signal

B

0.5 GY

1716

Knock Sensor 1 Signal

Knock Sensor (KS) 2 (LLT)


Object Number: 1232999  Size: CH

Connector Part Information

  • OEM: 88986864
  • Service: See Catalog
  • Description: 2-Way F GT 150 Sealed (NA)

Terminal Part Information

  • Terminal/Tray: See Terminal Repair Kit
  • Core/Insulation Crimp: See Terminal Repair Kit
  • Release Tool/Test Probe: See Terminal Repair Kit

Knock Sensor (KS) 2 (LLT)

Pin

Wire

Circuit

Function

A

0.5 L-BU

1876

Knock Sensor 2 Signal

B

0.5 GY

2303

Knock Sensor 2 Signal

License Lamp - Left


Object Number: 1906265  Size: CH

Connector Part Information

  • OEM: V10170
  • Service: See Catalog
  • Description: 2-Way F Molded Wedge Base Lamp Socket (WH)

Terminal Part Information

  • Terminal/Tray: See Terminal Repair Kit
  • Core/Insulation Crimp: See Terminal Repair Kit
  • Release Tool/Test Probe: See Terminal Repair Kit

License Lamp - Left

Pin

Wire

Circuit

Function

A

0.5 WH

--

Left Park Lamp Voltage (WDA or Z88)

0.5 BK

--

Left Park Lamp Voltage (W49)

0.5 PU

709

Left Park Lamp Voltage (X88)

B

0.5 BK

--

Ground (WDA or Z88)

0.5 WH

--

Ground (W49)

0.5 BK

650

Ground (X88)

License Lamp - Right


Object Number: 1906265  Size: CH

Connector Part Information

  • OEM: V10170
  • Service: See Catalog
  • Description: 2-Way F Molded Wedge Base Lamp Socket (WH)

Terminal Part Information

  • Terminal/Tray: See Terminal Repair Kit
  • Core/Insulation Crimp: See Terminal Repair Kit
  • Release Tool/Test Probe: See Terminal Repair Kit

License Lamp - Right

Pin

Wire

Circuit

Function

A

0.5 WH

--

Left Park Lamp Voltage (WDA or Z88)

0.5 BK

--

Left Park Lamp Voltage (W49)

0.5 PU

709

Left Park Lamp Voltage (X88)

B

0.5 BK

--

Ground (WDA or Z88)

0.5 WH

--

Ground (W49)

0.5 BK

650

Ground (X88)

Liftgate Control Switch - Exterior


Object Number: 1853533  Size: CH

Connector Part Information

  • OEM: 7282-6444-60
  • Service: See Catalog
  • Description: 2-Way M 1.5 Series (GN)

Terminal Part Information

  • Terminal/Tray: 7114-4100-08/9
  • Core/Insulation Crimp: E/C
  • Release Tool/Test Probe: 15315247/J-35616-3 (GY)

Liftgate Control Switch - Exterior

Pin

Wire

Circuit

Function

1

0.35 GY

5797

Rear Closure Handle Switch Open Signal (TB4)

0.35 GY/BK

6113

Rear Liftgate Open/Close Switch Signal (TB5)

2

0.35 BK

650

Ground (TB4)

0.35 PU/WH

5801

Low Reference (TB5)

Liftgate Control Switch - Interior (TB5)


Object Number: 1853532  Size: CH

Connector Part Information

  • OEM: 7282-6443-40
  • Service: See Catalog
  • Description: 2-Way M 1.5 Series (L-GY)

Terminal Part Information

  • Terminal/Tray: 7114-4100-08/9
  • Core/Insulation Crimp: E/C
  • Release Tool/Test Probe: 15315247/J-35616-3 (GY)

Liftgate Control Switch - Interior (TB5)

Pin

Wire

Circuit

Function

1

0.35 GY/BK

6113

Rear Liftgate Open/Close Switch Signal

2

0.35 PU/WH

5801

Low Reference

Liftgate Courtesy Lamp - Left


Object Number: 1282874  Size: CH

Connector Part Information

  • OEM: 12186713
  • Service: See Catalog
  • Description: 2-Way F Faston (BK)

Terminal Part Information

  • Terminal/Tray: See Terminal Repair Kit
  • Core/Insulation Crimp: See Terminal Repair Kit
  • Release Tool/Test Probe: See Terminal Repair Kit

Liftgate Courtesy Lamp - Left

Pin

Wire

Circuit

Function

1

0.5 BK

650

Ground

2

0.5 GY/BK

690

Courtesy Lamp High Control

Liftgate Courtesy Lamp - Right


Object Number: 1282874  Size: CH

Connector Part Information

  • OEM: 12186713
  • Service: See Catalog
  • Description: 2-Way F Faston (BK)

Terminal Part Information

  • Terminal/Tray: See Terminal Repair Kit
  • Core/Insulation Crimp: See Terminal Repair Kit
  • Release Tool/Test Probe: See Terminal Repair Kit

Liftgate Courtesy Lamp - Right

Pin

Wire

Circuit

Function

1

0.5 BK

650

Ground

2

0.5 GY/BK

690

Courtesy Lamp High Control

Liftgate Latch Assembly (TB4)


Object Number: 1626671  Size: CH

Connector Part Information

  • OEM: 15476199
  • Service: 88988358
  • Description: 6-Way F GT 280 Series, Sealed (GN)

Terminal Part Information

  • Terminal/Tray: 15304719/19
  • Core/Insulation Crimp: E/5
  • Release Tool/Test Probe: 15315247/J-35616-4A (PU)

Liftgate Latch Assembly (TB4)

Pin

Wire

Circuit

Function

1

0.5 L-BU

6128

Ground

2

--

--

Not Used

3

0.5 BK

650

Ground

4

0.5 L-GN

5926

Rear Access Open Switch Signal

5

0.35 BK

650

Ground

6

0.5 PK/BK

1303

Liftgate Ajar Switch Signal

Liftgate Latch Assembly (TB5)


Object Number: 1711025  Size: CH

Connector Part Information

  • OEM: 15476196
  • Service: 88988498
  • Description: 6-Way F GT 280 Series, Sealed (BK)

Terminal Part Information

  • Pins: 1, 3
  • Terminal/Tray: 15304720/19
  • Core/Insulation Crimp: 4/5
  • Release Tool/Test Probe: 15315247/J-35616-4A (PU)
  • Pins: 2, 4-6
  • Terminal/Tray: 15304719/19
  • Core/Insulation Crimp: E/5
  • Release Tool/Test Probe: 15315247/J-35616-4A (PU)

Liftgate Latch Assembly (TB5)

Pin

Wire

Circuit

Function

1

2 BN

5790

Liftgate Cinch Latch Motor Open Control

2

0.35 PU/WH

5801

Low Reference

3

2 L-BU

5791

Liftgate Cinch Latch Motor Close Control

4

0.35 D-GN

5512

Latch Sector Switch Signal

5

0.35 GY

7000

Latch Pawl Switch Signal

6

0.35 PK/BK

6000

Latch Ratchet Switch Signal

Liftgate Module (LGM) X1 (TB5)


Object Number: 1566784  Size: CH

Connector Part Information

  • OEM: 15136073
  • Service: See Catalog
  • Description: 16-Way F Kaizen 0.64 (BK)

Terminal Part Information

  • Terminal/Tray: 7116-4618-02/14
  • Core/Insulation Crimp: P/P
  • Release Tool/Test Probe: J-38125-215/J-35616-64B (L-BU)

Liftgate Module (LGM) X1 (TB5)

Pin

Wire

Circuit

Function

1

0.35 D-GN

6112

Power Liftgate On/Off Switch Signal

2-3

--

--

Not Used

4

0.35 D-GN

5512

Latch Sector Switch Signal

5

0.35 PK/BK

6000

Latch Ratchet Switch Signal

6

0.35 GY

7000

Latch Pawl Switch Signal

7

0.35 D-GN

5060

Low Speed GMLAN Serial Data

8

0.35 WH/BK

6126

Liftgate Object Sensor 2 Signal

9-11

--

--

Not Used

12

0.35 D-GN/WH

5800

Liftgate Open/Close Switch Signal

13

--

--

Not Used

14

0.35 GY/BK

6113

Rear Liftgate Open/Close Switch Signal

15

--

--

Not Used

16

0.35 PU/WH

5801

Low Reference

Liftgate Module (LGM) X2 (TB5)


Object Number: 1710989  Size: CH

Connector Part Information

  • OEM: 15134094
  • Service: 88988497
  • Description: 6-Way F 2.8 Series (BK)

Terminal Part Information

  • Pins: 4
  • Terminal/Tray: 8100-4443/22
  • Core/Insulation Crimp: E/A
  • Release Tool/Test Probe: 15315247/J-35616-35 (VT)
  • Pins: 1-3, 6
  • Terminal/Tray: 8100-4445/22
  • Core/Insulation Crimp: Pins 1, 2, 6 - 4/4
  • Core/Insulation Crimp: Pins 3 - F/D
  • Release Tool/Test Probe: 15315247/J-35616-35 (VT)

Liftgate Module (LGM) X2 (TB5)

Pin

Wire

Circuit

Function

1

2 BN

5790

Liftgate Cinch Latch Motor Open Control

2

2 L-BU

5791

Liftgate Cinch Latch Motor Close Control

3

3 RD

1342

Battery Positive Voltage

4

0.5 RD/WH

1840

Battery Positive Voltage

5

--

--

Not Used

6

3 BK

650

Ground

Liftgate Module (LGM) X3 (TB5)


Object Number: 1469285  Size: CH

Connector Part Information

  • OEM: 7283-8398-40
  • Service: See Catalog
  • Description: 14-Way F 0.64 2.8 YESC Series (L-GY)

Terminal Part Information

  • Terminal/Tray: See Terminal Repair Kit
  • Core/Insulation Crimp: See Terminal Repair Kit
  • Release Tool/Test Probe: See Terminal Repair Kit

Liftgate Module (LGM) X3 (TB5)

Pin

Wire

Circuit

Function

1

2 WH

5798

Liftgate Open/Close Motor Open Control

2

2 BN/WH

5799

Liftgate Open/Close Motor Close Control

3

0.35 TN

5794

Liftgate Engage/Disengage Motor Engage Control

4

0.35 D-BU

5795

Liftgate Engage/Disengage Motor Disengage Control

5

0.35 D-BU/WH

5796

Liftgate Full Open Switch Signal

6

0.35 OG

5804

Low Reference

7

--

--

Not Used

8

0.35 BK/TN

5803

Liftgate Position Sensor Voltage Reference

9

0.35 L-BU/WH

5805

Liftgate Position Sensor Signal (1)

10

0.35 PU

5806

Liftgate Position Sensor Signal (2)

11

0.35 D-GN/WH

5804

Low Reference

12-14

--

--

Not Used

Liftgate Motor Assembly X1 (TB5)


Object Number: 821858  Size: CH

Connector Part Information

  • OEM: 15316639
  • Service: 15306434
  • Description: 2-Way F 040 Multilock Series (BK)

Terminal Part Information

  • Terminal/Tray: See Terminal Repair Kit
  • Crimp: See Terminal Repair Kit
  • Release Tool/Test Probe: See Terminal Repair Kit

Liftgate Motor Assembly X1 (TB5)

Pin

Wire

Circuit

Function

1

0.35 TN

5794

Liftgate Engage/Disengage Motor Engage Control

2

0.35 D-BU

5795

Liftgate Engage/Disengage Motor Disengage Control

Liftgate Motor Assembly X2 (TB5)


Object Number: 821858  Size: CH

Connector Part Information

  • OEM: 15316639
  • Service: 15306434
  • Description: 2-Way F 040 Multilock Series (BK)

Terminal Part Information

  • Terminal/Tray: See Terminal Repair Kit
  • Crimp: See Terminal Repair Kit
  • Release Tool/Test Probe: See Terminal Repair Kit

Liftgate Motor Assembly X2 (TB5)

Pin

Wire

Circuit

Function

1

0.35 OG

5804

Low Reference

2

0.35 D-BU/WH

5796

Liftgate Full Open Switch Signal

Liftgate Object Sensor - Left (TB5)


Object Number: 1664595  Size: CH

Connector Part Information

  • OEM: 12048457
  • Service: 12085481
  • Description: 2-Way M Metri-Pack 150 Series (BK)

Terminal Part Information

  • Terminal/Tray: 12047581/2
  • Core/Insulation Crimp: E/C
  • Release Tool/Test Probe: 12094429/J-35616-3 (GY)

Liftgate Object Sensor - Left (TB5)

Pin

Wire

Circuit

Function

A

0.35 PU/WH

5801

Low Reference

B

0.35 PK/BK

5802

Liftgate Object Sensor Signal

Liftgate Object Sensor - Right (TB5)


Object Number: 1664595  Size: CH

Connector Part Information

  • OEM: 12048457
  • Service: 12085481
  • Description: 2-Way M Metri-Pack 150 Series (BK)

Terminal Part Information

  • Terminal/Tray: 12047581/2
  • Core/Insulation Crimp: E/C
  • Release Tool/Test Probe: 12094429/J-35616-3 (GY)

Liftgate Object Sensor - Right (TB5)

Pin

Wire

Circuit

Function

A

0.35 PK/BK

5802

Liftgate Object Sensor Signal

B

0.35 WH/BK

6126

Liftgate Object Sensor 2 Signal

Marker Lamp - Left Front (W49 or Z88)


Object Number: 1860844  Size: CH

Connector Part Information

  • OEM: 7712-5354-4WB
  • Service: See Catalog
  • Description: 2-Way F Lamp Socket, Axial (BK)

Terminal Part Information

  • Terminal/Tray: See Terminal Repair Kit
  • Core/Insulation Crimp: See Terminal Repair Kit
  • Release Tool/Test Probe: See Terminal Repair Kit

Marker Lamp - Left Front (W49 or Z88)

Pin

Wire

Circuit

Function

A

0.5 BU

--

Left Park Lamp Voltage

B

0.5 BK

--

Ground

Marker Lamp - Left Front (WDA)


Object Number: 1283850  Size: CH

Connector Part Information

  • OEM: 12146418
  • Service: See Catalog
  • Description: 2-Way F Lamp Socket (L-GY)

Terminal Part Information

  • Terminal/Tray: See Terminal Repair Kit
  • Core/Insulation Crimp: See Terminal Repair Kit
  • Release Tool/Test Probe: See Terminal Repair Kit

Marker Lamp - Left Front (WDA)

Pin

Wire

Circuit

Function

1

0.5 BK

--

Ground

2

0.5 PU

--

Left Park Lamp Voltage

Marker Lamp - Left Front (X88)


Object Number: 1998684  Size: CH

Connector Part Information

  • OEM: 6341
  • Service: See Catalog
  • Description: 2-Way F Lamp Socket (GY)

Terminal Part Information

  • Terminal/Tray: See Terminal Repair Kit
  • Core/Insulation Crimp: See Terminal Repair Kit
  • Release Tool/Test Probe: See Terminal Repair Kit

Marker Lamp - Left Front (X88)

Pin

Wire

Circuit

Function

A

0.8 RD

--

Left Park Lamp Voltage

B

0.8 BK

--

Ground

Marker Lamp - Left Rear (W49)


Object Number: 1860844  Size: CH

Connector Part Information

  • OEM: 7712-5354-4WB
  • Service: See Catalog
  • Description: 2-Way F Lamp Socket, Axial (BK)

Terminal Part Information

  • Terminal/Tray: See Terminal Repair Kit
  • Core/Insulation Crimp: See Terminal Repair Kit
  • Release Tool/Test Probe: See Terminal Repair Kit

Marker Lamp - Left Rear (W49)

Pin

Wire

Circuit

Function

A

0.5 D-BU

--

Left Park Lamp Voltage

B

0.5 BK

--

Ground

Marker Lamp - Left Rear (WDA)


Object Number: 130733  Size: CH

Connector Part Information

  • OEM: 12146418
  • Service: See Catalog
  • Description: 2-Way F Lamp Socket (L-GY)

Terminal Part Information

  • Terminal/Tray: See Terminal Repair Kit
  • Core/Insulation Crimp: See Terminal Repair Kit
  • Release Tool/Test Probe: See Terminal Repair Kit

Marker Lamp - Left Rear (WDA)

Pin

Wire

Circuit

Function

A

0.8 L-BU

--

Left Park Lamp Voltage

B

0.8 BK

--

Ground

Marker Lamp - Left Rear (X88)


Object Number: 744036  Size: CH

Connector Part Information

  • OEM: 12110053
  • Service: See Catalog
  • Description: 2-Way F Lamp Socket (D-GY)

Terminal Part Information

  • Terminal/Tray: See Terminal Repair Kit
  • Core/Insulation Crimp: See Terminal Repair Kit
  • Release Tool/Test Probe: See Terminal Repair Kit

Marker Lamp - Left Rear (X88)

Pin

Wire

Circuit

Function

A

0.8 L-BU

--

Left Park Lamp Voltage

B

0.8 BK

--

Ground

Marker Lamp - Right Front (W49 or Z88)


Object Number: 1860844  Size: CH

Connector Part Information

  • OEM: 7712-5354-4WB
  • Service: See Catalog
  • Description: 2-Way F Lamp Socket, Axial (BK)

Terminal Part Information

  • Terminal/Tray: See Terminal Repair Kit
  • Core/Insulation Crimp: See Terminal Repair Kit
  • Release Tool/Test Probe: See Terminal Repair Kit

Marker Lamp - Right Front (W49 or Z88)

Pin

Wire

Circuit

Function

A

0.5 BU

--

Right Park Lamp Voltage

B

0.5 BK

--

Ground

Marker Lamp - Right Front (WDA)


Object Number: 1283850  Size: CH

Connector Part Information

  • OEM: 12146418
  • Service: See Catalog
  • Description: 2-Way F Lamp Socket (L-GY)

Terminal Part Information

  • Terminal/Tray: See Terminal Repair Kit
  • Core/Insulation Crimp: See Terminal Repair Kit
  • Release Tool/Test Probe: See Terminal Repair Kit

Marker Lamp - Right Front (WDA)

Pin

Wire

Circuit

Function

1

0.5 BK

--

Ground

2

0.5 PU

--

Right Park Lamp Voltage

Marker Lamp - Right Front (X88)


Object Number: 1998684  Size: CH

Connector Part Information

  • OEM: 6341
  • Service: See Catalog
  • Description: 2-Way F Lamp Socket (GY)

Terminal Part Information

  • Terminal/Tray: See Terminal Repair Kit
  • Core/Insulation Crimp: See Terminal Repair Kit
  • Release Tool/Test Probe: See Terminal Repair Kit

Marker Lamp - Right Front (X88)

Pin

Wire

Circuit

Function

A

0.8 RD

--

Right Park Lamp Voltage

B

0.8 BK

--

Ground

Marker Lamp - Right Rear (W49)


Object Number: 1860844  Size: CH

Connector Part Information

  • OEM: 7712-5354-4WB
  • Service: See Catalog
  • Description: 2-Way F Lamp Socket, Axial (BK)

Terminal Part Information

  • Terminal/Tray: See Terminal Repair Kit
  • Core/Insulation Crimp: See Terminal Repair Kit
  • Release Tool/Test Probe: See Terminal Repair Kit

Marker Lamp - Right Rear (W49)

Pin

Wire

Circuit

Function

A

0.5 D-BU

--

Left Park Lamp Voltage

B

0.5 BK

--

Ground

Marker Lamp - Right Rear (WDA)


Object Number: 130733  Size: CH

Connector Part Information

  • OEM: 12146418
  • Service: See Catalog
  • Description: 2-Way F Lamp Socket (L-GY)

Terminal Part Information

  • Terminal/Tray: See Terminal Repair Kit
  • Core/Insulation Crimp: See Terminal Repair Kit
  • Release Tool/Test Probe: See Terminal Repair Kit

Marker Lamp - Right Rear (WDA)

Pin

Wire

Circuit

Function

A

0.8 L-BU

--

Right Park Lamp Voltage

B

0.8 BK

--

Ground

Marker Lamp - Right Rear (X88)


Object Number: 744036  Size: CH

Connector Part Information

  • OEM: 12110053
  • Service: See Catalog
  • Description: 2-Way F Lamp Socket (D-GY)

Terminal Part Information

  • Terminal/Tray: See Terminal Repair Kit
  • Core/Insulation Crimp: See Terminal Repair Kit
  • Release Tool/Test Probe: See Terminal Repair Kit

Marker Lamp - Right Rear (X88)

Pin

Wire

Circuit

Function

A

0.8 L-BU

--

Right Park Lamp Voltage

B

0.8 BK

--

Ground

Mass Air Flow (MAF)/Intake Air Temperature (IAT) Sensor (LLT)


Object Number: 684983  Size: CH

Connector Part Information

  • OEM: 13520906
  • Service: 19151493
  • Description: 5-Way F GT 150 Sealed 4.0 (BK)

Terminal Part Information

  • Pins: C
  • Terminal/Tray: 12191812/19
  • Core/Insulation Crimp: C/A
  • Release Tool/Test Probe: 15315247/J-35616-2A (GY)
  • Terminal/Tray: 12191819/8
  • Core/Insulation Crimp: Pins A, B, D, E - E/A
  • Core/Insulation Crimp: Pins C - 2/A
  • Release Tool/Test Probe: 15315247/J-35616-2A (GY)

Mass Air Flow (MAF)/Intake Air Temperature (IAT) Sensor (LLT)

Pin

Wire

Circuit

Function

A

0.5 YE

492

MAF Sensor Signal

B

0.5 PK

439

Ignition 1 Voltage

C

0.5 BK/WH

451

Ground

D

0.5 L-BU

6289

Induction Air Temperature Sensor Signal

E

0.5 TN

2760

Low Reference

Memory Seat Adjuster Switch - Driver (AG3)


Object Number: 1851895  Size: CH

Connector Part Information

  • OEM: 7282-6560-40
  • Service: See Catalog
  • Description: 4-Way M 064 YESC Series (L-GY)

Terminal Part Information

  • Terminal/Tray: 7114-4720-02/14
  • Core/Insulation Crimp: J/J
  • Release Tool/Test Probe: 15315247/J-35616-65B (L-BU)

Memory Seat Adjuster Switch - Driver (AG3)

Pin

Wire

Circuit

Function

1

0.35 OG

614

Memory Set Switch Signal

2

0.35 GY/BK

5979

Memory Seat Switch Exit Signal

3

0.35 D-BU/WH

5978

Low Reference

4

0.35 BN/WH

6064

Memory Switch Dimming Control

Memory Seat Module (MSM) X1 (AG3)


Object Number: 1653404  Size: CH

Connector Part Information

  • OEM: 6098-4611
  • Service: See Catalog
  • Description: 16-Way F 1.5 Series, Unsealed (BK)

Terminal Part Information

  • Terminal/Tray: 8240-0128/22
  • Core/Insulation Crimp: C/A
  • Release Tool/Test Probe: 15315247/J-35616-2A (GY)

Memory Seat Module (MSM) X1 (AG3)

Pin

Wire

Circuit

Function

1

0.8 PU

2424

Driver Heated Seat Back Element Control

2-3

--

--

Not Used

4

0.8 L-BU

2433

Passenger Heated Seat Back Element Control

5

--

--

Not Used

6

0.8 BN

2432

Driver Heated Seat Back Element Voltage (KA1)

0.8 L-GN

2078

Heated Seat Cushion Element Control (KB6)

7

1 TN

2110

Steering Column Telescope Motor Control - Reverse (N38)

8

1 OG

2098

Steering Column Telescope Motor Forward (N38)

9

1 TN

285

Driver Seat Horizontal Motor Forward Control

10

1 L-GN

284

Driver Seat Horizontal Motor Rearward Control

11

0.8 L-GN

2078

Heated Seat Cushion Element Control (KA1)

0.8 BN

2432

Driver Heated Seat Back Element Voltage (KB6)

12

1 D-GN

286

Driver Seat Front Vertical Motor Up Control

13

1 D-BU

287

Driver Seat Front Vertical Motor Down Control

14

0.8 D-BU

2479

Passenger Heated Seat Element Voltage (KA1)

0.8 PK

2480

Passenger Heated Seat Cushion Element Control (KB6)

15

1 YE

282

Driver Seat Rear Vertical Motor Up Control

16

1 L-BU

283

Driver Seat Rear Vertical Motor Down Control

Memory Seat Module (MSM) X2 (AG3)


Object Number: 1664521  Size: CH

Connector Part Information

  • OEM: 6098-4607
  • Service: 88988497
  • Description: 6-Way F 2.8mm PBT (BK)

Terminal Part Information

  • Terminal/Tray: 8100-4443/22
  • Core/Insulation Crimp: E/A
  • Release Tool/Test Probe: 15315247/J-35616-35 (VT)

Memory Seat Module (MSM) X2 (AG3)

Pin

Wire

Circuit

Function

1

0.35 GY

6206

Low Reference

2

0.35 PK

2426

Low Reference

3

0.35 YE

2080

Low Reference

4

--

--

Not Used

5

0.35 TN

2482

Low Reference

6

0.35 L-BU

5476

Low Reference

Memory Seat Module X3 (MSM) (AG3)


Object Number: 1664577  Size: CH

Connector Part Information

  • OEM: 6098-4606
  • Service: See Catalog
  • Description: 6-Way F 2.8 Series (BN)

Terminal Part Information

  • Pins: 3, 6
  • Terminal/Tray: 8100-4443/22
  • Core/Insulation Crimp: E/A
  • Release Tool/Test Probe: 15315247/J-35616-35 (VT)
  • Pins: 1, 2, 4, 5
  • Terminal/Tray: 8100-4445/22
  • Core/Insulation Crimp: Pins 1, 2, 4 - 4/4
  • Core/Insulation Crimp: Pins 5 - F/D
  • Release Tool/Test Probe: 15315247/J-35616-35 (VT)

Memory Seat Module (MSM) X3 (AG3)

Pin

Wire

Circuit

Function

1

2 BK

550

Ground

2

2 RD/WH

4040

Battery Positive Voltage (N38)

3

0.35 PU/WH

6205

Driver Position Switch High Reference

4

2 BK

550

Ground

5

3 RD/WH

1140

Battery Positive Voltage

6

0.35 RD/WH

3140

Battery Positive Voltage

Memory Seat Module (MSM) X4 (AG3)


Object Number: 1664549  Size: CH

Connector Part Information

  • OEM: 6098-4610
  • Service: See Catalog
  • Description: 16-Way F 1.5 Series, Unsealed (GN)

Terminal Part Information

  • Terminal/Tray: 8240-0128/22
  • Core/Insulation Crimp: C/A
  • Release Tool/Test Probe: 15315247/J-35616-2A (GY)

Memory Seat Module (MSM) X4 (AG3)

Pin

Wire

Circuit

Function

1-6

--

--

Not Used

7

1 BN

2112

Steering Column Tilt Motor Control - Down (N38)

8

1 PK

2111

Steering Column Tilt Motor Control - Up (N38)

9-11

--

--

Not Used

12

1 D-BU

611

Driver Seat Lumbar Motor Forward Control

13

1 PK

610

Driver Seat Lumbar Motor Rearward Control

14

0.8 PK

2480

Passenger Heated Seat Cushion Element Control (KA1)

0.8 D-BU

2479

Passenger Heated Seat Element Voltage (KB6)

15

1 L-GN

276

Driver Seat Recline Motor Forward Control

16

1 L-BU

277

Driver Seat Recline Motor Rearward Control

Memory Seat Module (MSM) X5 (AG3)


Object Number: 1715223  Size: CH

Connector Part Information

  • OEM: 31410-1200
  • Service: See Catalog
  • Description: 20-Way F 0.64 Series (BK)

Terminal Part Information

  • Terminal/Tray: 7116-4618-02/14
  • Core/Insulation Crimp: P/P
  • Release Tool/Test Probe: J-38125-215/J-35616-64B (L-BU)

Memory Seat Module (MSM) X5 (AG3)

Pin

Wire

Circuit

Function

1

0.35 YE/BK

2079

Heated Seat Cushion Temperature Sensor Signal

2

0.35 GY

2434

Passenger Heated Seat Cushion Temperature Sensor Signal

3

0.35 TN

2436

Heated Seat Back Temperature Sensor Signal

4

0.35 D-BU

2425

Driver Heated Seat Back Temperature Sensor Signal

5-8

--

--

Not Used

9

0.35 OG

2153

Steering Column Telescope Sensor Signal (N38)

10

--

--

Not Used

11

0.35 TN

6207

5-Volt Reference

12-13

--

--

Not Used

14

0.35 BN/WH

557

Front Vertical Seat Motor Position Sensor Signal

15

0.35 TN

568

Rear Vertical Seat Motor Position Sensor Signal

16

0.35 D-GN

569

Horizontal Seat Motor Position Sensor Signal

17

0.35 WH/BK

570

Driver Seat Recline Motor Position Sensor Signal

18

--

--

Not Used

19

0.35 YE

1063

Driver Seat Lumbar Horizontal Position Sensor Signal

20

0.35 OG

2154

Steering Column Tilt Sensor Signal (N38)

Memory Seat Module (MSM) X6 (AG3)


Object Number: 1664552  Size: CH

Connector Part Information

  • OEM: 31410-1201
  • Service: See Catalog
  • Description: 20-Way F USCAR 0.64 Series (GY)

Terminal Part Information

  • Terminal/Tray: 7116-4618-02/14
  • Core/Insulation Crimp: P/P
  • Release Tool/Test Probe: J-38125-215/J-35616-64B (L-BU)

Memory Seat Module (MSM) X6 (AG3)

Pin

Wire

Circuit

Function

1

--

--

Not Used

2

0.35 GY

5961

Right Heated/Cooled Seat Mode Signal (KB6)

3-5

--

--

Not Used

6

0.35 YE

1065

Driver Seat Lumbar Forward Switch Signal

7

--

--

Not Used

8

0.35 GY

2096

Steering Column Tilt and Telescope Up Switch Signal (N38)

9

0.35 PK

2094

Steering Column Tilt and Telescope Forward Switch Signal (N38)

10

--

--

Not Used

11

0.35 L-BU/WH

181

Left Heated/Cooled Seat Mode Signal (KB6)

12-15

--

--

Not Used

16

0.35 D-BU

1064

Driver Seat Lumbar Rearward Switch Signal

17

--

--

Not Used

18

0.35 YE

2097

Steering Column Tilt and Telescope Down Switch Signal (N38)

19

0.35 OG

2095

Steering Column Tilt and Telescope Reverse Switch Signal (N38)

20

--

--

Not Used

Memory Seat Module (MSM) X7 (AG3)


Object Number: 1664553  Size: CH

Connector Part Information

  • OEM: 31410-1202
  • Service: See Catalog
  • Description: 20-Way F 0.64 Series (BK)

Terminal Part Information

  • Terminal/Tray: 7116-4618-02/14
  • Core/Insulation Crimp: P/P
  • Release Tool/Test Probe: J-38125-215/J-35616-64B (L-BU)

Memory Seat Module (MSM) X7 (AG3)

Pin

Wire

Circuit

Function

1-6

--

--

Not Used

7

0.35 D-GN

1518

Power Seat Front Vertical Up Switch Signal

8

0.35 YE

1519

Power Seat Rear Vertical Up Switch Signal

9

0.35 TN

1522

Power Seat Horizontal Forward Switch Signal

10

0.35 GY/BK

1269

Power Seat Recline Forward Switch Signal

11-15

--

--

Not Used

16

0.35 D-GN

5060

Low Speed GMLAN Serial Data

17

0.35 D-BU

1520

Power Seat Front Vertical Down Switch Signal

18

0.35 L-BU

1521

Power Seat Rear Vertical Down Switch Signal

19

0.35 L-GN

1523

Power Seat Horizontal Rearward Switch Signal

20

0.35 D-GN/WH

1270

Power Seat Recline Rearward Switch Signal

Mode Actuator


Object Number: 280764  Size: CH

Connector Part Information

  • OEM: 12064993
  • Service: 12102485
  • Description: 6-Way F Micro-Pack 100 Series (BK)

Terminal Part Information

  • Terminal/Tray: 12146447/3
  • Core/Insulation Crimp: E/C
  • Release Tool/Test Probe: 12031876-1/J-35616-6 (BN)

Mode Actuator

Pin

Wire

Circuit

Function

5

0.35 TN

2273

Mode Door Control

6

0.35 TN/BK

119

Mode Door Control

7

--

--

Not Used

8

0.35 YE

1791

Low Reference

9

0.35 L-GN

2275

Mode Door Position Signal

10

0.35 GY

598

5-Volt Reference

Mode Actuator - Auxiliary


Object Number: 280764  Size: CH

Connector Part Information

  • OEM: 12064993
  • Service: 12102485
  • Description: 6-Way F Micro-Pack 100 Series (BK)

Terminal Part Information

  • Terminal/Tray: 12146447/3
  • Core/Insulation Crimp: E/C
  • Release Tool/Test Probe: 12031876-1/J-35616-6 (BN)

Mode Actuator - Auxiliary

Pin

Wire

Circuit

Function

5

0.35 OG

2215

Auxiliary Mode Door Control

6

0.35 L-GN/WH

5729

Auxiliary Mode Motor Voltage

7

--

--

Not Used

8

0.35 GY/BK

1798

Low Reference

9

0.35 GY

2599

Auxiliary Mode Door Control

10

0.35 GY

596

5-Volt Reference

Object Alarm Module X1 (UD7)


Object Number: 1664569  Size: CH

Connector Part Information

  • OEM: 89047364
  • Service: See Catalog
  • Description: 12-Way F Unsealed (BK)

Terminal Part Information

  • Terminal/Tray: 7116-4618-02/14
  • Core/Insulation Crimp: P/P
  • Release Tool/Test Probe: J-38125-215/J-35616-64B (L-BU)

Object Alarm Module X1 (UD7)

Pin

Wire

Circuit

Function

1

0.35 RD/WH

3140

Battery Positive Voltage

2

0.35 WH

2370

Telltale Assembly Voltage

3

--

--

Not Used

4

0.35 OG

2371

Left Amber Indicator Control

5

--

--

Not Used

6

0.35 D-GN

5060

Low Speed GMLAN Serial Data

7

0.35 BK

650

Ground

8

--

--

Not Used

9

0.35 D-BU

2372

Center Amber Indicator Control

10

0.35 GY

2373

Red Indicator Control

11-12

--

--

Not Used

Object Alarm Module X2 (UD7)


Object Number: 1715212  Size: CH

Connector Part Information

  • OEM: 89047354
  • Service: 19115653
  • Description: 8-Way F Unsealed (GY)

Terminal Part Information

  • Terminal/Tray: 7116-4618-02/14
  • Core/Insulation Crimp: P/P
  • Release Tool/Test Probe: J-38125-215/J-35616-64B (L-BU)

Object Alarm Module X2 (UD7)

Pin

Wire

Circuit

Function

1

0.35 PU

2378

Right Rear Corner Object Sensor Signal

2

0.35 D-GN

2377

Right Rear Middle Object Sensor Signal

3

0.35 OG

2376

Left Rear Middle Object Sensor Signal

4

0.35 D-BU

2374

Object Sensor Voltage

5

0.35 YE

2375

Left Rear Corner Object Sensor Signal

6-7

--

--

Not Used

8

0.35 GY

2379

Low Reference

Object Alarm Sensor - Left Rear Corner (UD7)


Object Number: 1711020  Size: CH

Connector Part Information

  • OEM: 31404-3700
  • Service: 88988337
  • Description: 3-Way F MX64 Series, Sealed (BK)

Terminal Part Information

  • Terminal/Tray: 7116-4618-02/14
  • Core/Insulation Crimp: P/P
  • Release Tool/Test Probe: J-38125-215/J-35616-64B (L-BU)

Object Alarm Sensor - Left Rear Corner (UD7)

Pin

Wire

Circuit

Function

1

0.35 D-BU

2374

Object Sensor Voltage

2

0.35 GY

2379

Low Reference

3

0.35 YE

2375

Left Rear Corner Object Sensor Signal

Object Alarm Sensor - Left Rear Middle (UD7)


Object Number: 1711020  Size: CH

Connector Part Information

  • OEM: 31404-3700
  • Service: 88988337
  • Description: 3-Way F MX64 Series, Sealed (BK)

Terminal Part Information

  • Terminal/Tray: 7116-4618-02/14
  • Core/Insulation Crimp: P/P
  • Release Tool/Test Probe: J-38125-215/J-35616-64B (L-BU)

Object Alarm Sensor - Left Rear Middle (UD7)

Pin

Wire

Circuit

Function

1

0.35 D-BU

2374

Object Sensor Voltage

2

0.35 GY

2379

Low Reference

3

0.35 OG

2376

Left Rear Middle Object Sensor Signal

Object Alarm Sensor - Right Rear Corner (UD7)


Object Number: 1711020  Size: CH

Connector Part Information

  • OEM: 31404-3700
  • Service: 88988337
  • Description: 3-Way F MX64 Series, Sealed (BK)

Terminal Part Information

  • Terminal/Tray: 7116-4618-02/14
  • Core/Insulation Crimp: P/P
  • Release Tool/Test Probe: J-38125-215/J-35616-64B (L-BU)

Object Alarm Sensor - Right Rear Corner (UD7)

Pin

Wire

Circuit

Function

1

0.35 D-BU

2374

Object Sensor Voltage

2

0.35 GY

2379

Low Reference

3

0.35 PU

2378

Right Rear Corner Object Sensor Signal

Object Alarm Sensor - Right Rear Middle (UD7)


Object Number: 1711020  Size: CH

Connector Part Information

  • OEM: 31404-3700
  • Service: 88988337
  • Description: 3-Way F MX64 Series, Sealed (BK)

Terminal Part Information

  • Terminal/Tray: 7116-4618-02/14
  • Core/Insulation Crimp: P/P
  • Release Tool/Test Probe: J-38125-215/J-35616-64B (L-BU)

Object Alarm Sensor - Right Rear Middle (UD7)

Pin

Wire

Circuit

Function

1

0.35 D-BU

2374

Object Sensor Voltage

2

0.35 GY

2379

Low Reference

3

0.35 D-GN

2377

Right Rear Middle Object Sensor Signal

Output Speed Sensor (OSS)


Object Number: 1910666  Size: CH

Connector Part Information

  • OEM: 15473844
  • Service: Non-Serviceable
  • Description: 2-Way F M/P 150.2 Series P2S (L-GN)

Terminal Part Information

  • Terminal/Tray: Non-Serviceable
  • Core/Insulation Crimp: Non-Serviceable
  • Release Tool/Test Probe: Non-Serviceable

Output Speed Sensor (OSS)

Pin

Wire

Circuit

Function

A

0.5 WH

--

OSS High Signal

B

0.5 BK

--

OSS Low Signal

Outside Rearview Mirror - Driver (DL6 or DS3)


Object Number: 1732767  Size: CH

Connector Part Information

  • OEM: 7282-6455-40
  • Service: 88988272
  • Description: 10-Way M Kaizen YESC Series (L-GY)

Terminal Part Information

  • Terminal/Tray: 7114-4100-08/9
  • Core/Insulation Crimp: E/C
  • Release Tool/Test Probe: 15315247/J-35616-3 (GY)

Outside Rearview Mirror - Driver (DL6 or DS3)

Pin

Wire

Circuit

Function

1

0.35 L-GN

89

Left Mirror Motor Down Control

2

0.35 WH

81

Driver Mirror Motor Right Control

3

0.35 BK

550

Ground (DS3 without W49)

0.5 L-GN

627

Ground (W49)

4

--

--

Not Used

5

0.5 L-BU/WH

1314

Left Turn Signal Indicator Lamp Voltage (DS3)

6

0.35 TN

329

Driver Mirror Motor Voltage

7

0.5 OG

2267

Mirror Heating Element Voltage (DS3)

8-9

--

--

Not Used

10

0.35 BK

550

Ground (DS3)

Outside Rearview Mirror - Driver X1 (DNP or DNT)


Object Number: 1732767  Size: CH

Connector Part Information

  • OEM: 7282-6455-40
  • Service: 88988272
  • Description: 10-Way M Kaizen YESC Series (L-GY)

Terminal Part Information

  • Terminal/Tray: 7114-4100-08/9
  • Core/Insulation Crimp: E/C
  • Release Tool/Test Probe: 15315247/J-35616-3 (GY)

Outside Rearview Mirror - Driver X1 (DNP or DNT)

Pin

Wire

Circuit

Function

1

0.35 YE

6802

Left Extend/Fold Mirror Motor Extend Control

2

0.35 L-BU

6803

Left Extend Mirror Motor Retract/Unfold Control

3

--

--

Not Used

4

0.35 D-GN

784

Driver Mirror Vertical Position Sensor Signal

5

0.35 GY

786

Driver Mirror Horizontal Position Sensor Signal

6

--

--

Not Used

7

0.35 D-BU

672

5-Volt Reference

8

0.35 PK

5853

Driver Side Object Detection LED Signal (UFT)

9

0.35 PK/BK

5855

Low Reference (UFT)

10

0.35 BN

673

Low Reference

Outside Rearview Mirror - Driver X2 (DNP or DNT)


Object Number: 1283904  Size: CH

Connector Part Information

  • OEM: 7282-5683-60
  • Service: See Catalog
  • Description: 10-Way M YESC/USCAR Class III Series, Sealed (GN)

Terminal Part Information

  • Terminal/Tray: 7114-4100-08/9
  • Core/Insulation Crimp: E/C
  • Release Tool/Test Probe: 15315247/J-35616-3 (GY)

Outside Rearview Mirror - Driver X2 (DNP or DNT)

Pin

Wire

Circuit

Function

1

0.35 D-BU/WH

6160

Left Mirror Vertical Position Control

2

0.35 D-GN/WH

6159

Left Mirror Horizontal Position Control

3

0.5 L-GN

627

Low Reference

4

0.35 PK

1691

Low Reference (DNP)

5

0.5 L-BU/WH

1314

Left Turn Signal Indicator Lamp Voltage

6

0.35 WH

7197

Left Mirror Drive Motor Common

7

0.5 OG

2267

Mirror Heating Element Voltage

8

--

--

Not Used

9

0.35 GY

1690

Automatic Day/Night Mirror Signal (DNP)

10

0.35 BK

550

Ground

Outside Rearview Mirror - Passenger (DL6 or DS3)


Object Number: 1732767  Size: CH

Connector Part Information

  • OEM: 7282-6455-40
  • Service: 88988272
  • Description: 10-Way M Kaizen YESC Series (L-GY)

Terminal Part Information

  • Terminal/Tray: 7114-4100-08/9
  • Core/Insulation Crimp: E/C
  • Release Tool/Test Probe: 15315247/J-35616-3 (GY)

Outside Rearview Mirror - Passenger (DL6 or DS3)

Pin

Wire

Circuit

Function

1

0.35 PU/WH

889

Passenger Mirror Motor Down Control

2

0.35 OG/WH

881

Passenger Mirror Motor Right Control

3

0.35 BK

750

Ground (DS3 without W49)

0.5 D-GN

628

Ground (W49)

4

--

--

Not Used

5

0.5 D-BU/WH

1315

Right Turn Signal Indicator Lamp Voltage (DS3)

6

0.35 TN/WH

330

Passenger Mirror Motor Voltage

7

0.5 OG

2267

Mirror Heating Element Voltage (DS3)

8-9

--

--

Not Used

10

0.35 BK

750

Ground (DS3)

Outside Rearview Mirror - Passenger X1 (DNP or DNT)


Object Number: 1732767  Size: CH

Connector Part Information

  • OEM: 7282-6455-40
  • Service: 88988272
  • Description: 10-Way M Kaizen YESC Series (L-GY)

Terminal Part Information

  • Terminal/Tray: 7114-4100-08/9
  • Core/Insulation Crimp: E/C
  • Release Tool/Test Probe: 15315247/J-35616-3 (GY)

Outside Rearview Mirror - Passenger X1 (DNP or DNT)

Pin

Wire

Circuit

Function

1

0.35 YE

6804

Driver Mirror Motor Down Control

2

0.35 L-BU

6805

Right Extend Motor Retract/Unfold Control

3

--

--

Not Used

4

0.35 BN

787

Passenger Mirror Vertical Position Sensor Signal

5

0.35 L-BU/BK

785

Passenger Mirror Horizontal Position Sensor Signal

6

--

--

Not Used

7

0.35 YE

674

5-Volt Reference

8

0.35 PK

5861

Passenger Side Object Detection LED Signal (UFT)

9

0.35 PK/BK

5862

Low Reference (UFT)

10

0.35 L-GN

675

Low Reference

Outside Rearview Mirror - Passenger X2 (DNP or DNT)


Object Number: 1283904  Size: CH

Connector Part Information

  • OEM: 7282-5683-60
  • Service: See Catalog
  • Description: 10-Way M YESC/USCAR Class III Series, Sealed (GN)

Terminal Part Information

  • Terminal/Tray: 7114-4100-08/9
  • Core/Insulation Crimp: E/C
  • Release Tool/Test Probe: 15315247/J-35616-3 (GY)

Outside Rearview Mirror - Passenger X2 (DNP or DNT)

Pin

Wire

Circuit

Function

1

0.35 OG/BK

6162

Outside Right Mirror Right Front Up Control

2

0.35 GY/BK

6161

Right Mirror Horizontal Position Control

3

0.5 D-GN

628

Low Reference

4

--

--

Not Used

5

0.5 D-BU/WH

1315

Right Turn Signal Indicator Lamp Voltage

6

0.35 WH

7196

Right Mirror Drive Motor Common

7

0.5 OG

2267

Mirror Heating Element Voltage

8-9

--

--

Not Used

10

0.35 BK

750

Ground

Outside Rearview Mirror Switch (DL6 or DS3)


Object Number: 62464  Size: CH

Connector Part Information

  • OEM: 12064769
  • Service: 12101762
  • Description: 10-Way F Metri-Pack 150 Series (NA)

Terminal Part Information

  • Terminal/Tray: 12064971/5
  • Core/Insulation Crimp: E/C
  • Release Tool/Test Probe: 12094429/J-35616-14 (GN)

Outside Rearview Mirror Switch (DL6 or DS3)

Pin

Wire

Circuit

Function

A

--

--

Not Used

B

0.5 RD/WH

1940

Battery Positive Voltage

C

0.35 TN/WH

330

Passenger Mirror Motor Voltage

D

0.35 OG/WH

881

Passenger Mirror Motor Right Control

E

0.35 GY

8

Instrument Panel Lamp Voltage

F

0.35 PU/WH

889

Passenger Mirror Motor Down Control

G

0.35 BK

550

Ground

H

0.35 TN

329

Driver Mirror Motor Voltage

J

0.35 WH

81

Driver Mirror Motor Right Control

K

0.35 L-GN

89

Driver Mirror Motor Down Control

Overhead Console Courtesy/Reading Lamps - Front


Object Number: 333035  Size: CH

Connector Part Information

  • OEM: 12047781
  • Service: 12101864
  • Description: 3-Way F Metri-Pack 150 Series (BK)

Terminal Part Information

  • Pins: A, C
  • Terminal/Tray: 12047767/2
  • Core/Insulation Crimp: E/A
  • Release Tool/Test Probe: 12094429/J-35616-14 (GN)
  • Pins: B
  • Terminal/Tray: 12064971/5
  • Core/Insulation Crimp: E/C
  • Release Tool/Test Probe: 12094429/J-35616-14 (GN)

Overhead Console Courtesy/Reading Lamps - Front

Pin

Wire

Circuit

Function

A

0.8 OG

1732

Courtesy Lamps Voltage

B

0.5 BK

850

Ground

C

0.8 GY/BK

690

Courtesy Lamp High Control

Overhead Console Courtesy/Reading Lamps - Rear


Object Number: 333035  Size: CH

Connector Part Information

  • OEM: 12047781
  • Service: 12101864
  • Description: 3-Way F Metri-Pack 150 Series (BK)

Terminal Part Information

  • Terminal/Tray: 12064971/5
  • Core/Insulation Crimp: E/C
  • Release Tool/Test Probe: 12094429/J-35616-14 (GN)

Overhead Console Courtesy/Reading Lamps - Rear

Pin

Wire

Circuit

Function

A

0.5 OG

1732

Courtesy Lamps Voltage

B

0.5 BK

850

Ground

C

0.5 GY/BK

690

Courtesy Lamp High Control

Park Brake Switch


Object Number: 35348  Size: CH

Connector Part Information

  • OEM: 12004267
  • Service: 12102561
  • Description: 1-Way F 56 Series Lock Type (BK)

Terminal Part Information

  • Terminal/Tray: 12124515/1
  • Core/Insulation Crimp: C/D
  • Release Tool/Test Probe: 12094430/J-35616-42 (RD)

Park Brake Switch

Pin

Wire

Circuit

Function

A

0.5 OG/BK

233

Park Brake Switch Signal

Park Lamp - Left Rear (W49)


Object Number: 1914599  Size: CH

Connector Part Information

  • OEM: 1011101
  • Service: See Catalog
  • Description: 2-Way F Lamp Socket, Axial (WH)

Terminal Part Information

  • Terminal/Tray: See Terminal Repair Kit
  • Core/Insulation Crimp: See Terminal Repair Kit
  • Release Tool/Test Probe: See Terminal Repair Kit

Park Lamp - Left Rear (W49)

Pin

Wire

Circuit

Function

A

0.5 BK

--

Ground

0.5 BK

--

Ground

B

0.5 BN

--

Park Lamp Voltage

Park Lamp - Left Rear (Z88)


Object Number: 1335523  Size: CH

Connector Part Information

  • OEM: 104257-1
  • Service: See Catalog
  • Description: 2-Way F (BK)

Terminal Part Information

  • Terminal/Tray: See Terminal Repair Kit
  • Core/Insulation Crimp: See Terminal Repair Kit
  • Release Tool/Test Probe: See Terminal Repair Kit

Park Lamp - Left Rear (Z88)

Pin

Wire

Circuit

Function

1

0.5 BK

--

Left Park Lamp Voltage

2

0.5 BK

--

Ground

Park Lamp - Right Rear (W49)


Object Number: 1914599  Size: CH

Connector Part Information

  • OEM: 1011101
  • Service: See Catalog
  • Description: 2-Way F Lamp Socket, Axial (WH)

Terminal Part Information

  • Terminal/Tray: See Terminal Repair Kit
  • Core/Insulation Crimp: See Terminal Repair Kit
  • Release Tool/Test Probe: See Terminal Repair Kit

Park Lamp - Right Rear (W49)

Pin

Wire

Circuit

Function

A

0.5 BK

--

Ground

0.5 BK

--

Ground

B

0.5 BN

--

Park Lamp Voltage

Park Lamp - Right Rear (Z88)


Object Number: 1335523  Size: CH

Connector Part Information

  • OEM: 104257-1
  • Service: See Catalog
  • Description: 2-Way F (BK)

Terminal Part Information

  • Terminal/Tray: See Terminal Repair Kit
  • Core/Insulation Crimp: See Terminal Repair Kit
  • Release Tool/Test Probe: See Terminal Repair Kit

Park Lamp - Right Rear (Z88)

Pin

Wire

Circuit

Function

1

0.5 BK

--

Right Park Lamp Voltage

2

0.5 BK

--

Ground

Park/Turn Signal Lamp - Left (X88)


Object Number: 1694736  Size: CH

Connector Part Information

  • OEM: 12450004
  • Service: See Catalog
  • Description: 3-Way F CIC W3 Socket (L-GY)

Terminal Part Information

  • Terminal/Tray: See Terminal Repair Kit
  • Core/Insulation Crimp: See Terminal Repair Kit
  • Release Tool/Test Probe: See Terminal Repair Kit

Park/Turn Signal Lamp - Left (X88)

Pin

Wire

Circuit

Function

A

0.8 GN

--

Left Turn Voltage

B

0.8 BK

--

Ground

0.8 BK

--

Ground

C

0.8 RD

--

Park Lamps Voltage

0.8 RD

--

Park Lamps Voltage

Park/Turn Signal Lamp - Right (X88)


Object Number: 1694736  Size: CH

Connector Part Information

  • OEM: 12450004
  • Service: See Catalog
  • Description: 3-Way F CIC W3 Socket (L-GY)

Terminal Part Information

  • Terminal/Tray: See Terminal Repair Kit
  • Core/Insulation Crimp: See Terminal Repair Kit
  • Release Tool/Test Probe: See Terminal Repair Kit

Park/Turn Signal Lamp - Right (X88)

Pin

Wire

Circuit

Function

A

0.8 GN

--

Right Turn Voltage

B

0.8 BK

--

Ground

0.8 BK

--

Ground

C

0.8 RD

--

Park Lamps Voltage

0.8 RD

--

Park Lamps Voltage

PRNDL Lamp


Object Number: 407137  Size: CH

Connector Part Information

  • OEM: 12162711
  • Service: See Catalog
  • Description: 2-Way Lamp Socket Wedge Base W2 (BK)

Terminal Part Information

  • Terminal/Tray: See Terminal Repair Kit
  • Core/Insulation Crimp: See Terminal Repair Kit
  • Release Tool/Test Probe: See Terminal Repair Kit

PRNDL Lamp

Pin

Wire

Circuit

Function

A

0.35 BU

--

Instrument Panel Lamp Voltage

B

0.35 BU

--

Ground

Radio X1


Object Number: 1856798  Size: CH

Connector Part Information

  • OEM: 7283-9281-30
  • Service: See Catalog
  • Description: 14-Way F YESC Kaizen Series (BK)

Terminal Part Information

  • Pins: 1, 8
  • Terminal/Tray: 12191812/19
  • Core/Insulation Crimp: C/A
  • Release Tool/Test Probe: 15315247/J-35616-2A (GY)
  • Pins: 2-7, 9-11, 13
  • Terminal/Tray: 7116-4618-02/14
  • Core/Insulation Crimp: P/P
  • Release Tool/Test Probe: J-38125-215/J-35616-64B (L-BU)

Radio X1

Pin

Wire

Circuit

Function

1

1 RD/WH

4240

Battery Positive Voltage

2

0.5 TN

201

Left Front Speaker Output (+) (UQF)

0.5 TN

511

Left Front Low Level Audio Signal (+) (UQA or UQS)

3

0.5 L-GN

200

Right Front Speaker Output (+) (UQF)

0.5 L-GN/WH

512

Right Front Low Level Audio Signal (+) (UQA or UQS)

4

0.35 PK

5149

Voice Recognition Audio Signal (UE1 with UZR or U3R)

5

0.35 PK/BK

5152

Low Reference (UE1 with UZR or U3R)

6

0.35 WH

7066

Entertainment Remote Enable Signal

7

0.35 PU/WH

1382

LED Dimming Signal

8

1 BK/WH

351

Ground

9

0.5 GY

118

Left Front Speaker Output (-) (UQF)

0.5 D-GN

1947

Left Front Low Level Audio Signal (-) (UQA or UQS)

10

0.5 D-GN

117

Right Front Speaker Output (-) (UQF)

0.5 L-GN

1948

Right Front Low Level Audio Signal (-) (UQA or UQS)

11

0.35 BARE

1573

Drain Wire (UQA or UQS)

12

--

--

Not Used

13

0.35 D-GN

5060

Low Speed GMLAN Serial Data

14

--

--

Not Used

Radio X2


Object Number: 1856799  Size: CH

Connector Part Information

  • OEM: 7283-9282-30
  • Service: See Catalog
  • Description: 16-Way F YESC Kaizen Series (BK)

Terminal Part Information

  • Terminal/Tray: 7116-4618-02/14
  • Core/Insulation Crimp: P/P
  • Release Tool/Test Probe: J-38125-215/J-35616-64B (L-BU)

Radio X2

Pin

Wire

Circuit

Function

1

0.5 BN/WH

367

Left Audio Signal (+) (U2K or UBS)

2

0.5 D-GN/WH

368

Right Audio Signal (+) (U2K or UBS)

3

0.35 BARE

1574

Drain Wire (UQA or UQS)

4

--

--

Not Used

5

0.35 BN/WH

599

Left Rear Low Level Audio Signal (+) (without UQF without UK6)

0.35 BN

199

Left Rear Speaker Output (+) (UQF without UK6)

6

0.35 D-BU

46

Right Rear Speaker Output (+) (UQF without UK6)

0.35 D-BU

546

Right Rear Low Level Audio Signal (+) (without UQF without UK6)

7

0.35 OG/BK

1406

Remote Playback Device Left Audio Signal (UE1)

8

0.35 OG

5748

Radio Audio Mute Signal (without UQF)

9

0.5 TN/WH

372

Left Audio Signal (-) (U2K or UBS)

10

0.5 GY

388

Right Audio Signal (-) (U2K or UBS)

11

0.35 BARE

6131

Drain Wire (U2K or UBS)

12

--

--

Not Used

13

0.35 BN

1999

Left Rear Low Level Audio Signal (-) (UK6 without UQF)

0.35 YE

116

Left Rear Speaker Output (-) (UQF without UK6)

14

0.35 TN

1946

Right Rear Low Level Audio Signal (-) (UK6 without UQF)

0.35 L-BU

115

Right Rear Speaker Output (-) (UQF without UK6)

15

0.35 L-BU

1405

Remote Playback Device Audio Common Signal (UE1)

16

--

--

Not Used

Radio X3 (U42)


Object Number: 1856800  Size: CH

Connector Part Information

  • OEM: 7283-9283-40
  • Service: See Catalog
  • Description: 16-Way F YESC Kaizen Series (L-GY)

Terminal Part Information

  • Terminal/Tray: 7116-4618-02/14
  • Core/Insulation Crimp: P/P
  • Release Tool/Test Probe: J-38125-215/J-35616-64B (L-BU)

Radio X3 (U42)

Pin

Wire

Circuit

Function

1

0.35 YE

2059

Auxiliary Audio Left Signal

2

0.35 WH

2058

Auxiliary Audio Right Signal

3

0.35 L-BU

5826

Left DVD Audio Signal (+)

4

0.35 WH

5828

Right DVD Audio Signal (+)

5

0.35 OG/BK

5831

Remote Infrared Signal (+)

6

0.35 PK/BK

5844

Video Bright Control

7

0.35 D-GN

6975

DVD Video Signal (+)

8

0.35 PU

2056

Auxiliary Video High Signal

9

0.35 BARE

5345

Drain Wire

10

0.35 L-GN/BK

5845

Video Module Signal

11

0.35 PU

6979

DVD Audio Common

12

0.35 BARE

6980

DVD Audio Shield

13

0.35 TN/WH

5830

Remote Infrared Signal (-)

14

0.35 BARE

6976

DVD Video Drain Wire

15

0.35 WH/BK

5335

DVD Video Signal (-)

16

0.35 BARE

5346

Drain Wire

Radio X4 (U3R or UVB or UZR)


Object Number: 1856802  Size: CH

Connector Part Information

  • OEM: 7283-9284-80
  • Service: See Catalog
  • Description: 16-Way F YESC Kaizen Series (BN)

Terminal Part Information

  • Terminal/Tray: 7116-4618-02/14
  • Core/Insulation Crimp: P/P
  • Release Tool/Test Probe: J-38125-215/J-35616-64B (L-BU)

Radio X4 (U3R or UVB or UZR)

Pin

Wire

Circuit

Function

1-2

--

--

Not Used

3

0.5 D-BU

6760

Center Speaker High

4

0.5 WH

6763

Subwoofer Speaker High

5

0.5 D-GN/WH

817

Vehicle Speed Signal

6

0.35 PK

6972

Camera Signal 2 (+) (UVC)

7

0.35 L-BU

6973

Camera Signal 2 (UVC)

8-10

--

--

Not Used

11

0.5 OG

6761

Center Speaker Low

12

0.5 PK

6762

Subwoofer Speaker Low

13

0.5 BARE

5838

Ground

14-16

--

--

Not Used

Radio/HVAC Control - Auxiliary X1 (UK6)


Object Number: 1454404  Size: CH

Connector Part Information

  • OEM: 15394149
  • Service: See Catalog
  • Description: 16-Way F Micro-Pack 064 Series (GY)

Terminal Part Information

  • Terminal/Tray: 15359541/4
  • Core/Insulation Crimp: M/M
  • Release Tool/Test Probe: 15381651-2/J-35616-64B (L-BU)

Radio/HVAC Control - Auxiliary X1 (UK6)

Pin

Wire

Circuit

Function

1

0.35 OG/BK

5329

Infrared Audio Signal (+) (U42)

2

0.35 BN/WH

5331

Infrared Audio Common Signal (U42)

3

0.35 PU/WH

5330

Right Infrared Audio Signal (U42)

4

0.35 BARE

5332

Infrared Audio Drain Wire (U42)

5

0.5 RD/WH

2340

Battery Positive Voltage

6

0.5 BK/WH

351

Ground

7

0.35 PU/WH

1382

LED Dimming Signal

8-13

--

--

Not Used

14

0.35 PK

5829

Infrared Module Voltage (U42)

15

0.35 D-GN

5060

Low Speed GMLAN Serial Data

16

--

--

Not Used

Radio/HVAC Control - Auxiliary X2 (UK6)


Object Number: 1776475  Size: CH

Connector Part Information

  • OEM: 15394152
  • Service: 19115676
  • Description: 16-Way F Micro-Pack 064 Series (BK)

Terminal Part Information

  • Terminal/Tray: 15359541/4
  • Core/Insulation Crimp: M/M
  • Release Tool/Test Probe: 15381651-2/J-35616-64B (L-BU)

Radio/HVAC Control - Auxiliary X2 (UK6)

Pin

Wire

Circuit

Function

1

0.8 BN/WH

599

Left Rear Low Level Audio Signal (+)

2

0.8 BN

1999

Left Rear Low Level Audio Signal (-)

3

0.8 D-BU

546

Right Rear Low Level Audio Signal (+)

4

0.8 TN

1946

Right Rear Low Level Audio Signal (-)

5

0.35 BARE

1574

Drain Wire

6-8

--

--

Not Used

9

0.8 L-BU

5312

Left Rear Low Level Audio Signal (+)

10

0.8 BN

5314

Left Rear Low Level Audio Signal (-)

11

0.8 L-GN

5313

Right Rear Low Level Audio Signal (+)

12

0.8 TN/WH

5830

Right Rear Low Level Audio Signal (-)

13

0.35 BARE

6759

Audio Drain Wire

14-16

--

--

Not Used

Rear Differential Clutch Control Module X1 (MH6)


Object Number: 1861930  Size: CH

Connector Part Information

  • OEM: 89047383
  • Service: 89047382
  • Description: 5-Way F (BK)

Terminal Part Information

  • Terminal/Tray: See Terminal Repair Kit
  • Core/Insulation Crimp: See Terminal Repair Kit
  • Release Tool/Test Probe: See Terminal Repair Kit

Rear Differential Clutch Control Module X1 (MH6)

Pin

Wire

Circuit

Function

1

--

--

Not Used

2

0.5 YE

9999

Transfer Case Fluid Temperature Signal

3

0.5 YE

9997

Transfer Case Actuator Low Control

4

0.5 YE

9998

Low Reference

5

0.5 YE

9996

Transfer Case Actuator High Control

Rear Differential Clutch Control Module X2 (MH6)


Object Number: 1845114  Size: CH

Connector Part Information

  • OEM: 13509360
  • Service: See Catalog
  • Description: 10-Way F Kaizen 0.64 Series, Sealed (BK)

Terminal Part Information

  • Terminal/Tray: 7116-4618-02/14
  • Core/Insulation Crimp: P/P
  • Release Tool/Test Probe: J-38125-215/J-35616-64B (L-BU)

Rear Differential Clutch Control Module X2 (MH6)

Pin

Wire

Circuit

Function

1-2

--

--

Not Used

3

0.5 BK

650

Ground

4

--

--

Not Used

5

0.35 L-BU

5986

Communication Enable

6

0.5 RD/WH

1740

Battery Positive Voltage

7

--

--

Not Used

8

0.35 TN

2501

High Speed GMLAN Serial Data Bus-

9

0.35 TN/BK

2500

High Speed GMLAN Serial Data Bus+

10

--

--

Not Used

Rear Parking Assist (RPA) Display (UD7)


Object Number: 130635  Size: CH

Connector Part Information

  • OEM: 12045813
  • Service: 12101889
  • Description: 4-Way F Metri-Pack 150 Series (CR)

Terminal Part Information

  • Terminal/Tray: 12064971/5
  • Core/Insulation Crimp: E/C
  • Release Tool/Test Probe: 12094429/J-35616-14 (GN)

Rear Parking Assist (RPA) Display (UD7)

Pin

Wire

Circuit

Function

A

0.35 WH

2370

Telltale Assembly Voltage

B

0.35 OG

2371

Left Amber Indicator Control

C

0.35 D-BU

2372

Center Amber Indicator Control

D

0.35 GY

2373

Red Indicator Control

Rear Seat Audio (RSA) Control (RCA)


Object Number: 1709750  Size: CH

Connector Part Information

  • OEM: 31068-1010
  • Service: See Catalog
  • Description: 4-Way F HDAC64 SR Housing (BK)

Terminal Part Information

  • Terminal/Tray: 1393364-2/7
  • Core/Insulation Crimp: K/K
  • Release Tool/Test Probe: 15315247/J-35616-64B (L-BU)

Rear Seat Audio (RSA) Control (RCA)

Pin

Wire

Circuit

Function

1

0.35 L-GN

1011

Remote Radio Control Signal

2

0.35 BK

850

Ground

3

0.35 PU/WH

1382

LED Dimming Signal

4

0.35 PU

1375

12-Volt Reference

Rear Window Defogger Grid X1


Object Number: 365953  Size: CH

Connector Part Information

  • OEM: 12092133
  • Service: 12167133
  • Description: 1-Way F Metri-Pack 630 Series Self Lock (BK)

Terminal Part Information

  • Terminal/Tray: 12034110/18
  • Core/Insulation Crimp: B/G
  • Release Tool/Test Probe: 12094430/J-35616-42 (RD)

Rear Window Defogger Grid X1

Pin

Wire

Circuit

Function

A

5 PU

293

Rear Defog Element Voltage

Rear Window Defogger Grid X2


Object Number: 365953  Size: CH

Connector Part Information

  • OEM: 12092133
  • Service: 12167133
  • Description: 1-Way F Metri-Pack 630 Series Self Lock (BK)

Terminal Part Information

  • Terminal/Tray: 12034110/18
  • Core/Insulation Crimp: F/G
  • Release Tool/Test Probe: 12094430/J-35616-42 (RD)

Rear Window Defogger Grid X2

Pin

Wire

Circuit

Function

A

3 BK

650

Ground

Rear Window Washer Fluid Pump


Object Number: 646148  Size: CH

Connector Part Information

  • OEM: 12020599
  • Service: 12102664
  • Description: 2-Way F Metri-Pack 280 Series (BK)

Terminal Part Information

  • Terminal/Tray: 12077411/2
  • Core/Insulation Crimp: 2/5
  • Release Tool/Test Probe: 12094430/J-35616-4A (PU)

Rear Window Washer Fluid Pump

Pin

Wire

Circuit

Function

A

0.5 BK

1350

Ground

B

0.8 D-GN

392

Rear Window Washer Pump Control

Rear Window Wiper Motor (without X88)


Object Number: 62432  Size: CH

Connector Part Information

  • OEM: 12041429
  • Service: 12167129
  • Description: 5-Way F Metri-Pack 280 Series (BK)

Terminal Part Information

  • Pins: A, B
  • Terminal/Tray: 12066214/2
  • Core/Insulation Crimp: F/D
  • Release Tool/Test Probe: 12094430/J-35616-4A (PU)
  • Pins: C-E
  • Terminal/Tray: 12034046/2
  • Core/Insulation Crimp: E/A
  • Release Tool/Test Probe: 12094430/J-35616-4A (PU)

Rear Window Wiper Motor (without X88)

Pin

Wire

Circuit

Function

A

1 RD/WH

3840

Battery Positive Voltage

B

1 BK

650

Ground

C

0.5 L-GN

2270

Rear Window Washer Relay Control

D

0.5 GY

391

Rear Window Wiper Switch Signal

E

0.35 WH

2283

Rear Wiper/Washer Switch Voltage

Rear Window Wiper Motor (X88)


Object Number: 1333948  Size: CH

Connector Part Information

  • OEM: 22715965
  • Service: See Catalog
  • Description: 5-Way F GT 280 Series (BK)

Terminal Part Information

  • Pins: A, E
  • Terminal/Tray: 12066214/2
  • Core/Insulation Crimp: F/D
  • Release Tool/Test Probe: 12094430/J-35616-4A (PU)
  • Pins: C, D
  • Terminal/Tray: 12034046/2
  • Core/Insulation Crimp: E/A
  • Release Tool/Test Probe: 12094430/J-35616-4A (PU)

Rear Window Wiper Motor (X88)

Pin

Wire

Circuit

Function

A

1 BK

650

Ground

B

--

--

Not Used

C

0.5 L-GN

2270

Rear Window Washer Relay Control

D

0.5 GY

391

Rear Window Wiper Switch Signal

E

1 RD/WH

3840

Battery Positive Voltage

Rearview Camera (UVC)


Object Number: 2133378  Size: CH

Connector Part Information

  • OEM: 1924212-1
  • Service: 19169090
  • Description: 6-Way F 0.64 Series Sealed (GY)

Terminal Part Information

  • Terminal/Tray: SAIT-A03T-M064/14
  • Core/Insulation Crimp: P/P
  • Release Tool/Test Probe: J-38125-215A/J-35616-64B (L-BU)

Rearview Camera (UVC)

Pin

Wire

Circuit

Function

1

0.35 PK

6972

Camera Signal 2 (+)

2

0.35 BARE

6974

Camera Shield

3

0.35 D-BU

38

Backup Lamp Relay Control

4

0.35 L-BU

6973

Low Reference

5

0.35 BK

650

Ground

6

0.35 PK/BK

239

Ignition Voltage

Recirculation Actuator


Object Number: 280764  Size: CH

Connector Part Information

  • OEM: 12064993
  • Service: 12102485
  • Description: 6-Way F Micro-Pack 100 Series (BK)

Terminal Part Information

  • Terminal/Tray: 12146447/3
  • Core/Insulation Crimp: E/C
  • Release Tool/Test Probe: 12031876-1/J-35616-6 (BN)

Recirculation Actuator

Pin

Wire

Circuit

Function

5

0.35 D-GN

1614

Recirculation Door Control B

6

0.35 TN/BK

2274

Recirculation Door Control A

7

--

--

Not Used

8

0.35 YE

1791

Low Reference

9

0.35 PU

1838

Recirculation Door Position Signal

10

0.35 GY

598

5-Volt Reference

Remote Control Door Lock Receiver (RCDLR)


Object Number: 1673483  Size: CH

Connector Part Information

  • OEM: 15462684
  • Service: 88988745
  • Description: 4-Way F ILAG5 Series (GN)

Terminal Part Information

  • Terminal/Tray: IL-AG5-C1-5000/20
  • Core/Insulation Crimp: K/K
  • Release Tool/Test Probe: J-38125-211/J-35616-64B (L-BU)

Remote Control Door Lock Receiver (RCDLR)

Pin

Wire

Circuit

Function

1

0.35 RD/WH

1840

Battery Positive Voltage

2

0.35 D-GN

5060

Low Speed GMLAN Serial Data

3

--

--

Not Used

4

0.35 BK

650

Ground

Seat Adjuster Switch - Driver (AG1)


Object Number: 556473  Size: CH

Connector Part Information

  • OEM: 19177577
  • Service: 15306174
  • Description: 8-Way F GT 280 Series (BK)

Terminal Part Information

  • Terminal/Tray: 15304713/19
  • Core/Insulation Crimp: Pins A-C, E-H - 4/4
  • Core/Insulation Crimp: Pins B, D - F/D
  • Release Tool/Test Probe: 15315247/J-35616-4A (PU)

Seat Adjuster Switch - Driver (AG1)

Pin

Wire

Circuit

Function

A

2 D-GN

286

Driver Seat Front Vertical Motor Up Control

B

3 BK

550

Ground (without KA1)

2 BK

550

Ground (KA1)

C

2 TN

285

Driver Seat Horizontal Motor Forward Control

D

3 RD/WH

1140

Battery Positive Voltage

E

2 YE

282

Driver Seat Rear Vertical Motor Up Control

F

2 L-GN

284

Driver Seat Horizontal Motor Rearward Control

G

2 L-BU

283

Driver Seat Rear Vertical Motor Down Control

H

2 D-BU

287

Driver Seat Front Vertical Motor Down Control

Seat Adjuster Switch - Driver (AG3)


Object Number: 623046  Size: CH

Connector Part Information

  • OEM: 15326931
  • Service: 15306309
  • Description: 10-Way F GT 280 Series (BK)

Terminal Part Information

  • Terminal/Tray: 15304711/8
  • Core/Insulation Crimp: E/A
  • Release Tool/Test Probe: 15315247/J-35616-4A (PU)

Seat Adjuster Switch - Driver (AG3)

Pin

Wire

Circuit

Function

A

0.35 D-GN

1518

Power Seat Front Vertical Up Switch Signal

B

--

--

Not Used

C

0.35 L-GN

1523

Power Seat Horizontal Rearward Switch Signal

D

0.35 TN

1522

Power Seat Horizontal Forward Switch Signal

E

0.35 PU/WH

6205

Driver Position Switch High Reference

F

0.35 YE

1519

Power Seat Rear Vertical Up Switch Signal

G

0.35 D-GN/WH

1270

Power Seat Recline Rearward Switch Signal

H

0.35 GY/BK

1269

Power Seat Recline Forward Switch Signal

J

0.35 L-BU

1521

Power Seat Rear Vertical Down Switch Signal

K

0.35 D-BU

1520

Power Seat Front Vertical Down Switch Signal

Seat Adjuster Switch - Driver (AH5)


Object Number: 623046  Size: CH

Connector Part Information

  • OEM: 15326931
  • Service: 15306309
  • Description: 10-Way F GT 280 Series (BK)

Terminal Part Information

  • Pins: A-F, J, K
  • Terminal/Tray: 15304713/19
  • Core/Insulation Crimp: Pins A-D, F, J, K - 4/4
  • Core/Insulation Crimp: Pins E - F/D
  • Release Tool/Test Probe: 15315247/J-35616-4A (PU)
  • Pins: G, H
  • Terminal/Tray: 15304711/8
  • Core/Insulation Crimp: 2/A
  • Release Tool/Test Probe: 15315247/J-35616-4A (PU)

Seat Adjuster Switch - Driver (AH5)

Pin

Wire

Circuit

Function

A

2 D-GN

286

Driver Seat Front Vertical Motor Up Control

B

2 BK

550

Ground

C

2 L-GN

284

Driver Seat Horizontal Motor Rearward Control

D

2 TN

285

Driver Seat Horizontal Motor Forward Control

E

3 RD/WH

1140

Battery Positive Voltage

F

2 YE

282

Driver Seat Rear Vertical Motor Up Control

G

1 L-BU

277

Driver Seat Recline Motor Rearward Control

H

1 L-GN

276

Driver Seat Recline Motor Forward Control

J

2 L-BU

283

Driver Seat Rear Vertical Motor Down Control

K

2 D-BU

287

Driver Seat Front Vertical Motor Down Control

Seat Adjuster Switch - Passenger (AAQ)


Object Number: 623046  Size: CH

Connector Part Information

  • OEM: 15326931
  • Service: 15306309
  • Description: 10-Way F GT 280 Series (BK)

Terminal Part Information

  • Pins: B-E
  • Terminal/Tray: 15304713/19
  • Core/Insulation Crimp: Pins B, E - F/D
  • Core/Insulation Crimp: Pins C, D - 4/4
  • Release Tool/Test Probe: 15315247/J-35616-4A (PU)
  • Pins: G, H
  • Terminal/Tray: 15304711/8
  • Core/Insulation Crimp: 2/A
  • Release Tool/Test Probe: 15315247/J-35616-4A (PU)

Seat Adjuster Switch - Passenger (AAQ)

Pin

Wire

Circuit

Function

A

--

--

Not Used

B

3 BK

750

Ground

C

2 L-GN

290

Passenger Seat Horizontal Motor Rearward Control

D

2 TN

296

Passenger Seat Horizontal Motor Forward Control

E

3 RD/WH

3040

Battery Positive Voltage

F

--

--

Not Used

G

1 D-BU

77

Passenger Seat Recline Motor Rearward

H

1 D-GN

76

Passenger Seat Recline Motor Forward

J-K

--

--

Not Used

Seat Adjuster Switch - Passenger (AG2)


Object Number: 556473  Size: CH

Connector Part Information

  • OEM: 19177577
  • Service: 15306174
  • Description: 8-Way F GT 280 Series (BK)

Terminal Part Information

  • Pins: B-D, F
  • Terminal/Tray: 15304713/19
  • Core/Insulation Crimp: Pins B, D - F/D
  • Core/Insulation Crimp: Pins C, F - 4/4
  • Release Tool/Test Probe: 15315247/J-35616-4A (PU)

Seat Adjuster Switch - Passenger (AG2)

Pin

Wire

Circuit

Function

A

--

--

Not Used

B

3 BK

750

Ground

C

2 TN

296

Passenger Seat Horizontal Motor Forward Control

D

3 RD/WH

3040

Battery Positive Voltage

E

--

--

Not Used

F

2 L-GN

290

Passenger Seat Horizontal Motor Rearward Control

G-H

--

--

Not Used

Seat Back Ventilation Heating and Cooling Module -- Driver (KB6)


Object Number: 62456  Size: CH

Connector Part Information

  • OEM: 12064752
  • Service: 15305888
  • Description: 6-Way F Metri-Pack 280 Series, Unsealed (BK)

Terminal Part Information

  • Terminal/Tray: Pins A, C - 12066214/2
  • Core/Insulation Crimp: A/B
  • Release Tool/Test Probe: 12094430/J-35616-4A (PU)
  • Terminal/Tray: Pins B, D, E - 12047581/2
  • Core/Insulation Crimp: E/C
  • Release Tool/Test Probe: 12094429/J-35616-3 (GY)

Seat Back Ventilation Heating and Cooling Module -- Driver (KB6)

Pin

Wire

Circuit

Function

A

2 RD/WH

640

Battery Positive Voltage

B

0.35 L-BU/WH

181

Left Heated/Cooled Seat Mode Signal

C

2 BK

550

Ground

D

0.35 D-BU

2425

Seat Back Temperature Sensor Signal

E

0.35 PK

2426

Low Reference

F

--

--

Not Used

Seat Back Ventilation Heating and Cooling Module -- Passenger (KB6)


Object Number: 62456  Size: CH

Connector Part Information

  • OEM: 12064752
  • Service: 15305888
  • Description: 6-Way F Metri-Pack 280 Series, Unsealed (BK)

Terminal Part Information

  • Terminal/Tray: Pins A, C - 12066214/2
  • Core/Insulation Crimp: A/B
  • Release Tool/Test Probe: 12094430/J-35616-4A (PU)
  • Terminal/Tray: Pins B, D, E - 12047581/2
  • Core/Insulation Crimp: E/C
  • Release Tool/Test Probe: 12094429/J-35616-3 (GY)

Seat Back Ventilation Heating and Cooling Module -- Passenger (KB6)

Pin

Wire

Circuit

Function

A

2 RD/WH

640

Battery Positive Voltage

B

0.35 GY

5961

Right Heated/Cooled Seat Mode Signal

C

2 BK

750

Ground

D

0.35 TN

2436

Seat Back Temperature Sensor Signal

E

0.35 TN

2482

Low Reference

F

--

--

Not Used

Seat Belt Buckle - Driver


Object Number: 1853532  Size: CH

Connector Part Information

  • OEM: 7282-6443-40
  • Service: See Catalog
  • Description: 2-Way M 1.5 Series (L-GY)

Terminal Part Information

  • Terminal/Tray: 7114-4100-08/9
  • Core/Insulation Crimp: E/C
  • Release Tool/Test Probe: 15315247/J-35616-3 (GY)

Seat Belt Buckle - Driver

Pin

Wire

Circuit

Function

1

0.35 D-GN

5016

Seat Belt Switch - Left - Signal

2

0.35 PK

5057

Low Reference

Seat Belt Buckle - Passenger


Object Number: 1853532  Size: CH

Connector Part Information

  • OEM: 7282-6443-40
  • Service: See Catalog
  • Description: 2-Way M 1.5 Series (L-GY)

Terminal Part Information

  • Terminal/Tray: 7114-4100-08/9
  • Core/Insulation Crimp: E/C
  • Release Tool/Test Probe: 15315247/J-35616-3 (GY)

Seat Belt Buckle - Passenger

Pin

Wire

Circuit

Function

1

0.35 OG

1362

Seat Belt Switch - Right - Signal

2

0.35 PK

5057

Low Reference

Seat Belt Buckle Pretensioner - Driver


Object Number: 2009065  Size: CH

Connector Part Information

  • OEM: PP10001460
  • Service Caution: The connector at the Inflatable Restraint Module cannot be disconnected or removed without damage to the module. If the connector is removed from the module, the entire module with harness must be replaced.
  • Description: 2-Way F Squib 90 (BK)

Terminal Part Information

  • Terminal/Tray: Service With Pigtail
  • Core/Insulation Crimp: N/A
  • Release Tool/Test Probe: See Terminal Repair Kit

Seat Belt Buckle Pretensioner - Driver

Pin

Wire

Circuit

Function

1

L-GN/RD

--

Seat Belt Buckle Pretensioner - Left - High Control

2

WH/RD

--

Seat Belt Buckle Pretensioner - Left - Low Control

Seat Belt Buckle Pretensioner - Passenger


Object Number: 2009065  Size: CH

Connector Part Information

  • OEM: PP10001460
  • Service Caution: The connector at the Inflatable Restraint Module cannot be disconnected or removed without damage to the module. If the connector is removed from the module, the entire module with harness must be replaced.
  • Description: 2-Way F Squib 90 (BK)

Terminal Part Information

  • Terminal/Tray: Service With Pigtail
  • Core/Insulation Crimp: N/A
  • Release Tool/Test Probe: See Terminal Repair Kit

Seat Belt Buckle Pretensioner - Passenger

Pin

Wire

Circuit

Function

1

L-GN/RD

--

Seat Belt Buckle Pretensioner - Right - High Control

2

WH/RD

--

Seat Belt Buckle Pretensioner - Right - Low Control

Seat Belt Retractor Pretensioner - Driver


Object Number: 2009065  Size: CH

Connector Part Information

  • OEM: PP10001460
  • Service: See Catalog
  • Description: 2-Way F Squib 90 (BK)

Terminal Part Information

  • Terminal/Tray: Service With Pigtail
  • Core/Insulation Crimp: N/A
  • Release Tool/Test Probe: See Terminal Repair Kit

Seat Belt Retractor Pretensioner - Driver

Pin

Wire

Circuit

Function

1

0.5 TN/WH

2118

Seat Belt Retractor Pretensioner - Left - High Control

2

0.5 OG/BK

2119

Seat Belt Retractor Pretensioner - Left - Low Control

Seat Belt Retractor Pretensioner - Passenger


Object Number: 2009065  Size: CH

Connector Part Information

  • OEM: PP10001460
  • Service: See Catalog
  • Description: 2-Way F Squib 90 (BK)

Terminal Part Information

  • Terminal/Tray: Service With Pigtail
  • Core/Insulation Crimp: N/A
  • Release Tool/Test Probe: See Terminal Repair Kit

Seat Belt Retractor Pretensioner - Passenger

Pin

Wire

Circuit

Function

1

0.5 L-GN

2116

Seat Belt Retractor Pretensioner - Right - High Control

2

0.5 OG

2117

Seat Belt Retractor Pretensioner - Right - Low Control

Seat Cushion Ventilation Heating and Cooling Module -- Driver (KB6)


Object Number: 62456  Size: CH

Connector Part Information

  • OEM: 12064752
  • Service: 15305888
  • Description: 6-Way F Metri-Pack 280 Series, Unsealed (BK)

Terminal Part Information

  • Terminal/Tray: Pins A, C - 12066214/2
  • Core/Insulation Crimp: A/B
  • Release Tool/Test Probe: 12094430/J-35616-4A (PU)
  • Terminal/Tray: Pins B, D, E - 12047581/2
  • Core/Insulation Crimp: E/C
  • Release Tool/Test Probe: 12094429/J-35616-3 (GY)

Seat Cushion Ventilation Heating and Cooling Module -- Driver (KB6)

Pin

Wire

Circuit

Function

A

2 RD/WH

640

Battery Positive Voltage

B

0.35 L-BU/WH

181

Left Heated/Cooled Seat Mode Signal

C

2 BK

550

Ground

D

0.35 OG

7018

Seat Cushion Temperature Sensor Signal

E

0.35 OG/WH

7019

Low Reference

F

--

--

Not Used

Seat Cushion Ventilation Heating and Cooling Module -- Passenger (KB6)


Object Number: 62456  Size: CH

Connector Part Information

  • OEM: 12064752
  • Service: 15305888
  • Description: 6-Way F Metri-Pack 280 Series, Unsealed (BK)

Terminal Part Information

  • Terminal/Tray: Pins A, C - 12066214/2
  • Core/Insulation Crimp: A/B
  • Release Tool/Test Probe: 12094430/J-35616-4A (PU)
  • Terminal/Tray: Pins B, D, E - 12047581/2
  • Core/Insulation Crimp: E/C
  • Release Tool/Test Probe: 12094429/J-35616-3 (GY)

Seat Cushion Ventilation Heating and Cooling Module -- Passenger (KB6)

Pin

Wire

Circuit

Function

A

2 RD/WH

640

Battery Positive Voltage

B

0.35 GY

5961

Right Heated/Cooled Seat Mode Signal

C

2 BK

750

Ground

D

0.35 D-BU

5475

Seat Cushion Temperature Sensor Signal

E

0.35 PK

2435

Low Reference

F

--

--

Not Used

Seat Front Vertical Motor - Driver (AG1 or AG3 or AH5)


Object Number: 1862168  Size: CH

Connector Part Information

  • OEM: 623346-1
  • Service: See Catalog
  • Description: 2-Way F (GY)

Terminal Part Information

  • Terminal/Tray: 4-965999-1/25
  • Core/Insulation Crimp: 4/A
  • Release Tool/Test Probe: 12093647/J-35616-4A (PU)

Seat Front Vertical Motor - Driver (AG1 or AG3 or AH5)

Pin

Wire

Circuit

Function

1

2 D-GN

286

Driver Seat Front Vertical Motor Up Control (AG1 or AH5)

1 D-GN

286

Driver Seat Front Vertical Motor Up Control (AG3)

2

2 D-BU

287

Driver Seat Front Vertical Motor Down Control (AG1 or AH5)

1 D-BU

287

Driver Seat Front Vertical Motor Down Control (AG3)

Seat Front Vertical Motor Position Sensor - Driver (AG3)


Object Number: 401671  Size: CH

Connector Part Information

  • OEM: 39-01-4030
  • Service: See Catalog
  • Description: 3-Way F Mini-Fit Series (NA)

Terminal Part Information

  • Terminal/Tray: 39-00-0059/28
  • Core/Insulation Crimp: K/K
  • Release Tool/Test Probe: J-38125-560/J-35616-12 (BU)

Seat Front Vertical Motor Position Sensor - Driver (AG3)

Pin

Wire

Circuit

Function

1

0.35 TN

6207

5-Volt Reference

2

0.35 BN/WH

557

Front Vertical Seat Motor Position Sensor Signal

3

0.35 GY

6206

Low Reference

Seat Horizontal Motor - Driver (AG1 or AG3 or AH5)


Object Number: 1862168  Size: CH

Connector Part Information

  • OEM: 623346-1
  • Service: See Catalog
  • Description: 2-Way F (GY)

Terminal Part Information

  • Terminal/Tray: 4-965999-1/25
  • Core/Insulation Crimp: 4/A
  • Release Tool/Test Probe: 12093647/J-35616-4A (PU)

Seat Horizontal Motor - Driver (AG1 or AG3 or AH5)

Pin

Wire

Circuit

Function

1

2 TN

285

Driver Seat Horizontal Motor Forward Control (AG1 or AH5)

1 TN

285

Driver Seat Horizontal Motor Forward Control (AG3)

2

2 L-GN

284

Driver Seat Horizontal Motor Rearward Control (AG1 or AH5)

1 L-GN

284

Driver Seat Horizontal Motor Rearward Control (AG3)

Seat Horizontal Motor - Passenger (AAQ or AG2)


Object Number: 1862168  Size: CH

Connector Part Information

  • OEM: 623346-1
  • Service: See Catalog
  • Description: 2-Way F (GY)

Terminal Part Information

  • Terminal/Tray: 4-965999-1/25
  • Core/Insulation Crimp: 4/A
  • Release Tool/Test Probe: 12093647/J-35616-4A (PU)

Seat Horizontal Motor - Passenger (AAQ or AG2)

Pin

Wire

Circuit

Function

1

2 TN

296

Passenger Seat Horizontal Motor Forward Control

2

2 L-GN

290

Passenger Seat Horizontal Motor Rearward Control

Seat Horizontal Motor Position Sensor - Driver (AG3)


Object Number: 401671  Size: CH

Connector Part Information

  • OEM: 39-01-4030
  • Service: See Catalog
  • Description: 3-Way F Mini-Fit Series (NA)

Terminal Part Information

  • Terminal/Tray: 39-00-0059/28
  • Core/Insulation Crimp: K/K
  • Release Tool/Test Probe: J-38125-560/J-35616-12 (BU)

Seat Horizontal Motor Position Sensor - Driver (AG3)

Pin

Wire

Circuit

Function

1

0.35 TN

6207

5-Volt Reference

2

0.35 D-GN

569

Horizontal Seat Motor Position Sensor Signal

3

0.35 GY

6206

Low Reference

Seat Lumbar Horizontal Motor - Driver (AG3 or AH5)


Object Number: 130707  Size: CH

Connector Part Information

  • OEM: 12020556
  • Service: 12101820
  • Description: 2-Way F Metri-Pack 480 Series (BK)

Terminal Part Information

  • Terminal/Tray: 12084595/2
  • Core/Insulation Crimp: F/G
  • Release Tool/Test Probe: 12094430/J-35616-40 (BU)

Seat Lumbar Horizontal Motor - Driver (AG3 or AH5)

Pin

Wire

Circuit

Function

A

2 PK

610

Driver Seat Lumbar Motor Rearward Control

B

2 D-BU

611

Driver Seat Lumbar Motor Forward Control

Seat Lumbar Horizontal Motor - Passenger (AAQ)


Object Number: 130707  Size: CH

Connector Part Information

  • OEM: 12020556
  • Service: 12101820
  • Description: 2-Way F Metri-Pack 480 Series (BK)

Terminal Part Information

  • Terminal/Tray: 12084595/2
  • Core/Insulation Crimp: F/G
  • Release Tool/Test Probe: 12094430/J-35616-40 (BU)

Seat Lumbar Horizontal Motor - Passenger (AAQ)

Pin

Wire

Circuit

Function

A

2 WH

210

Passenger Seat Lumbar Motor Rearward Control

B

2 D-BU

211

Passenger Seat Lumbar Motor Forward Control

Seat Lumbar Switch - Driver (AG3 or AH5)


Object Number: 73146  Size: CH

Connector Part Information

  • OEM: 12052854
  • Service: 88953358
  • Description: 7-Way F Metri-Pack 280 Series (BK)

Terminal Part Information

  • Terminal/Tray: 12015858/4
  • Core/Insulation Crimp: F/G
  • Release Tool/Test Probe: 12094430/J-35616-4A (PU)

Seat Lumbar Switch - Driver (AG3 or AH5)

Pin

Wire

Circuit

Function

A

2 D-BU

611

Driver Seat Lumbar Motor Forward Control

B-D

--

--

Not Used

E

3 BK

550

Ground

F

2 PK

610

Driver Seat Lumbar Motor Rearward Control

G

3 RD/WH

1140

Battery Positive Voltage

Seat Lumbar Switch - Passenger (AAQ)


Object Number: 73146  Size: CH

Connector Part Information

  • OEM: 12052854
  • Service: 88953358
  • Description: 7-Way F Metri-Pack 280 Series (BK)

Terminal Part Information

  • Terminal/Tray: 12015858/4
  • Core/Insulation Crimp: F/G
  • Release Tool/Test Probe: 12094430/J-35616-4A (PU)

Seat Lumbar Switch - Passenger (AAQ)

Pin

Wire

Circuit

Function

A

2 D-BU

211

Passenger Seat Lumbar Motor Forward Control

B-D

--

--

Not Used

E

3 BK

750

Ground

F

2 WH

210

Passenger Seat Lumbar Motor Rearward Control

G

3 RD/WH

3040

Battery Positive Voltage

Seat Rear Vertical Motor - Driver (AG1 or AG3 or AH5)


Object Number: 1862168  Size: CH

Connector Part Information

  • OEM: 623346-1
  • Service: See Catalog
  • Description: 2-Way F (GY)

Terminal Part Information

  • Terminal/Tray: 4-965999-1/25
  • Core/Insulation Crimp: 4/A
  • Release Tool/Test Probe: 12093647/J-35616-4A (PU)

Seat Rear Vertical Motor - Driver (AG1 or AG3 or AH5)

Pin

Wire

Circuit

Function

1

2 YE

282

Driver Seat Rear Vertical Motor Up Control (AG1 or AH5)

1 YE

282

Driver Seat Rear Vertical Motor Up Control (AG3)

2

2 L-BU

283

Driver Seat Rear Vertical Motor Down Control (AG1 or AH5)

1 L-BU

283

Driver Seat Rear Vertical Motor Down Control (AG3)

Seat Rear Vertical Motor Position Sensor - Driver (AG3)


Object Number: 401671  Size: CH

Connector Part Information

  • OEM: 39-01-4030
  • Service: See Catalog
  • Description: 3-Way F Mini-Fit Series (NA)

Terminal Part Information

  • Terminal/Tray: 39-00-0059/28
  • Core/Insulation Crimp: K/K
  • Release Tool/Test Probe: J-38125-560/J-35616-12 (BU)

Seat Rear Vertical Motor Position Sensor - Driver (AG3)

Pin

Wire

Circuit

Function

1

0.35 TN

6207

5-Volt Reference

2

0.35 TN

568

Rear Vertical Seat Motor Position Sensor Signal

3

0.35 GY

6206

Low Reference

Seat Recline Motor - Driver (AG3 or AH5)


Object Number: 1862127  Size: CH

Connector Part Information

  • OEM: 1326490-3
  • Service: See Catalog
  • Description: 4-Way F JR-POWER MICRO III (GY)

Terminal Part Information

  • Terminal/Tray: 4-965999-1/25
  • Core/Insulation Crimp: C/A
  • Release Tool/Test Probe: 12093647/J-35616-4A (PU)

Seat Recline Motor - Driver (AG3 or AH5)

Pin

Wire

Circuit

Function

1

1 L-BU

277

Driver Seat Recline Motor Rearward Control

2

1 L-GN

276

Driver Seat Recline Motor Forward Control

3-4

--

--

Not Used

Seat Recline Motor - Passenger (AAQ)


Object Number: 1862127  Size: CH

Connector Part Information

  • OEM: 1326490-3
  • Service: See Catalog
  • Description: 4-Way F JR-POWER MICRO III (GY)

Terminal Part Information

  • Terminal/Tray: 4-965999-1/25
  • Core/Insulation Crimp: C/A
  • Release Tool/Test Probe: 12093647/J-35616-4A (PU)

Seat Recline Motor - Passenger (AAQ)

Pin

Wire

Circuit

Function

1

1 D-BU

77

Passenger Seat Recline Motor Rearward

2

1 D-GN

76

Passenger Seat Recline Motor Forward

3-4

--

--

Not Used

Seat Recline Position Sensor - Driver (AG3)


Object Number: 401671  Size: CH

Connector Part Information

  • OEM: 39-01-4030
  • Service: See Catalog
  • Description: 3-Way F Mini-Fit Series (NA)

Terminal Part Information

  • Terminal/Tray: 39-00-0059/28
  • Core/Insulation Crimp: K/K
  • Release Tool/Test Probe: J-38125-560/J-35616-12 (BU)

Seat Recline Position Sensor - Driver (AG3)

Pin

Wire

Circuit

Function

1

0.35 TN

6207

5-Volt Reference

2

0.35 WH/BK

570

Driver Seat Recline Motor Position Sensor Signal

3

0.35 GY

6206

Low Reference

Speaker - Center I/P (UQA or UQS)


Object Number: 130724  Size: CH

Connector Part Information

  • OEM: 12064869
  • Service: 12117323
  • Description: 2-Way F Metri-Pack 150 Series (BU)

Terminal Part Information

  • Terminal/Tray: 12064971/5
  • Core/Insulation Crimp: E/C
  • Release Tool/Test Probe: 12094429/J-35616-14 (GN)

Speaker - Center I/P (UQA or UQS)

Pin

Wire

Circuit

Function

A

0.35 L-BU

1960

Front Center Speaker Output (-)

B

0.35 YE

1860

Front Center Speaker Output (+)

Speaker - Left Front (UQA or UQS)


Object Number: 130724  Size: CH

Connector Part Information

  • OEM: 12064869
  • Service: 12117323
  • Description: 2-Way F Metri-Pack 150 Series (BU)

Terminal Part Information

  • Terminal/Tray: 12047767/2
  • Core/Insulation Crimp: E/A
  • Release Tool/Test Probe: 12094429/J-35616-14 (GN)

Speaker - Left Front (UQA or UQS)

Pin

Wire

Circuit

Function

A

0.8 GY

118

Left Front Speaker Output (-)

B

0.8 TN

201

Left Front Speaker Output (+)

Speaker - Left Front (UQF)


Object Number: 130687  Size: CH

Connector Part Information

  • OEM: 12064867
  • Service: 88987981
  • Description: 2-Way F Metri-Pack 150 Series (NA)

Terminal Part Information

  • Terminal/Tray: 12047767/2
  • Core/Insulation Crimp: E/A
  • Release Tool/Test Probe: 12094429/J-35616-14 (GN)

Speaker - Left Front (UQF)

Pin

Wire

Circuit

Function

A

0.8 GY

118

Left Front Speaker Output (-)

B

0.8 TN

201

Left Front Speaker Output (+)

Speaker - Left Front Tweeter


Object Number: 766913  Size: CH

Connector Part Information

  • OEM: 12052833
  • Service: 12117275
  • Description: 2-Way M Metri-Pack 150 Series (BK)

Terminal Part Information

  • Terminal/Tray: 12047581/2
  • Core/Insulation Crimp: E/A
  • Release Tool/Test Probe: 12094429/J-35616-3 (GY)

Speaker - Left Front Tweeter

Pin

Wire

Circuit

Function

A

0.8 GY

118

Left Front Speaker Output (-)

B

0.8 TN

201

Left Front Speaker Output (+)

Speaker - Left Rear (UQA or UQS without W49)


Object Number: 130724  Size: CH

Connector Part Information

  • OEM: 12064869
  • Service: 12117323
  • Description: 2-Way F Metri-Pack 150 Series (BU)

Terminal Part Information

  • Terminal/Tray: 12047767/2
  • Core/Insulation Crimp: E/A
  • Release Tool/Test Probe: 12094429/J-35616-14 (GN)

Speaker - Left Rear (UQA or UQS without W49)

Pin

Wire

Circuit

Function

A

0.8 YE

116

Left Rear Speaker Output (-)

B

0.8 BN

199

Left Rear Speaker Output (+)

Speaker - Left Rear (UQA or UQS with W49)


Object Number: 2152681  Size: CH

Connector Part Information

  • OEM: R63461-002
  • Service: 19168540
  • Description: 2-Way F GT150 Series (L-GY)

Terminal Part Information

  • Terminal/Tray: 15326030/2
  • Core/Insulation Crimp: E/A
  • Release Tool/Test Probe: 12094429/J-35616-14 (GN)

Speaker - Left Rear (UQA or UQS with W49)

Pin

Wire

Circuit

Function

1

0.8 YE

116

Left Rear Speaker Output (-)

2

0.8 BN

199

Left Rear Speaker Output (+)

Speaker - Left Rear (UQF)


Object Number: 130687  Size: CH

Connector Part Information

  • OEM: 12064867
  • Service: 88987981
  • Description: 2-Way F Metri-Pack 150 Series (NA)

Terminal Part Information

  • Terminal/Tray: 12047767/2
  • Core/Insulation Crimp: E/A
  • Release Tool/Test Probe: 12094429/J-35616-14 (GN)

Speaker - Left Rear (UQF)

Pin

Wire

Circuit

Function

A

0.8 YE

116

Left Rear Speaker Output (-)

B

0.8 BN

199

Left Rear Speaker Output (+)

Speaker - Left Rear Compartment (UQA or UQS)


Object Number: 130724  Size: CH

Connector Part Information

  • OEM: 12064869
  • Service: 12117323
  • Description: 2-Way F Metri-Pack 150 Series (BU)

Terminal Part Information

  • Terminal/Tray: 12064971/5
  • Core/Insulation Crimp: E/C
  • Release Tool/Test Probe: 12094429/J-35616-14 (GN)

Speaker - Left Rear Compartment (UQA or UQS)

Pin

Wire

Circuit

Function

A

0.5 WH

1959

Left Rear Midrange Speaker Output (-)

B

0.5 TN

1859

Left Rear Midrange Speaker Output (+)

Speaker - Right Front (UQA or UQS)


Object Number: 130724  Size: CH

Connector Part Information

  • OEM: 12064869
  • Service: 12117323
  • Description: 2-Way F Metri-Pack 150 Series (BU)

Terminal Part Information

  • Terminal/Tray: 12047767/2
  • Core/Insulation Crimp: E/A
  • Release Tool/Test Probe: 12094429/J-35616-14 (GN)

Speaker - Right Front (UQA or UQS)

Pin

Wire

Circuit

Function

A

0.8 D-GN

117

Right Front Speaker Output (-)

B

0.8 L-GN

200

Right Front Speaker Output (+)

Speaker - Right Front (UQF)


Object Number: 130687  Size: CH

Connector Part Information

  • OEM: 12064867
  • Service: 88987981
  • Description: 2-Way F Metri-Pack 150 Series (NA)

Terminal Part Information

  • Terminal/Tray: 12047767/2
  • Core/Insulation Crimp: E/A
  • Release Tool/Test Probe: 12094429/J-35616-14 (GN)

Speaker - Right Front (UQF)

Pin

Wire

Circuit

Function

A

0.8 D-GN

117

Right Front Speaker Output (-)

B

0.8 L-GN

200

Right Front Speaker Output (+)

Speaker - Right Front Tweeter


Object Number: 766913  Size: CH

Connector Part Information

  • OEM: 12052833
  • Service: 12117275
  • Description: 2-Way M Metri-Pack 150 Series (BK)

Terminal Part Information

  • Terminal/Tray: 12047581/2
  • Core/Insulation Crimp: E/A
  • Release Tool/Test Probe: 12094429/J-35616-3 (GY)

Speaker - Right Front Tweeter

Pin

Wire

Circuit

Function

A

0.8 D-GN

117

Right Front Speaker Output (-)

B

0.8 L-GN

200

Right Front Speaker Output (+)

Speaker - Right Rear (UQA or UQS without W49)


Object Number: 130724  Size: CH

Connector Part Information

  • OEM: 12064869
  • Service: 12117323
  • Description: 2-Way F Metri-Pack 150 Series (BU)

Terminal Part Information

  • Terminal/Tray: 12047767/2
  • Core/Insulation Crimp: E/A
  • Release Tool/Test Probe: 12094429/J-35616-14 (GN)

Speaker - Right Rear (UQA or UQS without W49)

Pin

Wire

Circuit

Function

A

0.8 L-BU

115

Right Rear Speaker Output (-)

B

0.8 D-BU

46

Right Rear Speaker Output (+)

Speaker - Right Rear (UQA or UQS with W49)


Object Number: 2152681  Size: CH

Connector Part Information

  • OEM: R63461-002
  • Service: 19168540
  • Description: 2-Way F GT150 Series (L-GY)

Terminal Part Information

  • Terminal/Tray: 15326030/2
  • Core/Insulation Crimp: E/A
  • Release Tool/Test Probe: 12094429/J-35616-14 (GN)

Speaker - Right Rear (UQA or UQS with W49)

Pin

Wire

Circuit

Function

1

0.8 L-BU

115

Right Rear Speaker Output (-)

2

0.8 D-BU

46

Right Rear Speaker Output (+)

Speaker - Right Rear (UQF)


Object Number: 130687  Size: CH

Connector Part Information

  • OEM: 12064867
  • Service: 88987981
  • Description: 2-Way F Metri-Pack 150 Series (NA)

Terminal Part Information

  • Terminal/Tray: 12047767/2
  • Core/Insulation Crimp: E/A
  • Release Tool/Test Probe: 12094429/J-35616-14 (GN)

Speaker - Right Rear (UQF)

Pin

Wire

Circuit

Function

A

0.8 L-BU

115

Right Rear Speaker Output (-)

B

0.8 D-BU

46

Right Rear Speaker Output (+)

Speaker - Right Rear Compartment (UQA or UQS)


Object Number: 130724  Size: CH

Connector Part Information

  • OEM: 12064869
  • Service: 12117323
  • Description: 2-Way F Metri-Pack 150 Series (BU)

Terminal Part Information

  • Terminal/Tray: 12047767/2
  • Core/Insulation Crimp: E/A
  • Release Tool/Test Probe: 12094429/J-35616-14 (GN)

Speaker - Right Rear Compartment (UQA or UQS)

Pin

Wire

Circuit

Function

A

0.8 WH

1959

Right Rear Midrange Speaker Output (-)

B

0.8 TN

1859

Right Rear Midrange Speaker Output (+)

Speaker - Subwoofer (UQA or UQS)


Object Number: 280768  Size: CH

Connector Part Information

  • OEM: 12052832
  • Service: 12101825
  • Description: 2-Way F Metri-Pack 150 Series (BK)

Terminal Part Information

  • Terminal/Tray: See Terminal Repair Kit
  • Core/Insulation Crimp: See Terminal Repair Kit
  • Release Tool/Test Probe: See Terminal Repair Kit

Speaker - Subwoofer (UQA or UQS)

Pin

Wire

Circuit

Function

A

1 L-GN/BK

1794

Subwoofer Speaker Output (-)

B

1 D-BU/WH

346

Subwoofer Speaker Output (+)

Starter Motor X1 (LLT)

Connector Part Information

  • OEM: 13651088
  • Core/Insulation Crimp: N/A
  • Description: Ring Terminal

Starter Motor X1 (LLT)

Pin

Wire

Circuit

Function

A

32 RD

1

Battery Positive Voltage

Starter Motor X2 (LLT)


Object Number: 696940  Size: CH

Connector Part Information

  • OEM: 12089916
  • Service: 12101763
  • Description: 1-Way F Metri-Pack 280 Series, Sealed (BK)

Terminal Part Information

  • Terminal/Tray: 12129493/2
  • Core/Insulation Crimp: 4/5
  • Release Tool/Test Probe: 12094430/J-35616-4A (PU)

Starter Motor X2 (LLT)

Pin

Wire

Circuit

Function

A

3 PU

6

Starter Solenoid Crank Voltage

Steering Column Tilt/Telescope Actuator X1 (N38)


Object Number: 698669  Size: CH

Connector Part Information

  • OEM: 19177542
  • Service: 88988300
  • Description: 4-Way F GT 280 Series (BK)

Terminal Part Information

  • Terminal/Tray: 7116-4618-02/14
  • Core/Insulation Crimp: See Terminal Repair Kit
  • Release Tool/Test Probe: J-38125-215/J-35616-64B (L-BU)

Steering Column Tilt/Telescope Actuator X1 (N38)

Pin

Wire

Circuit

Function

A

1 BN

2112

Steering Column Tilt Motor Control - Down

B

1 PK

2111

Steering Column Tilt Motor Control - Up

C

1 OG

2098

Steering Column Telescope Motor Forward

D

1 TN

2110

Steering Column Telescope Motor Rearward

Steering Column Tilt/Telescope Actuator X2 (N38)


Object Number: 646420  Size: CH

Connector Part Information

  • OEM: 19177540
  • Service: 15306414
  • Description: 4-Way F GT 150 Series (BK)

Terminal Part Information

  • Terminal/Tray: 12191812/19
  • Core/Insulation Crimp: E/C
  • Release Tool/Test Probe: 15315247/J-35616-2A (GY)

Steering Column Tilt/Telescope Actuator X2 (N38)

Pin

Wire

Circuit

Function

A

0.35 OG

2154

Steering Column Tilt Sensor Signal

B

0.35 GY

6206

Low Reference

C

0.35 TN

6207

5-Volt Reference

D

0.35 OG

2153

Steering Column Telescope Sensor Signal

Steering Wheel Control Switch - Left


Object Number: 1399235  Size: CH

Connector Part Information

  • OEM: 30700-1100
  • Service: See Catalog
  • Description: 10-Way F 0.64 Series (GY)

Terminal Part Information

  • Terminal/Tray: 1393364-2/7
  • Core/Insulation Crimp: K/K
  • Release Tool/Test Probe: 15315247/J-35616-64B (L-BU)

Steering Wheel Control Switch - Left

Pin

Wire

Circuit

Function

1

0.35 PU

1375

12-Volt Reference

2

--

--

Not Used

3

0.35 GY

1884

Cruise Control Switch Signal

4-5

--

--

Not Used

6

0.35 PU/WH

7005

LED Dimming Signal

7

--

--

Not Used

8

0.35 BK/WH

1551

Ground

9

0.35 GN/WH

7158

Cruise Control Indicator Dimming Signal

10

--

--

Not Used

Steering Wheel Control Switch - Right (UK3)


Object Number: 1709750  Size: CH

Connector Part Information

  • OEM: 31068-1010
  • Service: See Catalog
  • Description: 4-Way F HDAC64 SR Housing Series (BK)

Terminal Part Information

  • Terminal/Tray: 1393364-2/7
  • Core/Insulation Crimp: K/K
  • Release Tool/Test Probe: 15315247/J-35616-64B (L-BU)

Steering Wheel Control Switch - Right (UK3)

Pin

Wire

Circuit

Function

1

0.35 BK/WH

1551

Ground

2

0.35 PU/WH

7005

LED Dimming Signal

3

0.35 PU

1375

12-Volt Reference

4

0.35 D-BU

1796

Steering Wheel Controls Signal

Steering Wheel Speed Position Sensor


Object Number: 1974968  Size: CH

Connector Part Information

  • OEM: AIT2PB-06-01FS
  • Service: See Catalog
  • Description: 6-Way F AIT II Series (NA)

Terminal Part Information

  • Terminal/Tray: See Terminal Repair Kit
  • Core/Insulation Crimp: See Terminal Repair Kit
  • Release Tool/Test Probe: See Terminal Repair Kit

Steering Wheel Speed Position Sensor

Pin

Wire

Circuit

Function

1

--

--

Not Used

2

0.5 L-GN/BK

6432

CAN Bus Low Serial Data

3

0.5 TN/WH

6433

CAN Bus High Serial Data

4

--

--

Not Used

5

0.5 D-GN

2087

12-Volt Reference

6

0.5 L-BU

2088

Low Reference

Steering Wheel/Column Tilt/Telescope Switch (N38)


Object Number: 1862240  Size: CH

Connector Part Information

  • OEM: AIT2PB-06-1AK
  • Service: See Catalog
  • Description: 6-Way AIT II Series (BK)

Terminal Part Information

  • Terminal/Tray: 7116-4618-02/14
  • Core/Insulation Crimp: P/P
  • Release Tool/Test Probe: J-38125-215/J-35616-64B (L-BU)

Steering Wheel/Column Tilt/Telescope Switch (N38)

Pin

Wire

Circuit

Function

1

0.35 RD/WH

2140

Battery Positive Voltage

2

0.35 GY

2096

Steering Column Tilt and Telescope Up Switch Signal

3

0.35 PK

2094

Steering Column Tilt and Telescope Forward Switch Signal

4

--

--

Not Used

5

0.35 OG

2095

Steering Column Tilt and Telescope Reverse Switch Signal

6

0.35 YE

2097

Steering Column Tilt and Telescope Down Switch Signal

Sunload Sensor (CJ2)


Object Number: 130637  Size: CH

Connector Part Information

  • OEM: 12064760
  • Service: 12085208
  • Description: 4-Way F Metri-Pack 150 Series (BK)

Terminal Part Information

  • Terminal/Tray: 12064971/5
  • Core/Insulation Crimp: E/C
  • Release Tool/Test Probe: 12094429/J-35616-14 (GN)

Sunload Sensor (CJ2)

Pin

Wire

Circuit

Function

A

0.35 L-BU/BK

590

Driver Sunload Sensor Signal

B

0.35 GY

1548

Passenger Sunload Sensor Signal

C

0.35 BK/WH

1551

Ground

D

0.35 L-GN/BK

1137

DRL Ambient Light Sensor Signal

Sunroof Control Module (C3U)


Object Number: 1530488  Size: CH

Connector Part Information

  • OEM: 7283-5909-40
  • Service: See Catalog
  • Description: 10-Way F (L-GY)

Terminal Part Information

  • Pin: 1, 6
  • Terminal/Tray: 7116-4101-08/9
  • Core/Insulation Crimp: E/A
  • Release Tool/Test Probe: 12094430/J-35616-2A (GY)
  • Pin: 3
  • Terminal/Tray: 7116-4110-02/9
  • Core/Insulation Crimp: E/C
  • Release Tool/Test Probe: 12094430/J-35616-4A (PU)
  • Pins: 5, 7, 10
  • Terminal/Tray: 7116-4100-08/9
  • Core/Insulation Crimp: E/C
  • Release Tool/Test Probe: 12094430/J-35616-2A (GY)

Sunroof Control Module (C3U)

Pin

Wire

Circuit

Function

1

3.0 BK

850

Ground

2

--

--

Not Used

3

0.5 YE

43

Ignition Voltage

4

--

--

Not Used

5

0.35 BN

100

Sunroof Switch Open Signal

6

1 RD/WH

3440

Battery Positive Voltage

7

0.35 WH

--

Serial Communication

8-9

--

--

Not Used

10

0.35 OG

110

Sunroof Switch Close Signal

Sunroof Shade Module (C3U)


Object Number: 1530488  Size: CH

Connector Part Information

  • OEM: 7283-5909-40
  • Service: See Catalog
  • Description: 10-Way F (L-GY)

Terminal Part Information

  • Pin: 1, 6
  • Terminal/Tray: 7116-4101-08/9
  • Core/Insulation Crimp: E/A
  • Release Tool/Test Probe: 12094430/J-35616-2A (GY)
  • Pin: 3
  • Terminal/Tray: 7116-4110-02/9
  • Core/Insulation Crimp: E/C
  • Release Tool/Test Probe: 12094430/J-35616-4A (PU)
  • Pins: 5, 7, 10
  • Terminal/Tray: 7116-4100-08/9
  • Core/Insulation Crimp: E/C
  • Release Tool/Test Probe: 12094430/J-35616-2A (GY)

Sunroof Shade Module (C3U)

Pin

Wire

Circuit

Function

1

1 BK

850

Ground

2

--

--

Not Used

3

0.5 YE

43

Ignition Voltage

4

--

--

Not Used

5

0.35 D-BU

5304

Front Sunshade Switch Open Signal

6

1 RD/WH

3440

Battery Positive Voltage

7

PU

--

Serial Communication

8-9

--

--

Not Used

10

0.35 YE/BK

5305

Front Sunshade Switch Close Signal

Sunroof Shade Switch (C3U)


Object Number: 130714  Size: CH

Connector Part Information

  • OEM: 12124997
  • Service: 12167130
  • Description: 5-Way F Metri-Pack 150 Series, Unsealed (BK)

Terminal Part Information

  • Terminal/Tray: See Terminal Repair Kit
  • Core/Insulation Crimp: See Terminal Repair Kit
  • Release Tool/Test Probe: See Terminal Repair Kit

Sunroof Shade Switch (C3U)

Pin

Wire

Circuit

Function

A

0.35 GY

8

Instrument Panel Lamp Voltage

B

0.35 BK

850

Ground

C

--

--

Not Used

D

0.35 L-BU

5304

Front Sunshade Switch Open Signal

E

0.35 YE

5305

Front Sunshade Switch Close Signal

Sunroof Switch (C3U)


Object Number: 130714  Size: CH

Connector Part Information

  • OEM: 12124997
  • Service: 12167130
  • Description: 5-Way F Metri-Pack 150 Series, Unsealed (BK)

Terminal Part Information

  • Terminal/Tray: See Terminal Repair Kit
  • Core/Insulation Crimp: See Terminal Repair Kit
  • Release Tool/Test Probe: See Terminal Repair Kit

Sunroof Switch (C3U)

Pin

Wire

Circuit

Function

A

0.35 GY

8

Instrument Panel Lamp Voltage

B

0.35 BK

850

Ground

C

--

--

Not Used

D

0.35 BN

100

Sunroof Switch Open Signal

E

0.35 OG

110

Sunroof Switch Close Signal

Sunshade - Left (DH6)


Object Number: 35441  Size: CH

Connector Part Information

  • OEM: 12047663
  • Service: 12085481
  • Description: 2-Way M Metri-Pack 150 Series (BK)

Terminal Part Information

  • Terminal/Tray: 12047581/2
  • Core/Insulation Crimp: E/C
  • Release Tool/Test Probe: 12094429/J-35616-3 (GY)

Sunshade - Left (DH6)

Pin

Wire

Circuit

Function

A

0.5 OG

1732

Courtesy Lamps Voltage

B

0.5 BK

850

Ground

Sunshade - Right (DH6)


Object Number: 35441  Size: CH

Connector Part Information

  • OEM: 12047663
  • Service: 12085481
  • Description: 2-Way M Metri-Pack 150 Series (BK)

Terminal Part Information

  • Terminal/Tray: 12047581/2
  • Core/Insulation Crimp: E/C
  • Release Tool/Test Probe: 12094429/J-35616-3 (GY)

Sunshade - Right (DH6)

Pin

Wire

Circuit

Function

A

0.5 OG

1732

Courtesy Lamps Voltage

B

0.5 BK

850

Ground

Tail Lamp - Left (Z88)


Object Number: 779050  Size: CH

Connector Part Information

  • OEM: 12124662
  • Service: See Catalog
  • Description: 5-Way F Metri-Pack 150 Series, Sealed (BN)

Terminal Part Information

  • Terminal/Tray: 12048074/2
  • Core/Insulation Crimp: E/1
  • Release Tool/Test Probe: 12094429/J-35616-14 (GN)

Tail Lamp - Left (Z88)

Pin

Wire

Circuit

Function

A

0.5 PU

709

Left Park Lamp Voltage

B

--

--

Not Available

C

0.5 YE/BK

5356

Left Tail Lamp Outage Detection Signal

D

0.8 BK

650

Ground

E

0.8 YE

18

Left Rear Stop/Turn Lamp Voltage

Tail Lamp - Right (Z88)


Object Number: 779050  Size: CH

Connector Part Information

  • OEM: 12124662
  • Service: See Catalog
  • Description: 5-Way F Metri-Pack 150 Series, Sealed (BN)

Terminal Part Information

  • Terminal/Tray: 12048074/2
  • Core/Insulation Crimp: E/1
  • Release Tool/Test Probe: 12094429/J-35616-14 (GN)

Tail Lamp - Right (Z88)

Pin

Wire

Circuit

Function

A

0.5 BN/WH

309

Right Park Lamp Voltage

B

--

--

Not Available

C

0.5 PU

5357

Right Tail Lamp Outage Detection Signal

D

0.8 BK

850

Ground

E

0.8 D-GN

19

Right Rear Stop/Turn Lamp Voltage

Tail/Stop and Turn Signal Lamp - Left (W49 or WDA or X88)


Object Number: 1694736  Size: CH

Connector Part Information

  • OEM: 12450004
  • Service: See Catalog
  • Description: 3-Way F CIC W3 Socket (L-GY)

Terminal Part Information

  • Terminal/Tray: See Terminal Repair Kit
  • Core/Insulation Crimp: See Terminal Repair Kit
  • Release Tool/Test Probe: See Terminal Repair Kit

Tail/Stop and Turn Signal Lamp - Left (W49 or WDA or X88)

Pin

Wire

Circuit

Function

A

RD

--

Left Rear Stop/Turn Voltage (WDA)

WH

--

Left Rear Stop/Turn Voltage (W49)

0.8 RD

--

Left Rear Stop/Turn Voltage (X88)

B

BK

--

Ground (W49 or WDA)

BK

--

Ground (W49 or WDA)

0.8 BK

--

Ground (X88)

C

L-BU

--

Park Lamps Voltage (WDA)

L-BU

--

Park Lamps Voltage (WDA)

D-BU

--

Park Lamps Voltage (W49)

D-BU

--

Park Lamps Voltage (W49)

0.8 L-BU

--

Park Lamps Voltage (X88)

Tail/Stop and Turn Signal Lamp - Right (W49 or WDA or X88)


Object Number: 1694736  Size: CH

Connector Part Information

  • OEM: 12450004
  • Service: See Catalog
  • Description: 3-Way F CIC W3 Socket (L-GY)

Terminal Part Information

  • Terminal/Tray: See Terminal Repair Kit
  • Core/Insulation Crimp: See Terminal Repair Kit
  • Release Tool/Test Probe: See Terminal Repair Kit

Tail/Stop and Turn Signal Lamp - Right (W49 or WDA or X88)

Pin

Wire

Circuit

Function

A

RD

--

Right Rear Stop/Turn Voltage (WDA)

WH

--

Right Rear Stop/Turn Voltage (W49)

0.8 RD

--

Right Rear Stop/Turn Voltage (X88)

B

BK

--

Ground (W49 or WDA)

BK

--

Ground (W49 or WDA)

0.8 BK

--

Ground (X88)

C

L-BU

--

Park Lamps Voltage (WDA)

L-BU

--

Park Lamps Voltage (WDA)

D-BU

--

Park Lamps Voltage (W49)

D-BU

--

Park Lamps Voltage (W49)

0.8 L-BU

--

Park Lamps Voltage (X88)

Theft Deterrent Module (TDM)


Object Number: 1593355  Size: CH

Connector Part Information

  • OEM: 50579705
  • Service: See Catalog
  • Description: 5-Way F 2.54mm (BK)

Terminal Part Information

  • Terminal/Tray: 16-02-1110/20
  • Core/Insulation Crimp: H/H
  • Release Tool/Test Probe: J-38125-213/J-35616-64B (L-BU)

Theft Deterrent Module (TDM)

Pin

Wire

Circuit

Function

1

0.35 RD/WH

1040

Battery Positive Voltage

2

0.35 BN

4

Ignition Voltage

3

0.35 BK/WH

1551

Ground

4

--

--

Not Used

5

0.35 D-GN

5060

Low Speed GMLAN Serial Data

Throttle Body (LLT)


Object Number: 1664617  Size: CH

Connector Part Information

  • OEM: 15355297
  • Service: 19115594
  • Description: 6-Way F GT 150 Series, Sealed (BK)

Terminal Part Information

  • Terminal/Tray: 15326427/5
  • Core/Insulation Crimp: Pins A, B - 2/A
  • Core/Insulation Crimp: Pins C, D, E, F - E/A
  • Release Tool/Test Probe: 15315247/J-35616-2A (GY)

Throttle Body (LLT)

Pin

Wire

Circuit

Function

A

0.75 BN

582

TAC Motor Control - 2

B

0.75 YE

581

TAC Motor Control - 1

C

0.5 TN

2752

Low Reference

D

0.5 D-GN

485

TP Sensor 1 Signal

E

0.5 GY

2701

5-Volt Reference

F

0.5 PU

486

TP Sensor 2 Signal

Trailer Connector (V92)


Object Number: 525095  Size: CH

Connector Part Information

  • OEM: 15354653
  • Service: 15306164
  • Description: 7-Way F Metri-Pack 280, Sealed (BK)

Terminal Part Information

  • Pins: A, D, F, G
  • Terminal/Tray: 12110847/4
  • Core/Insulation Crimp: E/5
  • Release Tool/Test Probe: 15315247/J-35616-4A (PU)
  • Pins: C, E
  • Terminal/Tray: 12110845/4
  • Core/Insulation Crimp: A/5
  • Release Tool/Test Probe: 15315247/J-35616-4A (PU)
  • Pins: B
  • Terminal/Tray: 15305232/23
  • Core/Insulation Crimp: Pins B - B/F/3
  • Core/Insulation Crimp: Pins B - F/3
  • Release Tool/Test Probe: J-38125-11A/J-35616-42 (RD)

Trailer Connector (V92)

Pin

Wire

Circuit

Function

A

0.5 L-GN

1624

Trailer Backup Lamps Voltage

B

2 BK

850

Ground

C

2 D-BU

47

Trailer Auxiliary Voltage

D

0.5 D-GN

1619

Stop Lamp Voltage

E

2 RD/BK

542

Battery Positive Voltage

F

0.5 BN

2109

Trailer Park Lamps Voltage

G

0.5 YE

1618

Stop Lamp Voltage

Turn Signal Lamp - Left Front (W49 or Z88)


Object Number: 1710998  Size: CH

Connector Part Information

  • OEM: 1-1438608-3
  • Service: See Catalog
  • Description: 2-Way F MQS Series, Sealed (BK)

Terminal Part Information

  • Terminal/Tray: See Terminal Repair Kit
  • Core/Insulation Crimp: See Terminal Repair Kit
  • Release Tool/Test Probe: See Terminal Repair Kit

Turn Signal Lamp - Left Front (W49 or Z88)

Pin

Wire

Circuit

Function

1

0.8 YE

--

Left Turn Signal Indicator Lamp Voltage (Z88)

0.8 BK

--

Ground (W49)

2

0.8 BK

--

Ground (Z88)

0.8 GN

--

Left Turn Signal Indicator Lamp Voltage (W49)

Turn Signal Lamp - Lower Left Front (WDA)


Object Number: 1710998  Size: CH

Connector Part Information

  • OEM: 1-1438608-3
  • Service: See Catalog
  • Description: 2-Way F MQS Series, Sealed (BU)

Terminal Part Information

  • Terminal/Tray: See Terminal Repair Kit
  • Core/Insulation Crimp: See Terminal Repair Kit
  • Release Tool/Test Probe: See Terminal Repair Kit

Turn Signal Lamp - Lower Left Front (WDA)

Pin

Wire

Circuit

Function

1

0.5 L-BU/WH

1314

Left Turn Signal Indicator Lamp Voltage

2

0.5 BK

1350

Ground

Turn Signal Lamp - Lower Right Front (WDA)


Object Number: 1710998  Size: CH

Connector Part Information

  • OEM: 1-1438608-3
  • Service: See Catalog
  • Description: 2-Way F MQS Series, Sealed (BU)

Terminal Part Information

  • Terminal/Tray: 962885-5/15
  • Core/Insulation Crimp: 6/6
  • Release Tool/Test Probe: 12094429/J-35616-64B (L-BU)

Turn Signal Lamp - Lower Right Front (WDA)

Pin

Wire

Circuit

Function

1

0.5 L-BU/WH

1314

Right Turn Signal Indicator Lamp Voltage

2

0.5 BK

1350

Ground

Turn Signal Lamp - Right Front (W49 or Z88)


Object Number: 1710998  Size: CH

Connector Part Information

  • OEM: 1-1438608-3
  • Service: See Catalog
  • Description: 2-Way F MQS Series, Sealed (BK)

Terminal Part Information

  • Terminal/Tray: See Terminal Repair Kit
  • Core/Insulation Crimp: See Terminal Repair Kit
  • Release Tool/Test Probe: See Terminal Repair Kit

Turn Signal Lamp - Right Front (W49 or Z88)

Pin

Wire

Circuit

Function

1

0.8 YE

--

Right Turn Signal Indicator Lamp Voltage (Z88)

0.8 BK

--

Ground (W49)

2

0.8 BK

--

Ground (Z88)

0.8 GN

--

Right Turn Signal Indicator Lamp Voltage (W49)

Turn Signal Lamp - Upper Left Front (WDA)


Object Number: 1710998  Size: CH

Connector Part Information

  • OEM: 1-1438608-3
  • Service: See Catalog
  • Description: 2-Way F MQS Series, Sealed (BU)

Terminal Part Information

  • Terminal/Tray: See Terminal Repair Kit
  • Core/Insulation Crimp: See Terminal Repair Kit
  • Release Tool/Test Probe: See Terminal Repair Kit

Turn Signal Lamp - Upper Left Front (WDA)

Pin

Wire

Circuit

Function

1

0.5 L-BU/WH

1314

Left Turn Signal Indicator Lamp Voltage

2

0.5 BK

1350

Ground

Turn Signal Lamp - Upper Right Front (WDA)


Object Number: 1710998  Size: CH

Connector Part Information

  • OEM: 1-1438608-3
  • Service: See Catalog
  • Description: 2-Way F MQS Series, Sealed (BU)

Terminal Part Information

  • Terminal/Tray: 962885-5/15
  • Core/Insulation Crimp: 6/6
  • Release Tool/Test Probe: 12094429/J-35616-64B (L-BU)

Turn Signal Lamp - Upper Right Front (WDA)

Pin

Wire

Circuit

Function

1

0.5 L-BU/WH

1314

Right Turn Signal Indicator Lamp Voltage

2

0.5 BK

1350

Ground

Turn Signal/Multifunction Switch X1


Object Number: 1862243  Size: CH

Connector Part Information

  • OEM: AIT2PB101FS
  • Service: See Catalog
  • Description: 10-Way F (WH)

Terminal Part Information

  • Terminal/Tray: 7116-4618-02/14
  • Core/Insulation Crimp: P/P
  • Release Tool/Test Probe: J-38125-215/J-35616-64B (L-BU)

Turn Signal/Multifunction Switch X1

Pin

Wire

Circuit

Function

1

0.35 BK/WH

1551

Ground

2

0.35 L-BU/WH

1414

Left Turn Signal Switch Signal

3

0.35 D-BU/WH

1415

Right Turn Signal Switch Signal

4

0.35 L-BU

1714

Windshield Wiper Switch Low Signal

5

0.35 L-GN

1715

Windshield Wiper Switch High Signal

6

0.35 PK

94

Windshield Washer Switch Signal

7

0.35 TN/BK

6009

Low Reference

8-10

--

--

Not Used

Turn Signal/Multifunction Switch X2


Object Number: 1862242  Size: CH

Connector Part Information

  • OEM: AIT2PB101BH
  • Service: See Catalog
  • Description: 10-Way JST (GY)

Terminal Part Information

  • Terminal/Tray: 7116-4618-02/14
  • Core/Insulation Crimp: P/P
  • Release Tool/Test Probe: J-38125-215/J-35616-64B (L-BU)

Turn Signal/Multifunction Switch X2

Pin

Wire

Circuit

Function

1-6

--

--

Not Used

7

0.35 PU

524

Headlamp Dimmer Switch High Beam Signal

8

0.35 BK/WH

1551

Ground

9

--

--

Not Used

10

0.35 BN

1356

Flash To Pass Switch Signal

Variable Effort Steering Actuator (NV7)


Object Number: 1467003  Size: CH

Connector Part Information

  • OEM: 85202-1
  • Service: See Catalog
  • Description: 2-Way F JPT Series (BK)

Terminal Part Information

  • Terminal/Tray: 4-964286-1/16
  • Core/Insulation Crimp: E/1
  • Release Tool/Test Probe: 12093647/J-35616-4A (PU)

Variable Effort Steering Actuator (NV7)

Pin

Wire

Circuit

Function

1

0.5 BN

1295

Variable Effort Steering Actuator Control

2

0.5 WH

1294

Variable Effort Steering Actuator Voltage

Vehicle Communications Interface Module (VCIM) X1 (UE1)


Object Number: 1471689  Size: CH

Connector Part Information

  • OEM: 15431362
  • Service: 15306351
  • Description: 16-Way F Micro64 Unsealed (WH)

Terminal Part Information

  • Pins: 1-3, 6, 7, 10-12, 15
  • Terminal/Tray: 15445905/23
  • Core/Insulation Crimp: Pins 1-3, 6, 10-12 - J/J
  • Core/Insulation Crimp: Pins 7, 15 - K/K
  • Release Tool/Test Probe: 12180559/J-35616-6 (BN)

Vehicle Communications Interface Module (VCIM) X1 (UE1)

Pin

Wire

Circuit

Function

1

0.35 D-GN

5060

Low Speed GMLAN Serial Data

2

0.35 BN/WH

2517

Keypad Red LED Signal

3

0.35 YE/BK

2516

Keypad Green LED Signal

4-5

--

--

Not Used

6

0.35 L-GN/BK

2515

Keypad Voltage

7

0.8 BK

650

Ground

8-9

--

--

Not Used

10

0.35 TN/BK

2500

High Speed GMLAN Serial Data Bus+

11

0.35 D-GN/WH

2514

Keypad Signal

12

0.35 TN

2501

High Speed GMLAN Serial Data Bus-

13-14

--

--

Not Used

15

0.8 RD/WH

4640

Battery Positive Voltage

16

--

--

Not Used

Vehicle Communications Interface Module (VCIM) X2 (UE1)


Object Number: 1471691  Size: CH

Connector Part Information

  • OEM: 15431365
  • Service: 88952886
  • Description: 12-Way F Micro64 Series, Unsealed (NA)

Terminal Part Information

  • Terminal/Tray: 15445905/23
  • Core/Insulation Crimp: J/J
  • Release Tool/Test Probe: 12180559/J-35616-6 (BN)

Vehicle Communications Interface Module (VCIM) X2 (UE1)

Pin

Wire

Circuit

Function

1

0.35 OG/BK

1406

Remote Playback Device Left Audio Signal

2

0.35 L-BU

1405

Remote Playback Device Audio Common Signal

3

0.35 TN/BK

2500

High Speed GMLAN Serial Data Bus+

4

0.35 TN

2501

High Speed GMLAN Serial Data Bus-

5-7

--

--

Not Used

8

0.35 BARE

814

Drain

9

0.35 GY

655

Cellular Microphone Signal

10

0.35 BARE

514

Ground

11-12

--

--

Not Used

Vehicle Communications Interface Module (VCIM) X3 (UE1)


Object Number: 814531  Size: CH

Connector Part Information

  • OEM: 15431359
  • Service: See Catalog
  • Description: 16-Way F Micro 100A (GY)

Terminal Part Information

  • Terminal/Tray: 175266-5/15
  • Core/Insulation Crimp: J/J
  • Release Tool/Test Probe: 15315247/J-35616-16 (L-GN)

Vehicle Communications Interface Module (VCIM) X3 (UE1)

Pin

Wire

Circuit

Function

1

--

--

Not Used

2

0.35 PK

5149

Voice Recognition Audio Signal

3

--

--

Not Used

4

0.35 PK/BK

5152

Low Reference

5

0.35 BARE

1792

Drain

6-16

--

--

Not Used

Wheel Speed Sensor (WSS) - Left Front


Object Number: 2152684  Size: CH

Connector Part Information

  • OEM: 7287-0973-30
  • Service: 19153615
  • Description: 2-Way F 1.5 Series, Sealed (BK)

Terminal Part Information

  • Terminal/Tray: 34083-1002/28
  • Core/Insulation Crimp: C/E/1
  • Release Tool/Test Probe: 12094429/J-35616-14 (GN)

Wheel Speed Sensor (WSS) - Left Front

Pin

Wire

Circuit

Function

1

0.5 L-BU

830

Left Front Wheel Speed Sensor Signal

2

0.5 YE

873

Low Reference

Wheel Speed Sensor (WSS) - Left Rear


Object Number: 2152684  Size: CH

Connector Part Information

  • OEM: 7287-0973-30
  • Service: 19153615
  • Description: 2-Way F 1.5 Series, Sealed (BK)

Terminal Part Information

  • Terminal/Tray: 34083-1002/28
  • Core/Insulation Crimp: C/E/1
  • Release Tool/Test Probe: 12094429/J-35616-14 (GN)

Wheel Speed Sensor (WSS) - Left Rear

Pin

Wire

Circuit

Function

1

0.5 TN

884

Left Rear Wheel Speed Sensor Signal

2

0.5 OG

885

Low Reference

Wheel Speed Sensor (WSS) - Right Front


Object Number: 2152684  Size: CH

Connector Part Information

  • OEM: 7287-0973-30
  • Service: 19153615
  • Description: 2-Way F 1.5 Series, Sealed (BK)

Terminal Part Information

  • Terminal/Tray: 34083-1002/28
  • Core/Insulation Crimp: C/E/1
  • Release Tool/Test Probe: 12094429/J-35616-14 (GN)

Wheel Speed Sensor (WSS) - Right Front

Pin

Wire

Circuit

Function

1

0.5 D-GN

872

Right Front Wheel Speed Sensor Signal

2

0.5 TN

833

Low Reference

Wheel Speed Sensor (WSS) - Right Rear


Object Number: 2152684  Size: CH

Connector Part Information

  • OEM: 7287-0973-30
  • Service: 19153615
  • Description: 2-Way F 1.5 Series, Sealed (BK)

Terminal Part Information

  • Terminal/Tray: 34083-1002/28
  • Core/Insulation Crimp: C/E/1
  • Release Tool/Test Probe: 12094429/J-35616-14 (GN)

Wheel Speed Sensor (WSS) - Right Rear

Pin

Wire

Circuit

Function

1

0.5 BN

882

Right Rear Wheel Speed Sensor Signal

2

0.5 WH

883

Low Reference

Window Motor - Driver (AXC or AXE)


Object Number: 1664554  Size: CH

Connector Part Information

  • OEM: 2-1355696-1
  • Service: 88988401
  • Description: 6-Way F Timer Jr-Power Series, Sealed (GY)

Terminal Part Information

  • Pins: 1, 4
  • Terminal/Tray: 4-964273-1/15
  • Core/Insulation Crimp: C/5
  • Release Tool/Test Probe: 12093647/J-35616-4A (PU)
  • Pins: 6
  • Terminal/Tray: 4-964286-1/16
  • Core/Insulation Crimp: E/1
  • Release Tool/Test Probe: 12093647/J-35616-4A (PU)

Window Motor - Driver (AXC or AXE)

Pin

Wire

Circuit

Function

1

2 RD/WH

3340

Battery Positive Voltage

2-3

--

--

Not Used

4

2 BK

550

Ground

5

--

--

Not Used

6

0.35 BN

6132

Linear Interconnect Network Bus

Window Motor - Driver (without AXC or AXE)


Object Number: 684837  Size: CH

Connector Part Information

  • OEM: 12129487
  • Service: 88988609
  • Description: 2-Way F Metri-Pack 280 Series, Flexlock, Sealed (GY)

Terminal Part Information

  • Terminal/Tray: 12110845/4
  • Core/Insulation Crimp: F/5
  • Release Tool/Test Probe: 15315247/J-35616-4A (PU)

Window Motor - Driver (without AXC or AXE)

Pin

Wire

Circuit

Function

A

3 BN

165

Power Window Motor Left Front Down Control

B

3 D-BU

164

Power Window Motor Left Front Up Control

Window Motor - Left Rear


Object Number: 684837  Size: CH

Connector Part Information

  • OEM: 12129487
  • Service: 88988609
  • Description: 2-Way F Metri-Pack 280 Series, Flexlock, Sealed (GY)

Terminal Part Information

  • Terminal/Tray: 12110853/4
  • Core/Insulation Crimp: F/5
  • Release Tool/Test Probe: 15315247/J-35616-4A (PU)

Window Motor - Left Rear

Pin

Wire

Circuit

Function

A

3 BN

669

Power Window Motor Left Rear Down Control

B

3 D-BU

668

Power Window Motor Left Rear Up Control

Window Motor - Passenger (AXC)


Object Number: 1664554  Size: CH

Connector Part Information

  • OEM: 2-1355696-1
  • Service: 88988401
  • Description: 6-Way F Timer Jr-Power Series, Sealed (GY)

Terminal Part Information

  • Pins: 1, 4
  • Terminal/Tray: 4-964273-1/15
  • Core/Insulation Crimp: C/5
  • Release Tool/Test Probe: 12093647/J-35616-4A (PU)
  • Pins: 6
  • Terminal/Tray: 4-964286-1/16
  • Core/Insulation Crimp: E/1
  • Release Tool/Test Probe: 12093647/J-35616-4A (PU)

Window Motor - Passenger (AXC)

Pin

Wire

Circuit

Function

1

2 RD/WH

3340

Battery Positive Voltage

2-3

--

--

Not Used

4

2 BK

750

Ground

5

--

--

Not Used

6

0.35 D-BU

6133

Linear Interconnect Network Bus

Window Motor - Passenger (without AXC)


Object Number: 684837  Size: CH

Connector Part Information

  • OEM: 12129487
  • Service: 88988609
  • Description: 2-Way F Metri-Pack 280 Series, Flexlock, Sealed (GY)

Terminal Part Information

  • Terminal/Tray: 12110845/4
  • Core/Insulation Crimp: A/5
  • Release Tool/Test Probe: 15315247/J-35616-4A (PU)

Window Motor - Passenger (without AXC)

Pin

Wire

Circuit

Function

A

2 BN

667

Power Window Motor Right Front Down Control

B

2 D-BU

666

Power Window Motor Right Front Up Control

Window Motor - Right Rear


Object Number: 684837  Size: CH

Connector Part Information

  • OEM: 12129487
  • Service: 88988609
  • Description: 2-Way F Metri-Pack 280 Series, Flexlock, Sealed (GY)

Terminal Part Information

  • Terminal/Tray: 12110853/4
  • Core/Insulation Crimp: F/5
  • Release Tool/Test Probe: 15315247/J-35616-4A (PU)

Window Motor - Right Rear

Pin

Wire

Circuit

Function

A

3 BN

671

Power Window Motor Right Rear Down Control

B

3 D-BU

670

Power Window Motor Right Rear Up Control

Window Switch - Driver X1 (without AXC or AXE)


Object Number: 1716517  Size: CH

Connector Part Information

  • OEM: 7283-9028-30
  • Service: See Catalog
  • Description: 8-Way F YESC Kaizen Series (BK)

Terminal Part Information

  • Pins: 1
  • Terminal/Tray: 7114-4100-08/9
  • Core/Insulation Crimp: E/C
  • Release Tool/Test Probe: 15315247/J-35616-3 (GY)
  • Pins: 2-8
  • Terminal/Tray: 7116-4618-02/14
  • Core/Insulation Crimp: P/P
  • Release Tool/Test Probe: J-38125-215/J-35616-64B (L-BU)

Window Switch - Driver X1 (without AXC or AXE)

Pin

Wire

Circuit

Function

1

0.35 PU/WH

1382

LED Dimming Signal

2

0.35 D-BU

1307

Power Window Master Switch Lockout Signal

3

0.35 PU

169

Power Window Master Switch Left Rear Down Signal

4

0.35 D-GN

168

Power Window Master Switch Left Rear Up Signal

5

0.35 TN

167

Power Window Master Switch Right Front Down Signal

6

0.35 L-BU

166

Power Window Master Switch Right Front Up Signal

7

0.35 PU

171

Power Window Master Switch Right Rear Down Signal

8

0.35 L-GN

170

Power Window Master Switch Right Rear Up Signal

Window Switch - Driver X2 (without AXC or AXE)


Object Number: 556473  Size: CH

Connector Part Information

  • OEM: 19177577
  • Service: 15306174
  • Description: 8-Way F GT 280 Series (BK)

Terminal Part Information

  • Pins: A, D, E, H
  • Terminal/Tray: 15304713/19
  • Core/Insulation Crimp: F/D
  • Release Tool/Test Probe: 15315247/J-35616-4A (PU)
  • Pins: F, G
  • Terminal/Tray: 15304711/8
  • Core/Insulation Crimp: E/A
  • Release Tool/Test Probe: 15315247/J-35616-4A (PU)

Window Switch - Driver X2 (without AXC or AXE)

Pin

Wire

Circuit

Function

A

3 BK

550

Ground

B-C

--

--

Not Used

D

3 BN

165

Power Window Motor Left Front Down Control

E

3 D-BU

164

Power Window Motor Left Front Up Control

F

0.35 L-BU/WH

280

Power Window Master Switch Lockout Right Rear Signal

G

0.35 YE

43

Ignition Voltage

H

3 RD/WH

3340

Battery Positive Voltage

Window Switch - Left Rear


Object Number: 556473  Size: CH

Connector Part Information

  • OEM: 19177577
  • Service: 15306174
  • Description: 8-Way F GT 280 Series (BK)

Terminal Part Information

  • Pins: A-D
  • Terminal/Tray: 15304711/8
  • Core/Insulation Crimp: E/A
  • Release Tool/Test Probe: 15315247/J-35616-4A (PU)
  • Pins: E-H
  • Terminal/Tray: 15304713/19
  • Core/Insulation Crimp: Pins E, H - F/D
  • Core/Insulation Crimp: Pins F, G - 4/4
  • Release Tool/Test Probe: 15315247/J-35616-4A (PU)

Window Switch - Left Rear

Pin

Wire

Circuit

Function

A

0.35 D-GN

168

Power Window Master Switch Left Rear Up Signal

B

--

--

Not Used

C

0.35 PU

169

Power Window Master Switch Left Rear Down Signal

D

0.35 D-BU

1307

Power Window Master Switch Lockout Signal

E

3 D-BU

668

Power Window Motor Left Rear Up Control

F

2 BK

550

Ground

G

2 RD/WH

3340

Battery Positive Voltage

H

3 BN

669

Power Window Motor Left Rear Down Control

Window Switch - Passenger (without AXC or AXE)


Object Number: 556473  Size: CH

Connector Part Information

  • OEM: 19177577
  • Service: 15306174
  • Description: 8-Way F GT 280 Series (BK)

Terminal Part Information

  • Pins: A-D
  • Terminal/Tray: 15304711/8
  • Core/Insulation Crimp: E/A
  • Release Tool/Test Probe: 15315247/J-35616-4A (PU)
  • Pins: E-H
  • Terminal/Tray: 15304713/19
  • Core/Insulation Crimp: 4/4
  • Release Tool/Test Probe: 15315247/J-35616-4A (PU)

Window Switch - Passenger (without AXC or AXE)

Pin

Wire

Circuit

Function

A

0.35 L-BU

166

Power Window Master Switch Right Front Up Signal

B

0.35 GY

8

Instrument Panel Lamp Voltage

C

0.35 TN

167

Power Window Master Switch Right Front Down Signal

D

0.35 YE

43

Ignition Voltage

E

2 D-BU

666

Power Window Motor Right Front Up Control

F

2 BK

750

Ground

G

2 RD/WH

3340

Battery Positive Voltage

H

2 BN

667

Power Window Motor Right Front Down Control

Window Switch - Right Rear


Object Number: 556473  Size: CH

Connector Part Information

  • OEM: 19177577
  • Service: 15306174
  • Description: 8-Way F GT 280 Series (BK)

Terminal Part Information

  • Pins: A-D
  • Terminal/Tray: 15304711/8
  • Core/Insulation Crimp: E/A
  • Release Tool/Test Probe: 15315247/J-35616-4A (PU)
  • Pins: E-H
  • Terminal/Tray: 15304713/19
  • Core/Insulation Crimp: Pins E, H - F/D
  • Core/Insulation Crimp: Pins F, G - 4/4
  • Release Tool/Test Probe: 15315247/J-35616-4A (PU)

Window Switch - Right Rear

Pin

Wire

Circuit

Function

A

0.35 L-GN

170

Power Window Master Switch Right Rear Up Signal

B

--

--

Not Used

C

0.35 PU

171

Power Window Master Switch Right Rear Down Signal

D

0.35 L-BU/WH

280

Power Window Master Switch Lockout Right Rear Signal

E

3 D-BU

670

Power Window Motor Right Rear Up Control

F

2 BK

750

Ground

G

2 RD/WH

3340

Battery Positive Voltage

H

3 BN

671

Power Window Motor Right Rear Down Control

Windshield Washer Fluid Level Switch


Object Number: 1940136  Size: CH

Connector Part Information

  • OEM: 19177500
  • Service: 88987993
  • Description: 2-Way F GT 150 Sealed (BK)

Terminal Part Information

  • Terminal/Tray: 15326267/19
  • Core/Insulation Crimp: E/4
  • Release Tool/Test Probe: 15315247/J-35616-2A (GY)

Windshield Washer Fluid Level Switch

Pin

Wire

Circuit

Function

1

0.5 BK

1350

Ground

2

0.35 TN

185

Low Washer Fluid Indicator Control

Windshield Washer Fluid Pump


Object Number: 635009  Size: CH

Connector Part Information

  • OEM: 12052641
  • Service: 12102747
  • Description: 2-Way F Metri-Pack 150 Series (BK)

Terminal Part Information

  • Terminal/Tray: 12048074/2
  • Core/Insulation Crimp: E/1
  • Release Tool/Test Probe: 12094429/J-35616-14 (GN)

Windshield Washer Fluid Pump

Pin

Wire

Circuit

Function

A

0.5 OG

228

Windshield Washer Pump Control

B

0.5 BK

1350

Ground

Windshield Washer Solvent Heater X1 (XA7)


Object Number: 1715214  Size: CH

Connector Part Information

  • OEM: 7282-3214-30
  • Service: 19115654
  • Description: 2-Way M Y-Type 9.5 Series, Sealed (BK)

Terminal Part Information

  • Terminal/Tray: 7114-3250/14
  • Core/Insulation Crimp: G/3
  • Release Tool/Test Probe: 12094430/J-35616-21 (RD)

Windshield Washer Solvent Heater X1 (XA7)

Pin

Wire

Circuit

Function

1

5 RD/WH

1440

Battery Positive Voltage

2

5 BK

1750

Ground

Windshield Washer Solvent Heater X2 (XA7)


Object Number: 1664625  Size: CH

Connector Part Information

  • OEM: 33472-0611
  • Service: 19115669
  • Description: 6-Way F Sealed (BK)

Terminal Part Information

  • Terminal/Tray: 33012-1003/23
  • Core/Insulation Crimp: 2/E/2
  • Release Tool/Test Probe: J-38125-217/J-35616-14 (GN)

Windshield Washer Solvent Heater X2 (XA7)

Pin

Wire

Circuit

Function

1

0.35 L-GN

6096

Washer Fluid Heated Control Switch Signal

2

0.35 D-BU/WH

5970

Washer Fluid Heated Control Switch LED Voltage

3

--

--

Not Used

4

0.35 BK

1450

Ground

5

0.35 PK

94

Windshield Washer Switch Signal

6

0.35 OG

300

Power Mode

Windshield Wiper Motor


Object Number: 1538775  Size: CH

Connector Part Information

  • OEM: 19207310
  • Service: 88987987
  • Description: 4-Way F Timer Jr-Power Sealed (BK)

Terminal Part Information

  • Terminal/Tray: 4-964273-1/15
  • Core/Insulation Crimp: E/1
  • Release Tool/Test Probe: 12093647/J-35616-4A (PU)

Windshield Wiper Motor

Pin

Wire

Circuit

Function

1

1 PU

92

Windshield Wiper Motor High Speed

2

1 D-GN

95

Windshield Washer Switch Signal

3

0.35 YE

196

Windshield Wiper Motor Park Switch Signal

4

1 BK

1650

Ground

Yaw and Lateral Accelerometer Sensor


Object Number: 810084  Size: CH

Connector Part Information

  • OEM: 1-967640-1
  • Service: 88953370
  • Description: 4-Way F MQS Socket Housing, Sealed (BK)

Terminal Part Information

  • Terminal/Tray: 962885-5/15
  • Core/Insulation Crimp: 6/6
  • Release Tool/Test Probe: 12094429/J-35616-64B (L-BU)

Yaw and Lateral Accelerometer Sensor

Pin

Wire

Circuit

Function

1

0.5 L-BU

2088

Low Reference

2

0.5 L-GN/BK

6432

CAN Bus Low Serial Data

3

0.5 TN/WH

6433

CAN Bus High Serial Data

4

0.5 D-GN

2087

12-Volt Reference