GM Service Manual Online
For 1990-2009 cars only

Special Tools

    • CH 48894 Wheel Drive Shaft Boot Clamp Pliers
    • J 35910 Drive Axle Seal Clamp Pliers

Disassemble Procedure

  1. Remove the wheel drive shaft from the vehicle. Refer to Front Wheel Drive Shaft Replacement.

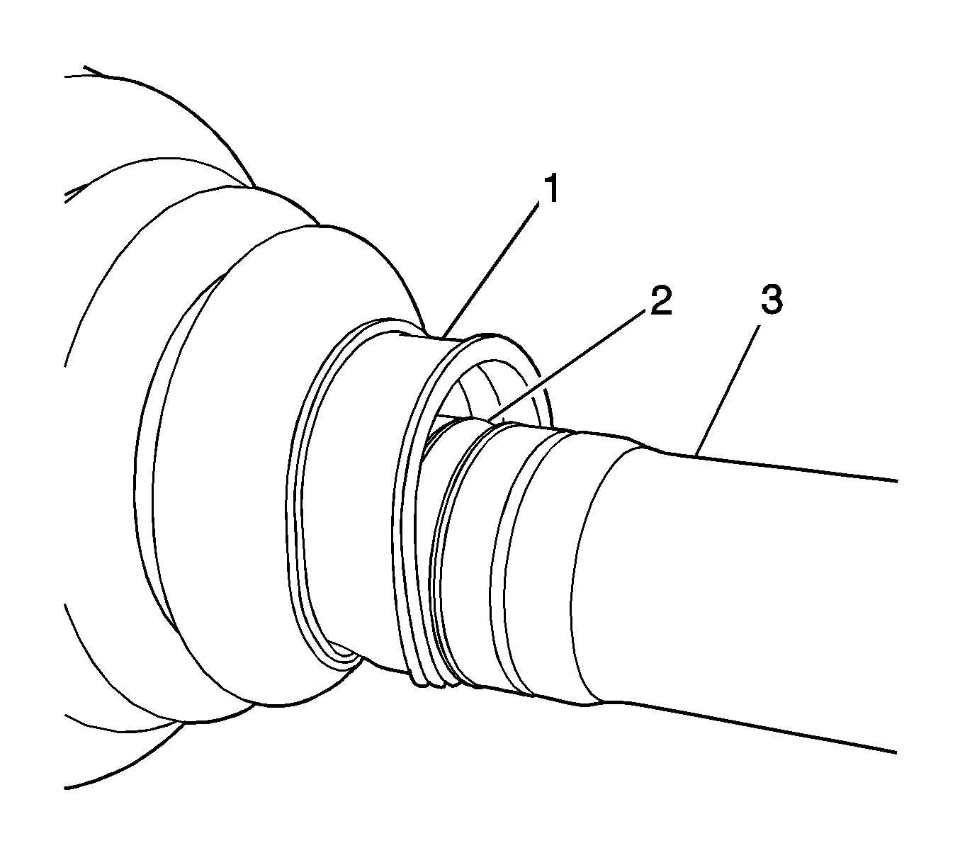
  2. Object Number: 860858  Size: SH
  3. Install the drive axle shaft in a soft jawed vice.

  4. Object Number: 2008294  Size: SH

    Caution: Do not cut through the wheel drive shaft inboard or outboard boot during service. Cutting through the boot may damage the sealing surface of the housing and the tripot or the constant velocity joint bushing. Damage to the sealing surface may lead to water and dirt intrusion and premature wear of the constant velocity joint.

  5. Use a flat-bladed tool, remove the boot clamp (2) from the constant velocity (CV) joint (1) and the boot (3).
  6. Using a pair of side cutters, remove the boot clamp (4) from the boot (3) and the wheel drive shaft (5).
  7. Discard the boot clamps (2) and (4). Use NEW clamps only.

  8. Object Number: 891620  Size: SH
  9. Using a block of wood and a hammer, remove the CV joint (2) from the wheel drive shaft (1).

  10. Object Number: 2008315  Size: SH
  11. Remove the boot (1) from the wheel drive shaft (2).
  12. Inspect the outer CV joint for damage and wear. Refer to Wheel Drive Shaft Outer Joint Inspection.

Assemble Procedure


    Object Number: 2008315  Size: SH
  1. Position the boot (1) on the wheel drive shaft (2).

  2. Object Number: 2008321  Size: SH
  3. Ensure that the boot (1)  is properly seated in the grooved (2) wheel drive shaft (3).

  4. Object Number: 174625  Size: SH
  5. Place approximately half the lubricant from the service kit inside the outboard boot and pack the CV joint with the remaining lubricant.

  6. Object Number: 2008345  Size: SH
  7. Using a block of wood and a hammer, install the CV joint (1) on the wheel drive shaft.

  8. Object Number: 2008294  Size: SH
  9. Install the boot clamp (4) on the boot (3) and the wheel drive shaft (5).
  10. Install the boot clamp (2) on the boot (3) and the CV joint housing (1).

  11. Object Number: 2087929  Size: SH

    Note: 

       • Ensure that the boot clamp is properly positioned around the entire circumference of the boot.
       • Ensure that the gap measurement does not exceed 1.9 mm (0.07 in).

  12. Using the J 35910 Drive Axle Seal Clamp Pliers , tighten the boot clamp (2) until the gap (3) in the boot clamp measure 1.9 mm (0.07 in).

  13. Object Number: 2100831  Size: MH
  14. The following service procedure is for those vehicles equipped with the earless type clamp (1). For those vehicles equipped with the ear type clamp (2), proceed to step 9.

  15. Object Number: 1034498  Size: SH

    Note: Ensure the boot clamp is securely closed and seated properly on the boot.

  16. Using the CH 48894 Wheel Drive Shaft Boot Clamp Pliers , close the boot clamp.
  17. Distribute the lubricant within the outer CV joint by moving it in a circular motion at least four to five times.
  18. Remove the wheel drive shaft from the bench vise.
  19. Install the wheel drive shaft assembly. Refer to Front Wheel Drive Shaft Replacement.