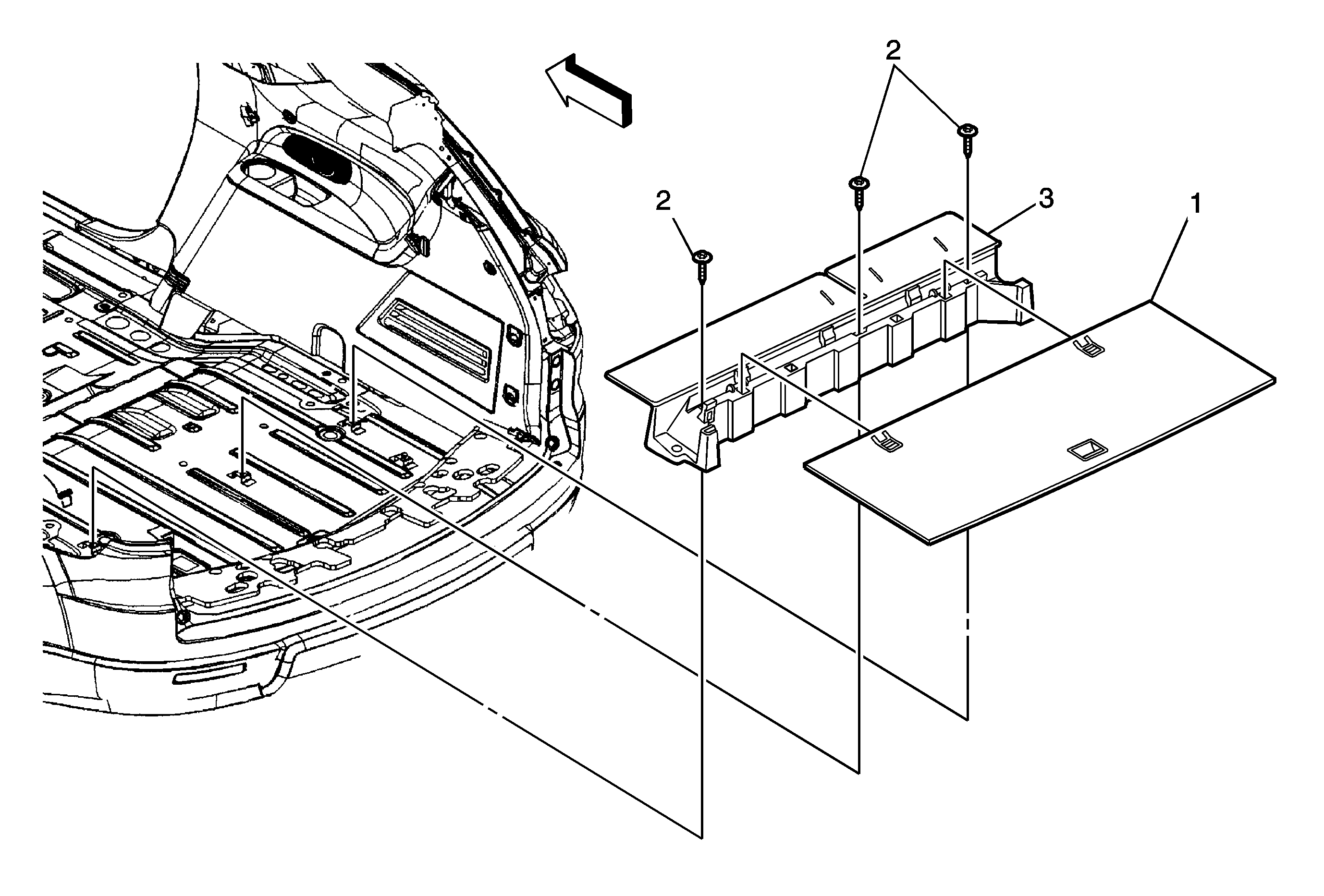
Callout
Component Name
1
Cargo Box Stowage Box Lid Assembly
2
Rear Compartment Floor Stowage Compartment Fasteners
3
Rear Compartment Floor Stowage Compartment Assembly