GM Service Manual Online
For 1990-2009 cars only

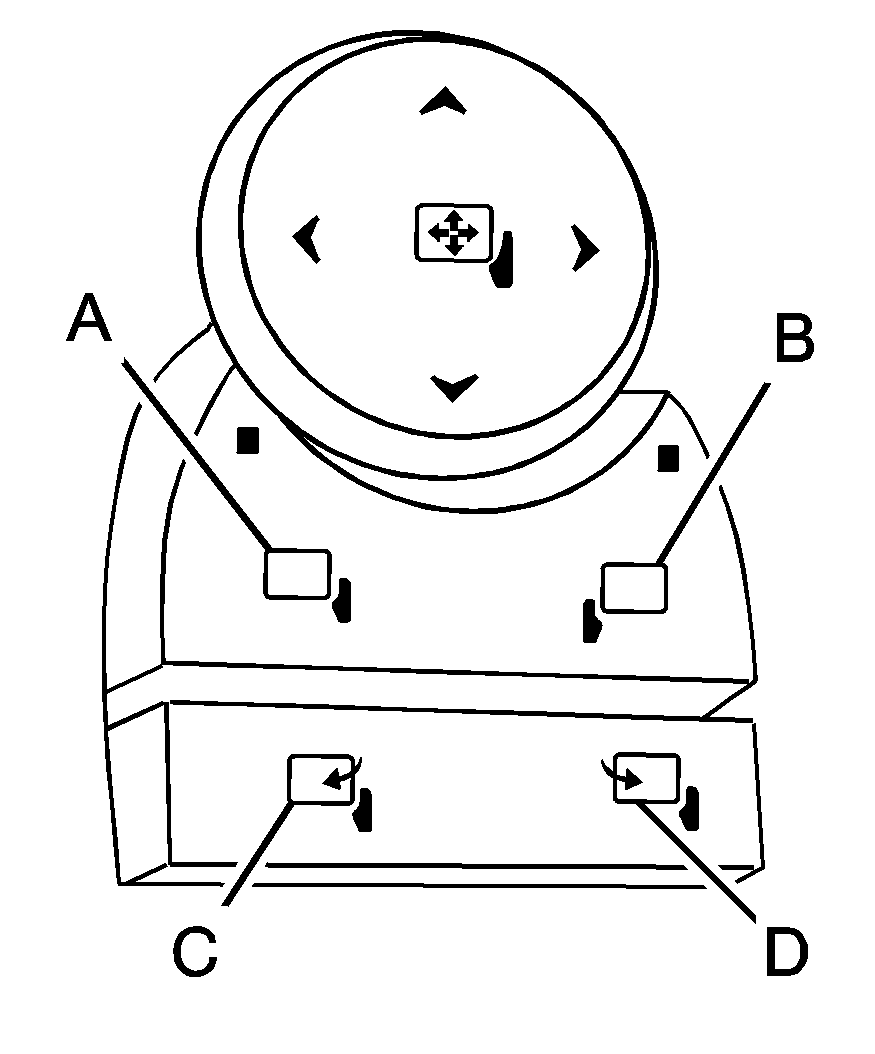
Object Number: 1581607  Size: A3

If your vehicle is equipped with outside power foldaway mirrors, the controls are located on the driver's door armrest.

    • Press (A) to select the driver's side mirror. Then press the arrows located on the four-way control pad to adjust the mirror. Press (A) again to deselect the mirror.
    • Press (B) to select the passenger's side mirror. Then press the arrows located on the four-way control pad to adjust the mirror. Press (B) again to deselect the mirror.
    • Press (C), to fold the mirrors out to the driving position.
    • Press (D) to fold the mirrors in to the folded position.

If the mirrors are accidentally folded/unfolded manually, they may shake or flutter at normal driving speeds and may not stay in the unfolded position. If this happens, you will need to reset the mirrors. See "Resetting the Power Foldaway Mirrors" next.

Resetting the Power Foldaway Mirrors

You will need to reset the power foldaway mirrors if the following occurs:

    • The mirrors are accidentally obstructed while folding.
    • They are accidentally manually folded/unfolded.
    • The mirrors will not stay in the unfolded position.
    • The mirrors shake and flutter at normal driving speeds.

To reset the power foldaway mirrors, fold and unfold them one time using the mirror controls. This will reset them to their normal position.

This mirror has the following features.

Automatic Dimming

The driver's outside mirror will adjust for the glare of the headlamps behind you. See Automatic Dimming Rearview Mirror with OnStar® and Compass .

Park Tilt Mirrors

If your vehicle has the memory package, the outside mirrors are able to perform the park tilt function. This feature may be useful in allowing the driver to view the curb when parallel parking. This feature will cause the passenger's and/or driver's mirror to tilt to a preselected position when the vehicle is in REVERSE (R).

The passenger's and/or driver's mirror will return to its original position when the vehicle is shifted out of REVERSE (R), or the ignition is turned off or to OFF/LOCK.

This feature can be turned on or off through the Driver Information Center (DIC). See DIC Vehicle Customization and Memory Seat and Mirrors for more information.

Turn Signal Indicator

Your vehicle may have a turn signal indicator on the mirror. An arrow on the mirror will flash in the direction of the turn or lane change.