GM Service Manual Online
For 1990-2009 cars only

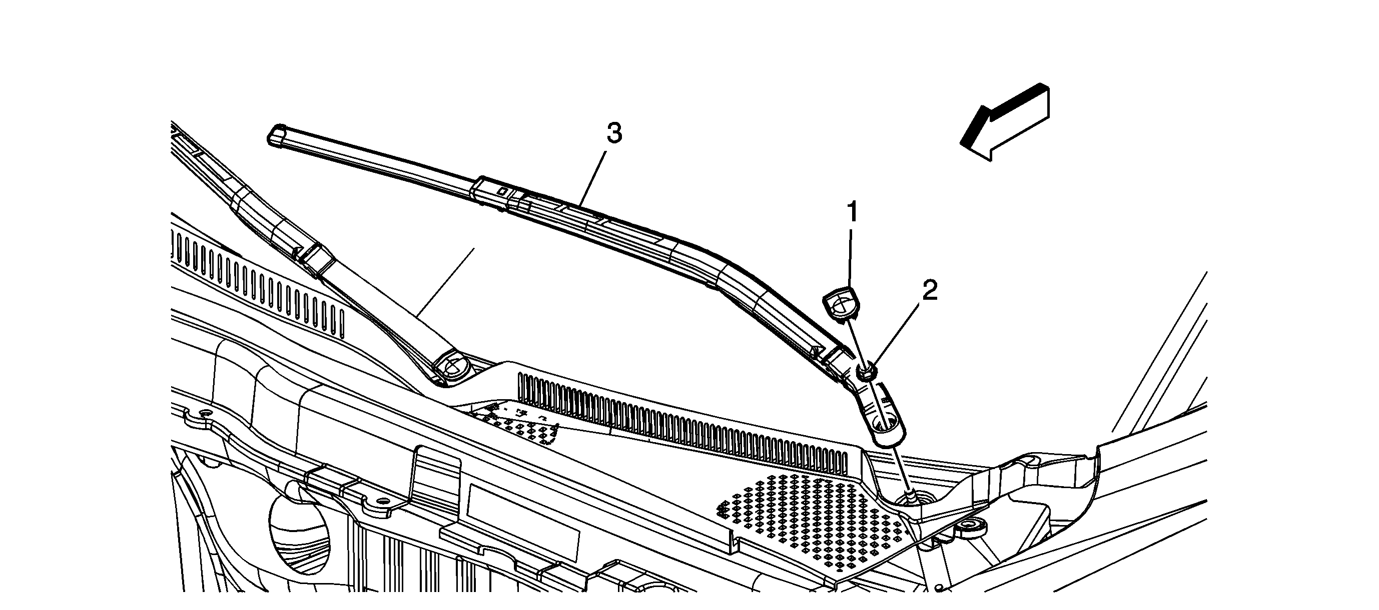
Object Number: 1847034  Size: SF

Callout

Component Name

1

Wiper Arm Nut Cap (Qty: 2)

2

Windshield Wiper Arm Nut (Qty: 2)

Notice: Refer to Fastener Notice in the Preface section.

Tighten
25 N·m (18 lb ft)

3

Windshield Wiper Arm Assembly

Procedure

  1. A slight rocking motion of the wiper arm should release it from the wiper pivot shaft splines.
  2. Clean the splines on the wiper motor pivot shaft after the wiper arm has been removed.
  3. Hold and align the front wiper blades to the circular dots on the lower edge of the windshield while securing the nut.
  4. Perform a wet wipe and re-check the alignment, adjust if needed.