GM Service Manual Online
For 1990-2009 cars only

Tools Required

    • J 24402-A Glass Sealant (Cold Knife) Remover
    • J 39032 Stationary Glass Removal Tool
    • Urethane Adhesive Kit GM P/N 12346392 or Equivalent
    • Isopropyl Alcohol or equivalent
    • Cartridge-type Caulking Gun
    • Commercial-type Utility Knife
    • Razor Blade Scraper
    • Suction Cups
    • Plastic Paddle

Removal Procedure

    Caution: Refer to Cracked Window Caution in the Preface section.

    Important: Before cutting out a quarter window, apply a double layer of masking tape around the perimeter of the painted surfaces and the interior trim.

  1. Open the liftgate.
  2. Remove the rear quarter panel trim. Refer to Quarter Upper Trim Panel Replacement .
  3. Disconnect the electrical connectors from the antenna, if equipped.
  4. Caution: Refer to Defroster Outlet Caution in the Preface section.

  5. Cover the following parts to protect from broken glass:
  6. • Upper dash pad
    • Defroster outlets and A/C outlets
    • Seats and carpeting

    Caution: Refer to Glass and Sheet Metal Handling Caution in the Preface section.


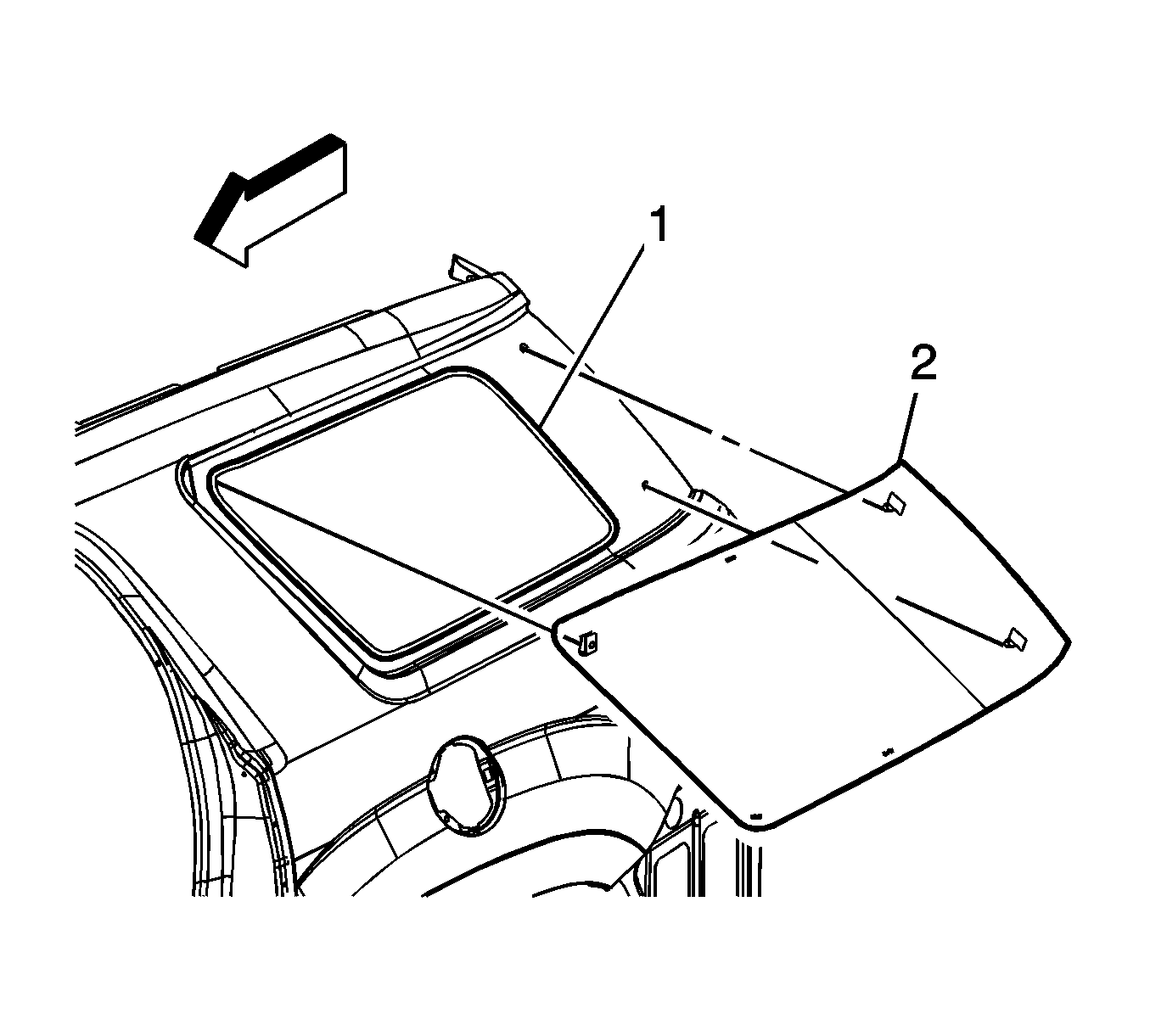
    Object Number: 71179  Size: SH

    Important: Keep the cutting edge of the tool against the window.

  7. Remove the window from the urethane adhesive.
  8. • Leave a base of urethane approximately 2 mm (0.078 in) on the pinch-weld flange.
    • The only suitable lubrication is clear water.
    • Use J 24402-A  ,  J 39032 , or equivalent to remove the window.

    Object Number: 379883  Size: SH

    Important: Keep the cutting edge of the knife/tool against the window. Do this from inside the vehicle.

  9. If necessary, use a long utility knife or similar tool to remove the bottom corners of the window from the urethane adhesive.

  10. Object Number: 1840756  Size: SH
  11. With the aid of an assistant, remove the window (2) from the vehicle.

Installation Procedure

  1. Install the quarter window into the opening. Refer to Adhesive Installation of Bodyside Stationary Windows .
  2. Connect the electrical connectors to the antenna, if equipped.
  3. Install the rear quarter upper trim panel. Refer to Quarter Upper Trim Panel Replacement .
  4. Remove the double layer of masking tape around the perimeter of the painted surfaces and the interior trim.
  5. Close the liftgate.