GM Service Manual Online
For 1990-2009 cars only
Table 1: Housing O-Ring, Vent Assembly, Drain and Fill Plug Removal
Table 2: Intermediate Drive Shaft Removal
Table 3: Rear Output Shaft Housing Removal
Table 4: Right Transfer Case, Input and Output Drive Shaft Removal
Table 5: Rear Output Shaft Housing Disassembly
Table 6: Intermediate Drive Shaft Disassembly

Housing O-Ring, Vent Assembly, Drain and Fill Plug Removal


Object Number: 1843281  Size: MF

Housing O-Ring, Vent Assembly, Drain and Fill Plug Removal

Callout

Component Name

1

Transfer Case O-Ring Seal

2

Transfer Case Vent Assembly

Tip
Remove the vent only if damaged or blocked.

3

Transfer Case Heat Shield Bolt (Qty: 3)

Tip
After removal, the optional heat shield does not need to be installed. Refer to Transfer Case Description and Operation.

4

Transfer Case Heat Shield

Tip
After removal, the optional heat shield does not need to be installed. Refer to Transfer Case Description and Operation.

5

Transfer Case Drain Plug

6

Transfer Case Fill Plug

Intermediate Drive Shaft Removal


Object Number: 1843284  Size: MF

Intermediate Drive Shaft Removal

Callout

Component Name

1

Front Wheel Drive Shaft Shield

Tip
After removal, discard the shield. It does not need to be installed. Refer to Transfer Case Description and Operation.

2

Front Wheel Drive Retainer

3

Front Wheel Drive Intermediate Shaft

Special Tools

J 25070 Heat Gun - 500-750F

Rear Output Shaft Housing Removal


Object Number: 1843285  Size: MF

Rear Output Shaft Housing Removal

Callout

Component Name

1

Transfer Case Rear Output Shaft Housing Bolt (Qty: 6)

2

Transfer Case Rear Output Shaft Housing

Tip
Locate 2 screwdrivers or prybars to the flange area of the housing to ease removal.

Special Tools

J 25070 Heat Gun - 500-750F

3

Transfer Case Rear Output Shim

4

Transfer Case Rear Output Shaft Housing Seal O-Ring

Tip
Discard the O-ring after removal.

Right Transfer Case, Input and Output Drive Shaft Removal


Object Number: 1843286  Size: MF

Right Transfer Case, Input and Output Drive Shaft Removal

Callout

Component Name

1

Transfer Case Half Bolt (Qty: 11)

2

Transfer Case - Right

3

Transfer Case Seal

4

Transfer Case Input Shaft

5

Transfer Case Rear Output Drive Shaft

6

Transfer Case Half Locating Pin (Qty: 2)

Refer to Transfer Case Cleaning and Inspection.

Tip

    • Remove the pins only if damaged.
    • Inspect the case for similar damage.

Rear Output Shaft Housing Disassembly


Object Number: 1708633  Size: MF

Rear Output Shaft Housing Disassembly

Callout

Component Name

1

Transfer Case Rear Output Shaft Gear Nut

Tip
Use a 30 mm socket or J 29873 .

Special Tools

J-08614-A Pinion Flange Holder and Remover

2

Transfer Case Rear Output Shaft Flange

Special Tools

DT-48145 Press Support

3

Transfer Case Rear Output Shaft Bearing Assembly

Tip
Use a press to remove the output shaft from the housing.

4

Transfer Case Rear Output Shaft Bearing Spacer

5

Transfer Case Rear Output Shaft

6

Transfer Case Rear Output Shaft Oil Slinger

Refer to Rear Output Drive Housing Cleaning and Inspection.

Tip
Remove the slinger only if damaged.

7

Transfer Case Rear Output Shaft Seal

Tip
Discard the seal after removal.

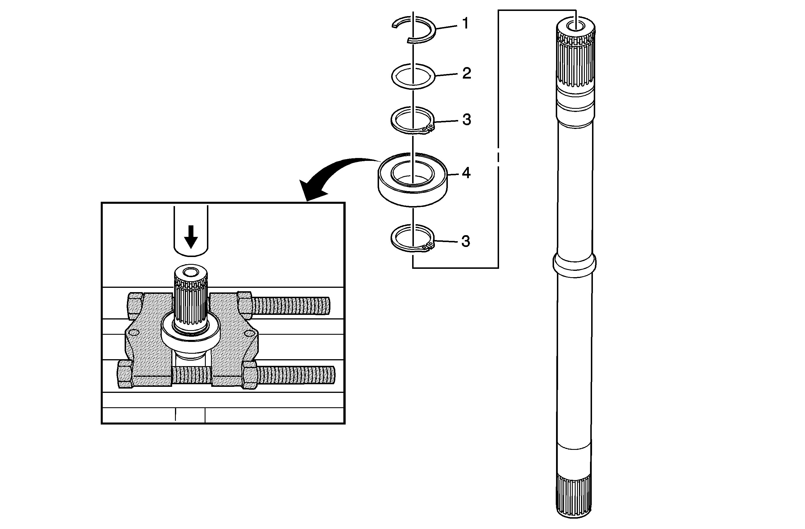
Intermediate Drive Shaft Disassembly


Object Number: 1708634  Size: MF

Intermediate Drive Shaft Disassembly

Callout

Component Name

1

Half Shaft Retainer

2

O-Ring

3

Front Wheel Drive Intermediate Shaft Bearing Retainer (Qty: 2)

4

Front Wheel Drive Intermediate Shaft Bearing Assembly

Tip
Use a press, with the J 22912-B flat side up, in order to remove the bearing assembly.

Special Tools

J 22912-B Rear Pinion and Axle Bearing Remover