GM Service Manual Online
For 1990-2009 cars only
Table 1: Intermediate Drive Shaft Assembly
Table 2: Rear Output Shaft Housing Assembly
Table 3: Output Flange Installation
Table 4: Right Transfer Case, Input Shaft, and Output Drive Shaft Installation
Table 5: Rear Output Shaft Housing Installation
Table 6: Intermediate Drive Shaft Installation
Table 7: Housing O-Ring, Vent Assembly, Drain and Fill Plug Installation

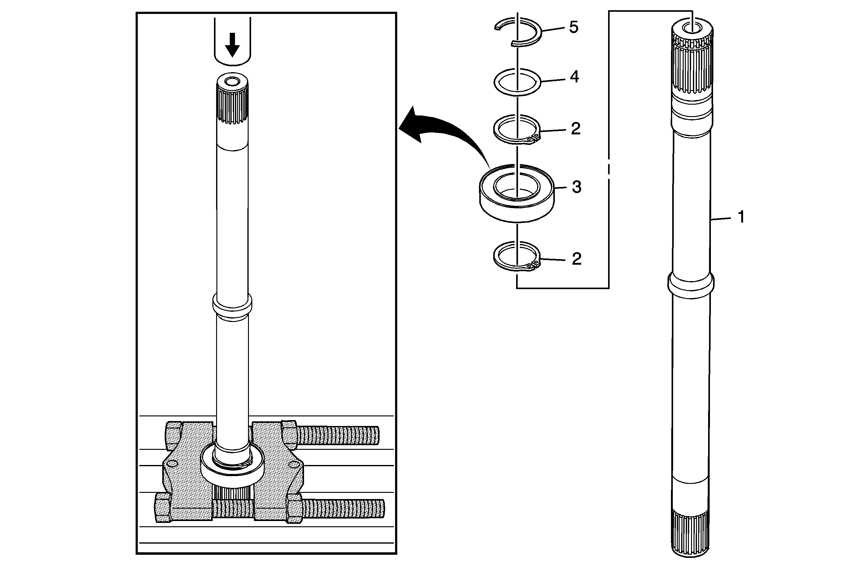
Intermediate Drive Shaft Assembly


Object Number: 1708858  Size: MF

Intermediate Drive Shaft Assembly

Callout

Component Name

1

Front Wheel Drive Intermediate Shaft

2

Front Wheel Drive Intermediate Shaft Bearing Retainer (Qty: 2)

3

Front Wheel Drive Intermediate Shaft Bearing Assembly

Tip
Use a press, with the J 22912-B flat side up, in order to install the bearing assembly.

Special Tools

J 22912-B Rear Pinion and Axle Bearing Remover

4

O-Ring

5

Half Shaft Retainer

Rear Output Shaft Housing Assembly


Object Number: 1708644  Size: MF

Rear Output Shaft Housing Assembly

Callout

Component Name

1

Transfer Case Rear Output Shaft

2

Transfer Case Rear Output Shaft Bearing Spacer

3

Transfer Case Rear Output Shaft Housing

4

Transfer Case Rear Output Shaft Bearing Assembly

Tip
Use a press with the J 5590 to install the housing and bearings to the output shaft.

Special Tools

J 5590 Pinion Bearing Race Installer - Rear

5

Transfer Case Rear Output Shaft Seal

Tip
Use a press with the DT-48075 to install the seal.

Special Tools

DT-48075 Output Shaft Seal Installer

Output Flange Installation


Object Number: 1719504  Size: MF

Output Flange Installation

Callout

Component Name

1

Transfer Case Rear Output Shaft Oil Slinger

Tip
Use a press with the DT-48077 in order to install the slinger.

Special Tools

DT-48077 Output Shaft Slinger Installer

2

Transfer Case Rear Output Shaft Flange

Tip
Use a press with the J 5590 to install the flange.

Special Tools

J 5590 Pinion Bearing Race Installer - Rear

3

Transfer Case Rear Output Shaft Nut

Notice: Refer to Fastener Notice in the Preface section.

Tip
Use the J-08614-A and a 30 mm socket or the J 29873 .

Tighten
235 N·m (173 lb ft)

Special Tools

    • J-08614-A Pinion Flange Holder and Remover
    • J 29873 Injector Nozzle Socket 30 mm

Right Transfer Case, Input Shaft, and Output Drive Shaft Installation


Object Number: 1843292  Size: MF

Right Transfer Case, Input Shaft, and Output Drive Shaft Installation

Callout

Component Name

1

Transfer Case Half Locating Pin (Qty: 2)

2

Transfer Case Rear Output Drive Shaft

3

Transfer Case Input Shaft

Tip
Install the input and output shafts as a set with the splines engaged.

4

Transfer Case Seal

5

Transfer Case - Right

6

Transfer Case Half Bolt (Qty: 11)

Notice: Refer to Fastener Notice in the Preface section.

Tighten
29 N·m (21 lb ft)

Rear Output Shaft Housing Installation


Object Number: 1843294  Size: MF

Rear Output Shaft Housing Installation

Callout

Component Name

1

Transfer Case Rear Output Shaft Housing Seal O-Ring

2

Transfer Case Rear Output Shim

3

Transfer Case Rear Output Shaft Housing

Notice: Do not use a drive hammer when the splines are not engaged. Use of a drive hammer when the splines are not engaged will damage the output shaft teeth.

Tip

    • Use of a heat gun allows easy alignment of the bolt holes to the housing during assembly.
    • Rotate the pinion gear during assembly to engage the gear teeth.

Special Tools

J 25070 Heat Gun - 500-750F

4

Transfer Case Rear Output Shaft Housing Bolt (Qty: 6)

Notice: Refer to Fastener Notice in the Preface section.

Tighten
29 N·m (21 lb ft)

Intermediate Drive Shaft Installation


Object Number: 1843295  Size: MF

Intermediate Drive Shaft Installation

Callout

Component Name

1

Front Wheel Drive Intermediate Shaft

Notice: DT-48094 must be used over the intermediate shaft prior to installation in order to protect the intermediate shaft seal from damage.

Special Tools

    • DT-48094 Inner Drive Shaft Seal Protector
    • J 25070 Heat Gun - 500-750F

2

Front Wheel Drive Retainer

3

Front Wheel Drive Shaft Shield

Tip
The shield is no longer required on assembly. Refer to Transfer Case Description and Operation.

Housing O-Ring, Vent Assembly, Drain and Fill Plug Installation


Object Number: 1843296  Size: MF

Housing O-Ring, Vent Assembly, Drain and Fill Plug Installation

Callout

Component Name

1

Transfer Case O-Ring Seal

2

Transfer Case Vent Assembly

Tip
Replace the vent if damaged or blocked.

3

Drain Plug

Notice: Refer to Fastener Notice in the Preface section.

Tighten
39 N·m (29 lb ft)

4

Fill Plug

Tighten
39 N·m (29 lb ft)

5

Transfer Case Heat Shield

Tip
The heat shield is not required on assembly. Refer to Transfer Case Description and Operation.

6

Transfer Case Heat Shield Bolt (Qty: 3)

Tighten
11 N·m (97 lb in)

Tip
The heat shield is not required on assembly. Refer to Transfer Case Description and Operation.