GM Service Manual Online
For 1990-2009 cars only

Tools Required

J 39400-A Halogen Leak Detector

Removal Procedure

  1. Recover the refrigerant. Refer to Refrigerant Recovery and Recharging .
  2. Remove the air cleaner outlet duct. Refer to Air Cleaner Outlet Duct Replacement .

  3. Object Number: 1861635  Size: SH
  4. Remove the suction hose bracket nut (1) and remove bracket.
  5. Remove the suction hose/pipe bolt from the A/C compressor.
  6. Disconnect the suction hose/pipe from the A/C compressor.

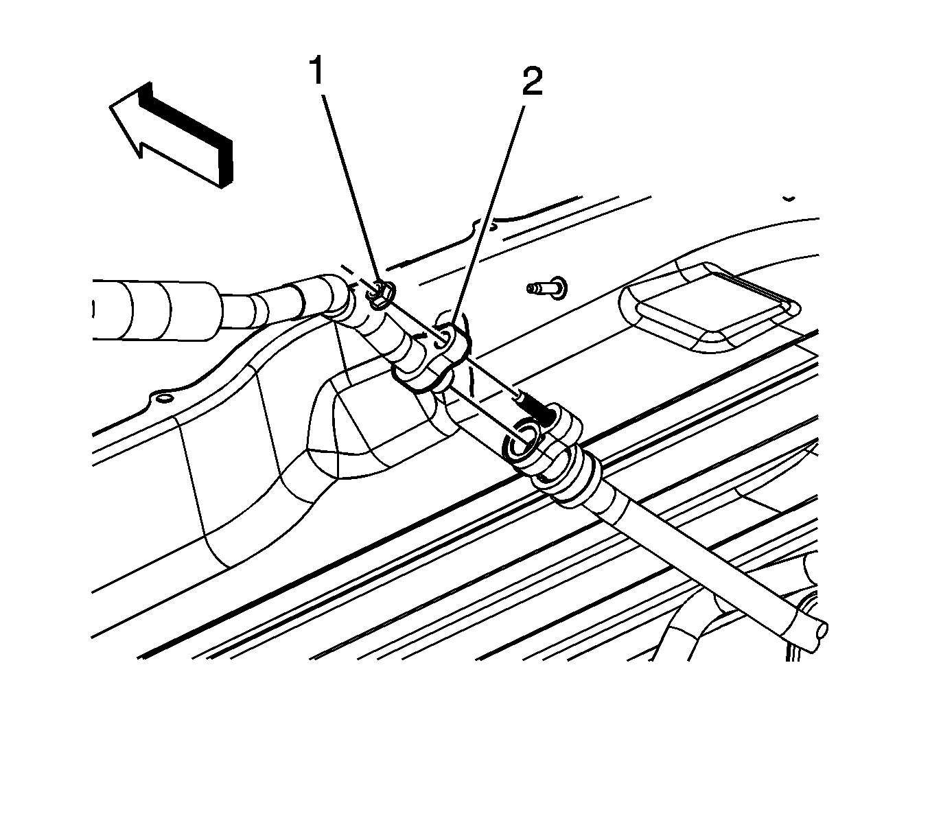
  7. Object Number: 1861636  Size: SH
  8. Remove the suction hose/pipe nut (1) from TXV tube.
  9. Disconnect the suction hose/pipe from the TXV tube (2).
  10. Remove the suction hose/pipe.
  11. Remove and discard the suction hose/pipe O-rings.

Installation Procedure


    Object Number: 1861636  Size: SH
  1. Install new O-rings to the suction hose/pipe. Refer to O-Ring Replacement .
  2. Connect the suction hose/pipe to the TXV tube.
  3. Notice: Refer to Fastener Notice in the Preface section.

  4. Install the suction hose/pipe to TXV nut (1).
  5. Tighten
    Tighten the bolt to 9 N·m (80 lb in).


    Object Number: 1861635  Size: SH
  6. Connect the suction hose/pipe to the A/C compressor.
  7. Install the suction hose/pipe bolt to the A/C compressor.
  8. Tighten
    Tighten the bolt to 9 N·m (80 lb in).

  9. Install the suction hose/pipe bracket and secure with nut (1).
  10. Install the air cleaner outlet duct. Refer to Air Cleaner Outlet Duct Replacement .
  11. Evacuate and recharge the refrigerant system. Refer to Refrigerant Recovery and Recharging .
  12. Leak test the fittings of the component using J 39400-A .