GM Service Manual Online
For 1990-2009 cars only

Object Number: 1865080  Size: MF

Callout

Component Name

Preliminary Procedure

  1. Recover the refrigerant. Refer to Refrigerant Recovery and Recharging .
  2. Remove the front bumper fascia. Refer to Front Bumper Fascia Replacement .
  3. Raise and support the vehicle. Refer to Lifting and Jacking the Vehicle .

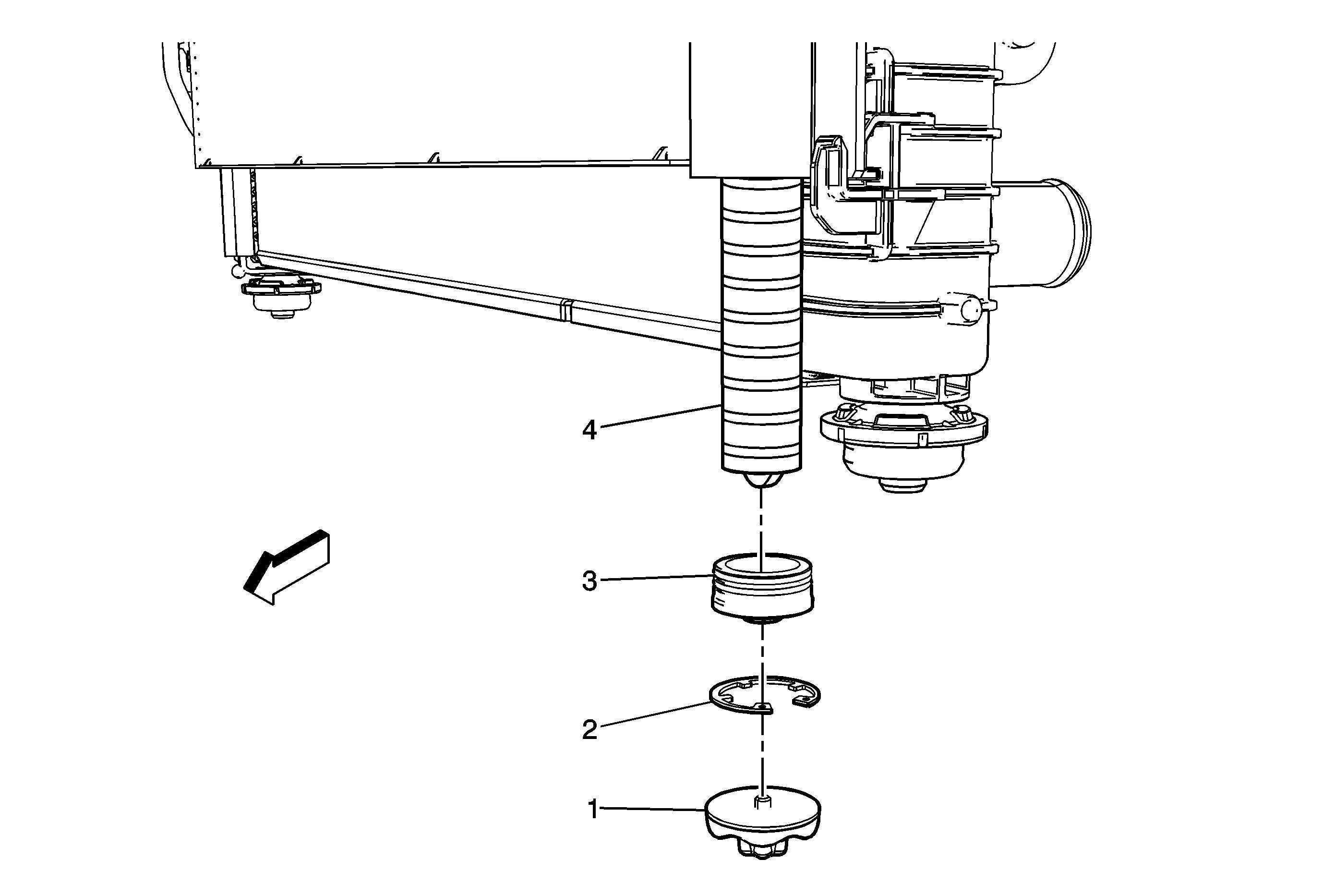
1

Desiccant Cartridge Cap

2

Desiccant Cartridge Snap Ring

Procedure

Lightly tap inward on Desiccant Cartridge plug to gain clearance for snap ring removal.

3

Desiccant Cartridge Plug

Procedure

Insert a 5 mm screw into plug and pull outward for removal.

4

Desiccant Cartridge

Procedure

Use of pliers or vice grips may aid in cartridge removal.