GM Service Manual Online
For 1990-2009 cars only
Connector 1: X100 Body Harness to Engine Harness
Connector 2: X101 Prewired Engine Harness to Fuel Injector Harness (LY7)
Connector 3: X103 Engine Harness to Prewired Engine Harness (LY7)
Connector 4: X107 Left Turn Signal Harness to Forward Lamp Harness (W49/WDA)
Connector 5: X108 Right Turn Signal Harness to Forward Lamp Harness (W49/WDA)
Connector 6: X109 Instrument Panel Harness to Engine Harness (XA7)
Connector 7: X111 Engine Harness to Instrument Panel Harness
Connector 8: X115 Engine Harness to Forward Lamp Harness (TSH)
Connector 9: X120 Body Harness to Forward Lamp Harness
Connector 10: X124 Battery Negative Cable Harness to Body Harness
Connector 11: X125 Battery Positive Cable Harness to Body Harness (UE1)
Connector 12: X150 Right Headlamp Harness to Forward Lamp Harness (Z88+TVD)
Connector 13: X150 Forward Lamp Harness to Right Headlamp Harness (WDA+TVD)
Connector 14: X150 Forward Lamp Harness to Right Headlamp Harness (WDA-TVD)
Connector 15: X150 Forward Lamp Harness to Right Headlamp Harness (Z88-TVD)
Connector 16: X151 Forward Lamp Harness to Left Headlamp Harness (WDA+TVD)
Connector 17: X151 Left Headlamp Harness to Forward Lamp Harness (Z88+TVD)
Connector 18: X151 Forward Lamp Harness to Left Headlamp Harness (WDA-TVD)
Connector 19: X151 Forward Lamp Harness to Left Headlamp Harness (Z88-TVD)
Connector 20: X170 Instrument Panel Harness to Subwoofer Speaker Harness (UQG)
Connector 21: X200 Body Harness to Instrument Panel Harness
Connector 22: X201 Instrument Panel Harness to Steering Column Harness
Connector 23: X202 Body Harness to Instrument Panel Harness
Connector 24: X203 Body Harness to Instrument Panel Harness
Connector 25: X205 Body Harness to Instrument Panel Harness (N38)
Connector 26: X209 Body Harness to Trailer Brake Harness (V92)
Connector 27: X211 Body Harness to Steering Column Harness
Connector 28: X214 Instrument Panel Harness to HVAC Harness
Connector 29: X216 Instrument Panel Harness to Headliner Harness (U42)
Connector 30: X240 Instrument Panel Harness to Floor Console Harness
Connector 31: X252 Body Harness to Instrument Panel Harness
Connector 32: X305 Fuel Tank Harness to Body Harness
Connector 33: X314 Body Harness to Passenger Seat Harness
Connector 34: X315 Body Harness to Driver Seat Harness
Connector 35: X320 Body Harness to Headliner Harness (DNP/UD7/UE1)
Connector 36: X322 Body Harness to Headliner Harness
Connector 37: X340 Floor Console Harness to Body Harness
Connector 38: X341 Floor Console Harness to A/T Shifter Harness
Connector 39: X343 Overhead Console Harness to Headliner Harness
Connector 40: X351 Rear HVAC Harness to Body Harness
Connector 41: X380 Body Harness to Auxiliary Power Outlet - Rear Console Harness (DK1)
Connector 42: X398 Headliner Harness to Sunroof Harness (C3U)
Connector 43: X405 Body Harness to Rear Chassis Harness
Connector 44: X440 Body Harness to Rear Bumper Harness (UD7)
Connector 45: X442 Body Harness to Trailer Harness
Connector 46: X450 Body Harness to Right Tail Lamp Harness (W49)
Connector 47: X450 Body Harness to Right Tail Lamp Harness (WDA)
Connector 48: X451 Body Harness to Left Tail Lamp Harness (W49)
Connector 49: X451 Body Harness to Left Tail Lamp Harness (WDA)
Connector 50: X500 Body Harness to Driver Door Harness
Connector 51: X553 Driver Door Harness to Driver Door Trim Panel Harness
Connector 52: X555 Driver Door Harness to Driver Door Trim Panel Harness
Connector 53: X600 Body Harness to Passenger Door Harness
Connector 54: X664 Passenger Door Harness to Passenger Door Trim Panel Harness
Connector 55: X666 Passenger Door Harness to Passenger Door Trim Panel Harness
Connector 56: X700 Body Harness to Left Rear Door Harness
Connector 57: X800 Body Harness to Right Rear Door Harness
Connector 58: X901 Body Harness to Liftgate Harness
Connector 59: X902 Body Harness to Liftgate Harness (UVC)
Connector 60: X903 Body Harness to Liftgate Harness
Connector 61: X911 Liftgate Harness to Center High Mounted Stop Lamp (CHMSL) Harness
Connector 62: X920 Liftgate Harness to Liftgate Applique Harness (W49/Z88)
Connector 63: X931 Liftgate Harness to Liftgate Applique Harness (W49/Z88)
Connector 64: X933 License Lamp Harness to Liftgate Harness (WDA/Z88)
Connector 65: X933 License Lamp Harness to Liftgate Harness (W49)
Connector 66: X940 Liftgate Harness to Liftgate Trim Panel Harness

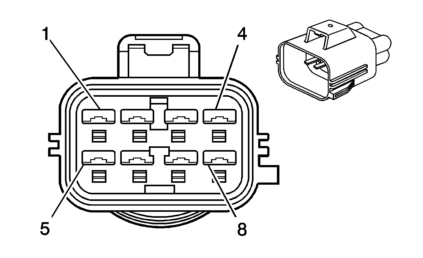
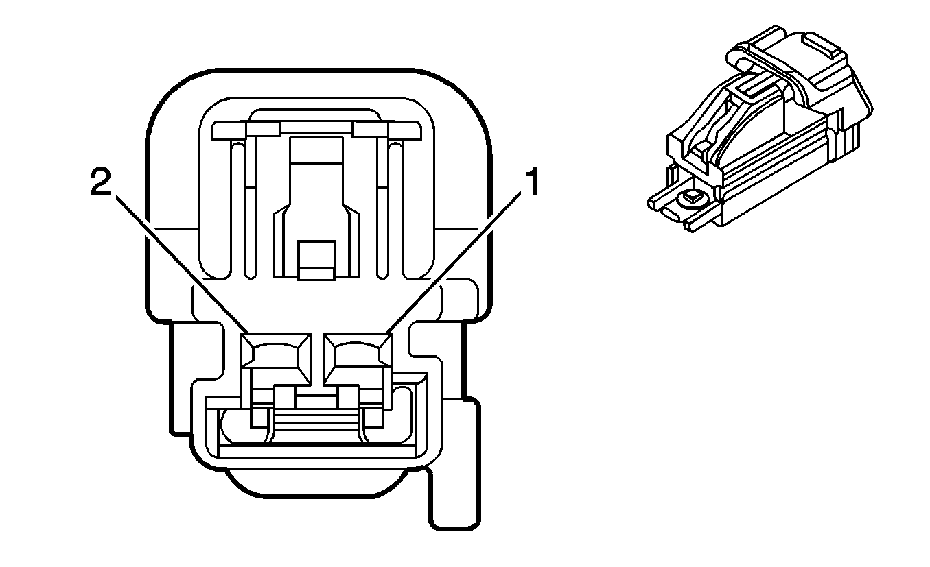
X100 Body Harness to Engine Harness


Object Number: 888600  Size: CH

Object Number: 823284  Size: CH

Connector Part Information

  • OEM: 7283-5545-30
  • Service: See Catalog
  • Description: 12-Way F YESC/USCAR Class III Series (BK)

Connector Part Information

  • OEM: 7282-5545-30
  • Service: See Catalog
  • Description: 12-Way M 1.5 Series Weather Pack (BK)

Terminal Part Information

  • Terminal/Tray: 7116-4102-08/9
  • Core/Insulation Crimp: E/1
  • Release Tool/Test Probe: 12094430/J-35616-2A (GY)

Terminal Part Information

  • Terminal/Tray: 7114-4102-08/9
  • Core/Insulation Crimp: E/1
  • Release Tool/Test Probe: 12094430/J-35616-3 (GY)

X100 Body Harness to Engine Harness

Pin

Wire

Circuit No.

Function

Pin

Wire

Circuit No.

Function

1

0.35 PU

1589

Fuel Level Sensor Signal

1

0.5 PU

1589

Fuel Level Sensor Signal

2

0.35 TN

452

Low Reference

2

0.5 TN

452

Low Reference

3

0.5 BN

882

Right Rear Wheel Speed Sensor Signal

3

0.5 BN

882

Right Rear Wheel Speed Sensor Signal

4

0.5 WH

883

Low Reference

4

0.5 WH

883

Low Reference

5

0.5 TN

884

Left Rear Wheel Speed Sensor Signal

5

0.5 TN

884

Left Rear Wheel Speed Sensor Signal

6

0.5 OG

885

Low Reference

6

0.5 OG

885

Low Reference

7

0.35 D-GN

890

Fuel Tank Pressure Sensor Signal

7

0.5 D-GN

890

Fuel Tank Pressure Sensor Signal

8

0.35 GY

2709

5-Volt Reference

8

0.5 GY

2709

5-Volt Reference

9

0.5 L-BU

2088

Low Reference

9

0.5 L-BU

2088

Low Reference

10

0.5 D-GN

2087

5-Volt Reference

10

0.5 D-GN

2087

5-Volt Reference

11-12

--

--

Not Used

11-12

--

--

Not Used

X101 Prewired Engine Harness to Fuel Injector Harness (LY7)


Object Number: 646400  Size: CH

Object Number: 684916  Size: CH

Connector Part Information

  • OEM: 15326835
  • Service: 88986255
  • Description: 8-Way F GT 150 Series, Sealed (BK)

Connector Part Information

  • OEM: 15326840
  • Service: See Catalog
  • Description: 8-Way M GT 150 Sealed 4.0 (BK)

Terminal Part Information

  • Pins: A-H
  • Terminal/Tray: 12191819/8
  • Core/Insulation Crimp: Pins: A, E : 2/A
  • Core/Insulation Crimp: Pins: B-D, F-H : E/A
  • Release Tool/Test Probe: 15315247/J-35616-2A (GY)

Terminal Part Information

  • Terminal/Tray: See Terminal Repair Kit
  • Core/Insulation Crimp: See Terminal Repair Kit
  • Release Tool/Test Probe: See Terminal Repair Kit

X101 Prewired Engine Harness to Fuel Injector Harness (LY7)

Pin

Wire

Circuit No.

Function

Pin

Wire

Circuit No.

Function

A

1 PK/BK

5291

Ignition II/III Voltage

A

1 PK/BK

5291

Ignition II/III Voltage

B

0.5 BN

6415

Fuel Injector 1 Control

B

0.5 TN

1744

Fuel Injector 1 Control

C

0.5 D-GN

6417

Fuel Injector 3 Control

C

0.5 PK/BK

1746

Fuel Injector 3 Control

D

0.5 L-BU

6419

Fuel Injector 5 Control

D

0.5 TN/WH

845

Fuel Injector 5 Control

E

1 PK/BK

5292

Ignition II/III Voltage

E

1 PK/BK

5292

Ignition II/III Voltage

F

0.5 D-BU

6416

Fuel Injector 2 Control

F

0.5 L-GN/BK

1745

Fuel Injector 2 Control

G

0.5 GY

6418

Fuel Injector 4 Control

G

0.5 L-BU

844

Fuel Injector 4 Control

H

0.5 OG

6420

Fuel Injector 6 Control

H

0.5 YE/BK

846

Fuel Injector 6 Control

X103 Engine Harness to Prewired Engine Harness (LY7)


Object Number: 847252  Size: CH

Object Number: 847270  Size: CH

Connector Part Information

  • OEM: 15326666
  • Service: 15326666
  • Description: 16-Way F GT 280 Sealed 5.8 (BK)

Connector Part Information

  • OEM: 15326667
  • Service: See Catalog
  • Description: 16-Way M GT 150 Sealed 5.8 (BK)

Terminal Part Information

  • Pins: A-F, H, J-N, P, R-S
  • Terminal/Tray: 15304719/19
  • Core/Insulation Crimp: Pins: A, D-F, H : 2/5
  • Core/Insulation Crimp: Pins: B-C, E, J-N, P, R-S : E/5
  • Release Tool/Test Probe: 15315247/J-35616-4A (PU)
  • Pin: G
  • Terminal/Tray: 15304720/19
  • Core/Insulation Crimp: 4/5
  • Release Tool/Test Probe: 15315247/J-35616-4A (PU)

Terminal Part Information

  • Pins: A-F, H, J-N, P, R-S
  • Terminal/Tray: 15304731/19
  • Core/Insulation Crimp: Pins: B-C, E, J-N, P, R-S : E/5
  • Core/Insulation Crimp: Pins: D, F, H : 2/5
  • Core/Insulation Crimp: Pin: A : C/5
  • Release Tool/Test Probe: 15315247/J-35616-5 (PU)
  • Pin: G
  • Terminal/Tray: 15304732/8
  • Core/Insulation Crimp: A/5
  • Release Tool/Test Probe: 15315247/J-35616-5 (PU)

X103 Engine Harness to Prewired Engine Harness (LY7)

Pin

Wire

Circuit No.

Function

Pin

Wire

Circuit No.

Function

A

0.8 PK/BK

5290

Ignition II/III Voltage

A

0.8 PK/BK

5290

Ignition II/III Voltage

B

0.5 D-GN

59

A/C Compressor Clutch Supply Voltage

B

0.5 D-GN

59

A/C Compressor Clutch Supply Voltage

C

0.5 PK/BK

5294

Ignition II/III Voltage

C

0.5 PK/BK

5294

Ignition II/III Voltage

D

1 BK/WH

451

Ground

D

1 BK/WH

451

Ground

E

0.5 OG/BK

1786

Ignition Lock Cylinder Control Actuator Signal

E

0.5 OG/BK

1786

Ignition Lock Cylinder Control Actuator Signal

F

1 PK/BK

5291

Ignition II/III Voltage

F

1 PK/BK

5291

Ignition II/III Voltage

G

3 PU

6

Starter Solenoid Crank Voltage

G

3 PU

6

Starter Solenoid Crank Voltage

H

1 PK/BK

5292

Ignition II/III Voltage

H

1 PK/BK

5292

Ignition II/III Voltage

J

0.5 TN/BK

2500

High Speed GMLAN Serial Data Bus+

J

0.5 TN/BK

2500

High Speed GMLAN Serial Data Bus+

K

0.5 TN

2501

High Speed GMLAN Serial Data Bus-

K

0.5 TN

2501

High Speed GMLAN Serial Data Bus-

L

0.5 PK/BK

5293

Ignition II/III Voltage

L

0.5 PK/BK

5293

Ignition II/III Voltage

M

0.5 D-GN

335

Low Speed Cooling Fan Relay Control

M

0.5 D-GN

335

Low Speed Cooling Fan Relay Control

N

0.5 VT/WH

7358

Low Reference

N

0.5 VT/WH

7358

Low Reference

P

0.5 YE/BN

7359

Oxygen Sensor Bank 2 Sensor 2 Signal

P

0.5 YE/BN

7359

Oxygen Sensor Bank 2 Sensor 2 Signal

R

0.5 PU

6427

Oxygen Sensor Heated D Signal

R

0.5 PU

6427

Oxygen Sensor Heated D Signal

S

0.5 WH

320

Engine Mount Solenoid Control (W49)

S

0.5 WH

320

Engine Mount Solenoid Control (W49)

X107 Left Turn Signal Harness to Forward Lamp Harness (W49/WDA)


Object Number: 1856790  Size: CH

Object Number: 1856784  Size: CH

Connector Part Information

  • OEM: 7283-5541-30
  • Service: See Catalog
  • Description: 3-Way F1.5 Series, Sealed (BK)

Connector Part Information

  • OEM: 7282-5541-30
  • Service: See Catalog
  • Description: 3-Way M 1.5 Series, Sealed (BK)

Terminal Part Information

  • Terminal/Tray: See Terminal Repair Kit
  • Core/Insulation Crimp: See Terminal Repair Kit
  • Release Tool/Test Probe: See Terminal Repair Kit

Terminal Part Information

  • Pin: 3
  • Terminal/Tray: 7114-4102-08/9
  • Core/Insulation Crimp: E/1
  • Release Tool/Test Probe: 12094430/J-35616-3 (GY)
  • Pins: 1, 2
  • Terminal/Tray: 7114-4103-08/9
  • Core/Insulation Crimp: E/1
  • Release Tool/Test Probe: 12094430/J-35616-3 (GY)

X107 Left Turn Signal Harness to Forward Lamp Harness (W49/WDA)

Pin

Wire

Circuit No.

Function

Pin

Wire

Circuit No.

Function

1

1 BK

1350

Ground

1

1 BK

1350

Ground

2

1 L-BU/WH

1314

Left Turn Signal Indicator Lamp Supply Voltage

2

1 L-BU/WH

1314

Left Turn Signal Indicator Lamp Supply Voltage

3

0.5 PU

34

Front Fog Lamp Supply Voltage (T96)

3

0.5 PU

34

Front Fog Lamp Supply Voltage (T96)

X108 Right Turn Signal Harness to Forward Lamp Harness (W49/WDA)


Object Number: 1856790  Size: CH

Object Number: 1856784  Size: CH

Connector Part Information

  • OEM: 7283-5541-30
  • Service: See Catalog
  • Description: 3-Way F 1.5 YESC Series, Sealed (BK)

Connector Part Information

  • OEM: 7282-5541-30
  • Service: See Catalog
  • Description: 3-Way M 1.5 Series, Sealed (BK)

Terminal Part Information

  • Pins: 1, 2
  • Terminal/Tray: 7116-4103-08/9
  • Core/Insulation Crimp: E/1
  • Release Tool/Test Probe: 12094430/J-35616-2A (GY)
  • Pin: 3
  • Terminal/Tray: 7116-4102-08/9
  • Core/Insulation Crimp: E/1
  • Release Tool/Test Probe: 12094430/J-35616-2A (GY)

Terminal Part Information

  • Pins: 1, 2
  • Terminal/Tray: 7114-4103-08/9
  • Core/Insulation Crimp: E/1
  • Release Tool/Test Probe: 12094430/J-35616-3 (GY)
  • Pin: 3
  • Terminal/Tray: 7114-4102-08/9
  • Core/Insulation Crimp: E/1
  • Release Tool/Test Probe: 12094430/J-35616-3 (GY)

X108 Right Turn Signal Harness to Forward Lamp Harness (W49/WDA)

Pin

Wire

Circuit No.

Function

Pin

Wire

Circuit No.

Function

1

1 BK

1350

Ground

1

1 BK

1250

Ground

2

1 D-BU/WH

1315

Right Turn Signal Indicator Lamp Supply Voltage

2

1 D-BU/WH

1315

Right Turn Signal Indicator Lamp Supply Voltage

3

0.5 PU

34

Front Fog Lamp Supply Voltage (T96)

3

0.5 PU

34

Front Fog Lamp Supply Voltage (T96)

X109 Instrument Panel Harness to Engine Harness (XA7)


Object Number: 1856772  Size: CH

Object Number: 1856773  Size: CH

Connector Part Information

  • OEM: 7123-4210-30
  • Service: See Catalog
  • Description: 1-Way F 375 Series, Sealed (BK)

Connector Part Information

  • OEM: 7222-4210-30
  • Service: See Catalog
  • Description: 1-Way M 058Y/375 PBT, Sealed (BK)

Terminal Part Information

  • Terminal/Tray: 7116-3250/10
  • Core/Insulation Crimp: G/3
  • Release Tool/Test Probe: 12094430/J-35616-22 (RD)

Terminal Part Information

  • Terminal/Tray: 7114-3250/14
  • Core/Insulation Crimp: G/3
  • Release Tool/Test Probe: 12094430/J-35616-21 (RD)

X109 Instrument Panel Harness to Engine Harness (XA7)

Pin

Wire

Circuit No.

Function

Pin

Wire

Circuit No.

Function

1

5 RD/WH

1440

Battery Positive Voltage

1

5 RD/WH

1440

Battery Positive Voltage

X111 Engine Harness to Instrument Panel Harness


Object Number: 646383  Size: CH

Object Number: 632345  Size: CH

Connector Part Information

  • OEM: 15326863
  • Service: 15306381
  • Description: 16-Way F GT 150 Sealed 4.0 (BK)

Connector Part Information

  • OEM: 15326868
  • Service: 15306364
  • Description: 16-Way M 150 Series, Sealed (BK)

Terminal Part Information

  • Terminal/Tray: 12191819/8
  • Core/Insulation Crimp: Pins: F-G, M : 2/A
  • Core/Insulation Crimp: Pins: A-E, H, J-L, N, P, R-S : E/A
  • Release Tool/Test Probe: 15315247/J-35616-2A (GY)

Terminal Part Information

  • Terminal/Tray: 15326269/19
  • Core/Insulation Crimp: Pins: F-G, M : E/1
  • Core/Insulation Crimp: Pins: A-E, H, J-L, N, P, R-S : E/4
  • Release Tool/Test Probe: 15315247/J-35616-3 (GY)

X111 Engine Harness to Instrument Panel Harness

Pin

Wire

Circuit No.

Function

Pin

Wire

Circuit No.

Function

A

0.5 D-BU

1161

APP Sensor 1 Signal

A

0.35 D-BU

1161

APP Sensor 1 Signal

B

0.5 L-BU

1162

APP Sensor 2 Signal

B

0.35 L-BU

1162

APP Sensor 2 Signal

C

0.5 WH/BK

1164

5-Volt Reference

C

0.35 WH/BK

1164

5-Volt Reference

D

0.5 BN

1271

Low Reference

D

0.35 BN

1271

Low Reference

E

0.5 PU

1272

Low Reference

E

0.35 PU

1272

Low Reference

F

1 PU

92

Windshield Wiper Motor High Speed

F

1 PU

92

Windshield Wiper Motor High Speed

G

1 D-GN

95

Windshield Washer Switch Signal

G

1 D-GN

95

Windshield Washer Switch Signal

H

0.5 TN

1274

5-Volt Reference

H

0.35 TN

1274

5-Volt Reference

J

0.5 TN/BK

2500

High Speed GMLAN Serial Data Bus+

J

0.35 TN/BK

2500

High Speed GMLAN Serial Data Bus+

K

0.5 TN

2501

High Speed GMLAN Serial Data Bus-

K

0.35 TN

2501

High Speed GMLAN Serial Data Bus-

L

0.5 BN/WH

419

MIL Control

L

0.35 BN/WH

419

MIL Control

M

1 BK

1650

Ground

M

1 BK

1650

Ground

N

0.5 TN/WH

6433

CAN Bus High Serial Data

N

0.5 TN/WH

6433

CAN Bus High Serial Data

P

0.5 L-GN/BK

6432

CAN Bus Low Serial Data

P

0.5 L-GN/BK

6432

CAN Bus Low Serial Data

R

0.5 D-GN/WH

817

Vehicle Speed Signal (U3R/UZR)

R

0.5 D-GN/WH

817

Vehicle Speed Signal (U3R/UZR)

S

0.5 L-BU

5986

Communication Enable (TSH)

S

0.35 L-BU

5986

Communication Enable (MH6)

0.5 L-BU

5986

Communication Enable (-TSH)

0.35 L-BU

5986

Communication Enable (MH6)

X115 Engine Harness to Forward Lamp Harness (TSH)


Object Number: 1413042  Size: CH

Object Number: 1413074  Size: CH

Connector Part Information

  • OEM: 7283-5553-30
  • Service: 88988392
  • Description: 6-Way F YESC/USCAR Class III, Sealed (BK)

Connector Part Information

  • OEM: 7282-5553-30
  • Service: 88988399
  • Description: 6-Way M YESC/USCAR Class III, Sealed (BK)

Terminal Part Information

  • Terminal/Tray: 7116-4102-08/9
  • Core/Insulation Crimp: E/1
  • Release Tool/Test Probe: 12094430/J-35616-2A (GY)

Terminal Part Information

  • Terminal/Tray: See Terminal Repair Kit
  • Core/Insulation Crimp: See Terminal Repair Kit
  • Release Tool/Test Probe: See Terminal Repair Kit

X115 Engine Harness to Forward Lamp Harness (TSH)

Pin

Wire

Circuit No.

Function

Pin

Wire

Circuit No.

Function

1

0.5 TN/BK

2500

High Speed GMLAN Serial Data Bus+

1

0.5 TN/BK

2500

High Speed GMLAN Serial Data Bus+

2

0.5 TN

2501

High Speed GMLAN Serial Data Bus-

2

0.5 TN

2501

High Speed GMLAN Serial Data Bus-

3

0.5 TN/BK

2500

High Speed GMLAN Serial Data Bus+

3

0.5 TN/BK

2500

High Speed GMLAN Serial Data Bus+

4

0.5 TN

2501

High Speed GMLAN Serial Data Bus-

4

0.5 TN

2501

High Speed GMLAN Serial Data Bus-

5

0.5 L-BU

5986

Communication Enable

5

0.5 L-BU

5986

Communication Enable

6

0.5 RD/WH

4440

Battery Positive Voltage

6

0.5 RD/WH

4440

Battery Positive Voltage

X120 Body Harness to Forward Lamp Harness


Object Number: 1401778  Size: CH

Object Number: 1856785  Size: CH

Connector Part Information

  • OEM: 7283-5574-10
  • Service: See Catalog
  • Description: 8-Way F 2.8 Series, Sealed (D-GY)

Connector Part Information

  • OEM: 7282-5574-10
  • Service: See Catalog
  • Description: 8-Way M 2.8 Series, Sealed (D-GY)

Terminal Part Information

  • Terminal/Tray: 7116-4150-02/9
  • Core/Insulation Crimp: Pins: 1-6 : E/1
  • Core/Insulation Crimp: Pin: 8 : See Terminal Repair Kit
  • Release Tool/Test Probe: 12094430/J-35616-4A (PU)

Terminal Part Information

  • Terminal/Tray: See Terminal Repair Kit
  • Core/Insulation Crimp: See Terminal Repair Kit
  • Release Tool/Test Probe: See Terminal Repair Kit

X120 Body Harness to Forward Lamp Harness

Pin

Wire

Circuit No.

Function

Pin

Wire

Circuit No.

Function

1

0.35 D-GN

1409

Discriminating Sensor - Right - Signal

1

0.35 D-GN

1409

Discriminating Sensor - Right - Signal

2

0.35 GY

5600

Low Reference

2

0.35 GY

5600

Low Reference

3

0.35 YE

61

Low Reference

3

0.35 YE

61

Low Reference

4

0.35 L-GN/BK

735

Ambient Air Temperature Sensor Signal

4

0.35 L-GN/BK

735

Ambient Air Temperature Sensor Signal

5

0.35 YE

354

Discriminating Sensor - Signal

5

0.35 YE

354

Discriminating Sensor - Signal

6

0.35 TN/OG

5045

Front End Sensor - Signal

6

0.35 TN/OG

5045

Front End Sensor - Signal

7

--

--

Not Used

7

--

--

Not Used

8

3 RD

1342

Battery Positive Voltage (E61)

8

3 RD/BK

1342

Battery Positive Voltage (E61)

X124 Battery Negative Cable Harness to Body Harness


Object Number: 1856792  Size: CH

Object Number: 1853532  Size: CH

Connector Part Information

  • OEM: 7283-6443-40
  • Service: See Catalog
  • Description: 2-Way F 1.5 YESC Series, Unsealed (L-GY)

Connector Part Information

  • OEM: 7282-5530-40
  • Service: See Catalog
  • Description: 2-Way M 1.5 Series, Unsealed (L-GY)

Terminal Part Information

  • Terminal/Tray: 7116-4101-08/9
  • Core/Insulation Crimp: E/A
  • Release Tool/Test Probe: 12094430/J-35616-2A (GY)

Terminal Part Information

  • Terminal/Tray: 7114-4100-08/9
  • Core/Insulation Crimp: E/C
  • Release Tool/Test Probe: 15315247/J-35616-3 (GY)

X124 Battery Negative Cable Harness to Body Harness

Pin

Wire

Circuit No.

Function

Pin

Wire

Circuit No.

Function

1

1 BK

50

Ground

1

0.35 BK

50

Ground

2

--

--

Not Used

2

--

--

Not Used

X125 Battery Positive Cable Harness to Body Harness (UE1)


Object Number: 1856795  Size: CH

Object Number: 1853532  Size: CH

Connector Part Information

  • OEM: 7283-6444-60
  • Service: See Catalog
  • Description: 2-Way F 1.5 YESC Series, Unsealed (GN)

Connector Part Information

  • OEM: 7282-6444-60
  • Service: See Catalog
  • Description: 2-Way M 1.5 Series (GN)

Terminal Part Information

  • Terminal/Tray: 7116-4101-08/9
  • Core/Insulation Crimp: E/A
  • Release Tool/Test Probe: 12094430/J-35616-2A (GY)

Terminal Part Information

  • Terminal/Tray: 7114-4101-08/9
  • Core/Insulation Crimp: C/A
  • Release Tool/Test Probe: 15315247/J-35616-3 (GY)

X125 Battery Positive Cable Harness to Body Harness (UE1)

Pin

Wire

Circuit No.

Function

Pin

Wire

Circuit No.

Function

1

0.8 RD/WH

4640

Battery Positive Voltage

1

1 RD

4640

Battery Positive Voltage

2

--

--

Not Used

2

--

--

Not Used

X150 Right Headlamp Harness to Forward Lamp Harness (Z88+TVD)


Object Number: 1401778  Size: CH

Object Number: 1856785  Size: CH

Connector Part Information

  • OEM: 7283-5574-10
  • Service: 88987869
  • Description: 8-Way F 2.8 Series, Sealed (D-GY)

Connector Part Information

  • OEM: 7282-5574-10
  • Service: See Catalog
  • Description: 8-Way M 2.8 Series, Sealed (D-GY)

Terminal Part Information

  • Terminal/Tray: See Terminal Repair Kit
  • Core/Insulation Crimp: See Terminal Repair Kit
  • Release Tool/Test Probe: See Terminal Repair Kit

Terminal Part Information

  • Pin: 2
  • Terminal/Tray: 7114-4151-02/9
  • Core/Insulation Crimp: C/1
  • Release Tool/Test Probe: 12094430/J-35616-5 (PU)
  • Pins: 1, 3-6
  • Terminal/Tray: 7114-4150-02/9
  • Core/Insulation Crimp: E/1
  • Release Tool/Test Probe: 12094430/J-35616-5 (PU)

X150 Right Headlamp Harness to Forward Lamp Harness (Z88+TVD)

Pin

Wire

Circuit No.

Function

Pin

Wire

Circuit No.

Function

1

1.5 WH

--

Right Headlamp High Beam Supply Voltage

1

0.5 L-GN/BK

311

Right Headlamp High Beam Supply Voltage

2

0.8 RD

--

Right Headlamp Low Beam Supply Voltage

2

1 TN/WH

312

Right Headlamp Low Beam Supply Voltage

3

0.8 YE

--

Right Turn Signal Indicator Lamp Supply Voltage

3

0.5 D-BU/WH

1315

Right Turn Signal Indicator Lamp Supply Voltage

4

0.8 BU

--

Right Park Lamp Supply Voltage

4

0.5 BN/WH

309

Right Park Lamp Supply Voltage

5

0.8 OG

--

Right DRL/Turn Supply Voltage

5

0.5 D-GN

5365

Right DRL/Turn Supply Voltage

6

2 BK

--

Ground

6

0.5 BK

1250

Ground

7-8

--

--

Not Used

7-8

--

--

Not Used

X150 Forward Lamp Harness to Right Headlamp Harness (WDA+TVD)


Object Number: 646372  Size: CH

Object Number: 847234  Size: CH

Connector Part Information

  • OEM: 15326654
  • Service: 88986254
  • Description: 8-Way F GT 280 Sealed 5.8 (BK)

Connector Part Information

  • OEM: 15326655
  • Service: 15306424
  • Description: 8-Way M GT 280 Sealed 5.8 (BK)

Terminal Part Information

  • Pins: A-H
  • Terminal/Tray: 15304719/19
  • Core/Insulation Crimp: Pins: G-H : 2/5
  • Core/Insulation Crimp: Pins: A-F : E/5
  • Release Tool/Test Probe: 15315247/J-35616-4A (PU)

Terminal Part Information

  • Terminal/Tray: See Terminal Repair Kit
  • Core/Insulation Crimp: See Terminal Repair Kit
  • Release Tool/Test Probe: See Terminal Repair Kit

X150 Forward Lamp Harness to Right Headlamp Harness (WDA+TVD)

Pin

Wire

Circuit No.

Function

Pin

Wire

Circuit No.

Function

A

0.5 BK

1250

Ground

A

0.5 BK

--

Ground

B

0.5 BN/WH

309

Right Park Lamp Supply Voltage

B

0.5 PU

--

Right Park Lamp Supply Voltage

C

0.5 BK

1250

Ground

C

0.5 BK

--

Ground

D

0.5 PU

359

DRL Supply Voltage

D

0.5 PU

--

DRL Supply Voltage

E

0.5 L-GN/BK

311

Right Headlamp High Beam Supply Voltage

E

0.5 GN/WH

--

Right Headlamp High Beam Supply Voltage

F

0.5 BK

1250

Ground

F

--

--

Not Used

G

1 TN/WH

312

Right Headlamp Low Beam Supply Voltage

G

0.8 YE

--

Right Headlamp Low Beam Supply Voltage

H

1 BK

1250

Ground

H

0.8 BK

--

Ground

X150 Forward Lamp Harness to Right Headlamp Harness (WDA-TVD)


Object Number: 1664576  Size: CH

Object Number: 872519  Size: CH

Connector Part Information

  • OEM: 15326635
  • Service: 88953154
  • Description: 6-Way F GT 280 Series (BK)

Connector Part Information

  • OEM: 15326640
  • Service: 15326640
  • Description: 6-Way M GT 280 Series (BK)

Terminal Part Information

  • Terminal/Tray: 15304719/19
  • Core/Insulation Crimp: E/5
  • Release Tool/Test Probe: 15315247/J-35616-4A (PU)

Terminal Part Information

  • Terminal/Tray: See Terminal Repair Kit
  • Core/Insulation Crimp: See Terminal Repair Kit
  • Release Tool/Test Probe: See Terminal Repair Kit

X150 Forward Lamp Harness to Right Headlamp Harness (WDA-TVD)

Pin

Wire

Circuit No.

Function

Pin

Wire

Circuit No.

Function

A

0.5 L-GN/BK

311

Right Headlamp High Beam Supply Voltage

A

0.5 GN/WH

--

Right Headlamp High Beam Supply Voltage

B

0.5 TN/WH

312

Right Headlamp Low Beam Supply Voltage

B

0.5 YE

--

Right Headlamp Low Beam Supply Voltage

C

0.5 BK

1250

Ground

C

0.5 BK

--

Ground

D

0.5 BK

1250

Ground

D

0.5 BK

--

Ground

E

0.5 BK

1250

Ground

E

0.5 BK

--

Ground

F

0.5 BN/WH

309

Right Park Lamp Supply Voltage

F

0.5 PU

--

Right Park Lamp Supply Voltage

X150 Forward Lamp Harness to Right Headlamp Harness (Z88-TVD)


Object Number: 1664576  Size: CH

Object Number: 872519  Size: CH

Connector Part Information

  • OEM: 15326635
  • Service: 88953154
  • Description: 6-Way F GT 280 Series (BK)

Connector Part Information

  • OEM: 15326640
  • Service: 15326640
  • Description: 6-Way M GT 280 Series (BK)

Terminal Part Information

  • Terminal/Tray: 15304719/19
  • Core/Insulation Crimp: E/5
  • Release Tool/Test Probe: 15315247/J-35616-4A (PU)

Terminal Part Information

  • Terminal/Tray: See Terminal Repair Kit
  • Core/Insulation Crimp: See Terminal Repair Kit
  • Release Tool/Test Probe: See Terminal Repair Kit

X150 Forward Lamp Harness to Right Headlamp Harness (Z88-TVD)

Pin

Wire

Circuit No.

Function

Pin

Wire

Circuit No.

Function

A

0.5 L-GN/BK

311

Right Headlamp High Beam Supply Voltage

A

1.5 WH

--

Right Headlamp High Beam Supply Voltage

B

0.5 TN/WH

312

Right Headlamp Low Beam Supply Voltage

B

1.5 RD

--

Right Headlamp Low Beam Supply Voltage

C

0.5 BN/WH

309

Right Park Lamp Supply Voltage

C

0.8 BU

--

Right Park Lamp Supply Voltage

D

0.5 D-BU/WH

1315

Right Turn Signal Indicator Lamp Supply Voltage

D

0.8 YE

--

Right Turn Signal Indicator Lamp Supply Voltage

E

0.5 BK

1250

Ground

E

2 BK

--

Ground

F

--

--

Not Used

F

--

--

Not Used

X151 Forward Lamp Harness to Left Headlamp Harness (WDA+TVD)


Object Number: 646372  Size: CH

Object Number: 847234  Size: CH

Connector Part Information

  • OEM: 15326654
  • Service: 88986254
  • Description: 8-Way F GT 280 Sealed 5.8 (BK)

Connector Part Information

  • OEM: 15326655
  • Service: 15306424
  • Description: 8-Way M GT 280 Sealed 5.8 (BK)

Terminal Part Information

  • Pins: A-H
  • Terminal/Tray: 15304719/19
  • Core/Insulation Crimp: Pins: G-H : 2/5
  • Core/Insulation Crimp: Pins: A-F : E/5
  • Release Tool/Test Probe: 15315247/J-35616-4A (PU)

Terminal Part Information

  • Terminal/Tray: See Terminal Repair Kit
  • Core/Insulation Crimp: See Terminal Repair Kit
  • Release Tool/Test Probe: See Terminal Repair Kit

X151 Forward Lamp Harness to Left Headlamp Harness (WDA+TVD)

Pin

Wire

Circuit No.

Function

Pin

Wire

Circuit No.

Function

A

0.5 BK

1350

Ground

A

0.5 BK

--

Ground

B

0.5 PU

709

Left Park Lamp Supply Voltage

B

0.5 PU

--

Left Park Lamp Supply Voltage

C

0.5 BK

1350

Ground

C

0.5 BK

--

Ground

D

0.5 PU

359

DRL Supply Voltage

D

0.5 PU

--

DRL Supply Voltage

E

0.5 D-GN/WH

711

Left Headlamp High Beam Supply Voltage

E

0.5 GN/WH

--

Left Headlamp High Beam Supply Voltage

F

0.5 BK

1350

Ground

F

--

--

Not Used

G

1 YE

712

Left Headlamp Low Beam Supply Voltage

G

0.8 YE

--

Left Headlamp Low Beam Supply Voltage

H

1 BK

1350

Ground

H

0.8 BK

--

Ground

X151 Left Headlamp Harness to Forward Lamp Harness (Z88+TVD)


Object Number: 1401778  Size: CH

Object Number: 1856785  Size: CH

Connector Part Information

  • OEM: 7283-5574-10
  • Service: 88987869
  • Description: 8-Way F 2.8 Series, Sealed (D-GY)

Connector Part Information

  • OEM: 7282-5574-10
  • Service: See Catalog
  • Description: 8-Way M 2.8 Series, Sealed (D-GY)

Terminal Part Information

  • Terminal/Tray: See Terminal Repair Kit
  • Core/Insulation Crimp: See Terminal Repair Kit
  • Release Tool/Test Probe: See Terminal Repair Kit

Terminal Part Information

  • Pin: 2
  • Terminal/Tray: 7114-4151-02/9
  • Core/Insulation Crimp: C/1
  • Release Tool/Test Probe: 12094430/J-35616-5 (PU)
  • Pins: 1-6
  • Terminal/Tray: 7114-4150-02/9
  • Core/Insulation Crimp: E/1
  • Release Tool/Test Probe: 12094430/J-35616-5 (PU)
  • Pin: 8
  • Terminal/Tray: See Terminal Repair Kit
  • Core/Insulation Crimp: See Terminal Repair Kit
  • Release Tool/Test Probe: See Terminal Repair Kit

X151 Left Headlamp Harness to Forward Lamp Harness (Z88+TVD)

Pin

Wire

Circuit No.

Function

Pin

Wire

Circuit No.

Function

1

1.5 WH

--

Left Headlamp High Beam Supply Voltage

1

0.5 D-GN/WH

711

Left Headlamp High Beam Supply Voltage

2

0.8 RD

--

Left Headlamp Low Beam Supply Voltage

2

1 YE

712

Left Headlamp Low Beam Supply Voltage

3

0.8 YE

--

Left Turn Signal Indicator Lamp Supply Voltage

3

0.5 L-BU/WH

1314

Left Turn Signal Indicator Lamp Supply Voltage

4

0.8 BU

--

Left Park Lamp Supply Voltage

4

0.5 PU

709

Left Park Lamp Supply Voltage

5

0.8 OG

--

Left DRL/Turn Supply Voltage

5

0.5 D-BU

5364

Left DRL/Turn Supply Voltage

6

2 BK

--

Ground

6

0.5 BK

1350

Ground

7-8

--

--

Not Used

7-8

--

--

Not Used

X151 Forward Lamp Harness to Left Headlamp Harness (WDA-TVD)


Object Number: 1664576  Size: CH

Object Number: 872519  Size: CH

Connector Part Information

  • OEM: 15326635
  • Service: 88953154
  • Description: 6-Way F GT 280 Series (BK)

Connector Part Information

  • OEM: 15326640
  • Service: 15326640
  • Description: 6-Way M GT 280 Series (BK)

Terminal Part Information

  • Terminal/Tray: 15304719/19
  • Core/Insulation Crimp: E/5
  • Release Tool/Test Probe: 15315247/J-35616-4A (PU)

Terminal Part Information

  • Terminal/Tray: See Terminal Repair Kit
  • Core/Insulation Crimp: See Terminal Repair Kit
  • Release Tool/Test Probe: See Terminal Repair Kit

X151 Forward Lamp Harness to Left Headlamp Harness (WDA-TVD)

Pin

Wire

Circuit No.

Function

Pin

Wire

Circuit No.

Function

A

0.5 D-GN/WH

711

Left Headlamp High Beam Supply Voltage

A

0.5 GN/WH

--

Left Headlamp High Beam Supply Voltage

B

0.5 YE

712

Left Headlamp Low Beam Supply Voltage

B

0.5 YE

--

Left Headlamp Low Beam Supply Voltage

C

0.5 BK

1350

Ground

C

0.5 BK

--

Ground

D

0.5 BK

1350

Ground

D

0.5 BK

--

Ground

E

0.5 BK

1350

Ground

E

0.5 BK

--

Ground

F

0.5 PU

709

Left Park Lamp Supply Voltage

F

0.5 PU

--

Left Park Lamp Supply Voltage

X151 Forward Lamp Harness to Left Headlamp Harness (Z88-TVD)


Object Number: 1664576  Size: CH

Object Number: 872519  Size: CH

Connector Part Information

  • OEM: 15326635
  • Service: 88953154
  • Description: 6-Way F GT 280 Series (BK)

Connector Part Information

  • OEM: 15326640
  • Service: 15326640
  • Description: 6-Way M GT 280 Series (BK)

Terminal Part Information

  • Pins: A-E
  • Terminal/Tray: 15304719/19
  • Core/Insulation Crimp: Pin: B : 2/5
  • Core/Insulation Crimp: Pins: A, C-E : E/5
  • Release Tool/Test Probe: 15315247/J-35616-4A (PU)

Terminal Part Information

  • Terminal/Tray: See Terminal Repair Kit
  • Core/Insulation Crimp: See Terminal Repair Kit
  • Release Tool/Test Probe: See Terminal Repair Kit

X151 Forward Lamp Harness to Left Headlamp Harness (Z88-TVD)

Pin

Wire

Circuit No.

Function

Pin

Wire

Circuit No.

Function

A

0.5 D-GN/WH

711

Left Headlamp High Beam Supply Voltage

A

1.5 WH

--

Left Headlamp High Beam Supply Voltage

B

0.8 YE

712

Left Headlamp Low Beam Supply Voltage

B

1.5 RD

--

Left Headlamp Low Beam Supply Voltage

C

0.5 PU

709

Left Park Lamp Supply Voltage

C

0.8 BU

--

Left Park Lamp Supply Voltage

D

0.5 L-BU/WH

1314

Left Turn Signal Indicator Lamp Supply Voltage

D

0.8 YE

--

Left Turn Signal Indicator Lamp Supply Voltage

E

0.5 BK

1350

Ground

E

2 BK

--

Ground

F

--

--

Not Used

F

--

--

Not Used

X170 Instrument Panel Harness to Subwoofer Speaker Harness (UQG)


Object Number: 130637  Size: CH

Object Number: 40399  Size: CH

Connector Part Information

  • OEM: 12064760
  • Service: 12085208
  • Description: 4-Way F Metri-Pack 150 Series (BK)

Connector Part Information

  • OEM: 12064761
  • Service: 12064761
  • Description: 4-Way M Metri-Pack 150 Series (BK)

Terminal Part Information

  • Terminal/Tray: 12064971/5
  • Core/Insulation Crimp: E/C
  • Release Tool/Test Probe: 12094429/J-35616-14 (GN)

Terminal Part Information

  • Terminal/Tray: See Terminal Repair Kit
  • Core/Insulation Crimp: See Terminal Repair Kit
  • Release Tool/Test Probe: See Terminal Repair Kit

X170 Instrument Panel Harness to Subwoofer Speaker Harness (UQG)

Pin

Wire

Circuit No.

Function

Pin

Wire

Circuit No.

Function

A

0.5 L-GN/BK

1794

Subwoofer Speaker Output (-)

A

0.5 L-GN/BK

1794

Subwoofer Speaker Output (-)

B

0.5 D-BU/WH

346

Subwoofer Speaker Output (+)

B

0.5 D-BU/WH

346

Subwoofer Speaker Output (+)

C

0.5 L-BU/BK

315

Right Subwoofer Speaker Output (-)

C

0.5 L-BU/BK

315

Right Subwoofer Speaker Output (-)

D

0.5 D-GN

1795

Right Subwoofer Speaker Output (+)

D

0.5 D-GN

1795

Right Subwoofer Speaker Output (+)

X200 Body Harness to Instrument Panel Harness


Object Number: 823290  Size: CH

Object Number: 1283905  Size: CH

Connector Part Information

  • OEM: 7283-6447-40
  • Service: 88956524
  • Description: 14-Way F Hybrid Series (L-GY)

Connector Part Information

  • OEM: 7282-6447-40
  • Service: 88956523
  • Description: 14-Way M Hybrid Series (L-GY)

Terminal Part Information

  • Pins: 2, 6, 9-12
  • Terminal/Tray: 7116-4100-08/9
  • Core/Insulation Crimp: E/C
  • Release Tool/Test Probe: 12094430/J-35616-2A (GY)
  • Pins: 3-5, 9-10, 22
  • Terminal/Tray: 7116-4101-08/9
  • Core/Insulation Crimp: E/A
  • Release Tool/Test Probe: 12094430/J-35616-2A (GY)
  • Pin: 8
  • Terminal/Tray: 7116-4111-02/9
  • Core/Insulation Crimp: E/A
  • Release Tool/Test Probe: 12094430/J-35616-4A (PU)
  • Pins: 1, 7, 14
  • Terminal/Tray: 7116-4112-02/9
  • Core/Insulation Crimp: C/D
  • Release Tool/Test Probe: 12094430/J-35616-35 (VT)

Terminal Part Information

  • Pins: 8, 14
  • Terminal/Tray: 7114-4111-02/9
  • Core/Insulation Crimp: Pin: 8 : E/A
  • Core/Insulation Crimp: Pin: 14 : C/A
  • Release Tool/Test Probe: 12094430/J-35616-5 (PU)
  • Pins: 3-5, 9-10
  • Terminal/Tray: 7114-4101-08/9
  • Core/Insulation Crimp: Pins: 5, 9-10 : E/A
  • Core/Insulation Crimp: Pins: 3-4, 9-10 : C/A
  • Release Tool/Test Probe: 15315247/J-35616-3 (GY)
  • Pins: 2-4, 6, 9-12
  • Terminal/Tray: 7114-4100-08/9
  • Core/Insulation Crimp: E/C
  • Release Tool/Test Probe: 15315247/J-35616-3 (GY)
  • Pins: 1, 7
  • Terminal/Tray: 7114-4112-02/9
  • Core/Insulation Crimp: C/D
  • Release Tool/Test Probe: 12094430/J-35616-5 (PU)

X200 Body Harness to Instrument Panel Harness

Pin

Wire

Circuit No.

Function

Pin

Wire

Circuit No.

Function

1

2 RD/WH

2040

Battery Positive Voltage (UQA/UQG/UQS)

1

2 RD/WH

2040

Battery Positive Voltage (UQA/UQG/UQS)

2

0.35 TN

185

Low Washer Fluid Indicator Control

2

0.35 TN

185

Low Washer Fluid Indicator Control

3

0.8 D-GN

117

Right Front Speaker Output (-)

3

0.8 D-GN

117

Right Front Speaker Output (-) (UQA/UQS)

0.5 D-GN

117

Right Front Speaker Output (-) (UQF)

1 D-GN

117

Right Front Speaker Output (-) (UQG)

4

0.8 L-GN

200

Right Front Speaker Output (+)

4

0.8 L-GN

200

Right Front Speaker Output (+) (UQA/UQS)

0.5 L-GN

200

Right Front Speaker Output (+) (UQF)

1 L-GN

200

Right Front Speaker Output (+) (UQG)

5

1 BK

750

Ground

5

0.8 BK

750

Ground

6

0.5 L-BU

2088

Low Reference

6

0.5 L-BU

2088

Low Reference

7

3 BK/WH

351

Ground (UQG/UQA/UQS)

7

3 BK/WH

351

Ground (UQG/UQA/UQS)

8

0.8 OG

1732

Courtesy Lamps Supply Voltage

8

0.8 OG

1732

Courtesy Lamps Supply Voltage

9

0.8 L-BU

115

Right Rear Speaker Output (-) (UQA/UQS)

9

0.8 L-BU

115

Right Rear Speaker Output (-) (UQA/UQS)

0.5 L-BU

115

Right Rear Speaker Output (-) (UQF)

0.5 L-BU

115

Right Rear Speaker Output (-) (UQF)

1 L-BU

115

Right Rear Speaker Output (-) (UQG)

1 L-BU

115

Right Rear Speaker Output (-) (UQG)

10

0.8 D-BU

46

Right Rear Speaker Output (+) (UQA/UQS)

10

0.8 D-BU

46

Right Rear Speaker Output (+) (UQA/UQS)

0.5 D-BU

46

Right Rear Speaker Output (+) (UQF)

0.5 D-BU

46

Right Rear Speaker Output (+) (UQF)

1 D-BU

46

Right Rear Speaker Output (+) (UQG)

1 D-BU

46

Right Rear Speaker Output (+) (UQG)

11

0.35 D-GN

5060

Low Speed GMLAN Serial Data (AXC/AXE)

11

0.35 D-GN

5060

Low Speed GMLAN Serial Data (AXC/AXE)

12

0.5 D-GN

2087

5-Volt Reference

12

0.5 D-GN

2087

5-Volt Reference

13

--

--

Not Used

13

--

--

Not Used

14

2 BK/WH

351

Ground

14

1 BK/WH

351

Ground

X201 Instrument Panel Harness to Steering Column Harness


Object Number: 1576566  Size: CH

Object Number: 1576562  Size: CH

Connector Part Information

  • OEM: 7283-4190-30
  • Service: See Catalog
  • Description: 43-Way F YESC Unsealed Series (BK)

Connector Part Information

  • OEM: 7282-4190-30
  • Service: See Catalog
  • Description: 43-Way M YESC Unsealed (BK)

Terminal Part Information

  • Pins: 10, 27, 37-38, 43
  • Terminal/Tray: 7116-4110-02/9
  • Core/Insulation Crimp: E/C
  • Release Tool/Test Probe: 12094430/J-35616-4A (PU)
  • Pins: 3, 5
  • Terminal/Tray: 7116-4120-02/9
  • Core/Insulation Crimp: E/B
  • Release Tool/Test Probe: 12094430/J-35616-42 (RD)
  • Pins: 8-9, 11-15, 17, 19-26, 28-31, 34-36, 39-40, 42
  • Terminal/Tray: 7116-4100-08/9
  • Core/Insulation Crimp: E/C
  • Release Tool/Test Probe: 12094430/J-35616-2A (GY)
  • Pins: 10, 27, 37-38
  • Terminal/Tray: 7116-4101-08/9
  • Core/Insulation Crimp: See Terminal Repair Kit
  • Release Tool/Test Probe: 12094430/J-35616-2A (GY)
  • Pins: 1, 7
  • Terminal/Tray: 7116-4111-02/9
  • Core/Insulation Crimp: C/A
  • Release Tool/Test Probe: 12094430/J-35616-4A (PU)

Terminal Part Information

  • Terminal/Tray: 7114-4100-08/9
  • Core/Insulation Crimp: E/C
  • Release Tool/Test Probe: 15315247/J-35616-3 (GY)

X201 Instrument Panel Harness to Steering Column Harness

Pin

Wire

Circuit No.

Function

Pin

Wire

Circuit No.

Function

1

1 OG

2098

Steering Column Telescope Motor Forward (N38)

1

1 OG

2098

Steering Column Telescope Motor Forward (N38)

2

--

--

Not Used

2

--

--

Not Used

3

1 TN

2110

Steering Column Telescope Motor Control - Reverse (N38)

3

1 TN

2110

Steering Column Telescope Motor Control - Reverse (N38)

4

--

--

Not Used

4

--

--

Not Used

5

1 PK

2111

Steering Column Tilt Motor Control - Up (N38)

5

1 PK

2111

Steering Column Tilt Motor Control - Up (N38)

6

--

--

Not Used

6

--

--

Not Used

7

1 BN

2112

Steering Column Tilt Motor Control -Down (N38)

7

1 BN

2112

Steering Column Tilt Motor Control -Down (N38)

8

0.35 RD/WH

1040

Battery Positive Voltage

8

0.35 RD/WH

1040

Battery Positive Voltage

9

0.35 PU/WH

7005

LED Dimming Signal

9

0.35 PU/WH

7005

LED Dimming Signal

10

0.5 D-GN

2087

5-Volt Reference

10

0.5 D-GN

2087

5-Volt Reference

0.5 D-GN

2087

5-Volt Reference

0.5 D-GN

2087

5-Volt Reference

11

0.35 PK

2094

Steering Column Tilt and Telescope Forward Switch Signal (N38)

11

0.35 PK

2094

Steering Column Tilt and Telescope Forward Switch Signal (N38)

12

0.35 BK

1450

Ground

12

0.35 BK

1450

Ground

13

0.35 PU

5526

Memory Set Switch Signal

13

0.35 PU

5526

Memory Set Switch Signal

14

0.35 PU/WH

1630

Steering Column Key Cylinder Lock Solenoid Control

14

0.35 PU/WH

1630

Steering Column Key Cylinder Lock Solenoid Control

15

0.35 L-BU

553

Tow/Haul Switch Signal

15

0.35 L-BU

553

Tow/Haul Switch Signal

16

--

--

Not Used

16

--

--

Not Used

17

0.35 OG

2095

Steering Column Tilt and Telescope Reverse Switch Signal (N38)

17

0.35 OG

2095

Steering Column Tilt and Telescope Reverse Switch Signal (N38)

18

--

--

Not Used

18

--

--

Not Used

19

0.35 GY

2096

Steering Column Tilt and Telescope Up Switch Signal (N38)

19

0.35 GY

2096

Steering Column Tilt and Telescope Up Switch Signal (N38)

20

0.35 YE

2097

Steering Column Tilt and Telescope Down Switch Signal (N38)

20

0.35 YE

2097

Steering Column Tilt and Telescope Down Switch Signal (N38)

21

0.35 RD/WH

1040

Battery Positive Voltage

21

0.35 RD/WH

1040

Battery Positive Voltage

22

0.35 TN

2144

Hazard Switch Signal

22

0.35 TN

2144

Hazard Switch Signal

23

0.35 PU

1375

Remote Radio Control Supply Voltage

23

0.35 PU

1375

Remote Radio Control Supply Voltage

24

0.35 GY

6206

Low Reference (N38)

24

0.35 GY

6206

Low Reference (N38)

25

0.35 BK/WH

1551

Ground

25

0.35 BK/WH

1551

Ground

26

0.35 TN

6207

5-Volt Reference (N38)

26

0.35 TN

6207

5-Volt Reference (N38)

27

0.5 L-BU

2088

Low Reference

27

0.5 L-BU

2088

Low Reference

0.5 L-BU

2088

Low Reference

28

0.35 OG

2153

Steering Column Telescope Sensor Signal (N38)

28

0.35 OG

2153

Steering Column Telescope Sensor Signal (N38)

29

0.35 TN

28

Horn Relay Control

29

0.35 TN

28

Horn Relay Control

30

0.35 OG

2154

Steering Column Tilt Sensor Signal (N38)

30

0.35 OG

2154

Steering Column Tilt Sensor Signal (N38)

31

0.35 WH

2283

Rear Wiper/Washer Switch Supply Voltage (WDA/Z88)

31

0.35 WH

2283

Rear Wiper/Washer Switch Supply Voltage (WDA/Z88)

32-33

--

--

Not Used

32-33

--

--

Not Used

34

0.5 GY

391

Rear Window Wiper Switch Signal (WDA/Z88)

34

0.5 GY

391

Rear Window Wiper Switch Signal (WDA/Z88)

35

0.5 L-GN

2270

Rear Window Washer Relay Control (WDA/Z88)

35

0.5 L-GN

2270

Rear Window Washer Relay Control (WDA/Z88)

36

0.35 GN/WH

7158

Cruise Control Indicator Dimming Signal

36

0.35 GN/WH

7158

Cruise Control Indicator Dimming Signal

37

0.5 TN/WH

6433

CAN Bus High Serial Data

37

0.5 TN/WH

6433

CAN Bus High Serial Data

0.5 TN/WH

6433

CAN Bus High Serial Data

38

0.5 L-GN/BK

6432

CAN Bus Low Serial Data

38

0.5 L-GN/BK

6432

CAN Bus Low Serial Data

0.5 L-GN/BK

6432

CAN Bus Low Serial Data

39

0.35 L-GN

1011

Remote Radio Control Signal (RCA)

39

0.35 L-GN

1011

Remote Radio Control Signal (RCA)

40

0.35 PK

94

Windshield Washer Switch Signal (XA7)

40

0.35 PK

94

Windshield Washer Switch Signal (XA7)

41

--

--

Not Used

41

--

--

Not Used

42

0.35 D-GN

5060

Low Speed GMLAN Serial Data

42

0.35 D-GN

5060

Low Speed GMLAN Serial Data

43

0.5 RD/WH

2140

Battery Positive Voltage (N38)

43

0.5 RD/WH

2140

Battery Positive Voltage (N38)

X202 Body Harness to Instrument Panel Harness


Object Number: 1576566  Size: CH

Object Number: 1856783  Size: CH

Connector Part Information

  • OEM: 7283-4192-40
  • Service: See Catalog
  • Description: 43-Way F YESC Unsealed Series (L-GY)

Connector Part Information

  • OEM: 7282-4192-40
  • Service: See Catalog
  • Description: 43-Way M LIF YESC Series (L-GY)

Terminal Part Information

  • Pin: 2
  • Terminal/Tray: 7116-4110-02/9
  • Core/Insulation Crimp: E/C
  • Release Tool/Test Probe: 12094430/J-35616-4A (PU)
  • Pins: 9-23, 25, 27-31, 33-42
  • Terminal/Tray: 7116-4100-08/9
  • Core/Insulation Crimp: E/C
  • Release Tool/Test Probe: 12094430/J-35616-2A (GY)
  • Pins: 8, 24
  • Terminal/Tray: 7116-4101-08/9
  • Core/Insulation Crimp: See Terminal Repair Kit
  • Release Tool/Test Probe: 12094430/J-35616-2A (GY)
  • Pins: 1, 32
  • Terminal/Tray: 7116-4111-02/9
  • Core/Insulation Crimp: Pin: 1 : C/A
  • Core/Insulation Crimp: Pin: 32 : E/A
  • Release Tool/Test Probe: 12094430/J-35616-4A (PU)
  • Pins: 3, 5
  • Terminal/Tray: 7116-4122-02/10
  • Core/Insulation Crimp: A/B
  • Release Tool/Test Probe: 12094430/J-35616-42 (RD)
  • Pin: 24
  • Terminal/Tray: See Terminal Repair Kit
  • Core/Insulation Crimp: See Terminal Repair Kit
  • Release Tool/Test Probe: See Terminal Repair Kit

Terminal Part Information

  • Pins: 32, 1
  • Terminal/Tray: 7114-4111-02/9
  • Core/Insulation Crimp: Pin: 32 : E/A
  • Core/Insulation Crimp: Pin: 1 : C/A
  • Release Tool/Test Probe: 12094430/J-35616-5 (PU)
  • Pin: 2
  • Terminal/Tray: 7114-4110-02/9
  • Core/Insulation Crimp: E/C
  • Release Tool/Test Probe: 12094430/J-35616-5 (PU)
  • Pins: 9-23, 25, 27-31, 33-42
  • Terminal/Tray: 7114-4100-08/9
  • Core/Insulation Crimp: E/C
  • Release Tool/Test Probe: 15315247/J-35616-3 (GY)
  • Pins: 3, 5
  • Terminal/Tray: 7114-4122-02/9
  • Core/Insulation Crimp: A/B
  • Release Tool/Test Probe: 12094430/J-35616-43 (RD)

X202 Body Harness to Instrument Panel Harness

Pin

Wire

Circuit No.

Function

Pin

Wire

Circuit No.

Function

1

1 BK

1450

Ground

1

1 BK

1450

Ground

2

0.5 BN

6555

Auxiliary Temperature Motor Supply Voltage

2

0.5 BN

6555

Auxiliary Temperature Motor Supply Voltage

3

3 BK

450

Ground

3

3 BK

450

Ground

4

--

--

Not Used

4

--

--

Not Used

5

3 RD/BK

442

Battery Positive Voltage

5

3 RD/BK

442

Battery Positive Voltage

6-7

--

--

Not Used

6-7

--

--

Not Used

8

0.5 GY

596

5-Volt Reference

8

0.5 GY

596

5-Volt Reference

0.5 GY

596

5-Volt Reference (-UK6)

9

0.5 PK

2145

Air Temperature Switch Signal - Right

9

0.5 PK

2145

Air Temperature Switch Signal - Right

10

0.5 OG

2615

Auxiliary Mode Door Control

10

0.5 OG

2615

Auxiliary Mode Door Control (-UK6)

11

0.5 OG

2215

Auxiliary Mode Door Control

11

0.5 OG

2215

Auxiliary Mode Door Control

12

0.5 YE

2214

Auxiliary Air Temperature Door Control

12

0.5 YE

2214

Auxiliary Air Temperature Door Control (-UK6)

13

0.5 GY

2599

Auxiliary Mode Door Control

13

0.5 GY

2599

Auxiliary Mode Door Control

14

0.5 L-GN/BK

6432

CAN Bus Low Serial Data

14

0.5 L-GN/BK

6432

CAN Bus Low Serial Data

15

0.5 TN/WH

6433

CAN Bus High Serial Data

15

0.5 TN/WH

6433

CAN Bus High Serial Data

16

0.5 TN/WH

372

Left Audio Signal (-) (U2K)

16

0.5 TN/WH

372

Left Audio Signal (-) (U2K)

17

0.5 BN/WH

367

Left Audio Signal (+) (U2K)

17

0.5 BN/WH

367

Left Audio Signal (+) (U2K)

18

0.5 D-GN/WH

368

Right Audio Signal (+) (U2K)

18

0.5 D-GN/WH

368

Right Audio Signal (+) (U2K)

19

0.5 GY

388

Right Audio Signal (-) (U2K)

19

0.5 GY

388

Right Audio Signal (-) (U2K)

20

0.35 L-GN/BK

735

Ambient Air Temperature Sensor Signal

20

0.35 L-GN/BK

735

Ambient Air Temperature Sensor Signal

21

0.5 L-GN/WH

5729

Auxiliary Mode Motor Supply Voltage

21

0.5 L-GN/WH

5729

Auxiliary Mode Motor Supply Voltage

22

0.5 GY

2614

Auxiliary Air Temperature Door Control

22

0.5 GY

2614

Auxiliary Air Temperature Door Control

23

0.5 PU/WH

760

Auxiliary Blower Motor Speed Control

23

0.5 PU/WH

760

Auxiliary Blower Motor Speed Control (-UK6)

24

0.5 GY/BK

1798

Low Reference

24

0.5 GY/BK

1798

Low Reference

0.5 GY/BK

1798

Low Reference

25

0.35 YE

61

Low Reference

25

0.35 YE

61

Low Reference

26

--

--

Not Used

26

--

--

Not Used

27

0.5 L-BU

2088

Low Reference

27

0.5 L-BU

2088

Low Reference

28

0.5 D-GN

2087

5-Volt Reference

28

0.5 D-GN

2087

5-Volt Reference

29

0.35 WH

193

Rear Defog Relay Control

29

0.35 WH

193

Rear Defog Relay Control

30

0.35 BARE

6131

Cellular Microphone Signal (U2K)

30

0.35 BARE

6131

Cellular Microphone Signal (U2K)

31

0.5 D-GN

2211

Auxiliary Blower Motor Speed Control

31

0.5 D-GN

2211

Auxiliary Blower Motor Speed Control

32

0.8 BK/WH

1551

Ground

32

0.8 BK/WH

1551

Ground

33

0.35 BARE

814

Drain Wire (UE1)

33

0.35 BARE

814

Drain Wire (UE1)

34

0.35 OG/BK

1406

Remote Playback Device Left Audio Signal (UE1)

34

0.35 OG/BK

1406

Remote Playback Device Left Audio Signal (UE1)

35

0.35 L-BU

1405

Remote Playback Device Audio Common Signal (UE1)

35

0.35 L-BU

1405

Remote Playback Device Audio Common Signal (UE1)

36

0.35 BARE

6974

Drain (UVC)

36

0.35 BARE

6974

Drain (UVC)

37

0.35 PK

6972

Camera Signal #2 + (UVC)

37

0.35 PK

6972

Camera Signal #2 + (UVC)

38

0.35 L-BU

6973

Camera Signal #2 (UVC)

38

0.35 L-BU

6973

Camera Signal #2 (UVC)

39

0.35 BN/WH

1571

Traction Control Switch Signal

39

0.35 BN/WH

1571

Traction Control Switch Signal

40

0.35 PK

5149

Voice Recognition Audio Signal (UE1+U3R/UZR)

40

0.35 PK

5149

Voice Recognition Audio Signal (UE1+UZR/U3R)

41

0.35 PK/BK

5152

Low Reference (UE1+U3R/UZR)

41

0.35 PK/BK

5152

Low Reference (UE1+UZR/U3R)

42

0.35 BARE

1792

Drain Wire (UE1+U3R/UZR)

42

0.35 BARE

1792

Drain Wire (UE1+UZR/U3R)

43

--

--

Not Used

43

--

--

Not Used

X203 Body Harness to Instrument Panel Harness


Object Number: 1855729  Size: CH

Object Number: 1455861  Size: CH

Connector Part Information

  • OEM: 7283-3585-40
  • Service: See Catalog
  • Description: 16-Way F Kaizen YESC Series, Unsealed (L-GY)

Connector Part Information

  • OEM: 7282-5536-40
  • Service: See Catalog
  • Description: 16-Way M YESC/USCAR Class 3 (L-GY)

Terminal Part Information

  • Pins: 1-12, 15-16
  • Terminal/Tray: 7116-4100-08/9
  • Core/Insulation Crimp: E/C
  • Release Tool/Test Probe: 12094430/J-35616-2A (GY)
  • Pins: 5-8, 13-14
  • Terminal/Tray: 7116-4101-08/9
  • Core/Insulation Crimp: Pins: 5-8, 13-14 : E/A
  • Core/Insulation Crimp: Pins: 7-8 : See Terminal Repair Kit
  • Release Tool/Test Probe: 12094430/J-35616-2A (GY)
  • Pin: 8
  • Terminal/Tray: 7116-4781-02/9
  • Core/Insulation Crimp: E/A
  • Release Tool/Test Probe: 12094430/J-35616-2A (GY)

Terminal Part Information

  • Pins: 1-2, 5-6, 13-14
  • Terminal/Tray: 7114-4101-08/9
  • Core/Insulation Crimp: Pins: 1-2, 5-6 : E/A
  • Core/Insulation Crimp: Pins: 5-6, 13-14 : C/A
  • Release Tool/Test Probe: 15315247/J-35616-3 (GY)
  • Pins: 3-9, 13-16
  • Terminal/Tray: 7114-4100-08/9
  • Core/Insulation Crimp: E/C
  • Release Tool/Test Probe: 15315247/J-35616-3 (GY)
  • Pins: 1-2
  • Terminal/Tray: See Terminal Repair Kit
  • Core/Insulation Crimp: See Terminal Repair Kit
  • Release Tool/Test Probe: See Terminal Repair Kit

X203 Body Harness to Instrument Panel Harness

Pin

Wire

Circuit No.

Function

Pin

Wire

Circuit No.

Function

1

0.35 TN

2501

High Speed GMLAN Serial Data Bus-

1

0.8 TN

2501

High Speed GMLAN Serial Data Bus-

0.8 TN

2501

High Speed GMLAN Serial Data Bus-

2

0.35 TN/BK

2500

High Speed GMLAN Serial Data Bus+

2

0.8 TN/BK

2500

High Speed GMLAN Serial Data Bus+

0.8 TN/BK

2500

High Speed GMLAN Serial Data Bus+

3

0.35 L-BU

5986

Communication Enable (MH6)

3

0.35 L-BU

5986

Communication Enable (MH6)

4

0.35 WH

2283

Rear Wiper/Washer Switch Supply Voltage (WDA/Z88)

4

0.35 WH

2283

Rear Wiper/Washer Switch Supply Voltage

5

0.8 BN

199

Left Rear Speaker Output (+) (UQA/UQS)

5

0.8 BN

199

Left Rear Speaker Output (+) (UQA/UQS)

0.5 BN

199

Left Rear Speaker Output (+) (UQF)

0.5 BN

199

Left Rear Speaker Output (+) (UQF)

1 BN

199

Left Rear Speaker Output (+) (UQG)

1 BN

199

Left Rear Speaker Output (+) (UQG)

6

0.8 YE

116

Left Rear Speaker Output (-) (UQA/UQS)

6

0.8 YE

116

Left Rear Speaker Output (-) (UQA/UQS)

0.5 YE

116

Left Rear Speaker Output (-) (UQF)

0.5 YE

116

Left Rear Speaker Output (-) (UQF)

1 YE

116

Left Rear Speaker Output (-) (UQG)

1 YE

116

Left Rear Speaker Output (-) (UQG)

7

0.5 WH

1959

Left Rear Midrange Speaker Output (-) (UQA/UQG/UQS)

7

0.8 WH

1959

Left Rear Midrange Speaker Output (-) (UQA/UQG/UQS)

0.8 WH

1959

Left Rear Midrange Speaker Output (-) (UQA/UQG/UQS)

8

0.8 TN

1859

Left Rear Midrange Speaker Output (+) (UQA/UQG/UQS)

8

0.8 TN

1859

Left Rear Midrange Speaker Output (+) (UQA/UQG/UQS)

0.5 TN

1859

Left Rear Midrange Speaker Output (+) (UQA/UQG/UQS)

9

0.35 D-GN

5060

Low Speed GMLAN Serial Data (AXC/AXE)

9

0.35 D-GN

5060

Low Speed GMLAN Serial Data (AXC/AXE)

10

0.5 PU

5357

Right Tail Lamp Outage Detection Signal (Z88)

10

0.5 PU

5357

Right Tail Lamp Outage Detection Signal (Z88)

11

0.35 L-GN

1011

Remote Radio Control Signal (RCA)

11

0.35 L-GN

1011

Remote Radio Control Signal (RCA)

12

0.35 PU

1375

Remote Radio Control Supply Voltage (RCA)

12

0.35 PU

1375

Remote Radio Control Supply Voltage (RCA)

13

1 TN

201

Left Front Speaker Output (+)

13

1 TN

201

Left Front Speaker Output (+)

14

1 GY

118

Left Front Speaker Output (-)

14

1 GY

118

Left Front Speaker Output (-)

15

0.35 D-GN

5060

Low Speed GMLAN Serial Data

15

0.35 D-GN

5060

Low Speed GMLAN Serial Data

16

0.35 YE

196

Windshield Wiper Motor Park Switch Signal

16

0.35 YE

196

Windshield Wiper Motor Park Switch Signal

X205 Body Harness to Instrument Panel Harness (N38)


Object Number: 1592558  Size: CH

Object Number: 1483278  Size: CH

Connector Part Information

  • OEM: 7283-6453-60
  • Service: See Catalog
  • Description: 16-Way F Kaizen YESC Series, Unsealed (GN)

Connector Part Information

  • OEM: 7282-6453-60
  • Service: See Catalog
  • Description: 16-Way M Kaizen YESC Series, Unsealed (GN)

Terminal Part Information

  • Pins: 7-8
  • Terminal/Tray: 7116-4110-02/9
  • Core/Insulation Crimp: E/C
  • Release Tool/Test Probe: 12094430/J-35616-4A (PU)
  • Pins: 1, 5-6
  • Terminal/Tray: 7116-4120-02/9
  • Core/Insulation Crimp: E/B
  • Release Tool/Test Probe: 12094430/J-35616-42 (RD)
  • Pins: 2, 4, 9-12
  • Terminal/Tray: 7116-4100-08/9
  • Core/Insulation Crimp: E/C
  • Release Tool/Test Probe: 12094430/J-35616-2A (GY)
  • Pin: 3
  • Terminal/Tray: 7116-4618-02/14
  • Core/Insulation Crimp: See Terminal Repair Kit
  • Release Tool/Test Probe: J-38125-215/J-35616-64B (L-BU)

Terminal Part Information

  • Terminal/Tray: See Terminal Repair Kit
  • Core/Insulation Crimp: See Terminal Repair Kit
  • Release Tool/Test Probe: See Terminal Repair Kit

X205 Body Harness to Instrument Panel Harness (N38)

Pin

Wire

Circuit No.

Function

Pin

Wire

Circuit No.

Function

1

1 PK

2111

Steering Column Tilt Motor Control - Up

1

1 PK

2111

Steering Column Tilt Motor Control - Up

2

0.35 OG

2154

Steering Column Tilt Sensor Signal

2

0.35 OG

2154

Steering Column Tilt Sensor Signal

3

1 BN

2112

Steering Column Tilt Motor Control - Down

3

1 BN

2112

Steering Column Tilt Motor Control - Down

4

0.35 OG

2153

Steering Column Telescope Sensor Signal

4

0.35 OG

2153

Steering Column Telescope Sensor Signal

5

1 OG

2098

Steering Column Telescope Motor Forward

5

1 OG

2098

Steering Column Telescope Motor Forward

6

1 TN

2110

Steering Column Telescope Motor Control - Reverse (N38)

6

1 TN

2110

Steering Column Telescope Motor Control - Reverse (N38)

7

0.35 TN

6207

5-Volt Reference

7

0.35 TN

6207

5-Volt Reference

8

0.35 GY

2096

Steering Column Tilt and Telescope Up Switch Signal

8

0.35 GY

2096

Steering Column Tilt and Telescope Up Switch Signal

9

0.35 GY

6206

Low Reference

9

0.35 GY

6206

Low Reference

10

0.35 OG

2095

Steering Column Tilt and Telescope Reverse Switch Signal

10

0.35 OG

2095

Steering Column Tilt and Telescope Reverse Switch Signal

11

0.35 PK

2094

Steering Column Tilt and Telescope Forward Switch Signal

11

0.35 PK

2094

Steering Column Tilt and Telescope Forward Switch Signal

12

0.35 YE

2097

Steering Column Tilt and Telescope Down Switch Signal

12

0.35 YE

2097

Steering Column Tilt and Telescope Down Switch Signal

13-16

--

--

Not Used

13-16

--

--

Not Used

X209 Body Harness to Trailer Brake Harness (V92)


Object Number: 1845354  Size: CH

Object Number: 1856786  Size: CH

Connector Part Information

  • OEM: 7283-3740-40
  • Service: See Catalog
  • Description: 6-Way F Kaizen YESC Series (L-GY)

Connector Part Information

  • OEM: 7282-5604-40
  • Service: See Catalog
  • Description: 6-Way M 6.3 YESC Series (L-GY)

Terminal Part Information

  • Pins: 2-3
  • Terminal/Tray: 7116-4120-02/9
  • Core/Insulation Crimp: E/A
  • Release Tool/Test Probe: 12094430/J-35616-42 (RD)
  • Pins: 1, 5-6
  • Terminal/Tray: 7116-4121-02/10
  • Core/Insulation Crimp: C/B
  • Release Tool/Test Probe: 12094430/J-35616-42 (RD)

Terminal Part Information

  • Pins: 2-3
  • Terminal/Tray: 7114-4120-02/9
  • Core/Insulation Crimp: E/A
  • Release Tool/Test Probe: 12094430/J-35616-43 (RD)
  • Pins: 1, 5-6
  • Terminal/Tray: 7114-4121-02/9
  • Core/Insulation Crimp: C/B
  • Release Tool/Test Probe: 12094430/J-35616-43 (RD)

X209 Body Harness to Trailer Brake Harness (V92)

Pin

Wire

Circuit No.

Function

Pin

Wire

Circuit No.

Function

1

2 BK

550

Ground

1

2 BK

550

Ground

2

0.5 GY

8

Instrument Panel Lamp Supply Voltage

2

0.5 GY

8

Instrument Panel Lamp Supply Voltage

3

0.5 L-BU

1320

Stop Lamp Supply Voltage

3

0.5 L-BU

1320

Stop Lamp Supply Voltage

4

--

--

Not Used

4

--

--

Not Used

5

2 D-BU

47

Trailer Auxiliary Supply Voltage

5

2 D-BU

47

Trailer Auxiliary Supply Voltage

6

2 RD/BK

1042

Battery Positive Voltage

6

2 RD/BK

1042

Battery Positive Voltage

X211 Body Harness to Steering Column Harness


Object Number: 1715215  Size: CH

Object Number: 684931  Size: CH

Connector Part Information

  • OEM: 15479525
  • Service: 19149302
  • Description: 4-Way F Metri-Pack 280 (YE)

Connector Part Information

  • OEM: 15336476
  • Service: 88987998
  • Description: 4-Way M Metri-Pack 280 Series (YE)

Terminal Part Information

  • Terminal/Tray: 12034046/2
  • Core/Insulation Crimp: E/A
  • Release Tool/Test Probe: 12094430/J-35616-4A (PU)

Terminal Part Information

  • Terminal/Tray: 12034047/2
  • Core/Insulation Crimp: E/A
  • Release Tool/Test Probe: 12094430/J-35616-5 (PU)

X211 Body Harness to Steering Column Harness

Pin

Wire

Circuit No.

Function

Pin

Wire

Circuit No.

Function

A1

0.35 TN

3021

Steering Wheel Module - Stage1 - High Control

A1

0.35 TN

3021

Steering Wheel Module - Stage1 - High Control

A2

0.35 BN

3020

Steering Wheel Module - Stage1 - Low Control

A2

0.35 BN

3020

Steering Wheel Module - Stage1 - Low Control

B1

0.35 WH

3023

Steering Wheel Module - Stage2 - High Control

B1

0.35 WH

3023

Steering Wheel Module - Stage2 - High Control

B2

0.35 PK

3022

Steering Wheel Module - Stage2 - Low Control

B2

0.35 PK

3022

Steering Wheel Module - Stage2 - Low Control

X214 Instrument Panel Harness to HVAC Harness


Object Number: 1817814  Size: CH

Object Number: 1869597  Size: CH

Connector Part Information

  • OEM: 7283-6458-40
  • Service: 88988507
  • Description: 2-Way F Receptacle 6.3 Series (L-GY)

Connector Part Information

  • OEM: 7282-6458-40
  • Service: See Catalog
  • Description: 2-Way M Receptacle 6.3 Series (L-GY)

Terminal Part Information

  • Terminal/Tray: 7116-4122-02/10
  • Core/Insulation Crimp: A/B
  • Release Tool/Test Probe: 12094430/J-35616-42 (RD)

Terminal Part Information

  • Terminal/Tray: See Terminal Repair Kit
  • Core/Insulation Crimp: See Terminal Repair Kit
  • Release Tool/Test Probe: See Terminal Repair Kit

X214 Instrument Panel Harness to HVAC Harness

Pin

Wire

Circuit No.

Function

Pin

Wire

Circuit No.

Function

1

3 RD/BK

442

Battery Positive Voltage

1

3 RD/BK

442

Battery Positive Voltage

2

3 BK

450

Ground

2

3 BK

450

Ground

X216 Instrument Panel Harness to Headliner Harness (U42)


Object Number: 1483282  Size: CH

Object Number: 1483279  Size: CH

Connector Part Information

  • OEM: 7283-6388-40
  • Service: See Catalog
  • Description: 20-Way F Unsealed (L-GY)

Connector Part Information

  • OEM: 7282-6568-40
  • Service: See Catalog
  • Description: 20-Way M YESC Unsealed (L-GY)

Terminal Part Information

  • Terminal/Tray: 7116-4720-02/14
  • Core/Insulation Crimp: H/H
  • Release Tool/Test Probe: 15315247/J-35616-64B (L-BU)

Terminal Part Information

  • Terminal/Tray: 7114-4720-02/14
  • Core/Insulation Crimp: J/J
  • Release Tool/Test Probe: 15315247/J-35616-65B (L-BU)

X216 Instrument Panel Harness to Headliner Harness (U42)

Pin

Wire

Circuit No.

Function

Pin

Wire

Circuit No.

Function

1

0.35 BARE

6980

DVD Audio Shield

1

0.35 BARE

6980

DVD Audio Shield

2

0.35 L-BU

5826

Left DVD Audio Signal (+)

2

0.35 L-BU

5826

Left DVD Audio Signal (+)

3

0.35 PU

6979

DVD Audio Common

3

0.35 PU

6979

DVD Audio Common

4

0.35 WH

5828

Right DVD Audio Signal (+)

4

0.35 WH

5828

Right DVD Audio Signal (+)

5

0.35 TN/WH

5830

Remote Infra Red Signal (-)

5

0.35 TN/WH

5830

Remote Infra Red Signal (-)

6

0.35 OG/BK

5831

Remote Infra Red Signal (+)

6

0.35 OG/BK

5831

Remote Infra Red Signal (+)

7

0.35 BN/WH

5331

Low Reference

7

0.35 BN/WH

5331

Low Reference

8

0.35 PU/WH

5330

Right Infra Red Audio Signal

8

0.35 PU/WH

5330

Right Infra Red Audio Signal

9

0.35 OG/BK

5329

Left Rear Low Level Audio Signal (+)

9

0.35 OG/BK

5329

Left Rear Low Level Audio Signal (+)

10

0.35 BARE

5332

Infra Red Audio Drain Wire

10

0.35 BARE

5332

Infra Red Audio Drain Wire

11

0.35 WH/BK

5335

DVD Video Signal (-)

11

0.35 WH/BK

5335

DVD Video Signal (-)

12

0.35 D-GN

6975

DVD Video Signal (+)

12

0.35 D-GN

6975

DVD Video Signal (+)

13

0.35 BARE

6976

DVD Video Drain Wire

13

0.35 BARE

6976

DVD Video Drain Wire

14

0.35 WH

7066

Entertainment Remote Enable Signal

14

0.35 WH

7066

Entertainment Remote Enable Signal

15

0.35 L-GN/BK

5845

Video Module Signal

15

0.35 L-GN/BK

5845

Video Module Signal

16

0.35 PK/BK

5844

Video Bright Control

16

0.35 PK/BK

5844

Video Bright Control

17-20

--

--

Not Used

17-20

--

--

Not Used

X240 Instrument Panel Harness to Floor Console Harness


Object Number: 1849800  Size: CH

Object Number: 1849795  Size: CH

Connector Part Information

  • OEM: 7283-6537-30
  • Service: See Catalog
  • Description: 26-Way F YESC LIF Series (BK)

Connector Part Information

  • OEM: 7282-6537-30
  • Service: See Catalog
  • Description: 26-Way M YESC LIF Series (BK)

Terminal Part Information

  • Pins: 17, 26
  • Terminal/Tray: 7116-4110-02/9
  • Core/Insulation Crimp: E/C
  • Release Tool/Test Probe: 12094430/J-35616-4A (PU)
  • Pins: 2-25
  • Terminal/Tray: 7116-4100-08/9
  • Core/Insulation Crimp: E/C
  • Release Tool/Test Probe: 12094430/J-35616-2A (GY)

Terminal Part Information

  • Pin: 17
  • Terminal/Tray: 7114-4111-02/9
  • Core/Insulation Crimp: E/A
  • Release Tool/Test Probe: 12094430/J-35616-5 (PU)
  • Pins: 17, 26
  • Terminal/Tray: 7114-4110-02/9
  • Core/Insulation Crimp: E/C
  • Release Tool/Test Probe: 12094430/J-35616-5 (PU)
  • Pins: 18-20
  • Terminal/Tray: 7114-4101-08/9
  • Core/Insulation Crimp: E/A
  • Release Tool/Test Probe: 15315247/J-35616-3 (GY)
  • Pins: 2-25
  • Terminal/Tray: 7114-4100-08/9
  • Core/Insulation Crimp: E/C
  • Release Tool/Test Probe: 15315247/J-35616-3 (GY)

X240 Instrument Panel Harness to Floor Console Harness

Pin

Wire

Circuit No.

Function

Pin

Wire

Circuit No.

Function

1

0.5 GY

391

Rear Window Wiper Switch Signal (W49)

1

0.5 GY

391

Rear Window Wiper Switch Signal (W49)

2

0.35 PU/WH

5330

Right Infra Red Audio Signal (U42)

2

0.35 PU/WH

5330

Right Infra Red Audio Signal (U42)

3

0.35 BN/WH

5331

Low Reference (U42)

3

0.35 BN/WH

5331

Low Reference (U42)

4

0.35 BARE

5332

Infra Red Audio Drain Wire (U42)

4

0.35 BARE

5332

Infra Red Audio Drain Wire (U42)

5

0.35 OG/BK

5329

Left Rear Low Level Audio Signal (+) (U42)

5

0.35 OG/BK

5329

Left Rear Low Level Audio Signal (+) (U42)

6

0.35 PU/WH

1630

Steering Column Key Cylinder Lock Solenoid Control

6

0.35 PU/WH

1630

Steering Column Key Cylinder Lock Solenoid Control

7

0.35 L-BU

553

Tow/Haul Switch Signal

7

0.35 L-BU

553

Tow/Haul Switch Signal

8

0.5 L-GN

2270

Rear Window Washer Relay Control (W49)

8

0.5 L-GN

2270

Rear Window Washer Relay Control (W49)

9

0.35 BARE

5345

Drain Wire (U42)

9

0.35 BARE

5345

Drain Wire (U42)

10

0.35 WH

2058

Auxiliary Audio Right Signal (U42)

10

0.35 WH

2058

Auxiliary Audio Right Signal (U42)

11

0.35 YE

2059

Auxiliary Audio Left Signal (U42)

11

0.35 YE

2059

Auxiliary Audio Left Signal (U42)

12

0.35 PU

5526

Memory Set Switch Signal

12

0.35 PU

5526

Memory Set Switch Signal

13

0.35 BARE

5346

Drain Wire (U42)

13

0.35 BARE

5346

Drain Wire (U42)

14

0.35 PU

2056

Auxiliary Video High Signal (U42)

14

0.35 PU

2056

Auxiliary Video High Signal (U42)

15

0.35 D-GN/WH

1135

A/T Shift Lock Control Solenoid Supply Voltage

15

0.35 D-GN/WH

1135

A/T Shift Lock Control Solenoid Supply Voltage

16

0.35 PU

1375

Remote Radio Control Supply Voltage

16

0.35 PU

1375

Remote Radio Control Supply Voltage

17

0.5 L-BU

5312

RSA Left Audio Signal (UK6)

17

0.5 L-BU

5312

RSA Left Audio Signal (UK6)

18

0.5 BN

5314

RSA Audio Common Signal (UK6)

18

0.8 BN

5314

RSA Audio Common Signal (UK6)

19

0.5 L-GN

5313

RSA Right Audio Signal (UK6)

19

0.8 L-GN

5313

RSA Right Audio Signal (UK6)

20

0.5 TN/WH

5830

Remote Infra Red Signal (-) (UK6)

20

0.8 TN/WH

5830

Remote Infra Red Signal (-) (UK6)

21

0.35 BARE

6759

Discrete Audio Drain Wire (UK6-UQF)

21

0.35 BARE

6759

Discrete Audio Drain Wire (UK6-UQF)

22

0.5 D-BU

546

Right Rear Low Level Audio Signal (+) (UK6)

22

0.5 D-BU

546

Right Rear Low Level Audio Signal (+) (UK6)

23

0.5 TN

1946

Right Rear Low Level Audio Signal (-) (UK6)

23

0.5 TN

1946

Right Rear Low Level Audio Signal (-) (UK6)

24

0.5 BN/WH

599

Left Rear Low Level Audio Signal (+) (UK6)

24

0.5 BN/WH

599

Left Rear Low Level Audio Signal (+) (UK6)

25

0.5 BN

1999

Left Rear Low Level Audio Signal (-) (UK6)

25

0.5 BN

1999

Left Rear Low Level Audio Signal (-) (UK6)

26

0.35 BARE

1574

Drain Wire (UK6-UQF)

26

0.35 BARE

1574

Drain Wire (UK6-UQF)

X252 Body Harness to Instrument Panel Harness


Object Number: 1850604  Size: CH

Object Number: 1850607  Size: CH

Connector Part Information

  • OEM: GT13-1/1PP-HU
  • Service: See Catalog
  • Description: 3-Way F GT13 Coaxial Series (WH)

Connector Part Information

  • OEM: GT13GM-1/1S-HU
  • Service: See Catalog
  • Description: 3-Way M GT13 Coaxial Series (WH)

Terminal Part Information

  • Terminal/Tray: 7114-4618-02/27
  • Core/Insulation Crimp: P/P
  • Release Tool/Test Probe: J-38125-215/J-35616-65B (L-BU)

Terminal Part Information

  • Terminal/Tray: See Terminal Repair Kit
  • Core/Insulation Crimp: See Terminal Repair Kit
  • Release Tool/Test Probe: See Terminal Repair Kit

X252 Body Harness to Instrument Panel Harness

Pin

Wire

Circuit No.

Function

Pin

Wire

Circuit No.

Function

1

0.35 WH

7066

Entertainment Remote Enable Signal

1

0.35 WH

7066

Entertainment Remote Enable Signal

C

--

--

Coax

C

--

--

Coax

S

--

--

Not Used

S

--

--

Not Used

X305 Fuel Tank Harness to Body Harness


Object Number: 811194  Size: CH

Object Number: 646362  Size: CH

Connector Part Information

  • OEM: 12176335
  • Service: 15305944
  • Description: 8-Way F Metri-Pack Mixed Series, Sealed (WH)

Connector Part Information

  • OEM: 15490621
  • Service: See Catalog
  • Description: 16-Way M Metri-Pack Mixed Series, Sealed (L-GY)

Terminal Part Information

  • Terminal/Tray: See Terminal Repair Kit
  • Core/Insulation Crimp: See Terminal Repair Kit
  • Release Tool/Test Probe: See Terminal Repair Kit

Terminal Part Information

  • Pins: 3A, 3C
  • Terminal/Tray: 12129497/1
  • Core/Insulation Crimp: 2/5
  • Release Tool/Test Probe: 12094430/J-35616-5 (PU)
  • Pins: 3B, 3D, 3E, 3F, 3H, 3G
  • Terminal/Tray: 12048159/2
  • Core/Insulation Crimp: Pins: 3B, 3D, 3E, 3F, 3H : See Terminal Repair Kit
  • Core/Insulation Crimp: Pin: 3G : 2/5
  • Release Tool/Test Probe: 12094430/J-35616-5 (PU)

X305 Fuel Tank Harness to Body Harness

Pin

Wire

Circuit No.

Function

Pin

Wire

Circuit No.

Function

A-D

--

--

Not Used

1A-1D

--

--

Not Used

A-D

--

--

Not Used

2A-2D

--

--

Not Used

A

2 BK

1850

Ground

3A

2 BK

1850

Ground

B

0.35 D-GN

890

Fuel Tank Pressure Sensor Signal

3B

0.35 D-GN

890

Fuel Tank Pressure Sensor Signal

C

2 GY

120

Fuel Pump Supply Voltage

3C

2 GY

120

Fuel Pump Supply Voltage

D

0.35 PU

1589

Fuel Level Sensor Signal

3D

0.35 PU

1589

Fuel Level Sensor Signal

E

0.35 TN

452

Low Reference

3E

0.35 TN

452

Low Reference

F

0.35 WH

1310

EVAP Canister Vent Solenoid Control

3F

0.35 WH

1310

EVAP Canister Vent Solenoid Control

G

0.5 RD/WH

4140

Battery Positive Voltage

3G

0.5 RD/WH

4140

Battery Positive Voltage

H

0.35 GY

2709

5-Volt Reference

3H

0.35 GY

2709

5-Volt Reference

X314 Body Harness to Passenger Seat Harness


Object Number: 823264  Size: CH

Object Number: 823289  Size: CH

Connector Part Information

  • OEM: 7283-6376-30
  • Service: See Catalog
  • Description: 26-Way F Hybrid (BK)

Connector Part Information

  • OEM: 7282-6376-30
  • Service: See Catalog
  • Description: 26-Way M Hybrid (BK)

Terminal Part Information

  • Pins: 3, 5-6, 9-10, 13, 19, 21
  • Terminal/Tray: 7116-4100-08/9
  • Core/Insulation Crimp: E/C
  • Release Tool/Test Probe: 12094430/J-35616-2A (GY)
  • Pins: 2, 12, 23
  • Terminal/Tray: 7116-4101-08/9
  • Core/Insulation Crimp: Pin: 12 : E/A
  • Core/Insulation Crimp: Pins: 2, 23 : See Terminal Repair Kit
  • Release Tool/Test Probe: 12094430/J-35616-2A (GY)
  • Pins: 17, 26
  • Terminal/Tray: 7116-4111-02/9
  • Core/Insulation Crimp: E/A
  • Release Tool/Test Probe: 12094430/J-35616-4A (PU)
  • Pins: 1, 8
  • Terminal/Tray: 7116-4122-02/10
  • Core/Insulation Crimp: A/B
  • Release Tool/Test Probe: 12094430/J-35616-42 (RD)

Terminal Part Information

  • Pins: 12, 17, 26
  • Terminal/Tray: 7114-4101-08/9
  • Core/Insulation Crimp: E/A
  • Release Tool/Test Probe: 15315247/J-35616-3 (GY)
  • Pins: 2, 5-6, 9-10, 13, 19, 21, 23
  • Terminal/Tray: 7114-4100-08/9
  • Core/Insulation Crimp: E/C
  • Release Tool/Test Probe: 15315247/J-35616-3 (GY)
  • Pins: 1, 8
  • Terminal/Tray: 7114-4122-02/9
  • Core/Insulation Crimp: A/B
  • Release Tool/Test Probe: 12094430/J-35616-43 (RD)

X314 Body Harness to Passenger Seat Harness

Pin

Wire

Circuit No.

Function

Pin

Wire

Circuit No.

Function

1

3 BK

750

Ground (AG2/AAQ)

1

3 BK

750

Ground (AG2/AAQ)

2

0.35 BK/WH

1751

Ground

2

0.35 BK/WH

1751

Ground

0.5 BK/WH

1751

Ground

3-4

--

--

Not Used

3-4

--

--

Not Used

5

0.35 D-GN

5060

Low Speed GMLAN Serial Data

5

0.35 D-GN

5060

Low Speed GMLAN Serial Data

6

0.35 OG

1362

Seat Belt Switch - Right - Signal

6

0.35 OG

1362

Seat Belt Switch - Right - Signal

7

--

--

Not Used

7

--

--

Not Used

8

3 RD/WH

3040

Battery Positive Voltage (AG2/AAQ)

8

3 RD/WH

3040

Battery Positive Voltage (AG2/AAQ)

9

0.35 L-BU

5476

Low Reference (KA1)

9

0.35 L-BU

5476

Low Reference (KA1)

10

0.35 RD/WH

1340

Battery Positive Voltage

10

0.35 RD/WH

1340

Battery Positive Voltage

11

--

--

Not Used

11

--

--

Not Used

12

0.8 PK

2480

Passenger Heated Seat Cushion Element Control (KA1)

12

0.8 PK

2480

Passenger Heated Seat Cushion Element Control (KA1)

13

0.35 GY

2434

Passenger Heated Seat Cushion Temperature Sensor Signal (KA1)

13

0.35 GY

2434

Passenger Heated Seat Cushion Temperature Sensor Signal (KA1)

14-16

--

--

Not Used

14-16

--

--

Not Used

17

0.8 L-BU

2433

Passenger Heated Seat Back Element Control (KA1)

17

0.8 L-BU

2433

Passenger Heated Seat Back Element Control (KA1)

18

--

--

Not Used

18

--

--

Not Used

19

0.35 TN

2436

Heated Seat Back Temperature Sensor Signal (KA1)

19

0.35 TN

2436

Heated Seat Back Temperature Sensor Signal (KA1)

20

--

--

Not Used

20

--

--

Not Used

21

0.35 TN

2482

Low Reference (KA1)

21

0.35 TN

2482

Low Reference (KA1)

22

--

--

Not Used

22

--

--

Not Used

23

0.35 PK

5057

Low Reference

23

0.35 PK

5057

Low Reference

0.35 PK

5057

Low Reference

24-25

--

--

Not Used

24-25

--

--

Not Used

26

0.8 D-BU

2479

Passenger Heated Seat Element Supply Voltage (KA1)

26

0.8 D-BU

2479

Passenger Heated Seat Element Supply Voltage (KA1)

X315 Body Harness to Driver Seat Harness


Object Number: 1576566  Size: CH

Object Number: 1576562  Size: CH

Connector Part Information

  • OEM: 7283-4190-30
  • Service: See Catalog
  • Description: 43-Way F YESC Unsealed Series (BK)

Connector Part Information

  • OEM: 7282-4190-30
  • Service: See Catalog
  • Description: 43-Way M YESC Unsealed Series (BK)

Terminal Part Information

  • Pins: 8-22, 24-31, 33, 35, 37-42
  • Terminal/Tray: 7116-4100-08/9
  • Core/Insulation Crimp: E/C
  • Release Tool/Test Probe: 12094430/J-35616-2A (GY)
  • Pins: 1, 7, 23, 32, 34, 36,
  • Terminal/Tray: 7116-4101-08/9
  • Core/Insulation Crimp: E/A
  • Release Tool/Test Probe: 12094430/J-35616-2A (GY)
  • Pins: 2, 43
  • Terminal/Tray: 7116-4111-02/9
  • Core/Insulation Crimp: Pin: 43 : C/A
  • Core/Insulation Crimp: Pin: 2 : E/A
  • Release Tool/Test Probe: 12094430/J-35616-4A (PU)
  • Pins: 3, 5
  • Terminal/Tray: 7116-4122-02/10
  • Core/Insulation Crimp: A/B
  • Release Tool/Test Probe: 12094430/J-35616-42 (RD)
  • Pin: 43
  • Terminal/Tray: 7116-4112-02/9
  • Core/Insulation Crimp: C/D
  • Release Tool/Test Probe: 12094430/J-35616-35 (VT)

Terminal Part Information

  • Pins: 1-2, 7, 32
  • Terminal/Tray: 7114-4111-02/9
  • Core/Insulation Crimp: Pin: 2 : E/A
  • Core/Insulation Crimp: Pins: 1, 7, 32 : C/A
  • Release Tool/Test Probe: 12094430/J-35616-5 (PU)
  • Pins: 16, 22-24, 26,28-29, 34, 36
  • Terminal/Tray: 7114-4101-08/9
  • Core/Insulation Crimp: Pins: 23, 36 : E/A
  • Core/Insulation Crimp: Pin: 34 : C/A
  • Core/Insulation Crimp: Pins: 16, 22, 24, 26, 28-29 : See Terminal Repair Kit
  • Release Tool/Test Probe: 15315247/J-35616-3 (GY)
  • Pins: 9-11, 13-15, 17, 21, 25, 27
  • Terminal/Tray: 7114-4100-08/9
  • Core/Insulation Crimp: E/C
  • Release Tool/Test Probe: 15315247/J-35616-3 (GY)
  • Pins: 3, 5
  • Terminal/Tray: 7114-4122-02/9
  • Core/Insulation Crimp: A/B
  • Release Tool/Test Probe: 12094430/J-35616-43 (RD)
  • Pin: 43
  • Terminal/Tray: 7114-4112-02/9
  • Core/Insulation Crimp: C/D
  • Release Tool/Test Probe: 12094430/J-35616-5 (PU)

X315 Body Harness to Driver Seat Harness

Pin

Wire

Circuit No.

Function

Pin

Wire

Circuit No.

Function

1

1 OG

2098

Steering Column Telescope Motor Forward (N38)

1

1 OG

2098

Steering Column Telescope Motor Forward (N38)

2

0.8 L-BU

2433

Passenger Heated Seat Back Element Control (KA1)

2

0.8 L-BU

2433

Passenger Heated Seat Back Element Control (KA1)

3

3 RD/WH

1140

Battery Positive Voltage (AG1/AG3/AH5/A45)

3

3 RD/WH

1140

Battery Positive Voltage (AG1/AG3/AH5/A45)

4

--

--

Not Used

4

--

--

Not Used

5

3 BK

550

Ground (AG1/AG3/AH5/A45/KA1)

5

3 BK

550

Ground (AG1/AG3/AH5/A45/KA1)

6

--

--

Not Used

6

--

--

Not Used

7

1 TN

2110

Steering Column Telescope Motor Control - Reverse (N38)

7

1 TN

2110

Steering Column Telescope Motor Control - Reverse (N38)

8

0.35 TN

1686

Passenger Heated Seat Low Temperature Indicator Control (KA1-A45)

8

0.35 TN

1686

Passenger Heated Seat Low Temperature Indicator Control (KA1-A45)

9

0.35 GY

2434

Passenger Heated Seat Cushion Temperature Sensor Signal (KA1)

9

0.35 GY

2434

Passenger Heated Seat Cushion Temperature Sensor Signal (KA1)

10

0.35 RD/WH

3140

Battery Positive Voltage (A45)

10

0.35 RD/WH

3140

Battery Positive Voltage (A45)

11

0.35 D-GN

5016

Seat Belt Switch - Left - Signal

11

0.35 D-GN

5016

Seat Belt Switch - Left - Signal

12

--

--

Not Used

12

--

--

Not Used

13

0.35 L-BU

5476

Low Reference (KA1)

13

0.35 L-BU

5476

Low Reference (KA1)

14

0.35 PK

5057

Low Reference

14

0.35 PK

5057

Low Reference

15

0.35 TN

2436

Heated Seat Back Temperature Sensor Signal (KA1)

15

0.35 TN

2436

Heated Seat Back Temperature Sensor Signal (KA1)

16

0.35 GY

2096

Steering Column Tilt and Telescope Up Switch Signal (N38)

16

0.35 GY

2096

Steering Column Tilt and Telescope Up Switch Signal (N38)

17

0.35 TN

2482

Low Reference (KA1)

17

0.35 TN

2482

Low Reference (KA1)

18

0.35 D-BU

6180

Passenger Heated Seat Switch Back Cushion Signal (KA1-A45)

18

0.35 D-BU

6180

Passenger Heated Seat Switch Back Cushion Signal (KA1-A45)

19

0.35 L-BU

1662

Driver Heated Seat Low Temperature Indicator Control (KA1-A45)

19

0.35 L-BU

1662

Driver Heated Seat Low Temperature Indicator Control (KA1-A45)

20

0.35 D-GN

1661

Driver Heated Seat High Temperature Indicator Control (KA1-A45)

20

0.35 D-GN

1661

Driver Heated Seat High Temperature Indicator Control (KA1-A45)

21

0.35 D-GN

5060

Low Speed GMLAN Serial Data (A45/KA1)

21

0.35 D-GN

5060

Low Speed GMLAN Serial Data (A45/KA1)

22

0.35 OG

2153

Steering Column Telescope Sensor Signal (N38)

22

0.35 OG

2153

Steering Column Telescope Sensor Signal (N38)

23

0.8 PK

2480

Passenger Heated Seat Cushion Element Control (KA1)

23

0.8 PK

2480

Passenger Heated Seat Cushion Element Control (KA1)

24

0.35 YE

2097

Steering Column Tilt and Telescope Down Switch Signal (N38)

24

0.35 YE

2097

Steering Column Tilt and Telescope Down Switch Signal (N38)

25

0.35 GY

6206

Low Reference (N38)

25

0.35 GY

6206

Low Reference (N38)

26

0.35 PK

2094

Steering Column Tilt and Telescope Forward Switch Signal (N38)

26

0.35 PK

2094

Steering Column Tilt and Telescope Forward Switch Signal (N38)

27

0.35 TN

6207

5-Volt Reference (N38)

27

0.35 TN

6207

5-Volt Reference (N38)

28

0.35 OG

2095

Steering Column Tilt and Telescope Reverse Switch Signal (N38)

28

0.35 OG

2095

Steering Column Tilt and Telescope Reverse Switch Signal (N38)

29

0.35 OG

2154

Steering Column Tilt Sensor Signal (N38)

29

0.35 OG

2154

Steering Column Tilt Sensor Signal (N38)

30

0.35 BN

6173

Driver Heated Seat Switch Back Cushion LED (KA1-A45)

30

0.35 BN

6173

Driver Heated Seat Switch Back Cushion LED (KA1-A45)

31

0.35 D-BU

6172

Driver Heated Seat Switch Back Cushion Signal (KA1-A45)

31

0.35 D-BU

6172

Driver Heated Seat Switch Back Cushion Signal (KA1-A45)

32

1 PK

2111

Steering Column Tilt Motor Control - Up (N38)

32

1 PK

2111

Steering Column Tilt Motor Control - Up (N38)

33

0.35 PU

6174

Driver Heated Seat Switch Back LED (KA1-A45)

33

0.35 PU

6174

Driver Heated Seat Switch Back LED (KA1-A45)

34

1 BN

2112

Steering Column Tilt Motor Control - Down (N38)

34

1 BN

2112

Steering Column Tilt Motor Control - Down (N38)

35

0.35 GY

6175

Driver Heated Seat Switch Back Signal (KA1-A45)

35

0.35 GY

6175

Driver Heated Seat Switch Back Signal (KA1-A45)

36

0.8 D-BU

2479

Passenger Heated Seat Element Supply Voltage (KA1)

36

0.8 D-BU

2479

Passenger Heated Seat Element Supply Voltage (KA1)

37

0.35 WH/BK

6177

Driver Heated Seat Medium Indicator Control (KA1-A45)

37

0.35 WH/BK

6177

Driver Heated Seat Medium Indicator Control (KA1-A45)

38

0.35 YE

1685

Passenger Heated Seat High Temperature Indicator Control (KA1-A45)

38

0.35 YE

1685

Passenger Heated Seat High Temperature Indicator Control (KA1-A45)

39

0.35 BN

6179

Passenger Heated Seat Switch Back Cushion LED (KA1-A45)

39

0.35 BN

6179

Passenger Heated Seat Switch Back Cushion LED (KA1-A45)

40

0.35 PU

6181

Passenger Heated Seat Switch Back LED (KA1-A45)

40

0.35 PU

6181

Passenger Heated Seat Switch Back LED (KA1-A45)

41

0.35 GY

6182

Passenger Heated Seat Switch Back Signal (KA1-A45)

41

0.35 GY

6182

Passenger Heated Seat Switch Back Signal (KA1-A45)

42

0.35 WH/BK

6185

Passenger Heated Seat Medium Indicator Control (KA1-A45)

42

0.35 WH/BK

6185

Passenger Heated Seat Medium Indicator Control (KA1-A45)

43

1 RD/WH

640

Battery Positive Voltage (KA1-A45)

43

1 RD/WH

640

Battery Positive Voltage (KA1-A45)

2 RD/WH

4040

Battery Positive Voltage (N38)

2 RD/WH

4040

Battery Positive Voltage (N38)

X320 Body Harness to Headliner Harness (DNP/UD7/UE1)


Object Number: 1483282  Size: CH

Object Number: 1483279  Size: CH

Connector Part Information

  • OEM: 7283-6388-40
  • Service: See Catalog
  • Description: 20-Way F Unsealed (L-GY)

Connector Part Information

  • OEM: 7282-6568-40
  • Service: See Catalog
  • Description: 20-Way M YESC Unsealed (L-GY)

Terminal Part Information

  • Terminal/Tray: 7116-4720-02/14
  • Core/Insulation Crimp: Pins: 1-6, 10, 15-16 : H/H
  • Core/Insulation Crimp: Pins: 7-9 : J/J
  • Release Tool/Test Probe: 15315247/J-35616-64B (L-BU)

Terminal Part Information

  • Terminal/Tray: 7114-4720-02/14
  • Core/Insulation Crimp: J/J
  • Release Tool/Test Probe: 15315247/J-35616-65B (L-BU)

X320 Body Harness to Headliner Harness (DNP/UD7/UE1)

Pin

Wire

Circuit No.

Function

Pin

Wire

Circuit No.

Function

1

0.35 GY

1690

Automatic Day/Night Mirror Signal (DNP)

1

0.35 GY

1690

Automatic Day/Night Mirror Signal (DNP)

2

0.35 BK/RD

1691

Low Reference (DNP)

2

0.35 PK

1691

Low Reference (DNP)

3

0.35 WH

2370

Telltale Assembly Supply Voltage (UD7)

3

0.35 WH

2370

Telltale Assembly Supply Voltage (UD7)

4

0.35 OG

2371

Left Amber Indicator Control (UD7)

4

0.35 OG

2371

Left Amber Indicator Control (UD7)

5

0.35 D-BU

2372

Center Amber Indicator Control (UD7)

5

0.35 D-BU

2372

Center Amber Indicator Control (UD7)

6

0.35 GY

2373

Red Indicator Control (UD7)

6

0.35 GY

2373

Red Indicator Control (UD7)

7

0.5 BK/GN

2514

Keypad Signal (UE1)

7

0.35 D-GN/WH

2514

Keypad Signal (UE1)

8

0.5 BK/LG

2515

Keypad Supply Voltage (UE1)

8

0.35 L-GN/BK

2515

Keypad Supply Voltage (UE1)

9

0.5 BK/GY

2516

Keypad Green LED Signal (UE1)

9

0.35 YE/BK

2516

Keypad Green LED Signal (UE1)

10

0.35 BN/WH

2517

Keypad Red LED Signal (UE1)

10

0.35 BN/WH

2517

Keypad Red LED Signal (UE1)

11-14

--

--

Not Used

11-14

--

--

Not Used

15

0.35 BARE

514

Ground (UE1)

15

0.35 BARE

514

Ground (UE1)

16

0.35 GY

655

Cellular Microphone Signal (UE1)

16

0.35 GY

655

Cellular Microphone Signal (UE1)

17-20

--

--

Not Used

17-20

--

--

Not Used

X322 Body Harness to Headliner Harness


Object Number: 823290  Size: CH

Object Number: 1283905  Size: CH

Connector Part Information

  • OEM: 7283-6447-40
  • Service: 88956523
  • Description: 14-Way F Hybrid Series (L-GY)

Connector Part Information

  • OEM: 7282-6447-40
  • Service: 88956523
  • Description: 14-Way M Hybrid Series (L-GY)

Terminal Part Information

  • Pins: 2-3, 5, 9-12
  • Terminal/Tray: 7116-4100-08/9
  • Core/Insulation Crimp: E/C
  • Release Tool/Test Probe: 12094430/J-35616-2A (GY)
  • Pin: 4
  • Terminal/Tray: 7116-4101-08/9
  • Core/Insulation Crimp: E/A
  • Release Tool/Test Probe: 12094430/J-35616-2A (GY)
  • Pins: 7-8
  • Terminal/Tray: 7116-4111-02/9
  • Core/Insulation Crimp: Pin: 8 : E/A
  • Core/Insulation Crimp: Pin: 7 : See Terminal Repair Kit
  • Release Tool/Test Probe: 12094430/J-35616-4A (PU)
  • Pin: 14
  • Terminal/Tray: 7116-4112-02/9
  • Core/Insulation Crimp: C/D
  • Release Tool/Test Probe: 12094430/J-35616-35 (VT)

Terminal Part Information

  • Pin: 8
  • Terminal/Tray: 7114-4111-02/9
  • Core/Insulation Crimp: E/A
  • Release Tool/Test Probe: 12094430/J-35616-5 (PU)
  • Pin: 7
  • Terminal/Tray: 7114-4110-02/9
  • Core/Insulation Crimp: E/C
  • Release Tool/Test Probe: 12094430/J-35616-5 (PU)
  • Pin: 4
  • Terminal/Tray: 7114-4101-08/9
  • Core/Insulation Crimp: E/A
  • Release Tool/Test Probe: 15315247/J-35616-3 (GY)
  • Pins: 2-3, 5, 9-12
  • Terminal/Tray: 7114-4100-08/9
  • Core/Insulation Crimp: E/C
  • Release Tool/Test Probe: 15315247/J-35616-3 (GY)
  • Pins: 1, 14
  • Terminal/Tray: 7114-4112-02/9
  • Core/Insulation Crimp: C/D
  • Release Tool/Test Probe: 12094430/J-35616-5 (PU)

X322 Body Harness to Headliner Harness

Pin

Wire

Circuit No.

Function

Pin

Wire

Circuit No.

Function

1

3 RD/WH

3440

Battery Positive Voltage (C3U)

1

3 RD/WH

3440

Battery Positive Voltage (C3U)

2

0.5 BK/WH

24

Backup Lamp Supply Voltage (DD7/DD8)

2

0.5 L-GN

24

Backup Lamp Supply Voltage (DD7/DD8)

3

0.35 BK/YE

43

Ignition I/II Voltage (DD7/DD8)

3

0.35 YE

43

Ignition I/II Voltage (C3U/DD7/DD8)

0.35 YE

43

Ignition I/II Voltage (C3U)

4

0.8 OG

1732

Courtesy Lamps Supply Voltage

4

0.8 OG

1732

Courtesy Lamps Supply Voltage

5

0.5 PK

5829

Infra Red Module Supply Voltage (U42)

5

0.35 PK

5829

Infra Red Module Supply Voltage (U42)

6

--

--

Not Used

6

--

--

Not Used

7

0.5 BK/WH

351

Ground (U42)

7

0.5 BK/WH

351

Ground (U42)

0.5 BK/WH

351

Ground (U42)

8

0.8 GY/BK

690

Courtesy Lamp High Control

8

0.8 GY/BK

690

Courtesy Lamp High Control

9

0.35 GY

8

Instrument Panel Lamp Supply Voltage (UG1/C3U)

9

0.35 GY

8

Instrument Panel Lamp Supply Voltage (UG1/C3U)

10

0.5 RD/WH

2340

Battery Positive Voltage (U42)

10

0.5 RD/WH

2340

Battery Positive Voltage (U42)

11

0.35 RD/WH

3140

Battery Positive Voltage (UG1)

11

0.35 RD/WH

3140

Battery Positive Voltage (UG1)

12

0.35 PU/WH

1382

LED Dimming Signal

12

0.35 PU/WH

1382

LED Dimming Signal

13

--

--

Not Used

13

--

--

Not Used

14

3 BK

850

Ground

14

3 BK

850

Ground

X340 Floor Console Harness to Body Harness


Object Number: 1576566  Size: CH

Object Number: 1576562  Size: CH

Connector Part Information

  • OEM: 7283-4190-30
  • Service: See Catalog
  • Description: 43-Way F YESC Unsealed Series (BK)

Connector Part Information

  • OEM: 7282-4190-30
  • Service: See Catalog
  • Description: 43-Way M YESC Unsealed Series (BK)

Terminal Part Information

  • Pins: 1, 32
  • Terminal/Tray: 7116-4110-02/9
  • Core/Insulation Crimp: E/C
  • Release Tool/Test Probe: 12094430/J-35616-4A (PU)
  • Pin: 3
  • Terminal/Tray: 7116-4120-02/9
  • Core/Insulation Crimp: E/B
  • Release Tool/Test Probe: 12094430/J-35616-42 (RD)
  • Pins: 2, 8-15, 17, 20-22, 24-29, 33-40
  • Terminal/Tray: 7116-4100-08/9
  • Core/Insulation Crimp: Pins: 8-15, 17, 20-22, 24-29, 33-40 : E/C
  • Core/Insulation Crimp: Pin: 2 : See Terminal Repair Kit
  • Release Tool/Test Probe: 12094430/J-35616-2A (GY)
  • Pins: 7, 16, 23, 43
  • Terminal/Tray: 7116-4101-08/9
  • Core/Insulation Crimp: Pins: 7, 43 : E/A
  • Core/Insulation Crimp: Pins: 16, 23 : See Terminal Repair Kit
  • Release Tool/Test Probe: 12094430/J-35616-2A (GY)
  • Pin: 5
  • Terminal/Tray: 7116-4122-02/10
  • Core/Insulation Crimp: A/B
  • Release Tool/Test Probe: 12094430/J-35616-42 (RD)

Terminal Part Information

  • Pins: 2-3, 7
  • Terminal/Tray: 7114-4111-02/9
  • Core/Insulation Crimp: Pins: 2, 7 : E/A
  • Core/Insulation Crimp: Pin: 3 : C/A
  • Release Tool/Test Probe: 12094430/J-35616-5 (PU)
  • Pins: 1, 8-17, 20-29, 32-40, 42
  • Terminal/Tray: 7114-4100-02/9
  • Core/Insulation Crimp: E/C
  • Release Tool/Test Probe: 15315247/J-35616-3 (GY)
  • Pin: 5
  • Terminal/Tray: 7114-4122-02/9
  • Core/Insulation Crimp: A/B
  • Release Tool/Test Probe: 12094430/J-35616-43 (RD)
  • Pin: 43
  • Terminal/Tray: 7116-4150-02/9
  • Core/Insulation Crimp: See Terminal Repair Kit
  • Release Tool/Test Probe: 12094430/J-35616-4A (PU)

X340 Floor Console Harness to Body Harness

Pin

Wire

Circuit No.

Function

Pin

Wire

Circuit No.

Function

1

0.5 BK/WH

351

Ground (UK6)

1

0.5 BK/WH

351

Ground (UK6)

2

0.8 D-BU

6807

120 VAC Inverter Control (KV1)

2

0.8 D-BU

6807

120 VAC Inverter Control (KV1)

3

1 RD/WH

2540

Battery Positive Voltage

3

1 RD/WH

2540

Battery Positive Voltage

4

--

--

Not Used

4

--

--

Not Used

5

3 BK

750

Ground

5

3 BK

750

Ground

6

--

--

Not Used

6

--

--

Not Used

7

0.8 RD

5684

120 VAC Phase B (KV1)

7

0.8 RD

5684

120 VAC Phase B (KV1)

8

0.5 RD/WH

2340

Battery Positive Voltage (UK6)

8

0.5 RD/WH

2340

Battery Positive Voltage (UK6)

9

0.35 D-GN

6112

Power Liftgate On/Off Switch Signal (E61)

9

0.35 D-GN

6112

Power Liftgate On/Off Switch Signal (E61)

10

0.35 GY

8

Instrument Panel Lamp Supply Voltage

10

0.35 GY

8

Instrument Panel Lamp Supply Voltage

11

0.35 BN

6173

Driver Heated Seat Switch Back Cushion LED (KA1)

11

0.35 BN

6173

Driver Heated Seat Switch Back Cushion LED (KA1)

12

0.35 TN

1686

Passenger Heated Seat Low Temperature Indicator Control (KA1)

12

0.35 TN

1686

Passenger Heated Seat Low Temperature Indicator Control (KA1)

13

0.35 PU

6174

Driver Heated Seat Switch Back LED (KA1)

13

0.35 PU

6174

Driver Heated Seat Switch Back LED (KA1)

14

0.35 YE

1685

Passenger Heated Seat High Temperature Indicator Control (KA1)

14

0.35 YE

1685

Passenger Heated Seat High Temperature Indicator Control (KA1)

15

0.35 D-GN/WH

5800

Liftgate Open/Close Switch Signal (E61)

15

0.35 D-GN/WH

5800

Liftgate Open/Close Switch Signal (E61)

16

0.35 PU/WH

6816

Heated Seat Indicator Dimming (KA1)

16

0.35 PU/WH

6816

Heated Seat Indicator Dimming (KA1-A45)

0.35 PU/WH

6816

Heated Seat Indicator Dimming (KA1)

17

0.35 GY

6175

Driver Heated Seat Switch Back Signal (KA1)

17

0.35 GY

6175

Driver Heated Seat Switch Back Signal (KA1)

18-19

--

--

Not Used

18-19

--

--

Not Used

20

0.35 PU/WH

1382

LED Dimming Signal

20

0.35 PU/WH

1382

LED Dimming Signal

21

0.35 PK

5829

Infra Red Module Supply Voltage (U42)

21

0.35 PK

5829

Infra Red Module Supply Voltage (U42)

22

0.35 D-GN

5060

Low Speed GMLAN Serial Data (UK6)

22

0.35 D-GN

5060

Low Speed GMLAN Serial Data (UK6)

23

0.35 YE

43

Ignition I/II Voltage

23

0.35 YE

43

Ignition I/II Voltage

0.35 YE

43

Ignition I/II Voltage (KV1)

24

0.35 BN

6179

Passenger Heated Seat Switch Back Cushion LED (KA1)

24

0.35 BN

6179

Passenger Heated Seat Switch Back Cushion LED (KA1)

25

0.35 D-GN

1661

Driver Heated Seat High Temperature Indicator Control (KA1)

25

0.35 D-GN

1661

Driver Heated Seat High Temperature Indicator Control (KA1)

26

0.35 D-BU

6180

Passenger Heated Seat Switch Back Cushion Signal (KA1)

26

0.35 D-BU

6180

Passenger Heated Seat Switch Back Cushion Signal (KA1)

27

0.35 PU

6181

Passenger Heated Seat Switch Back LED (KA1)

27

0.35 PU

6181

Passenger Heated Seat Switch Back LED (KA1)

28

0.35 BN/WH

1571

Traction Control Switch Signal

28

0.35 BN/WH

1571

Traction Control Switch Signal

29

0.5 GY/BK

1798

Low Reference (-UK6)

29

0.5 GY/BK

1798

Low Reference (-UK6)

30-31

--

--

Not Used

30-31

--

--

Not Used

32

0.5 GY

596

5-Volt Reference (-UK6)

32

0.5 GY

596

5-Volt Reference (-UK6)

33

0.35 GY

6182

Passenger Heated Seat Switch Back Signal (KA1)

33

0.35 GY

6182

Passenger Heated Seat Switch Back Signal (KA1)

34

0.35 L-BU

1662

Driver Heated Seat Low Temperature Indicator Control (KA1)

34

0.35 L-BU

1662

Driver Heated Seat Low Temperature Indicator Control (KA1)

35

0.35 WH/BK

6185

Passenger Heated Seat Medium Indicator Control (KA1)

35

0.35 WH/BK

6185

Passenger Heated Seat Medium Indicator Control (KA1)

36

0.5 YE

2214

Auxiliary Air Temperature Door Control (-UK6)

36

0.5 YE

2214

Auxiliary Air Temperature Door Control (-UK6)

37

0.5 OG

2615

Auxiliary Mode Door Control (-UK6)

37

0.5 OG

2615

Auxiliary Mode Door Control (-UK6)

38

0.5 PU/WH

760

Auxiliary Blower Motor Speed Control (-UK6)

38

0.5 PU/WH

760

Auxiliary Blower Motor Speed Control (-UK6)

39

0.35 WH/BK

6177

Driver Heated Seat Medium Indicator Control (KA1)

39

0.35 WH/BK

6177

Driver Heated Seat Medium Indicator Control (KA1)

40

0.35 D-BU

6172

Driver Heated Seat Switch Back Cushion Signal (KA1)

40

0.35 D-BU

6172

Driver Heated Seat Switch Back Cushion Signal (KA1)

41

--

--

Not Used

41

--

--

Not Used

42

0.35 WH

2283

Rear Wiper/Washer Switch Supply Voltage (W49)

42

0.35 WH

2283

Rear Wiper/Washer Switch Supply Voltage (W49)

43

0.8 BK

5683

120 VAC Phase A (KV1)

43

0.8 BK

5683

120 VAC Phase A (KV1)

X341 Floor Console Harness to A/T Shifter Harness


Object Number: 62439  Size: CH

Object Number: 62434  Size: CH

Connector Part Information

  • OEM: 12047886
  • Service: 12101822
  • Description: 8-Way F Metri-Pack 150 Series (BK)

Connector Part Information

  • OEM: 12045688
  • Service: 12101827
  • Description: 8-Way M Metri-Pack 150 Series (BK)

Terminal Part Information

  • Terminal/Tray: 12064971/5
  • Core/Insulation Crimp: E/C
  • Release Tool/Test Probe: 12094429/J-35616-14 (GN)

Terminal Part Information

  • Terminal/Tray: See Terminal Repair Kit
  • Core/Insulation Crimp: See Terminal Repair Kit
  • Release Tool/Test Probe: See Terminal Repair Kit

X341 Floor Console Harness to A/T Shifter Harness

Pin

Wire

Circuit No.

Function

Pin

Wire

Circuit No.

Function

A

0.35 YE

43

Ignition I/II Voltage

A

0.35 WH

--

Ignition I/II Voltage

B

0.35 PU/WH

1630

Steering Column Key Cylinder Lock Solenoid Control

B

0.35 WH

--

Steering Column Key Cylinder Lock Solenoid Control

C

0.35 GY

8

Instrument Panel Lamp Supply Voltage

C

0.35 BU

--

Instrument Panel Lamp Supply Voltage

D

0.35 BK

750

Ground

D

0.35 BU

--

Ground

E

0.35 D-GN/WH

1135

A/T Shift Lock Control Solenoid Supply Voltage

E

0.35 BK

--

A/T Shift Lock Control Solenoid Supply Voltage

F

0.35 BK

750

Ground

F

0.35 BK

--

Ground

G

0.35 PU

1375

Remote Radio Control Supply Voltage

G

0.35 GN

--

Remote Radio Control Supply Voltage

H

0.35 PU

5526

Shift Request Switch Signal

H

0.35 GN

--

Shift Request Switch Signal

X343 Overhead Console Harness to Headliner Harness


Object Number: 1592558  Size: CH

Object Number: 1483278  Size: CH

Connector Part Information

  • OEM: 7283-6453-60
  • Service: See Catalog
  • Description: 16-Way F Kaizen YESC Series, Unsealed (GN)

Connector Part Information

  • OEM: 7282-6453-60
  • Service: See Catalog
  • Description: 16-Way M Kaizen YESC Series (GN)

Terminal Part Information

  • Pins: 1, 6-7, 9-10, 13, 16
  • Terminal/Tray: 7116-4100-08/9
  • Core/Insulation Crimp: E/C
  • Release Tool/Test Probe: 12094430/J-35616-2A (GY)
  • Pin: 8
  • Terminal/Tray: 7116-4101-08/9
  • Core/Insulation Crimp: See Terminal Repair Kit
  • Release Tool/Test Probe: 12094430/J-35616-2A (GY)

Terminal Part Information

  • Pins: 1, 13
  • Terminal/Tray: 7114-4101-08/9
  • Core/Insulation Crimp: E/A
  • Release Tool/Test Probe: 15315247/J-35616-3 (GY)
  • Pins: 2-3, 7-10, 14-16
  • Terminal/Tray: 7114-4100-08/9
  • Core/Insulation Crimp: E/C
  • Release Tool/Test Probe: 15315247/J-35616-3 (GY)
  • Pin: 6
  • Terminal/Tray: 12191812/19
  • Core/Insulation Crimp: E/C
  • Release Tool/Test Probe: 15315247/J-35616-2A (GY)

X343 Overhead Console Harness to Headliner Harness

Pin

Wire

Circuit No.

Function

Pin

Wire

Circuit No.

Function

1

0.5 OG

1732

Courtesy Lamps Supply Voltage

1

0.8 OG

1732

Courtesy Lamps Supply Voltage

2

0.35 BN

100

Sunroof Switch Open Signal (C3U)

2

0.35 BN

100

Sunroof Switch Open Signal (C3U)

3

0.35 OG

110

Sunroof Switch Close Signal (C3U)

3

0.35 OG

110

Sunroof Switch Close Signal (C3U)

4-5

--

--

Not Used

4-5

--

--

Not Used

6

0.35 RD/WH

3140

Battery Positive Voltage (UG1)

6

0.5 RD/WH

3140

Battery Positive Voltage (UG1)

7

0.35 PU/WH

1382

LED Dimming Signal

7

0.35 PU/WH

1382

LED Dimming Signal

8

0.5 BK

850

Ground

8

0.5 BK

850

Ground

0.5 BK

850

Ground (DH6)

9

0.35 BARE

514

Ground (UE1)

9

0.35 BARE

514

Ground (UE1)

10

0.35 GY

655

Cellular Microphone Signal (UE1)

10

0.35 GY

655

Cellular Microphone Signal (UE1)

11-12

--

--

Not Used

11-12

--

--

Not Used

13

0.5 GY/BK

690

Courtesy Lamp High Control

13

0.8 GY/BK

690

Courtesy Lamp High Control

14

0.35 L-BU

5304

Front Sunshade Switch Open Signal (C3U)

14

0.35 L-BU

5304

Front Sunshade Switch Open Signal (C3U)

15

0.35 YE

5305

Front Sunshade Switch Close Signal (C3U)

15

0.35 YE

5305

Front Sunshade Switch Close Signal (C3U)

16

0.35 GY

8

Instrument Panel Lamp Supply Voltage (C3U/UG1)

16

0.5 GY

8

Instrument Panel Lamp Supply Voltage (C3U/UG1)

X351 Rear HVAC Harness to Body Harness


Object Number: 813079  Size: CH

Object Number: 813080  Size: CH

Connector Part Information

  • OEM: 15336205
  • Service: 88986267
  • Description: 12-Way F GT Mixed (BK)

Connector Part Information

  • OEM: 15336209
  • Service: 88986259
  • Description: 12-Way M GT Mixed (BK)

Terminal Part Information

  • Terminal/Tray: See Terminal Repair Kit
  • Core/Insulation Crimp: See Terminal Repair Kit
  • Release Tool/Test Probe: See Terminal Repair Kit

Terminal Part Information

  • Pins: B-E, H, J-K
  • Terminal/Tray: 15304702/19
  • Core/Insulation Crimp: E/4
  • Release Tool/Test Probe: 15315247/J-35616-3 (GY)
  • Pins: F-G
  • Terminal/Tray: 15304722/8
  • Core/Insulation Crimp: E/C
  • Release Tool/Test Probe: 15315247/J-35616-5 (PU)
  • Pins: A, M
  • Terminal/Tray: 15304724/8
  • Core/Insulation Crimp: Pin: M : A/D
  • Core/Insulation Crimp: Pin: A : C/D
  • Release Tool/Test Probe: 15315247/J-35616-5 (PU)

X351 Rear HVAC Harness to Body Harness

Pin

Wire

Circuit No.

Function

Pin

Wire

Circuit No.

Function

A

3 RD/WH

2640

Battery Positive Voltage

A

2 RD/WH

2640

Battery Positive Voltage

B

0.35 L-BN

5729

Auxiliary Mode Motor Supply Voltage

B

0.5 L-GN/WH

5729

Auxiliary Mode Motor Supply Voltage

C

0.35 OG

2215

Auxiliary Mode Door Control

C

0.5 OG

2215

Auxiliary Mode Door Control

D

0.35 GY

2614

Auxiliary Air Temperature Door Control

D

0.5 GY

2614

Auxiliary Air Temperature Door Control

E

0.35 GY

2599

Auxiliary Mode Door Control

E

0.5 GY

2599

Auxiliary Mode Door Control

F

0.35 GY

596

5-Volt Reference

F

0.5 GY

596

5-Volt Reference

0.35 GY

596

5-Volt Reference

G

0.35 GY/BK

1798

Low Reference

G

0.5 GY/BK

1798

Low Reference

0.35 GY/BK

1798

Low Reference

H

0.35 PK

2145

Air Temperature Switch Signal - Right

H

0.5 PK

2145

Air Temperature Switch Signal - Right

J

0.35 D-GN

2211

Auxiliary Blower Motor Speed Control

J

0.5 D-GN

2211

Auxiliary Blower Motor Speed Control

K

0.35 BN

6555

Auxiliary Temperature Motor Supply Voltage

K

0.5 BN

6555

Auxiliary Temperature Motor Supply Voltage

L

--

--

Not Used

L

--

--

Not Used

M

3 BK

850

Ground

M

3 BK

850

Ground

X380 Body Harness to Auxiliary Power Outlet - Rear Console Harness (DK1)


Object Number: 888601  Size: CH

Object Number: 897985  Size: CH

Connector Part Information

  • OEM: 7283-5548-30
  • Service: 88953306
  • Description: 2-Way F YESC Weather Pack (BK)

Connector Part Information

  • OEM: 7282-5548-30
  • Service: 88953303
  • Description: 2-Way M YESC Weather Pack (BK)

Terminal Part Information

  • Terminal/Tray: See Terminal Repair Kit
  • Core/Insulation Crimp: See Terminal Repair Kit
  • Release Tool/Test Probe: See Terminal Repair Kit

Terminal Part Information

  • Terminal/Tray: 7114-4103-08/9
  • Core/Insulation Crimp: E/1
  • Release Tool/Test Probe: 12094430/J-35616-3 (GY)

X380 Body Harness to Auxiliary Power Outlet - Rear Console Harness (DK1)

Pin

Wire

Circuit No.

Function

Pin

Wire

Circuit No.

Function

1

1 RD/WH

140

Battery Positive Voltage

1

1 RD/WH

140

Battery Positive Voltage

2

1 BK

750

Ground

2

1 BK

750

Ground

X398 Headliner Harness to Sunroof Harness (C3U)


Object Number: 1851891  Size: CH

Object Number: 823292  Size: CH

Connector Part Information

  • OEM: 7283-6459-40
  • Service: See Catalog
  • Description: 10-Way F YESC Kaizen Series, Unsealed (L-GY)

Connector Part Information

  • OEM: 7282-5621-40
  • Service: See Catalog
  • Description: 10-Way M YESC Kaizen Series, Unsealed (L-GY)

Terminal Part Information

  • Pins: 1, 5
  • Terminal/Tray: 7116-4112-02/9
  • Core/Insulation Crimp: C/D
  • Release Tool/Test Probe: 12094430/J-35616-35 (VT)
  • Pins: 2-3, 7-8
  • Terminal/Tray: 7116-4100-08/9
  • Core/Insulation Crimp: E/C
  • Release Tool/Test Probe: 12094430/J-35616-2A (GY)
  • Pin: 6
  • Terminal/Tray: 7116-4110-02/9
  • Core/Insulation Crimp: E/C
  • Release Tool/Test Probe: 12094430/J-35616-4A (PU)

Terminal Part Information

  • Pins: 1, 5
  • Terminal/Tray: 7114-4112-02/9
  • Core/Insulation Crimp: C/D
  • Release Tool/Test Probe: 12094430/J-35616-5 (PU)
  • Pins: 2, 3, 7-10
  • Terminal/Tray: 7114-4100-08/9
  • Core/Insulation Crimp: E/C
  • Release Tool/Test Probe: 15315247/J-35616-3 (GY)
  • Pins: 6
  • Terminal/Tray: 7114-4110-02/9
  • Core/Insulation Crimp: E/C
  • Release Tool/Test Probe: 12094430/J-35616-5 (PU)

X398 Headliner Harness to Sunroof Harness (C3U)

Pin

Wire

Circuit No.

Function

Pin

Wire

Circuit No.

Function

1

3 BK

850

Ground

1

3 BK

850

Ground

2

0.35 BN

100

Sunroof Switch Open Signal

2

0.35 BN

100

Sunroof Switch Open Signal

3

0.35 OG

110

Sunroof Switch Close Signal

3

0.35 OG

110

Sunroof Switch Close Signal

4

--

--

Not Used

4

--

--

Not Used

5

3 RD/WH

3440

Battery Positive Voltage

5

3 RD

3440

Battery Positive Voltage

6

0.35 YE

43

Ignition I/II Voltage

6

0.35 YE

43

Ignition I/II Voltage

7

0.35 L-BU

5304

Front Sunshade Switch Open Signal

7

0.35 D-BU

5304

Front Sunshade Switch Open Signal

8

0.35 YE

5305

Front Sunshade Switch Close Signal

8

0.35 YE/BK

5305

Front Sunshade Switch Close Signal

9

--

--

Not Used

9

PU

--

Serial Communication

10

--

--

Not Used

10

WH

--

Serial Communication

X405 Body Harness to Rear Chassis Harness


Object Number: 864925  Size: CH

Object Number: 646362  Size: CH

Connector Part Information

  • OEM: 12176335
  • Service: See Catalog
  • Description: 8-Way F Metri-Pack Mixed Series, Sealed (L-GY)
  • OEM: 12162144
  • Service: 12102741
  • Description: 4-Way F 150 Metri-Pack Series, Sealed (L-GY)
  • OEM: 12146439
  • Service: 12146439
  • Description: 4-Way F 150 Series, Sealed (BK)

Connector Part Information

  • OEM: 15490621
  • Service: See Catalog
  • Description: 16-Way M Metri-Pack Mixed Series, Sealed (L-GY)

Terminal Part Information

  • Terminal/Tray: See Terminal Repair Kit
  • Core/Insulation Crimp: See Terminal Repair Kit
  • Release Tool/Test Probe: See Terminal Repair Kit

Terminal Part Information

  • Pins: 1A, 1B, 1C, 1D, 2A, 2B
  • Terminal/Tray: 12045773/2
  • Core/Insulation Crimp: E/1
  • Release Tool/Test Probe: 12094429/J-35616-3 (GY)
  • Pins: 3C, 3B, 3D
  • Terminal/Tray: 12048159/2
  • Core/Insulation Crimp: Pin: 3C : See Terminal Repair Kit
  • Core/Insulation Crimp: Pins: 3B, 3D : 2/5
  • Release Tool/Test Probe: 12094430/J-35616-5 (PU)

X405 Body Harness to Rear Chassis Harness

Pin

Wire

Circuit No.

Function

Pin

Wire

Circuit No.

Function

A

0.5 BN

882

Right Rear Wheel Speed Sensor Signal

1A

0.5 BN

882

Right Rear Wheel Speed Sensor Signal

B

0.5 WH

883

Low Reference

1B

0.5 WH

883

Low Reference

C

0.5 TN

884

Left Rear Wheel Speed Sensor Signal

1C

0.5 TN

884

Left Rear Wheel Speed Sensor Signal

D

0.5 OG

885

Low Reference

1D

0.5 OG

885

Low Reference

A

0.35 TN/BK

2500

High Speed GMLAN Serial Data Bus+

2A

0.35 TN/BK

2500

High Speed GMLAN Serial Data Bus+

B

0.35 TN

2501

High Speed GMLAN Serial Data Bus-

2B

0.35 TN

2501

High Speed GMLAN Serial Data Bus-

C-D

--

--

Not Used

2C-2D

--

--

Not Used

A

--

--

Not Used

3A

--

--

Not Used

B

0.5 RD/WH

1740

Battery Positive Voltage (MH6)

3B

0.5 RD/WH

1740

Battery Positive Voltage (MH6)

C

0.35 L-BU

5986

Communication Enable (MH6)

3C

0.35 L-BU

5986

Communication Enable (MH6)

D

0.5 BK

650

Ground (MH6)

3D

0.5 BK

650

Ground (MH6)

E-H

--

--

Not Used

3E-3H

--

--

Not Used

X440 Body Harness to Rear Bumper Harness (UD7)


Object Number: 1420541  Size: CH

Object Number: 1420650  Size: CH

Connector Part Information

  • OEM: 7283-5684-10
  • Service: See Catalog
  • Description: 8-Way F YESC/USCAR Class III Series (D-GY)

Connector Part Information

  • OEM: 7282-5684-10
  • Service: See Catalog
  • Description: 8-Way M YESC/USCAR Class III Series, Sealed (D-GY)

Terminal Part Information

  • Terminal/Tray: 7116-4102-08/9
  • Core/Insulation Crimp: E/1
  • Release Tool/Test Probe: 12094430/J-35616-2A (GY)

Terminal Part Information

  • Terminal/Tray: 7114-4102-08/9
  • Core/Insulation Crimp: E/1
  • Release Tool/Test Probe: 12094430/J-35616-3 (GY)

X440 Body Harness to Rear Bumper Harness (UD7)

Pin

Wire

Circuit No.

Function

Pin

Wire

Circuit No.

Function

1

0.35 D-BU

2374

Object Sensor Supply Voltage

1

0.35 D-BU

2374

Object Sensor Supply Voltage

2

--

--

Not Used

2

--

--

Not Used

3

0.35 YE

2375

LR Corner Object Sensor Signal

3

0.35 YE

2375

LR Corner Object Sensor Signal

4

0.35 OG

2376

LR Middle Object Sensor Signal

4

0.35 OG

2376

LR Middle Object Sensor Signal

5

0.35 D-GN

2377

RR Middle Object Sensor Signal

5

0.35 D-GN

2377

RR Middle Object Sensor Signal

6

--

--

Not Used

6

--

--

Not Used

7

0.35 GY

2379

Low Reference

7

0.35 GY

2379

Low Reference

8

0.35 PU

2378

RR Corner Object Sensor Signal

8

0.35 PU

2378

RR Corner Object Sensor Signal

X442 Body Harness to Trailer Harness


Object Number: 1420541  Size: CH

Object Number: 1856785  Size: CH

Connector Part Information

  • OEM: 7283-5574-10
  • Service: See Catalog
  • Description: 8-Way F 2.8 Series, Sealed (D-GY)

Connector Part Information

  • OEM: 7282-5574-10
  • Service: See Catalog
  • Description: 8-Way M 2.8 Series, Sealed (D-GY)

Terminal Part Information

  • Pins: 2-4, 6, 8
  • Terminal/Tray: 7116-4150-02/9
  • Core/Insulation Crimp: E/1
  • Release Tool/Test Probe: 12094430/J-35616-4A (PU)
  • Pins: 1, 5, 8
  • Terminal/Tray: 7116-4152-02/9
  • Core/Insulation Crimp: 2/5
  • Release Tool/Test Probe: 12094430/J-35616-35 (VT)

Terminal Part Information

  • Pins: 2-4, 6, 8
  • Terminal/Tray: 7114-4150-02/9
  • Core/Insulation Crimp: E/1
  • Release Tool/Test Probe: 12094430/J-35616-5 (PU)
  • Pins: 1, 5, 8
  • Terminal/Tray: 7114-4152-02/9
  • Core/Insulation Crimp: 2/5
  • Release Tool/Test Probe: 12094430/J-35616-5 (PU)

X442 Body Harness to Trailer Harness

Pin

Wire

Circuit No.

Function

Pin

Wire

Circuit No.

Function

1

2 RD/BK

542

Battery Positive Voltage (V92)

1

2 RD/BK

542

Battery Positive Voltage (V92)

2

0.5 YE

1618

Stop Lamp Supply Voltage

2

0.5 YE

1618

Stop Lamp Supply Voltage

3

0.5 L-GN

1624

Trailer Backup Lamps Supply Voltage (V92)

3

0.5 L-GN

1624

Trailer Backup Lamps Supply Voltage (V92)

4

0.5 BN

2109

Trailer Park Lamps Supply Voltage

4

0.5 BN

2109

Trailer Park Lamps Supply Voltage

5

2 D-BU

47

Trailer Auxiliary Supply Voltage (V92)

5

2 D-BU

47

Trailer Auxiliary Supply Voltage (V92)

6

0.5 D-GN

1619

Stop Lamp Supply Voltage

6

0.5 D-GN

1619

Stop Lamp Supply Voltage

7

--

--

Not Used

7

--

--

Not Used

8

2 BK

850

Ground (V92)

8

2 BK

850

Ground (V92)

0.5 BK

850

Ground (-V92)

0.5 BK

850

Ground (-V92)

X450 Body Harness to Right Tail Lamp Harness (W49)


Object Number: 646415  Size: CH

Object Number: 632353  Size: CH

Connector Part Information

  • OEM: 15326808
  • Service: See Catalog
  • Description: 3-Way F GT 150 Series, Sealed (BK)

Connector Part Information

  • OEM: 15326813
  • Service: 15326813
  • Description: 3-Way F GT 150 Series, Sealed (BK)

Terminal Part Information

  • Terminal/Tray: 12191819/8
  • Core/Insulation Crimp: Pins: A, C : 2/A
  • Core/Insulation Crimp: Pin: B : E/A
  • Release Tool/Test Probe: 15315247/J-35616-2A (GY)

Terminal Part Information

  • Terminal/Tray: See Terminal Repair Kit
  • Core/Insulation Crimp: See Terminal Repair Kit
  • Release Tool/Test Probe: See Terminal Repair Kit

X450 Body Harness to Right Tail Lamp Harness (W49)

Pin

Wire

Circuit No.

Function

Pin

Wire

Circuit No.

Function

A

0.8 D-GN

19

Right Rear Stop/Turn Lamp Supply Voltage

A

0.8 D-GN

19

Right Rear Stop/Turn Lamp Supply Voltage

B

0.5 BN/WH

309

Right Park Lamp Supply Voltage

B

0.5 BN/WH

309

Right Park Lamp Supply Voltage

C

0.8 BK

850

Ground

C

0.8 BK

850

Ground

X450 Body Harness to Right Tail Lamp Harness (WDA)


Object Number: 1862095  Size: CH

Object Number: 1870038  Size: CH

Connector Part Information

  • OEM: 33471-0301
  • Service: See Catalog
  • Description: 3-Way F MX150 Series (BK)

Connector Part Information

  • OEM: 33481-0301
  • Service: See Catalog
  • Description: 3-Way M MX150 Series (BK)

Terminal Part Information

  • Terminal/Tray: 33012-1002/26
  • Core/Insulation Crimp: Pin: 2 : E/C
  • Core/Insulation Crimp: Pins: 1, 3 : 2/C
  • Release Tool/Test Probe: 12094429/J-35616-14 (GN)

Terminal Part Information

  • Terminal/Tray: See Terminal Repair Kit
  • Core/Insulation Crimp: See Terminal Repair Kit
  • Release Tool/Test Probe: See Terminal Repair Kit

X450 Body Harness to Right Tail Lamp Harness (WDA)

Pin

Wire

Circuit No.

Function

Pin

Wire

Circuit No.

Function

1

0.8 BK

850

Ground

1

BK

--

Ground

2

0.5 BN/WH

309

Right Park Lamp Supply Voltage

2

L-BU

--

Right Park Lamp Supply Voltage

3

0.8 D-GN

19

Right Rear Stop/Turn Lamp Supply Voltage

3

RD

--

Right Rear Stop/Turn Lamp Supply Voltage

X451 Body Harness to Left Tail Lamp Harness (W49)


Object Number: 646415  Size: CH

Object Number: 632353  Size: CH

Connector Part Information

  • OEM: 15326808
  • Service: See Catalog
  • Description: 3-Way F GT 150 Series, Sealed (BK)

Connector Part Information

  • OEM: 15326813
  • Service: 15326813
  • Description: 3-Way F GT 150 Series, Sealed (BK)

Terminal Part Information

  • Terminal/Tray: 12191819/8
  • Core/Insulation Crimp: Pins: A, C : 2/A
  • Core/Insulation Crimp: Pin: B : E/A
  • Release Tool/Test Probe: 15315247/J-35616-2A (GY)

Terminal Part Information

  • Terminal/Tray: See Terminal Repair Kit
  • Core/Insulation Crimp: See Terminal Repair Kit
  • Release Tool/Test Probe: See Terminal Repair Kit

X451 Body Harness to Left Tail Lamp Harness (W49)

Pin

Wire

Circuit No.

Function

Pin

Wire

Circuit No.

Function

A

0.8 YE

18

Left Rear Stop/Turn Lamp Supply Voltage

A

0.8 YE

18

Left Rear Stop/Turn Lamp Supply Voltage

B

0.5 PU

709

Left Park Lamp Supply Voltage

B

0.5 PU

709

Left Park Lamp Supply Voltage

C

0.8 BK

650

Ground

C

0.8 BK

650

Ground

X451 Body Harness to Left Tail Lamp Harness (WDA)


Object Number: 1862095  Size: CH

Object Number: 1870038  Size: CH

Connector Part Information

  • OEM: 33471-0301
  • Service: See Catalog
  • Description: 3-Way F MX150 Series (BK)

Connector Part Information

  • OEM: 33481-0301
  • Service: See Catalog
  • Description: 3-Way M MX150 Series (BK)

Terminal Part Information

  • Terminal/Tray: 33012-1002/26
  • Core/Insulation Crimp: Pin: 2 : E/C
  • Core/Insulation Crimp: Pins: 1, 3 : 2/C
  • Release Tool/Test Probe: 12094429/J-35616-14 (GN)

Terminal Part Information

  • Terminal/Tray: See Terminal Repair Kit
  • Core/Insulation Crimp: See Terminal Repair Kit
  • Release Tool/Test Probe: See Terminal Repair Kit

X451 Body Harness to Left Tail Lamp Harness (WDA)

Pin

Wire

Circuit No.

Function

Pin

Wire

Circuit No.

Function

1

0.8 BK

650

Ground

1

BK

--

Ground

2

0.5 PU

709

Left Park Lamp Supply Voltage

2

L-BU

--

Left Park Lamp Supply Voltage

3

0.8 YE

18

Left Rear Stop/Turn Lamp Supply Voltage

3

RD

--

Left Rear Stop/Turn Lamp Supply Voltage

X500 Body Harness to Driver Door Harness


Object Number: 1864301  Size: CH

Object Number: 1864302  Size: CH

Connector Part Information

  • OEM: 6098-5138
  • Service: See Catalog
  • Description: 40-Way F Sealed (BK)

Connector Part Information

  • OEM: 6098-5135
  • Service: See Catalog
  • Description: 40-Way M Sealed (BK)

Terminal Part Information

  • Pins: 1-14, 16, 25, 27-39
  • Terminal/Tray: 12191812/19
  • Core/Insulation Crimp: E/C
  • Release Tool/Test Probe: 15315247/J-35616-2A (GY)
  • Pins: 17-22, 24, 26
  • Terminal/Tray: 15304711/8
  • Core/Insulation Crimp: Pins: 17, 19, 22, 24, 26 : 2/A
  • Core/Insulation Crimp: Pins: 18, 20-21 : E/A
  • Release Tool/Test Probe: 15315247/J-35616-4A (PU)
  • Pins: 15, 23
  • Terminal/Tray: 15304713/19
  • Core/Insulation Crimp: Pin: 23 : 4/4
  • Core/Insulation Crimp: Pins: 15, 23 : F/D
  • Release Tool/Test Probe: 15315247/J-35616-4A (PU)

Terminal Part Information

  • Pins: 1-14, 16, 25, 27-39
  • Terminal/Tray: 15304702/19
  • Core/Insulation Crimp: Pins: 5, 7, 8, 27 : E/4
  • Core/Insulation Crimp: Pins: 1-4, 6, 9-14, 16, 25, 27-39 : E/C
  • Release Tool/Test Probe: 15315247/J-35616-3 (GY)
  • Pins: 18, 20-21
  • Terminal/Tray: 15304722/8
  • Core/Insulation Crimp: E/C
  • Release Tool/Test Probe: 15315247/J-35616-5 (PU)
  • Pins: 15, 17, 19, 22-24, 26
  • Terminal/Tray: 15304724/8
  • Core/Insulation Crimp: Pins: 17, 19, 22, 24, 26 : 2/A
  • Core/Insulation Crimp: Pins: 15, 23 : A/D
  • Release Tool/Test Probe: 15315247/J-35616-5 (PU)

X500 Body Harness to Driver Door Harness

Pin

Wire

Circuit No.

Function

Pin

Wire

Circuit No.

Function

1

0.35 L-BU/WH

280

Power Window Master Switch Lockout Right Rear Signal (-AXC/AXE)

1

0.35 L-BU/WH

280

Power Window Master Switch Lockout Right Rear Signal (-AXC/AXE)

2

0.35 GY

6175

Driver Heated Seat Switch Back Signal (A45+KA1)

2

0.35 GY

6175

Driver Heated Seat Switch Back Signal (A45+KA1)

3

0.5 TN

126

Left Front Door Open Switch Signal (-AXC/AXE)

3

0.35 TN

126

Left Front Door Open Switch Signal (-AXC/AXE)

4

0.5 GY/BK

745

Left Front Door Ajar Switch Signal (-AXC/AXE)

4

0.35 GY/BK

745

Left Front Door Ajar Switch Signal (-AXC/AXE)

5

0.5 L-GN

262

Driver Door Key Switch Signal (-AXC/AXE)

5

0.5 L-GN

262

Driver Door Key Switch Signal (-AXC/AXE)

6

0.35 PU

169

Power Window Master Switch Left Rear Down Signal (-AXC/AXE)

6

0.35 PU

169

Power Window Master Switch Left Rear Down Signal (-AXC/AXE)

7

0.5 L-BU/WH

1314

Left Turn Signal Indicator Lamp Supply Voltage (DNP/DS3)

7

0.5 L-BU/WH

1314

Left Turn Signal Indicator Lamp Supply Voltage (DNP/DS3)

8

0.5 OG

2267

Mirror Heating Element Supply Voltage (DG6/DS3)

8

0.5 OG

2267

Mirror Heating Element Supply Voltage (DG6/DS3)

9

0.35 PU

6174

Driver Heated Seat Switch Back LED (A45+KA1)

9

0.35 PU

6174

Driver Heated Seat Switch Back LED (A45+KA1)

10

0.35 PU/WH

889

Passenger Mirror Motor Down Control (DG6/DS3)

10

0.35 PU/WH

889

Passenger Mirror Motor Down Control (DG6/DS3)

11

0.35 D-GN

168

Power Window Master Switch Left Rear Up Signal (-AXC/AXE)

11

0.35 D-GN

168

Power Window Master Switch Left Rear Up Signal (-AXC/AXE)

12

0.35 OG/WH

881

Passenger Mirror Motor Right Control (DG6/DS3)

12

0.35 OG/WH

881

Passenger Mirror Motor Right Control (DG6/DS3)

13

0.35 D-BU

1307

Power Window Master Switch Lockout Signal (-AXC/AXE)

13

0.35 D-BU

1307

Power Window Master Switch Lockout Signal (-AXC/AXE)

14

0.35 TN/WH

330

Passenger Mirror Motor Supply Voltage (DG6/DS3)

14

0.35 TN/WH

330

Passenger Mirror Motor Supply Voltage (DG6/DS3)

15

3 BK

550

Ground

15

3 BK

550

Ground

16

0.35 D-BU

6172

Driver Heated Seat Switch Back Cushion Signal (A45+KA1)

16

0.35 D-BU

6172

Driver Heated Seat Switch Back Cushion Signal (A45+KA1)

17

1 RD/WH

3240

Battery Positive Voltage (AXC/AXE)

17

1 RD/WH

3240

Battery Positive Voltage (AXC/AXE)

18

0.35 BN

6173

Driver Heated Seat Switch Back Cushion LED (A45+KA1)

18

0.35 BN

6173

Driver Heated Seat Switch Back Cushion LED (A45+KA1)

19

0.8 GY

118

Left Front Speaker Output (-)

19

0.8 GY

118

Left Front Speaker Output (-)

20

0.35 WH/BK

6177

Driver Heated Seat Medium Indicator Control (A45+KA1)

20

0.35 WH/BK

6177

Driver Heated Seat Medium Indicator Control (A45+KA1)

21

0.5 RD/WH

1940

Battery Positive Voltage (DG6/DS3)

21

0.5 RD/WH

1940

Battery Positive Voltage (DG6/DS3)

22

0.8 TN

201

Left Front Speaker Output (+)

22

1 TN

201

Left Front Speaker Output (+)

23

3 RD/WH

3340

Battery Positive Voltage (-AXC/AXE)

23

3 RD/WH

3340

Battery Positive Voltage

2 RD/WH

3340

Battery Positive Voltage (AXC/AXE)

24

0.8 TN

694

Driver Door Lock Actuator Unlock Control (-AXC/AXE)

24

1 TN

694

Driver Door Lock Actuator Unlock Control (-AXC/AXE)

25

0.35 L-BU

1662

Driver Heated Seat Low Temperature Indicator Control (A45+KA1)

25

0.35 L-BU

1662

Driver Heated Seat Low Temperature Indicator Control (A45+KA1)

26

0.8 GY

295

Door Lock Actuator Lock Control (-AXC/AXE)

26

1 GY

295

Door Lock Actuator Lock Control (-AXC/AXE)

27

0.35 D-GN

1661

Driver Heated Seat High Temperature Indicator Control (A45+KA1)

27

0.35 D-GN

1661

Driver Heated Seat High Temperature Indicator Control (A45+KA1)

0.35 GY

8

Instrument Panel Lamp Supply Voltage (-AXC/AXE/DG6/DS3)

0.5 GY

8

Instrument Panel Lamp Supply Voltage (-AXC/AXE/DG6/DS3)

28

0.35 L-BU

166

Power Window Master Switch Right Front Up Signal (-AXC/AXE)

28

0.35 L-BU

166

Power Window Master Switch Right Front Up Signal (-AXC/AXE)

29

0.35 TN

167

Power Window Master Switch Right Front Down Signal (-AXC/AXE)

29

0.35 TN

167

Power Window Master Switch Right Front Down Signal (-AXC/AXE)

30

0.35 GY

1690

Automatic Day/Night Mirror Signal (DNP)

30

0.35 GY

1690

Automatic Day/Night Mirror Signal (DNP)

31

0.35 PK

1691

Low Reference (DNP)

31

0.35 PK

1691

Low Reference (DNP)

32

0.35 WH

2132

Side Impact Sensing Module - Left - Signal

32

0.35 WH

2132

Side Impact Sensing Module - Left - Signal

33

0.35 PU/WH

6628

Low Reference

33

0.35 PU/WH

6628

Low Reference

34

0.5 OG/BK

781

Driver Door Lock Switch Unlock Signal (-AXC/AXE)

34

0.35 OG/BK

781

Driver Door Lock Switch Unlock Signal (-AXC/AXE)

35

0.5 PK/BK

780

Driver Door Lock Switch Lock Signal (-AXC/AXE)

35

0.35 PK/BK

780

Driver Door Lock Switch Lock Signal (-AXC/AXE)

36

0.35 PU/WH

1382

LED Dimming Signal (-AXC/AXE)

36

0.35 PU/WH

1382

LED Dimming Signal (-AXC/AXE)

0.35 D-GN

5060

Low Speed GMLAN Serial Data (AXC/AXE)

0.35 D-GN

5060

Low Speed GMLAN Serial Data (AXC/AXE)

37

0.35 PU

171

Power Window Master Switch Right Rear Down Signal (-AXC/AXE)

37

0.35 PU

171

Power Window Master Switch Right Rear Down Signal (-AXC/AXE)

38

0.35 YE

43

Ignition I/II Voltage (-AXC/AXE)

38

0.35 YE

43

Ignition I/II Voltage (-AXC/AXE)

39

0.35 L-GN

170

Power Window Master Switch Right Rear Up Signal (-AXC/AXE)

39

0.35 L-GN

170

Power Window Master Switch Right Rear Up Signal (-AXC/AXE)

40

--

--

Not Used

40

--

--

Not Used

X553 Driver Door Harness to Driver Door Trim Panel Harness


Object Number: 1856796  Size: CH

Object Number: 1856787  Size: CH

Connector Part Information

  • OEM: 7283-6457-40
  • Service: See Catalog
  • Description: 10-Way F Kaizen YESC Series (L-GY)

Connector Part Information

  • OEM: 7282-6457-40
  • Service: See Catalog
  • Description: 10-Way M Kaizen YESC Series (L-GY)

Terminal Part Information

  • Pins: 2-4, 6-10
  • Terminal/Tray: 7116-4110-02/9
  • Core/Insulation Crimp: E/C
  • Release Tool/Test Probe: 12094430/J-35616-4A (PU)
  • Pin: 5
  • Terminal/Tray: 7116-4111-02/9
  • Core/Insulation Crimp: C/A
  • Release Tool/Test Probe: 12094430/J-35616-4A (PU)
  • Pins: 1, 5, 7, 9
  • Terminal/Tray: 7116-4112-02/9
  • Core/Insulation Crimp: C/D
  • Release Tool/Test Probe: 12094430/J-35616-35 (VT)

Terminal Part Information

  • Pin: 5
  • Terminal/Tray: 7114-4111-02/9
  • Core/Insulation Crimp: C/A
  • Release Tool/Test Probe: 12094430/J-35616-5 (PU)
  • Pins: 2-4, 6-10
  • Terminal/Tray: 7114-4110-02/9
  • Core/Insulation Crimp: E/C
  • Release Tool/Test Probe: 12094430/J-35616-5 (PU)
  • Pins: 1, 5, 7, 9
  • Terminal/Tray: 7114-4112-02/9
  • Core/Insulation Crimp: C/D
  • Release Tool/Test Probe: 12094430/J-35616-5 (PU)

X553 Driver Door Harness to Driver Door Trim Panel Harness

Pin

Wire

Circuit No.

Function

Pin

Wire

Circuit No.

Function

1

2 BK

550

Ground (AXC/AXE)

1

3 BK

550

Ground

3 BK

550

Ground (-AXC/AXE)

2

0.5 RD/WH

1940

Battery Positive Voltage (DG6/DS3)

2

0.5 RD/WH

1940

Battery Positive Voltage (DG6/DS3)

3

0.35 GY

6175

Driver Heated Seat Switch Back Signal (A45+KA1)

3

0.35 GY

6175

Driver Heated Seat Switch Back Signal (A45+KA1)

4

0.35 OG/WH

881

Passenger Mirror Motor Right Control (DG6/DS3)

4

0.35 OG/WH

881

Passenger Mirror Motor Right Control (DG6/DS3)

0.35 PU

6174

Driver Heated Seat Switch Back LED (A45+KA1)

0.35 PU

6174

Driver Heated Seat Switch Back LEDl (A45+KA1)

5

1 RD/WH

3240

Battery Positive Voltage (AXC/AXE)

5

1 RD/WH

3240

Battery Positive Voltage (AXC/AXE)

3 RD/WH

3340

Battery Positive Voltage (-AXC/AXE)

3 RD/WH

3340

Battery Positive Voltage (-AXC/AXE)

6

0.35 PU/WH

889

Passenger Mirror Motor Down Control (DG6/DS3)

6

0.35 PU/WH

889

Passenger Mirror Motor Down Control (DG6/DS3)

0.35 BN

6173

Driver Heated Seat Switch Back Cushion LED (A45+KA1)

0.35 BN

6173

Driver Heated Seat Switch Back Cushion LED (A45+KA1)

7

0.5 TN

694

Driver Door Lock Actuator Unlock Control (AXC/AXE)

7

0.5 TN

694

Driver Door Lock Actuator Unlock Control (AXC/AXE)

3 BN

165

Power Window Motor Left Front Down Control (-AXC/AXE)

3 BN

165

Power Window Motor Left Front Down Control (-AXC/AXE)

8

0.35 TN/WH

330

Passenger Mirror Motor Supply Voltage (DG6/DS3)

8

0.35 TN/WH

330

Passenger Mirror Motor Supply Voltage (DG6/DS3)

0.35 WH/BK

6177

Driver Heated Seat Medium Indicator Control (A45+KA1)

0.35 WH/BK

6177

Driver Heated Seat Medium Indicator Control (A45+KA1)

9

0.5 GY

295

Door Lock Actuator Lock Control (AXC/AXE)

9

0.5 GY

295

Door Lock Actuator Lock Control (AXC/AXE)

3 D-BU

164

Power Window Motor Left Front Up Control (-AXC/AXE)

3 D-BU

164

Power Window Motor Left Front Up Control (-AXC/AXE)

10

0.35 GY

8

Instrument Panel Lamp Supply Voltage (DG6/DS3-AXC/AXE)

10

0.35 GY

8

Instrument Panel Lamp Supply Voltage (DG6/DS3-AXC/AXE)

X555 Driver Door Harness to Driver Door Trim Panel Harness


Object Number: 1592558  Size: CH

Object Number: 1483278  Size: CH

Connector Part Information

  • OEM: 7283-6453-60
  • Service: See Catalog
  • Description: 16-Way F Kaizen YESC Series, Unsealed (GN)

Connector Part Information

  • OEM: 7282-6453-60
  • Service: See Catalog
  • Description: 16-Way M Kaizen YESC Series (GN)

Terminal Part Information

  • Terminal/Tray: 7116-4100-08/9
  • Core/Insulation Crimp: E/C
  • Release Tool/Test Probe: 12094430/J-35616-2A (GY)

Terminal Part Information

  • Terminal/Tray: 7114-4100-08/9
  • Core/Insulation Crimp: E/C
  • Release Tool/Test Probe: 15315247/J-35616-3 (GY)

X555 Driver Door Harness to Driver Door Trim Panel Harness

Pin

Wire

Circuit No.

Function

Pin

Wire

Circuit No.

Function

1

0.5 L-GN

262

Driver Door Key Switch Signal (AXC/AXE)

1

0.5 L-GN

262

Driver Door Key Switch Signal (AXC/AXE)

0.35 TN

329

Driver Mirror Motor Supply Voltage (DG6/DS3)

0.35 TN

329

Driver Mirror Motor Supply Voltage (DG6/DS3)

2

0.35 GY

1690

Automatic Day/Night Mirror Signal (DNP)

2

0.35 GY

1690

Automatic Day/Night Mirror Signal (DNP)

0.35 L-BU/WH

280

Power Window Master Switch Lockout Right Rear Signal (-AXC/AXE)

0.35 L-BU/WH

280

Power Window Master Switch Lockout Right Rear Signal (-AXC/AXE)

3

--

--

Not Used

3

--

--

Not Used

4

0.35 WH

81

Driver Mirror Motor Right Control (DG6/DS3)

4

0.35 WH

81

Driver Mirror Motor Right Control (DG6/DS3)

0.5 TN

126

Left Front Door Open Switch Signal (AXC/AXE)

0.5 TN

126

Left Front Door Open Switch Signal (AXC/AXE)

5

0.35 L-GN

89

Left Mirror Motor Down Control (DG6/DS3)

5

0.35 L-GN

89

Left Mirror Motor Down Control (DG6/DS3)

0.5 GY/BK

745

Left Front Door Ajar Switch Signal (AXC/AXE)

0.5 GY/BK

745

Left Front Door Ajar Switch Signal (AXC/AXE)

6

0.35 YE

43

Ignition I/II Voltage (-AXC/AXE)

6

0.35 YE

43

Ignition I/II Voltage (-AXC/AXE)

0.35 D-BU

6172

Driver Heated Seat Switch Back Cushion Signal (A45+KA1)

0.35 D-BU

6172

Driver Heated Seat Switch Back Cushion Signal (A45+KA1)

7

0.5 L-BU/WH

1314

Left Turn Signal Indicator Lamp Supply Voltage (A45+DNP/DS3)

7

0.5 L-BU/WH

1314

Left Turn Signal Indicator Lamp Supply Voltage (A45+DNP/DS3)

0.35 L-BU

166

Power Window Master Switch Right Front Up Signal (-AXC/AXE)

0.35 L-BU

166

Power Window Master Switch Right Front Up Signal (-AXC/AXE)

8

0.35 D-BU

1307

Power Window Master Switch Lockout Signal (-AXC/AXE)

8

0.35 D-BU

1307

Power Window Master Switch Lockout Signal (-AXC/AXE)

9

0.35 PK

1691

Low Reference (DNP)

9

0.35 PK

1691

Low Reference (DNP)

0.35 TN

167

Power Window Master Switch Right Front Down Signal (-AXC/AXE)

0.35 TN

167

Power Window Master Switch Right Front Down Signal (-AXC/AXE)

10

0.35 D-GN

1661

Driver Heated Seat High Temperature Indicator Control (A45+KA1)

10

0.35 D-GN

1661

Driver Heated Seat High Temperature Indicator Control (A45+KA1)

0.35 D-GN

168

Power Window Master Switch Left Rear Up Signal (-AXC/AXE)

0.35 D-GN

168

Power Window Master Switch Left Rear Up Signal (-AXC/AXE)

11

0.35 D-GN

5060

Low Speed GMLAN Serial Data (AXC/AXE)

11

0.35 D-GN

5060

Low Speed GMLAN Serial Data (AXC/AXE)

0.35 PU

169

Power Window Master Switch Left Rear Down Signal (-AXC/AXE)

0.35 PU

169

Power Window Master Switch Left Rear Down Signal (-AXC/AXE)

12

0.5 YE

5942

Low Reference (AXC/AXE)

12

0.5 YE

5942

Low Reference (AXC/AXE)

0.35 PU/WH

1382

LED Dimming Signal (-AXC/AXE)

0.35 PU/WH

1382

LED Dimming Signal (-AXC/AXE)

13

0.35 BN

6132

Linear Interconnect Network Bus (AXC/AXE)

13

0.35 BN

6132

Linear Interconnect Network Bus (AXC/AXE)

0.35 PU

171

Power Window Master Switch Right Rear Down Signal (-AXC/AXE)

0.35 PU

171

Power Window Master Switch Right Rear Down Signal (-AXC/AXE)

14

0.5 OG/BK

781

Driver Door Lock Switch Unlock Signal (-AXC/AXE)

14

0.5 OG/BK

781

Driver Door Lock Switch Unlock Signal (-AXC/AXE)

15

0.5 PK/BK

780

Driver Door Lock Switch Lock Signal (-AXC/AXE)

15

0.5 PK/BK

780

Driver Door Lock Switch Lock Signal (-AXC/AXE)

0.35 L-BU

1662

Driver Heated Seat Low Temperature Indicator Control (A45+KA1)

0.35 L-BU

1662

Driver Heated Seat Low Temperature Indicator Control (A45+KA1)

16

0.35 L-GN

170

Power Window Master Switch Right Rear Up Signal (-AXC/AXE)

16

0.35 L-GN

170

Power Window Master Switch Right Rear Up Signal (-AXC/AXE)

X600 Body Harness to Passenger Door Harness


Object Number: 1864301  Size: CH

Object Number: 1864302  Size: CH

Connector Part Information

  • OEM: 6098-5138
  • Service: See Catalog
  • Description: 40-Way F Sealed (BK)

Connector Part Information

  • OEM: 6098-5135
  • Service: See Catalog
  • Description: 40-Way M Sealed (BK)

Terminal Part Information

  • Pins: 3-8, 10-14, 16, 25, 27-29, 32-36, 38
  • Terminal/Tray: 12191812/19
  • Core/Insulation Crimp: E/C
  • Release Tool/Test Probe: 15315247/J-35616-2A (GY)
  • Pins: 19, 21-22, 24, 26
  • Terminal/Tray: 15304711/8
  • Core/Insulation Crimp: 2/A
  • Release Tool/Test Probe: 15315247/J-35616-4A (PU)
  • Pins: 15, 17
  • Terminal/Tray: 15304713/19
  • Core/Insulation Crimp: 4/4
  • Release Tool/Test Probe: 15315247/J-35616-4A (PU)

Terminal Part Information

  • Pins: 3-8, 27, 10-14, 16, 27-29, 32-36, 38
  • Terminal/Tray: 15304702/19
  • Core/Insulation Crimp: Pin: 4 : 2/4
  • Core/Insulation Crimp: Pins: 7-8, 27 : E/4
  • Core/Insulation Crimp: Pins: 3-6, 10-14, 16, 27-29, 32-36, 38 : E/C
  • Release Tool/Test Probe: 15315247/J-35616-3 (GY)
  • Pins: 15, 17, 19, 21-22, 24, 26
  • Terminal/Tray: 15304724/8
  • Core/Insulation Crimp: Pins: 19, 21-22, 24, 26 : 2/A
  • Core/Insulation Crimp: Pins: 15, 17 : C/D
  • Release Tool/Test Probe: 15315247/J-35616-5 (PU)
  • Pin: 25
  • Terminal/Tray: 7116-4100-08/9
  • Core/Insulation Crimp: E/C
  • Release Tool/Test Probe: 12094430/J-35616-2A (GY)

X600 Body Harness to Passenger Door Harness

Pin

Wire

Circuit No.

Function

Pin

Wire

Circuit No.

Function

1-2

--

--

Not Used

1-2

--

--

Not Used

3

0.35 D-BU/WH

1179

Left Rear Door Open Switch Signal (-AXC/AXE)

3

0.35 D-BU/WH

1179

Left Rear Door Open Switch Signal (-AXC/AXE)

4

0.5 TN/WH

746

Right Front Door Ajar Switch Signal (-AXC/AXE)

4

0.5 TN/WH

746

Right Front Door Ajar Switch Signal (-AXC/AXE)

5

0.35 BN

6179

Passenger Heated Seat Switch Back Cushion LED (A45+KA1)

5

0.35 BN

6179

Passenger Heated Seat Switch Back Cushion LED (A45+KA1)

6

0.35 PU

6181

Passenger Heated Seat Switch Back LED (A45+KA1)

6

0.35 PU

6181

Passenger Heated Seat Switch Back LED (A45+KA1)

7

0.5 D-BU/WH

1315

Right Turn Signal Indicator Lamp Supply Voltage (DNP/DS3)

7

0.5 D-BU/WH

1315

Right Turn Signal Indicator Lamp Supply Voltage (DNP/DS3)

8

0.5 OG

2267

Mirror Heating Element Supply Voltage (DG6/DS3)

8

0.5 OG

2267

Mirror Heating Element Supply Voltage (DG6/DS3)

9

--

--

Not Used

9

--

--

Not Used

10

0.35 PU/WH

889

Passenger Mirror Motor Down Control (DG6/DS3)

10

0.35 PU/WH

889

Passenger Mirror Motor Down Control (DG6/DS3)

11

0.35 GY

6182

Passenger Heated Seat Switch Back Signal (A45+KA1)

11

0.35 GY

6182

Passenger Heated Seat Switch Back Signal (A45+KA1)

12

0.35 OG/WH

881

Passenger Mirror Motor Right Control (DG6/DS3)

12

0.35 OG/WH

881

Passenger Mirror Motor Right Control (DG6/DS3)

13

0.35 WH/BK

6185

Passenger Heated Seat Medium Indicator Control (A45+KA1)

13

0.35 WH/BK

6185

Passenger Heated Seat Medium Indicator Control (A45+KA1)

14

0.35 TN/WH

330

Passenger Mirror Motor Supply Voltage (DG6/DS3)

14

0.35 TN/WH

330

Passenger Mirror Motor Supply Voltage (DG6/DS3)

15

2 BK

750

Ground

15

2 BK

750

Ground

16

0.35 D-BU

6180

Passenger Heated Seat Switch Back Cushion Signal (A45+KA1)

16

0.35 D-BU

6180

Passenger Heated Seat Switch Back Cushion Signal (A45+KA1)

17

2 RD/WH

3340

Battery Positive Voltage

17

2 RD/WH

3340

Battery Positive Voltage

18

--

--

Not Used

18

--

--

Not Used

19

0.8 D-GN

117

Right Front Speaker Output (-)

19

0.8 D-GN

117

Right Front Speaker Output (-)

20

--

--

Not Used

20

--

--

Not Used

21

0.8 RD/WH

840

Battery Positive Voltage (AXC/AXE)

21

0.8 RD/WH

840

Battery Positive Voltage (AXC/AXE)

22

0.8 L-GN

200

Right Front Speaker Output (+)

22

0.8 L-GN

200

Right Front Speaker Output (+)

23

--

--

Not Used

23

--

--

Not Used

24

0.8 TN

294

Door Lock Actuator Unlock Control (-AXC/AXE)

24

1 TN

294

Door Lock Actuator Unlock Control (-AXC/AXE)

25

0.35 TN

1686

Passenger Heated Seat Low Temperature Indicator Control (A45+KA1)

25

0.35 TN

1686

Passenger Heated Seat Low Temperature Indicator Control (A45+KA1)

26

0.8 GY

295

Door Lock Actuator Lock Control (-AXC/AXE)

26

1 GY

295

Door Lock Actuator Lock Control (-AXC/AXE)

27

0.35 GY

8

Instrument Panel Lamp Supply Voltage (-AXC/AXE)

27

0.5 GY

8

Instrument Panel Lamp Supply Voltage (-AXC/AXE)

0.35 YE

1685

Passenger Heated Seat High Temperature Indicator Control (A45+KA1)

0.35 YE

1685

Passenger Heated Seat High Temperature Indicator Control (A45+KA1)

28

0.35 L-BU

166

Power Window Master Switch Right Front Up Signal (-AXC/AXE)

28

0.35 L-BU

166

Power Window Master Switch Right Front Up Signal (-AXC/AXE)

29

0.35 TN

167

Power Window Master Switch Right Front Down Signal (-AXC/AXE)

29

0.35 TN

167

Power Window Master Switch Right Front Down Signal (-AXC/AXE)

30-31

--

--

Not Used

30-31

--

--

Not Used

32

0.35 D-GN

2134

Side Impact Sensing Module - Right - Signal

32

0.35 D-GN

2134

Side Impact Sensing Module - Right - Signal

33

0.35 WH/BK

6629

Low Reference

33

0.35 WH/BK

6629

Low Reference

34

0.5 D-BU

245

Passenger Door Lock Switch Unlock (-AXC/AXE)

34

0.35 D-BU

245

Passenger Door Lock Switch Unlock (-AXC/AXE)

35

0.5 L-BU

244

Passenger Door Lock Switch Lock (-AXC/AXE)

35

0.35 L-BU

244

Passenger Door Lock Switch Lock (-AXC/AXE)

36

0.35 D-GN

5060

Low Speed GMLAN Serial Data (AXC/AXE)

36

0.35 D-GN

5060

Low Speed GMLAN Serial Data (AXC/AXE)

37

--

--

Not Used

37

--

--

Not Used

38

0.35 YE

43

Ignition I/II Voltage (-AXC/AXE)

38

0.35 YE

43

Ignition I/II Voltage (-AXC/AXE)

39-40

--

--

Not Used

39-40

--

--

Not Used

X664 Passenger Door Harness to Passenger Door Trim Panel Harness


Object Number: 1856796  Size: CH

Object Number: 1856787  Size: CH

Connector Part Information

  • OEM: 7283-6457-40
  • Service: See Catalog
  • Description: 10-Way F Kaizen YESC Series (L-GY)

Connector Part Information

  • OEM: 7282-6457-40
  • Service: See Catalog
  • Description: 10-Way M Kaizen YESC Series (L-GY)

Terminal Part Information

  • Pins: 2-4, 6, 8, 10
  • Terminal/Tray: 7116-4110-02/9
  • Core/Insulation Crimp: E/C
  • Release Tool/Test Probe: 12094430/J-35616-4A (PU)
  • Pins: 1, 5, 7, 9
  • Terminal/Tray: 7116-4112-02/9
  • Core/Insulation Crimp: C/D
  • Release Tool/Test Probe: 12094430/J-35616-35 (VT)

Terminal Part Information

  • Pins: 2-4, 6, 8, 10
  • Terminal/Tray: 7114-4110-02/9
  • Core/Insulation Crimp: E/C
  • Release Tool/Test Probe: 12094430/J-35616-5 (PU)
  • Pins: 1, 5, 7, 9
  • Terminal/Tray: 7114-4112-02/9
  • Core/Insulation Crimp: C/D
  • Release Tool/Test Probe: 12094430/J-35616-5 (PU)

X664 Passenger Door Harness to Passenger Door Trim Panel Harness

Pin

Wire

Circuit No.

Function

Pin

Wire

Circuit No.

Function

1

2 RD/WH

3340

Battery Positive Voltage (-AXC)

1

2 RD/WH

3340

Battery Positive Voltage (-AXC)

2

0.35 BN

6179

Passenger Heated Seat Switch Back Cushion LED (A45+KA1)

2

0.35 BN

6179

Passenger Heated Seat Switch Back Cushion LED (A45+KA1)

3

0.5 GY

295

Door Lock Actuator Lock Control (AXC/AXE)

3

0.5 GY

295

Door Lock Actuator Lock Control (AXC/AXE)

0.35 GY

8

Instrument Panel Lamp Supply Voltage (-AXC/AXE)

0.35 GY

8

Instrument Panel Lamp Supply Voltage (-AXC/AXE)

4

0.35 PU

6181

Passenger Heated Seat Switch Back LED (A45+KA1)

4

0.35 PU

6181

Passenger Heated Seat Switch Back LED (A45+KA1)

5

2 BK

750

Ground

5

2 BK

750

Ground

6

0.35 GY

6182

Passenger Heated Seat Switch Back Signal (A45+KA1)

6

0.35 GY

6182

Passenger Heated Seat Switch Back Signal (A45+KA1)

7

2 BN

667

Power Window Motor Right Front Down Control (-AXC)

7

2 BN

667

Power Window Motor Right Front Down Control (-AXC)

8

0.5 TN

294

Door Lock Actuator Unlock Control (AXC/AXE)

8

0.5 TN

294

Door Lock Actuator Unlock Control (AXC/AXE)

9

2 D-BU

666

Power Window Motor Right Front Up Control (-AXC)

9

2 D-BU

666

Power Window Motor Right Front Up Control (-AXC)

10

0.35 WH/BK

6185

Passenger Heated Seat Medium Indicator Control (A45+KA1)

10

0.35 WH/BK

6185

Passenger Heated Seat Medium Indicator Control (A45+KA1)

X666 Passenger Door Harness to Passenger Door Trim Panel Harness


Object Number: 1592558  Size: CH

Object Number: 1483278  Size: CH

Connector Part Information

  • OEM: 7283-6453-60
  • Service: See Catalog
  • Description: 16-Way F Kaizen YESC Series, Unsealed (GN)

Connector Part Information

  • OEM: 7282-6453-60
  • Service: See Catalog
  • Description: 16-Way M Kaizen YESC Series (GN)

Terminal Part Information

  • Pins: 1, 3-8, 11-16
  • Terminal/Tray: 7116-4100-08/9
  • Core/Insulation Crimp: E/C
  • Release Tool/Test Probe: 12094430/J-35616-2A (GY)
  • Pin: 10
  • Terminal/Tray: 7116-4101-08/9
  • Core/Insulation Crimp: E/A
  • Release Tool/Test Probe: 12094430/J-35616-2A (GY)

Terminal Part Information

  • Pin: 10
  • Terminal/Tray: 7114-4101-08/9
  • Core/Insulation Crimp: E/A
  • Release Tool/Test Probe: 15315247/J-35616-3 (GY)
  • Pins: 1, 3-8, 11-16
  • Terminal/Tray: 7114-4100-08/9
  • Core/Insulation Crimp: E/C
  • Release Tool/Test Probe: 15315247/J-35616-3 (GY)

X666 Passenger Door Harness to Passenger Door Trim Panel Harness

Pin

Wire

Circuit No.

Function

Pin

Wire

Circuit No.

Function

1

0.35 YE

43

Ignition I/II Voltage (-AXC/AXE)

1

0.35 YE

43

Ignition I/II Voltage (-AXC/AXE)

2

--

--

Not Used

2

--

--

Not Used

3

0.5 TN/WH

746

Right Front Door Ajar Switch Signal (AXC/AXE)

3

0.5 TN/WH

746

Right Front Door Ajar Switch Signal (AXC/AXE)

4

0.5 L-GN

1177

Door Open Switch Signal (AXC/AXE)

4

0.5 L-GN

1177

Door Open Switch Signal (AXC/AXE)

5

0.5 D-BU/WH

1315

Right Turn Signal Indicator Lamp Supply Voltage (DNP/DS3)

5

0.5 D-BU/WH

1315

Right Turn Signal Indicator Lamp Supply Voltage (DNP/DS3)

6

0.35 D-BU

6180

Passenger Heated Seat Switch Back Cushion Signal (A45+KA1)

6

0.35 D-BU

6180

Passenger Heated Seat Switch Back Cushion Signal (A45+KA1)

7

0.35 YE

1685

Passenger Heated Seat High Temperature Indicator Control (A45+KA1)

7

0.35 YE

1685

Passenger Heated Seat High Temperature Indicator Control (A45+KA1)

8

0.35 L-BU

166

Power Window Master Switch Right Front Up Signal (-AXC/AXE)

8

0.35 L-BU

166

Power Window Master Switch Right Front Up Signal (-AXC/AXE)

9

--

--

Not Used

9

--

--

Not Used

10

0.8 RD/WH

840

Battery Positive Voltage (AXC/AXE)

10

0.8 RD/WH

840

Battery Positive Voltage (AXC/AXE)

11

0.35 D-GN

5060

Low Speed GMLAN Serial Data (AXC/AXE)

11

0.35 D-GN

5060

Low Speed GMLAN Serial Data (AXC/AXE)

12

0.5 YE

5943

Low Reference (AXC/AXE)

12

0.5 YE

5943

Low Reference (AXC/AXE)

0.35 TN

167

Power Window Master Switch Right Front Down Signal (-AXC/AXE)

0.35 TN

167

Power Window Master Switch Right Front Down Signal (-AXC/AXE)

13

0.35 D-BU

6133

Linear Interconnect Network Bus (AXC)

13

0.35 D-BU

6133

Linear Interconnect Network Bus (AXC)

14

0.5 L-BU

244

Passenger Door Lock Switch Lock (-AXC/AXE)

14

0.5 L-BU

244

Passenger Door Lock Switch Lock (-AXC/AXE)

15

0.35 TN

1686

Passenger Heated Seat Low Temperature Indicator Control (A45+KA1)

15

0.35 TN

1686

Passenger Heated Seat Low Temperature Indicator Control (A45+KA1)

16

0.5 D-BU

245

Passenger Door Lock Switch Unlock (-AXC/AXE)

16

0.5 D-BU

245

Passenger Door Lock Switch Unlock (-AXC/AXE)

X700 Body Harness to Left Rear Door Harness


Object Number: 1864303  Size: CH

Object Number: 1864304  Size: CH

Connector Part Information

  • OEM: 6098-5144
  • Service: See Catalog
  • Description: 19-Way F Sealed (BK)

Connector Part Information

  • OEM: 6098-5141
  • Service: See Catalog
  • Description: 19-Way M Sealed (BK)

Terminal Part Information

  • Pins: 9-18
  • Terminal/Tray: 12191812/19
  • Core/Insulation Crimp: Pins: 17-18 : C/A
  • Core/Insulation Crimp: Pins: 9-16 : E/C
  • Release Tool/Test Probe: 15315247/J-35616-2A (GY)
  • Pins: 4-5
  • Terminal/Tray: 15304711/8
  • Core/Insulation Crimp: 2/A
  • Release Tool/Test Probe: 15315247/J-35616-4A (PU)
  • Pins: 1, 8
  • Terminal/Tray: 15304713/19
  • Core/Insulation Crimp: 4/4
  • Release Tool/Test Probe: 15315247/J-35616-4A (PU)

Terminal Part Information

  • Pins: 9-18
  • Terminal/Tray: 15304702/19
  • Core/Insulation Crimp: Pins: 17-18 : 2/4
  • Core/Insulation Crimp: Pins: 17-18 : E/4
  • Core/Insulation Crimp: Pins: 9-16 : E/C
  • Release Tool/Test Probe: 15315247/J-35616-3 (GY)
  • Pins: 1, 4-5, 8
  • Terminal/Tray: 15304724/8
  • Core/Insulation Crimp: Pins: 4-5 : 2/A
  • Core/Insulation Crimp: Pins: 1, 8 : C/D
  • Release Tool/Test Probe: 15315247/J-35616-5 (PU)

X700 Body Harness to Left Rear Door Harness

Pin

Wire

Circuit No.

Function

Pin

Wire

Circuit No.

Function

1

2 RD/WH

3340

Battery Positive Voltage

1

2 RD/WH

3340

Battery Positive Voltage

2-3

--

--

Not Used

2-3

--

--

Not Used

4

0.8 GY

295

Door Lock Actuator Lock Control

4

1 GY

295

Door Lock Actuator Lock Control

5

0.8 TN

294

Door Lock Actuator Unlock Control

5

1 TN

294

Door Lock Actuator Unlock Control

6-7

--

--

Not Used

6-7

--

--

Not Used

8

2 BK

550

Ground

8

2 BK

550

Ground

9

0.5 L-BU/BK

747

Left Rear Door Ajar Switch Signal

9

0.35 L-BU/BK

747

Left Rear Door Ajar Switch Signal

10

0.35 GY

8

Instrument Panel Lamp Supply Voltage

10

0.35 GY

8

Instrument Panel Lamp Supply Voltage

11

0.35 PU

169

Power Window Master Switch Left Rear Down Signal

11

0.35 PU

169

Power Window Master Switch Left Rear Down Signal

12

0.35 D-GN

168

Power Window Master Switch Left Rear Up Signal

12

0.35 D-GN

168

Power Window Master Switch Left Rear Up Signal

13

0.35 D-BU

1307

Power Window Master Switch Lockout Signal

13

0.35 D-BU

1307

Power Window Master Switch Lockout Signal

14

0.35 L-BU

6622

Left Rear Side Impact Sensing Module Signal

14

0.35 L-BU

6622

Left Rear Side Impact Sensing Module Signal

15

0.35 L-GN/BK

6623

Low Reference

15

0.35 L-GN/BK

6623

Low Reference

16

0.5 D-BU/WH

1179

Left Rear Door Open Switch Signal

16

0.35 D-BU/WH

1179

Left Rear Door Open Switch Signal

17

0.8 YE

116

Left Rear Speaker Output (-)

17

0.8 YE

116

Left Rear Speaker Output (-) (UQA/UQS)

0.5 YE

116

Left Rear Speaker Output (-) (UQF)

1 YE

116

Left Rear Speaker Output (-) (UQG)

18

0.8 BN

199

Left Rear Speaker Output (+)

18

0.8 BN

199

Left Rear Speaker Output (+) (UQA/UQS)

0.5 BN

199

Left Rear Speaker Output (+) (UQF)

1 BN

199

Left Rear Speaker Output (+) (UQG)

19

--

--

Not Used

19

--

--

Not Used

X800 Body Harness to Right Rear Door Harness


Object Number: 1864303  Size: CH

Object Number: 1864304  Size: CH

Connector Part Information

  • OEM: 6098-5144
  • Service: See Catalog
  • Description: 19-Way F Sealed (BK)

Connector Part Information

  • OEM: 6098-5141
  • Service: See Catalog
  • Description: 19-Way M Sealed (BK)

Terminal Part Information

  • Pins: 9-18
  • Terminal/Tray: 12191812/19
  • Core/Insulation Crimp: Pins: 17, 18 : C/A
  • Core/Insulation Crimp: Pins: 9-16 : E/C
  • Release Tool/Test Probe: 15315247/J-35616-2A (GY)
  • Pins: 4, 5
  • Terminal/Tray: 15304711/8
  • Core/Insulation Crimp: 2/A
  • Release Tool/Test Probe: 15315247/J-35616-4A (PU)
  • Pins: 1, 8
  • Terminal/Tray: 15304713/19
  • Core/Insulation Crimp: 4/4
  • Release Tool/Test Probe: 15315247/J-35616-4A (PU)

Terminal Part Information

  • Pins: 9-18
  • Terminal/Tray: 15304702/19
  • Core/Insulation Crimp: Pins: 17, 18 : 2/4
  • Core/Insulation Crimp: Pins: 17, 18 : E/4
  • Core/Insulation Crimp: Pins: 9-16 : E/C
  • Release Tool/Test Probe: 15315247/J-35616-3 (GY)
  • Pins: 1, 4, 5, 8
  • Terminal/Tray: 15304724/8
  • Core/Insulation Crimp: Pins: 4, 5 : 2/A
  • Core/Insulation Crimp: Pins: 1, 8 : C/D
  • Release Tool/Test Probe: 15315247/J-35616-5 (PU)

X800 Body Harness to Right Rear Door Harness

Pin

Wire

Circuit No.

Function

Pin

Wire

Circuit No.

Function

1

2 RD/WH

3340

Battery Positive Voltage

1

2 RD/WH

3340

Battery Positive Voltage

2-3

--

--

Not Used

2-3

--

--

Not Used

4

0.8 GY

295

Door Lock Actuator Lock Control

4

1 GY

295

Door Lock Actuator Lock Control

5

0.8 TN

294

Door Lock Actuator Unlock Control

5

1 TN

294

Door Lock Actuator Unlock Control

6-7

--

--

Not Used

6-7

--

--

Not Used

8

2 BK

750

Ground

8

2 BK

750

Ground

9

0.5 L-GN/BK

748

Right Rear Door Ajar Switch Signal

9

0.35 L-GN/BK

748

Right Rear Door Ajar Switch Signal

10

0.35 GY

8

Instrument Panel Lamp Supply Voltage

10

0.35 GY

8

Instrument Panel Lamp Supply Voltage

11

0.35 PU

171

Power Window Master Switch Right Rear Down Signal

11

0.35 PU

171

Power Window Master Switch Right Rear Down Signal

12

0.35 L-BU/WH

280

Power Window Master Switch Lockout Right Rear Signal

12

0.35 L-BU/WH

280

Power Window Master Switch Lockout Right Rear Signal

13

0.35 L-GN

170

Power Window Master Switch Right Rear Up Signal

13

0.35 L-GN

170

Power Window Master Switch Right Rear Up Signal

14

0.35 L-BU/WH

6626

Right Rear Side Impact Sensing Module Signal

14

0.35 L-BU/WH

6626

Right Rear Side Impact Sensing Module Signal

15

0.35 PK/BK

6627

Low Reference

15

0.35 PK/BK

6627

Low Reference

16

0.5 D-BU/WH

1179

Left Rear Door Open Switch Signal

16

0.35 D-BU/WH

1179

Left Rear Door Open Switch Signal

17

0.8 L-BU

115

Right Rear Speaker Output (-)

17

0.8 L-BU

115

Right Rear Speaker Output (-) (UQA/UQS)

0.5 L-BU

115

Right Rear Speaker Output (-) (UQF)

1 L-BU

115

Right Rear Speaker Output (-) (UQG)

18

0.8 D-BU

46

Right Rear Speaker Output (+)

18

0.8 D-BU

46

Right Rear Speaker Output (+) (UQA/UQS)

0.5 D-BU

46

Right Rear Speaker Output (+) (UQF)

1 D-BU

46

Right Rear Speaker Output (+) (UQG)

19

--

--

Not Used

19

--

--

Not Used

X901 Body Harness to Liftgate Harness


Object Number: 1845354  Size: CH

Object Number: 1856786  Size: CH

Connector Part Information

  • OEM: 7283-3740-40
  • Service: See Catalog
  • Description: 6-Way F Kaizen YESC Series (L-GY)

Connector Part Information

  • OEM: 7282-5604-40
  • Service: See Catalog
  • Description: 6-Way M 6.3 YESC Series (L-GY)

Terminal Part Information

  • Pins: 5-6
  • Terminal/Tray: 7116-4120-02/9
  • Core/Insulation Crimp: E/B
  • Release Tool/Test Probe: 12094430/J-35616-42 (RD)
  • Pins: 1, 3
  • Terminal/Tray: 7116-4122-02/10
  • Core/Insulation Crimp: Pin: 1 : A/B
  • Core/Insulation Crimp: Pin: 3 : D/G
  • Release Tool/Test Probe: 12094430/J-35616-42 (RD)
  • Pins: 2, 4
  • Terminal/Tray: 7116-4121-02/10
  • Core/Insulation Crimp: C/B
  • Release Tool/Test Probe: 12094430/J-35616-42 (RD)

Terminal Part Information

  • Pins: 5-6
  • Terminal/Tray: 7114-4120-02/9
  • Core/Insulation Crimp: E/B
  • Release Tool/Test Probe: 12094430/J-35616-43 (RD)
  • Pins: 1, 3
  • Terminal/Tray: 7114-4122-02/9
  • Core/Insulation Crimp: Pin: 1 : A/B
  • Core/Insulation Crimp: Pin: 3 : D/G
  • Release Tool/Test Probe: 12094430/J-35616-43 (RD)
  • Pins: 2, 4
  • Terminal/Tray: 7114-4121-02/9
  • Core/Insulation Crimp: C/B
  • Release Tool/Test Probe: 12094430/J-35616-43 (RD)

X901 Body Harness to Liftgate Harness

Pin

Wire

Circuit No.

Function

Pin

Wire

Circuit No.

Function

1

3 BK

650

Ground

1

3 BK

650

Ground

2

2 BN

5790

Liftgate Cinch Latch Motor Open Control (E61)

2

2 BN

5790

Liftgate Cinch Latch Motor Open Control (E61)

3

5 PU

293

Rear Defog Element Supply Voltage

3

5 PU

293

Rear Defog Element Supply Voltage

4

2 L-BU

5791

Liftgate Cinch Latch Motor Close Control (E61)

4

2 L-BU

5791

Liftgate Cinch Latch Motor Close Control (E61)

5

1 BK

650

Ground

5

1 BK

650

Ground

6

1 RD/WH

3840

Battery Positive Voltage

6

1 RD/WH

3840

Battery Positive Voltage

X902 Body Harness to Liftgate Harness (UVC)


Object Number: 1553012  Size: CH

Object Number: 1851895  Size: CH

Connector Part Information

  • OEM: 7283-6386-40
  • Service: 88988116
  • Description: 4-Way F 0.64mm YESC Unsealed (L-GY)

Connector Part Information

  • OEM: 7282-6560-40
  • Service: See Catalog
  • Description: 4-Way M 0.64mm YESC Unsealed (L-GY)

Terminal Part Information

  • Terminal/Tray: 7116-4720-02/14
  • Core/Insulation Crimp: H/H
  • Release Tool/Test Probe: 15315247/J-35616-64B (L-BU)

Terminal Part Information

  • Terminal/Tray: See Terminal Repair Kit
  • Core/Insulation Crimp: See Terminal Repair Kit
  • Release Tool/Test Probe: See Terminal Repair Kit

X902 Body Harness to Liftgate Harness (UVC)

Pin

Wire

Circuit No.

Function

Pin

Wire

Circuit No.

Function

1

0.35 BARE

6799

Camera Shield

1

0.35 BARE

6799

Camera Shield

2

0.35 OG

6201

Camera Supply Voltage

2

0.35 OG

6201

Camera Supply Voltage

3

0.35 TN/BK

6202

Ground

3

0.35 TN/BK

6202

Ground

4

0.35 WH

6798

Camera Video Signal

4

0.35 WH

6798

Camera Video Signal

X903 Body Harness to Liftgate Harness


Object Number: 1592558  Size: CH

Object Number: 1483278  Size: CH

Connector Part Information

  • OEM: 7283-6453-60
  • Service: See Catalog
  • Description: 16-Way F Kaizen YESC Series, Unsealed (GN)

Connector Part Information

  • OEM: 7282-6453-60
  • Service: See Catalog
  • Description: 16-Way M Kaizen YESC Series (GN)

Terminal Part Information

  • Pins: 1-7, 9-16
  • Terminal/Tray: 7116-4100-08/9
  • Core/Insulation Crimp: Pins: 1-7, 9-16 : E/C
  • Core/Insulation Crimp: Pins: 2, 9 : E/A
  • Release Tool/Test Probe: 12094430/J-35616-2A (GY)
  • Pin: 15
  • Terminal/Tray: 33012-1002/26
  • Core/Insulation Crimp: E/C
  • Release Tool/Test Probe: 12094429/J-35616-14 (GN)

Terminal Part Information

  • Pins: 1-7, 9-16
  • Terminal/Tray: 7114-4100-08/9
  • Core/Insulation Crimp: E/C
  • Release Tool/Test Probe: 15315247/J-35616-3 (GY)

X903 Body Harness to Liftgate Harness

Pin

Wire

Circuit No.

Function

Pin

Wire

Circuit No.

Function

1

0.5 GY/BK

690

Courtesy Lamp High Control

1

0.5 GY/BK

690

Courtesy Lamp High Control

2

0.5 L-BU

1320

Stop Lamp Supply Voltage

2

0.5 L-BU

1320

Stop Lamp Supply Voltage

3

0.35 PK/BK

1303

Liftgate Ajar Switch Signal (E69)

3

0.5 PK/BK

1303

Liftgate Ajar Switch Signal (E69)

4

0.5 L-GN

2270

Rear Window Washer Relay Control

4

0.5 L-GN

2270

Rear Window Washer Relay Control

5

0.35 WH

2283

Rear Wiper/Washer Switch Supply Voltage

5

0.35 WH

2283

Rear Wiper/Washer Switch Supply Voltage

6

0.35 L-GN

5926

Rear Access Open Switch Signal (E69)

6

0.5 L-GN

5926

Rear Access Open Switch Signal (E69)

7

0.5 GY

391

Rear Window Wiper Switch Signal

7

0.5 GY

391

Rear Window Wiper Switch Signal

8

--

--

Not Used

8

--

--

Not Used

9

0.8 L-GN

24

Backup Lamp Supply Voltage

9

0.5 L-GN

24

Backup Lamp Supply Voltage

10

0.35 PU/WH

5801

Low Reference (E61)

10

0.35 PU/WH

5801

Low Reference (E61)

0.35 GY

5797

Rear Closure Handle Switch Open Signal (E69)

0.35 GY

5797

Rear Closure Handle Switch Open Signal (E69)

11

0.35 PK/BK

6000

Liftgate Ajar Switch Signal (2) (E61)

11

0.35 PK/BK

6000

Liftgate Ajar Switch Signal (2) (E61)

12

0.35 GY/BK

6113

Rear Liftgate Open/Close Switch Signal (E61)

12

0.35 GY/BK

6113

Rear Liftgate Open/Close Switch Signal (E61)

0.5 L-BU

6128

Ground (E69)

0.5 L-BU

6128

Ground (E69)

13

0.35 D-GN

5512

Local Interconnect Network 1 (E61)

13

0.35 D-GN

5512

Local Interconnect Network 1 (E61)

14

0.35 WH/BK

6126

Liftgate Object Sensor 2 Signal (E61)

14

0.35 WH/BK

6126

Liftgate Object Sensor 2 Signal (E61)

15

0.5 PU

709

Left Park Lamp Supply Voltage

15

0.5 PU

709

Left Park Lamp Supply Voltage

16

0.35 GY

7000

Liftgate Ajar Switch Signal 3 (E61)

16

0.35 GY

7000

Liftgate Ajar Switch Signal 3 (E61)

X911 Liftgate Harness to Center High Mounted Stop Lamp (CHMSL) Harness


Object Number: 1856792  Size: CH

Object Number: 1853532  Size: CH

Connector Part Information

  • OEM: 7283-6443-40
  • Service: See Catalog
  • Description: 2-Way F 1.5 YESC Series (L-GY)

Connector Part Information

  • OEM: 7282-6443-40
  • Service: See Catalog
  • Description: 2-Way M 1.5 Series (L-GY)

Terminal Part Information

  • Terminal/Tray: 7116-4100-08/9
  • Core/Insulation Crimp: E/C
  • Release Tool/Test Probe: 12094430/J-35616-2A (GY)

Terminal Part Information

  • Terminal/Tray: 7114-4100-08/9
  • Core/Insulation Crimp: E/C
  • Release Tool/Test Probe: 15315247/J-35616-3 (GY)

X911 Liftgate Harness to Center High Mounted Stop Lamp (CHMSL) Harness

Pin

Wire

Circuit No.

Function

Pin

Wire

Circuit No.

Function

1

0.5 BK

650

Ground

1

0.5 BK

650

Ground

2

0.5 L-BU

1320

Stop Lamp Supply Voltage

2

0.5 L-BU

1320

Stop Lamp Supply Voltage

X920 Liftgate Harness to Liftgate Applique Harness (W49/Z88)


Object Number: 646415  Size: CH

Object Number: 632353  Size: CH

Connector Part Information

  • OEM: 15326808
  • Service: See Catalog
  • Description: 3-Way F GT 150 Series, Sealed (BK)

Connector Part Information

  • OEM: 15326813
  • Service: 15306377
  • Description: 3-Way M GT 150 Series, Sealed (BK)

Terminal Part Information

  • Terminal/Tray: See Terminal Repair Kit
  • Core/Insulation Crimp: See Terminal Repair Kit
  • Release Tool/Test Probe: See Terminal Repair Kit

Terminal Part Information

  • Terminal/Tray: See Terminal Repair Kit
  • Core/Insulation Crimp: See Terminal Repair Kit
  • Release Tool/Test Probe: See Terminal Repair Kit

X920 Liftgate Harness to Liftgate Applique Harness (W49/Z88)

Pin

Wire

Circuit No.

Function

Pin

Wire

Circuit No.

Function

A

0.5 L-GN

24

Backup Lamp Supply Voltage

A

0.5 BK

--

Backup Lamp Supply Voltage

B

0.5 PU

709

Left Park Lamp Supply Voltage

B

0.5 BK

--

Left Park Lamp Supply Voltage

C

0.5 BK

650

Ground

C

0.5 BK

--

Ground

X931 Liftgate Harness to Liftgate Applique Harness (W49/Z88)


Object Number: 646415  Size: CH

Object Number: 632353  Size: CH

Connector Part Information

  • OEM: 15326808
  • Service: See Catalog
  • Description: 3-Way F GT 150 Series, Sealed (BK)

Connector Part Information

  • OEM: 15326813
  • Service: 15306377
  • Description: 3-Way M GT 150 Series, Sealed (BK)

Terminal Part Information

  • Terminal/Tray: See Terminal Repair Kit
  • Core/Insulation Crimp: See Terminal Repair Kit
  • Release Tool/Test Probe: See Terminal Repair Kit

Terminal Part Information

  • Terminal/Tray: See Terminal Repair Kit
  • Core/Insulation Crimp: See Terminal Repair Kit
  • Release Tool/Test Probe: See Terminal Repair Kit

X931 Liftgate Harness to Liftgate Applique Harness (W49/Z88)

Pin

Wire

Circuit No.

Function

Pin

Wire

Circuit No.

Function

A

0.5 L-GN

24

Backup Lamp Supply Voltage

A

0.5 BK

--

Backup Lamp Supply Voltage

B

0.5 PU

709

Left Park Lamp Supply Voltage

B

0.5 BK

--

Left Park Lamp Supply Voltage

C

0.5 BK

650

Ground

C

0.5 BK

--

Ground

X933 License Lamp Harness to Liftgate Harness (WDA/Z88)


Object Number: 82383  Size: CH

Object Number: 1664595  Size: CH

Connector Part Information

  • OEM: 12047662
  • Service: 12085535
  • Description: 2-Way F Metri-Pack 150 Series (BK)

Connector Part Information

  • OEM: 12048457
  • Service: 12085481
  • Description: 2-Way M Metri-Pack 150 Series (BK)

Terminal Part Information

  • Terminal/Tray: See Terminal Repair Kit
  • Core/Insulation Crimp: See Terminal Repair Kit
  • Release Tool/Test Probe: See Terminal Repair Kit

Terminal Part Information

  • Terminal/Tray: 12047581/2
  • Core/Insulation Crimp: E/C
  • Release Tool/Test Probe: 12094429/J-35616-3 (GY)

X933 License Lamp Harness to Liftgate Harness (WDA/Z88)

Pin

Wire

Circuit No.

Function

Pin

Wire

Circuit No.

Function

A

0.5 BK

--

Ground

A

0.5 BK

650

Ground

B

0.5 WH

--

Left Park Lamp Supply Voltage

B

0.5 PU

709

Left Park Lamp Supply Voltage

X933 License Lamp Harness to Liftgate Harness (W49)


Object Number: 1716517  Size: CH

Object Number: 1716516  Size: CH

Connector Part Information

  • OEM: 7283-9028-30
  • Service: See Catalog
  • Description: 8-Way F YESC Kaizen Series (BK)

Connector Part Information

  • OEM: 7282-9022-30
  • Service: See Catalog
  • Description: 8-Way F YESC Kaizen Series, Unsealed (BK)

Terminal Part Information

  • Terminal/Tray: See Terminal Repair Kit
  • Core/Insulation Crimp: See Terminal Repair Kit
  • Release Tool/Test Probe: See Terminal Repair Kit

Terminal Part Information

  • Terminal/Tray: See Terminal Repair Kit
  • Core/Insulation Crimp: See Terminal Repair Kit
  • Release Tool/Test Probe: See Terminal Repair Kit

X933 License Lamp Harness to Liftgate Harness (W49)

Pin

Wire

Circuit No.

Function

Pin

Wire

Circuit No.

Function

1

0.35 BARE

6799

Camera Shield (UVC)

1

0.35 BARE

6799

Camera Shield (UVC)

2

0.35 OG

6201

Camera Supply Voltage (UVC)

2

0.35 OG

6201

Camera Supply Voltage (UVC)

3

0.35 TN/BK

6202

Ground (UVC)

3

0.35 TN/BK

6202

Ground (UVC)

4

0.35 WH

6798

Camera Video Signal (UVC)

4

0.35 WH

6798

Camera Video Signal (UVC)

5

0.35 GY

5797

Liftgate Open/Close Switch Signal Rear (E69)

5

0.35 GY

5797

Liftgate Open/Close Switch Signal Rear (E69)

0.35 GY/BK

6113

Rear Liftgate Open/Close Switch Signal (E61)

0.35 GY/BK

6113

Rear Liftgate Open/Close Switch Signal (E61)

6

0.35 BK

650

Ground (E69)

6

0.35 BK

650

Ground (E69)

0.35 PU/WH

5801

Low Reference (E61)

0.35 PU/WH

5801

Low Reference (E61)

7

0.5 PU

709

Left Park Lamp Supply Voltage

7

0.5 PU

709

Left Park Lamp Supply Voltage

8

0.5 BK

650

Ground

8

0.5 BK

650

Ground

X940 Liftgate Harness to Liftgate Trim Panel Harness


Object Number: 1787799  Size: CH

Object Number: 1787800  Size: CH

Connector Part Information

  • OEM: 7283-3440-40
  • Service: 19149536
  • Description: 3-Way F Kaizen YESC Series (L-GY)

Connector Part Information

  • OEM: 7282-3440-40
  • Service: See Catalog
  • Description: 3-Way M Kaizen YESC Series (L-GY)

Terminal Part Information

  • Terminal/Tray: 7116-4101-08/9
  • Core/Insulation Crimp: E/A
  • Release Tool/Test Probe: 12094430/J-35616-2A (GY)

Terminal Part Information

  • Terminal/Tray: 7114-4100-08/9
  • Core/Insulation Crimp: E/C
  • Release Tool/Test Probe: 15315247/J-35616-3 (GY)

X940 Liftgate Harness to Liftgate Trim Panel Harness

Pin

Wire

Circuit No.

Function

Pin

Wire

Circuit No.

Function

1

1 GY/BK

690

Courtesy Lamp High Control

1

0.5 GY/BK

690

Courtesy Lamp High Control

1 GY/BK

690

Courtesy Lamp High Control

2

1 BK

650

Ground

2

0.5 BK

650

Ground

1 BK

650

Ground

3

--

--

Not Used

3

--

--

Not Used