GM Service Manual Online
For 1990-2009 cars only
Connector 1: Engine Control Module (ECM) X1 (LY7)
Connector 2: Engine Control Module (ECM) X2 (LY7)
Connector 3: Engine Control Module (ECM) X3 (LY7)

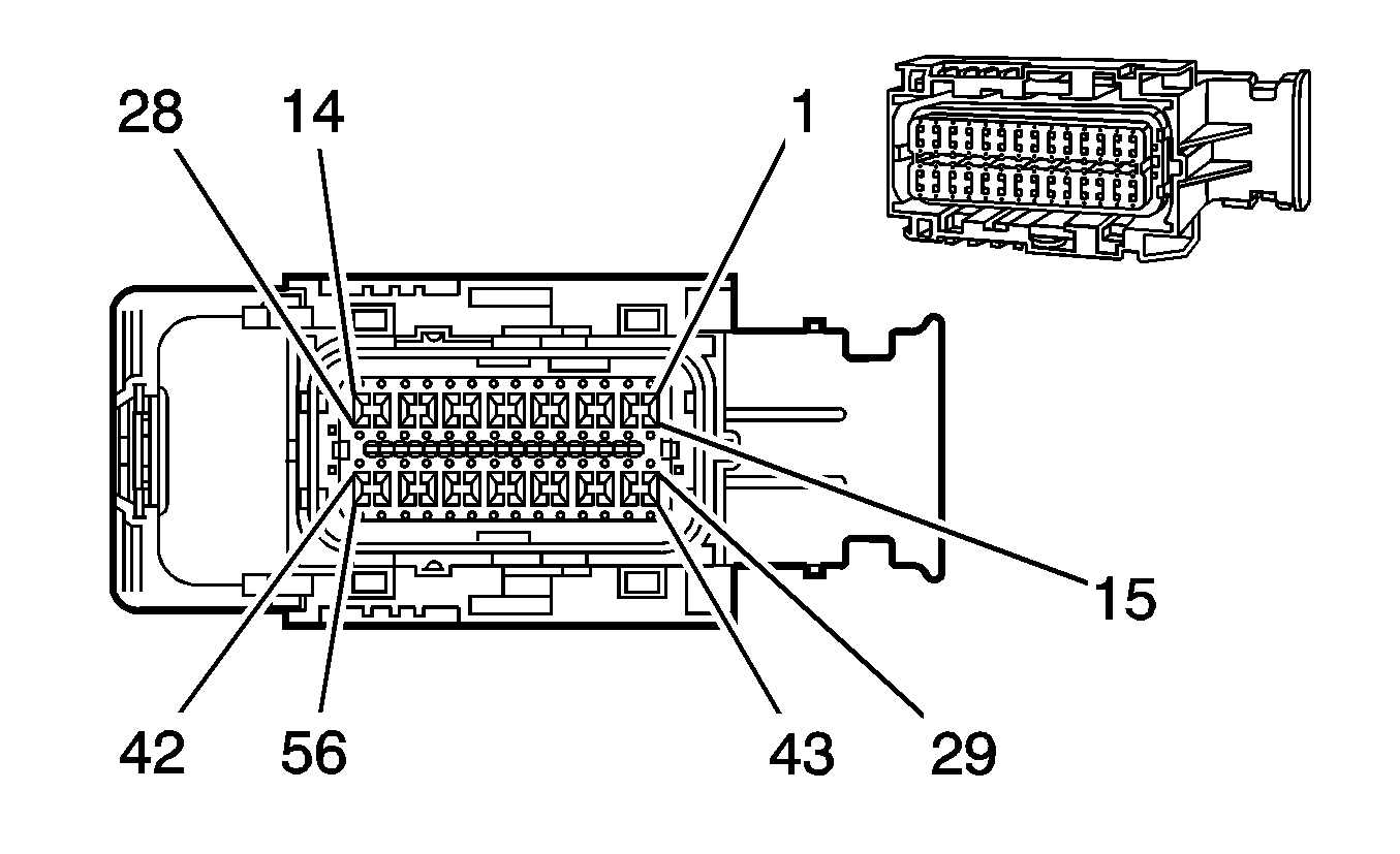
Engine Control Module (ECM) X1 (LY7)


Object Number: 1673474  Size: CH

Connector Part Information

  • OEM: 34576-3603
  • Service: See Catalog
  • Description: 56-Way F MX123 Series, Sealed (BU)

Terminal Part Information

  • Terminal/Tray: 33467-0005/23
  • Core/Insulation Crimp: J/J
  • Release Tool/Test Probe: J-38125-213/J-35616-64B (L-BU)

Engine Control Module (ECM) X1 (LY7)

Pin

Wire

Circuit No.

Function

1-6

--

--

Not Used

7

0.5 WH

17

Stop Lamp Supply Voltage

8

--

--

Not Used

9

0.5 TN

452

Low Reference

10-11

--

--

Not Used

12

0.5 BN/WH

419

MIL Control

13

0.5 D-GN/WH

465

Fuel Pump Relay Control

14-17

--

--

Not Used

18

0.5 D-BU

5985

Ignition I/II Voltage

19

0.5 PK

439

Ignition II/III Voltage

20

0.5 RD/WH

540

Battery Positive Voltage

21-25

--

--

Not Used

26

0.5 YE

447

Starter Relay Coil Control

27-32

--

--

Not Used

33

0.5 WH/BK

1164

5-Volt Reference

34

0.5 GY

2709

5-Volt Reference

35

0.5 TN

1274

5-Volt Reference

36

0.5 BN

1271

Low Reference

37

0.5 PU

1272

Low Reference

38-39

--

--

Not Used

40

0.5 YE

5991

Powertrain Relay Coil Control

41-43

--

--

Not Used

44

0.5 PU

1589

Fuel Level Sensor Signal

45-46

--

--

Not Used

47

0.5 D-BU

1161

APP Sensor 1 Signal

48

0.5 D-GN

890

Fuel Tank Pressure Sensor Signal

49

0.5 L-BU

1162

APP Sensor 2 Signal

50-52

--

--

Not Used

53

0.5 D-GN/WH

459

A/C Compressor Clutch Relay Control

54

0.5 D-BU

473

High Speed Cooling Fan Relay Control

55

0.5 WH

1310

EVAP Canister Vent Solenoid Control

56

--

--

Not Used

Engine Control Module (ECM) X2 (LY7)


Object Number: 1673472  Size: CH

Connector Part Information

  • OEM: 34566-5203
  • Service: See Catalog
  • Description: 73-Way F MX123 34566 Series, Sealed (BK)

Terminal Part Information

  • Pins: 73
  • Terminal/Tray: 7116-4152-02/9
  • Core/Insulation Crimp: 2/5
  • Release Tool/Test Probe: 12094430/J-35616-35 (VT)
  • Terminal/Tray: 33467-0005/23
  • Core/Insulation Crimp: Pins 1-9, 14, 15, 17, 19-24, 27, 29-39, 42-44, 46-54, 56-59, 62-64, 66-69, 71, 72 - J/J
  • Core/Insulation Crimp: Pins 11-13 - K/K
  • Release Tool/Test Probe: J-38125-213/J-35616-64B (L-BU)

Engine Control Module (ECM) X2 (LY7)

Pin

Wire

Circuit No.

Function

1

0.5 BN/WH

6405

Ignition Coil 1 Control

2

0.5 TN/WH

7349

Low Reference

3

0.5 D-GN

7352

Oxygen Sensor Bank 1 Sensor 1 Signal

4

0.5 OG/D-BU

7357

Oxygen Sensor Bank 1 Sensor 2 Signal

5

0.5 WH/YE

7356

Low Reference

6

0.5 L-BU

1876

Knock Sensor 2 Signal

7

0.5 TN

407

Low Reference

8

0.5 D-BU

496

Knock Sensor 1 Signal

9

0.5 GY

1716

Low Reference

10

--

--

Not Used

11

0.8 YE

581

TAC Motor Control - 1

12

0.8 BN

582

TAC Motor Control - 2

13

0.8 PK/BK

5290

Ignition II/III Voltage

14

0.5 PK/BK

6395

Cam Phaser #2 Control

15

0.5 TN/BK

6397

Cam Phaser #4 Control

16

--

--

Not Used

17

0.5 D-BU/WH

6406

Ignition Coil 2 Control

18

--

--

Not Used

19

0.5 PK

6414

Inside Air Temperature Sensor Signal

20

0.5 PU

6267

Camshaft CAM X Ground

21

0.5 TN

6268

Camshaft CAM Y Ground

22

0.5 WH

6269

Camshaft CAM Z Ground

23

0.5 BN

6266

Camshaft CAM W Ground

24

0.5 BK

2755

Low Reference

25-26

--

--

Not Used

27

0.5 GY/BK

6272

Low Reference

28

--

--

Not Used

29

0.5 TN

2752

Low Reference

30

0.5 BN/WH

6754

Low Reference

31

0.5 D-BU/WH

6756

Low Reference

32

0.5 GY

6418

Fuel Injector 4 Control

33

0.5 D-GN/WH

6407

Ignition Coil 3 Control

34

0.5 PU/WH

6410

Ignition Coil 6 Control

35

0.5 PU

6413

Low Reference

36

0.5 D-GN

6457

Camshaft CAM X Supply Voltage

37

0.5 OG

6260

Camshaft CAM Y Supply Voltage

38

0.5 PK

6261

Camshaft CAM Z Supply Voltage

39

0.5 D-BU

6259

Camshaft CAM W Supply Voltage

40-41

--

--

Not Used

42

0.5 TN

2760

Low Reference

43

0.5 PU/WH

6270

Crankshaft 60X Sensor Voltage

44

0.5 GY

2701

5-Volt Reference

45

--

--

Not Used

46

0.5 BN

6753

Low Reference

47

0.5 D-BU

6755

Low Reference

48

0.5 D-BU

6416

Fuel Injector 2 Control

49

0.5 OG

6420

Fuel Injector 6 Control

50

0.5 WH/BK

6396

Cam Phaser #3 Control

51

0.5 GY/BK

6394

Cam Phaser Control

52

0.5 L-BU

6419

Fuel Injector 5 Control

53

0.5 L-BU/WH

6408

Ignition Coil 4 Control

54

0.5 L-GN/WH

6409

Ignition Coil 5 Control

55

--

--

Not Used

56

0.5 D-GN/WH

6264

Camshaft CAM X Signal

57

0.5 OG/BK

6263

Camshaft CAM Y Signal

58

0.5 PK/BK

6262

Camshaft CAM Z Signal

59

0.5 D-BU/WH

6265

Camshaft CAM W Signal

60-61

--

--

Not Used

62

0.5 TN

472

IAT Sensor Signal

63

0.5 WH/BK

6271

Crankshaft 60X Sensor Signal

64

0.5 D-GN

485

TP Sensor 1 Signal

65

--

--

Not Used

66

0.5 PU

486

TP Sensor 2 Signal

67

0.5 YE

492

MAF Sensor Signal

68

0.5 D-BU

6424

Oxygen Sensor Heated A Signal

69

0.5 OG

6426

Oxygen Sensor Heated C Signal

70

--

--

Not Used

71

0.5 D-GN

6417

Fuel Injector 3 Control

72

0.5 BN

6415

Fuel Injector 1 Control

73

2 BK/WH

451

Ground

Engine Control Module (ECM) X3 (LY7)


Object Number: 1673472  Size: CH

Connector Part Information

  • OEM: 34566-5303
  • Service: See Catalog
  • Description: 73-Way F MX123 34566 Series, Sealed (GY)

Terminal Part Information

  • Terminal/Tray: 33467-0005/23
  • Core/Insulation Crimp: J/J
  • Release Tool/Test Probe: J-38125-213/J-35616-64B (L-BU)

Engine Control Module (ECM) X3 (LY7)

Pin

Wire

Circuit No.

Function

1-2

--

--

Not Used

3

0.5 TN/BK

7354

Low Reference

4

0.5 PU/WH

7355

Oxygen Sensor Heated B High Reference

5

0.5 YE/BN

7359

Oxygen Sensor Bank 2 Sensor 2 Signal

6

0.5 VT/WH

7358

Low Reference

7

0.5 OG

225

Generator Turn On Signal

8-14

--

--

Not Used

15

0.5 GY

6425

Oxygen Sensor Heated B Signal

16-20

--

--

Not Used

21

0.5 TN

5514

Low Reference

22

--

--

Not Used

23

0.5 OG/BK

469

Low Reference

24-28

--

--

Not Used

29

0.5 GY

23

Generator Field Duty Cycle Signal

30-31

--

--

Not Used

32

0.5 OG

6392

Variable Tuning Control

33

0.5 TN

2501

High Speed GMLAN Serial Data Bus-

34

--

--

Not Used

35

0.5 TN

2761

Low Reference

36

--

--

Not Used

37

0.5 GY

2700

5-Volt Reference

38

--

--

Not Used

39

0.5 GY

2704

5-Volt Reference

40-45

--

--

Not Used

46

0.5 OG/BK

1786

Ignition Lock Cylinder Control Actuator Signal

47

--

--

Not Used

48

0.5 D-GN/WH

428

EVAP Canister Purge Solenoid Control

49

0.5 D-GN

335

Low Speed Cooling Fan Relay Control

50

0.5 PU

6427

Oxygen Sensor Heated D Signal

51-52

--

--

Not Used

53

0.5 TN/BK

2500

High Speed GMLAN Serial Data Bus+

54

--

--

Not Used

55

0.5 YE

410

ECT Sensor Signal

56

--

--

Not Used

57

0.5 OG/BK

380

A/C Refrigerant Pressure Sensor Signal

58

--

--

Not Used

59

0.5 L-GN

432

MAP Sensor Signal

60-63

--

--

Not Used

64

0.5 YE

7017

Variable Intake Manifold Position Signal

65

0.5 TN/BK

231

Oil Pressure Switch Signal

66-73

--

--

Not Used