GM Service Manual Online
For 1990-2009 cars only
Connector 1: A/C Compressor Clutch
Connector 2: A/C Refrigerant Pressure Sensor
Connector 3: Air Temperature Actuator
Connector 4: Air Temperature Actuator - Auxiliary
Connector 5: Ambient Temperature Sensor
Connector 6: Blower Motor
Connector 7: Blower Motor - Auxiliary
Connector 8: Blower Motor Control Module - Auxiliary X1
Connector 9: Blower Motor Control Module - Auxiliary X2
Connector 10: Blower Motor Control Module X1
Connector 11: Blower Motor Control Module X2
Connector 12: Evaporator Temperature Sensor
Connector 13: HVAC Control Assembly - Auxiliary (-UK6)
Connector 14: HVAC Control Module X1
Connector 15: HVAC Control Module X2
Connector 16: HVAC Control Module X3
Connector 17: HVAC Control Module X4
Connector 18: Mode Actuator
Connector 19: Mode Actuator - Auxiliary
Connector 20: Recirculation Actuator

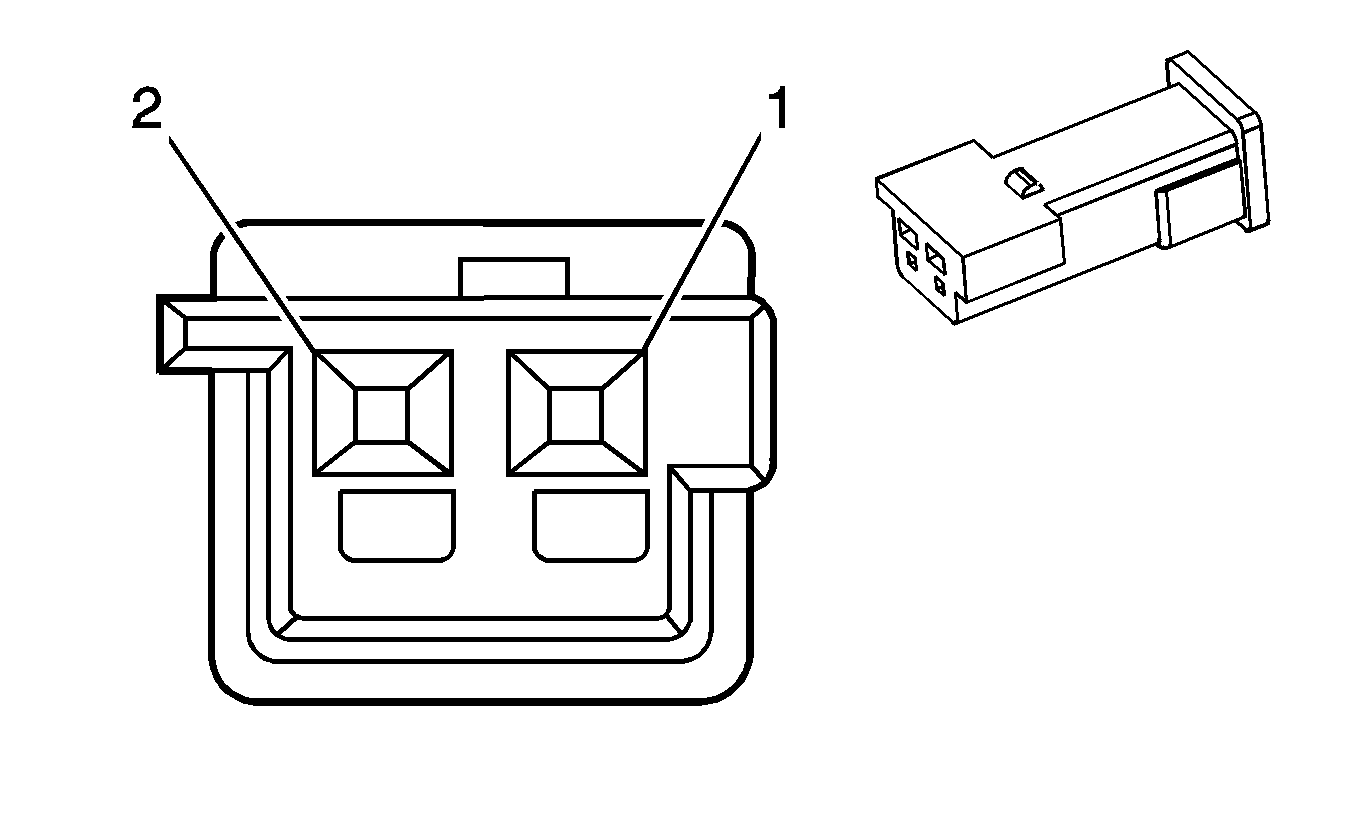
A/C Compressor Clutch


Object Number: 897985  Size: CH

Connector Part Information

  • OEM: 7282-5548-30
  • Service: 88953303
  • Description: 2-Way M YESC Weather Pack (BK)

Terminal Part Information

  • Terminal/Tray: 7114-4103-08/9
  • Core/Insulation Crimp: E/1
  • Release Tool/Test Probe: 12094430/J-35616-3 (GY)

A/C Compressor Clutch

Pin

Wire

Circuit No.

Function

1

0.5 D-GN

59

A/C Compressor Clutch Supply Voltage

2

1 BK

1050

Ground

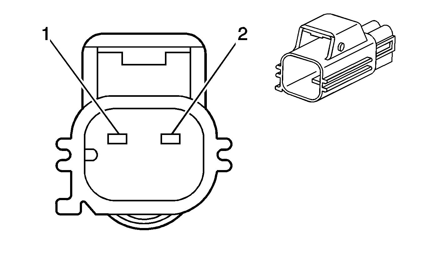
A/C Refrigerant Pressure Sensor


Object Number: 1519475  Size: CH

Connector Part Information

  • OEM: 15477863
  • Service: 88988301
  • Description: 3-Way F GT 150 Series, Sealed (BK)

Terminal Part Information

  • Terminal/Tray: 15326267/19
  • Core/Insulation Crimp: E/4
  • Release Tool/Test Probe: 15315247/J-35616-2A (GY)

A/C Refrigerant Pressure Sensor

Pin

Wire

Circuit No.

Function

1

0.5 TN

5514

Low Reference

2

0.5 GY

2700

5-Volt Reference

3

0.5 OG/BK

380

A/C Refrigerant Pressure Sensor Signal

Air Temperature Actuator


Object Number: 280764  Size: CH

Connector Part Information

  • OEM: 12064993
  • Service: 12102485
  • Description: 6-Way F Micro-Pack 100 Series (BK)

Terminal Part Information

  • Terminal/Tray: 12146447/3
  • Core/Insulation Crimp: E/C
  • Release Tool/Test Probe: 12031876-1/J-35616-6 (BN)

Air Temperature Actuator

Pin

Wire

Circuit No.

Function

5

0.35 WH/BK

1236

Auxiliary Air Temperature Door Control

6

0.35 GY/BK

2778

Right Air Temperature Door Control A

7

--

--

Not Used

8

0.35 YE

1791

Low Reference

9

0.35 D-BU

1646

Auxiliary Air Temperature Door Position Signal

10

0.35 GY

598

5-Volt Reference

Air Temperature Actuator - Auxiliary


Object Number: 280764  Size: CH

Connector Part Information

  • OEM: 12064993
  • Service: 12102485
  • Description: 6-Way F Micro-Pack 100 Series (BK)

Terminal Part Information

  • Terminal/Tray: 12146447/3
  • Core/Insulation Crimp: E/C
  • Release Tool/Test Probe: 12031876-1/J-35616-6 (BN)

Air Temperature Actuator - Auxiliary

Pin

Wire

Circuit No.

Function

5

0.35 GY

2614

Auxiliary Air Temperature Door Control

6

0.35 BN

6555

Auxiliary Temperature Motor Supply Voltage

7

--

--

Not Used

8

0.35 GY/BK

1798

Low Reference

9

0.35 PK

2145

Auxiliary Air Temperature Door Position Signal

10

0.35 GY

596

5-Volt Reference

Ambient Temperature Sensor


Object Number: 684793  Size: CH

Connector Part Information

  • OEM: 12052642
  • Service: 12101856
  • Description: 2-Way F Metri-Pack 150 Series, Sealed (L-GN)

Terminal Part Information

  • Terminal/Tray: 12048074/2
  • Core/Insulation Crimp: E/1
  • Release Tool/Test Probe: 12094429/J-35616-14 (GN)

Ambient Temperature Sensor

Pin

Wire

Circuit No.

Function

A

0.35 L-GN/BK

735

Ambient Air Temperature Sensor Signal

B

0.35 YE

61

Low Reference

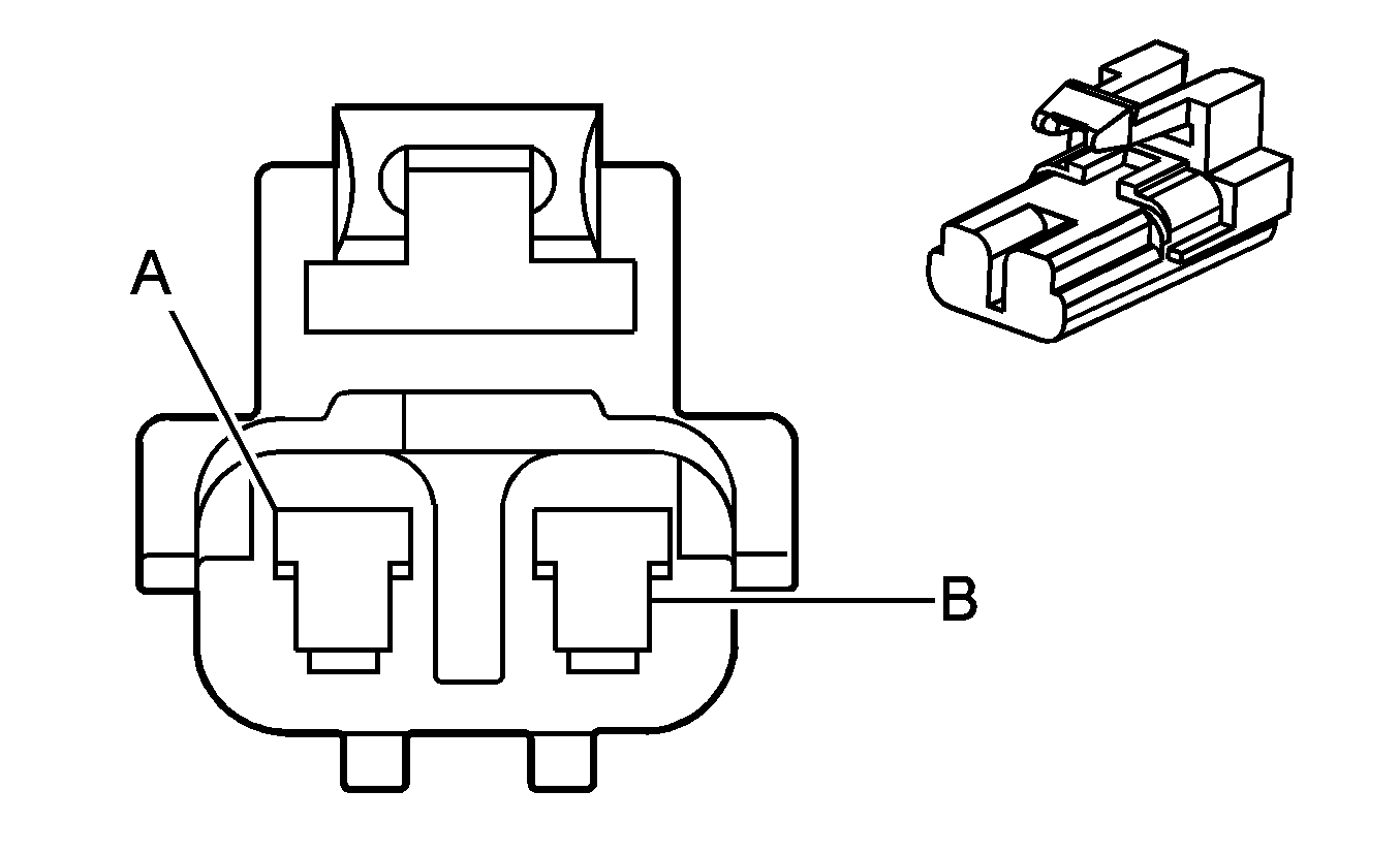
Blower Motor


Object Number: 62488  Size: CH

Connector Part Information

  • OEM: 12084957
  • Service: 12126461
  • Description: 2-Way F (BK)

Terminal Part Information

  • Terminal/Tray: See Terminal Repair Kit
  • Core/Insulation Crimp: See Terminal Repair Kit
  • Release Tool/Test Probe: See Terminal Repair Kit

Blower Motor

Pin

Wire

Circuit No.

Function

A

3.0 PU

65

Blower Motor Supply Voltage

B

3.0 BK

5987

Low Reference

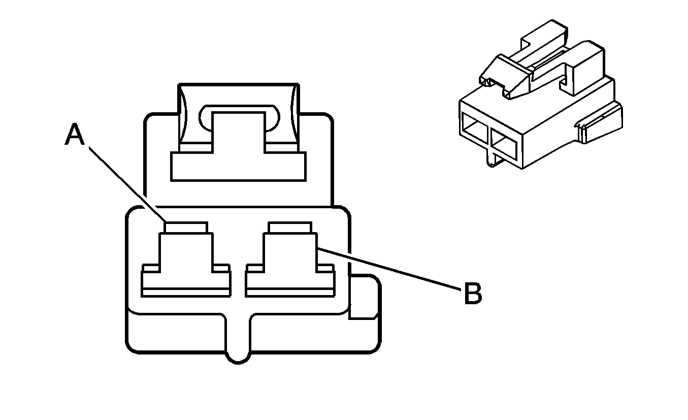
Blower Motor - Auxiliary


Object Number: 808706  Size: CH

Connector Part Information

  • OEM: 12064749
  • Service: 12064749
  • Description: 2-Way F Metri-Pack 480 Series (BK)

Terminal Part Information

  • Terminal/Tray: See Terminal Repair Kit
  • Core/Insulation Crimp: See Terminal Repair Kit
  • Release Tool/Test Probe: See Terminal Repair Kit

Blower Motor - Auxiliary

Pin

Wire

Circuit No.

Function

A

3.0 RD/WH

65

Blower Motor Supply Voltage

B

3.0 OG

5988

Low Reference

Blower Motor Control Module - Auxiliary X1


Object Number: 1817814  Size: CH

Connector Part Information

  • OEM: 15226103
  • Service: 88988507
  • Description: 2-Way F Receptacle 6.3 Series (BK)

Terminal Part Information

  • Terminal/Tray: 12191812/19
  • Core/Insulation Crimp: See Terminal Repair Kit
  • Release Tool/Test Probe: 15315247/J-35616-2A (GY)

Blower Motor Control Module - Auxiliary X1

Pin

Wire

Circuit No.

Function

1

3.0 RD/WH

65

Blower Motor Supply Voltage

2

3.0 OG

5988

Low Reference

Blower Motor Control Module - Auxiliary X2


Object Number: 1798802  Size: CH

Connector Part Information

  • OEM: 15226104
  • Service: 88988512
  • Description: 6-Way F YESC Kaizen Series (BK)

Terminal Part Information

  • Terminal/Tray: 7114-4122-02/9
  • Core/Insulation Crimp: A/B
  • Release Tool/Test Probe: 12094430/J-35616-43 (RD)

Blower Motor Control Module - Auxiliary X2

Pin

Wire

Circuit No.

Function

1-2

--

--

Not Used

3

0.35 D-GN

2211

Auxiliary Blower Motor Speed Control

4

--

--

Not Used

5

3.0 BK

850

Ground

6

3.0 RD/WH

2640

Battery Positive Voltage

Blower Motor Control Module X1


Object Number: 1817814  Size: CH

Connector Part Information

  • OEM: 15226103
  • Service: 88988507
  • Description: 2-Way F Receptacle 6.3 Series (BK)

Terminal Part Information

  • Terminal/Tray: 12191812/19
  • Core/Insulation Crimp: See Terminal Repair Kit
  • Release Tool/Test Probe: 15315247/J-35616-2A (GY)

Blower Motor Control Module X1

Pin

Wire

Circuit No.

Function

1

3.0 PU

65

Blower Motor Supply Voltage

2

3.0 BK

5987

Low Reference

Blower Motor Control Module X2


Object Number: 1798802  Size: CH

Connector Part Information

  • OEM: 15226104
  • Service: 88988512
  • Description: 6-Way F YESC Kaizen Series (BK)

Terminal Part Information

  • Terminal/Tray: 7114-4122-02/9
  • Core/Insulation Crimp: A/B
  • Release Tool/Test Probe: 12094430/J-35616-43 (RD)

Blower Motor Control Module X2

Pin

Wire

Circuit No.

Function

1-2

--

--

Not Used

3

0.35 GY/BK

754

Blower Motor Speed Control

4

--

--

Not Used

5

3.0 BK

450

Ground

6

3.0 RD/BK

442

Battery Positive Voltage

Evaporator Temperature Sensor


Object Number: 1459283  Size: CH

Connector Part Information

  • OEM: 1-968704-1
  • Service: See Catalog
  • Description: 2-Way F MQS Series (BK)

Terminal Part Information

  • Terminal/Tray: See Terminal Repair Kit
  • Core/Insulation Crimp: See Terminal Repair Kit
  • Release Tool/Test Probe: See Terminal Repair Kit

Evaporator Temperature Sensor

Pin

Wire

Circuit No.

Function

1

0.35 WH

2622

Evaporator Temperature Sensor Signal

2

0.35 TN

552

Low Reference

HVAC Control Assembly - Auxiliary (-UK6)


Object Number: 1711011  Size: CH

Connector Part Information

  • OEM: 89047355
  • Service: See Catalog
  • Description: 10-Way F 0.64 Unsealed (BK)

Terminal Part Information

  • Terminal/Tray: 7116-4618-02/14
  • Core/Insulation Crimp: P/P
  • Release Tool/Test Probe: J-38125-215/J-35616-64B (L-BU)

HVAC Control Assembly - Auxiliary (-UK6)

Pin

Wire

Circuit No.

Function

1

0.35 GY

8

Instrument Panel Lamp Supply Voltage

2

0.5 BK

750

Ground

3

0.5 GY

596

5-Volt Reference

4

0.5 GY/BK

1798

Low Reference

5-6

--

--

Not Used

7

0.5 PU/WH

760

Auxiliary Blower Motor Speed Control

8

0.5 YE

2214

Auxiliary Air Temperature Door Control

9

--

--

Not Used

10

0.5 OG

2615

Auxiliary Mode Door Control

HVAC Control Module X1


Object Number: 1715226  Size: CH

Connector Part Information

  • OEM: 15126709
  • Service: See Catalog
  • Description: 20-Way F USCAR 0.64 Series (BN)

Terminal Part Information

  • Terminal/Tray: 7116-4618-02/14
  • Core/Insulation Crimp: P/P
  • Release Tool/Test Probe: J-38125-215/J-35616-64B (L-BU)

HVAC Control Module X1

Pin

Wire

Circuit No.

Function

1-7

--

--

Not Used

8

0.5 PK

2145

Air Temperature Switch Signal - Right

9

0.5 OG

2615

Auxiliary Mode Door Control (-UK6)

10

0.5 YE

2214

Auxiliary Air Temperature Door Control (-UK6)

11-17

--

--

Not Used

18

0.5 GY

2599

Auxiliary Mode Door Control

19

0.5 PU/WH

760

Auxiliary Blower Motor Speed Control (-UK6)

20

--

--

Not Used

HVAC Control Module X2


Object Number: 1715229  Size: CH

Connector Part Information

  • OEM: 7283-9080-90
  • Service: See Catalog
  • Description: 16-Way F USCAR 0.64 Series (BU)

Terminal Part Information

  • Terminal/Tray: 7116-4618-02/14
  • Core/Insulation Crimp: P/P
  • Release Tool/Test Probe: J-38125-215/J-35616-64B (L-BU)

HVAC Control Module X2

Pin

Wire

Circuit No.

Function

1

0.35 PU/WH

1382

LED Dimming Signal

2

0.35 OG

300

Power Mode

3

0.35 BK/WH

1551

Ground

4

0.5 RD/WH

4540

Battery Positive Voltage

5

0.35 D-GN

5060

Low Speed GMLAN Serial Data

6-7

--

--

Not Used

8

0.35 WH

193

Rear Defog Relay Control

9

0.35 L-GN/BK

735

Ambient Air Temperature Sensor Signal

10

0.35 BK

1450

Ground

11

--

--

Not Used

12

0.35 YE

61

Low Reference

13-16

--

--

Not Used

HVAC Control Module X3


Object Number: 1715228  Size: CH

Connector Part Information

  • OEM: 15126710
  • Service: 15126710
  • Description: 20-Way F USCAR 0.64 Series (GY)

Terminal Part Information

  • Terminal/Tray: SAIT-A03T-M064/14
  • Core/Insulation Crimp: P/P
  • Release Tool/Test Probe: J-38125-215A/J-35616-64B (L-BU)

HVAC Control Module X3

Pin

Wire

Circuit No.

Function

1

--

--

Not Used

2

0.35 L-GN

2275

Mode Door Position Signal

3

0.35 PU

1838

Recirculation Door Position Signal

4

0.35 GY/BK

754

Blower Motor Speed Control

5

0.35 TN

2273

Mode Door Control

6

--

--

Not Used

7

0.35 D-GN

1614

Recirculation Door Control B

8

0.35 WH/BK

1236

Auxiliary Air Temperature Door Control

9

--

--

Not Used

10

0.35 GY

598

5-Volt Reference

11-12

--

--

Not Used

13

0.35 D-BU

1646

Auxiliary Air Temperature Door Position Signal

14

0.35 WH

2622

Evaporator Temperature Sensor Signal

15

0.35 WH

119

Mode Door Control

16

--

--

Not Used

17

0.35 TN/BK

2274

Recirculation Door Control A

18

0.35 GY/BK

2778

Right Air Temperature Door Control A

19

0.35 TN

552

Low Reference

20

0.35 YE

1791

Low Reference

HVAC Control Module X4


Object Number: 1715225  Size: CH

Connector Part Information

  • OEM: 7283-9079-60
  • Service: See Catalog
  • Description: 16-Way F 064 Series Unsealed (GN)

Terminal Part Information

  • Terminal/Tray: 7116-4618-02/14
  • Core/Insulation Crimp: P/P
  • Release Tool/Test Probe: J-38125-215/J-35616-64B (L-BU)

HVAC Control Module X4

Pin

Wire

Circuit No.

Function

1

--

--

Not Used

2

0.5 GY

596

5-Volt Reference

3

0.5 L-GN/WH

5729

Auxiliary Mode Motor Supply Voltage

4

0.5 BN

6555

Auxiliary Temperature Motor Supply Voltage

5

0.5 GY/BK

1798

Low Reference

6

0.5 GY/BK

1798

Low Reference

7-9

--

--

Not Used

10

0.5 D-GN

2211

Auxiliary Blower Motor Speed Control

11

0.5 OG

2215

Auxiliary Mode Door Control

12

0.5 GY

2614

Auxiliary Air Temperature Door Control

13-16

--

--

Not Used

Mode Actuator


Object Number: 280764  Size: CH

Connector Part Information

  • OEM: 12064993
  • Service: 12102485
  • Description: 6-Way F Micro-Pack 100 Series (BK)

Terminal Part Information

  • Terminal/Tray: 12146447/3
  • Core/Insulation Crimp: E/C
  • Release Tool/Test Probe: 12031876-1/J-35616-6 (BN)

Mode Actuator

Pin

Wire

Circuit No.

Function

5

0.35 TN

2273

Mode Door Control

6

0.35 TN/BK

119

Mode Door Control

7

--

--

Not Used

8

0.35 YE

1791

Low Reference

9

0.35 L-GN

2275

Mode Door Position Signal

10

0.35 GY

598

5-Volt Reference

Mode Actuator - Auxiliary


Object Number: 280764  Size: CH

Connector Part Information

  • OEM: 12064993
  • Service: 12102485
  • Description: 6-Way F Micro-Pack 100 Series (BK)

Terminal Part Information

  • Terminal/Tray: 12146447/3
  • Core/Insulation Crimp: E/C
  • Release Tool/Test Probe: 12031876-1/J-35616-6 (BN)

Mode Actuator - Auxiliary

Pin

Wire

Circuit No.

Function

5

0.35 OG

2215

Auxiliary Mode Door Control

6

0.35 L-GN/WH

5729

Auxiliary Mode Motor Supply Voltage

7

--

--

Not Used

8

0.35 GY/BK

1798

Low Reference

9

0.35 GY

2599

Auxiliary Mode Door Control

10

0.35 GY

596

5-Volt Reference

Recirculation Actuator


Object Number: 280764  Size: CH

Connector Part Information

  • OEM: 12064993
  • Service: 12102485
  • Description: 6-Way F Micro-Pack 100 Series (BK)

Terminal Part Information

  • Terminal/Tray: 12146447/3
  • Core/Insulation Crimp: E/C
  • Release Tool/Test Probe: 12031876-1/J-35616-6 (BN)

Recirculation Actuator

Pin

Wire

Circuit No.

Function

5

0.35 D-GN

1614

Recirculation Door Control B

6

0.35 TN/BK

2274

Recirculation Door Control A

7

--

--

Not Used

8

0.35 YE

1791

Low Reference

9

0.35 PU

1838

Recirculation Door Position Signal

10

0.35 GY

598

5-Volt Reference