GM Service Manual Online
For 1990-2009 cars only

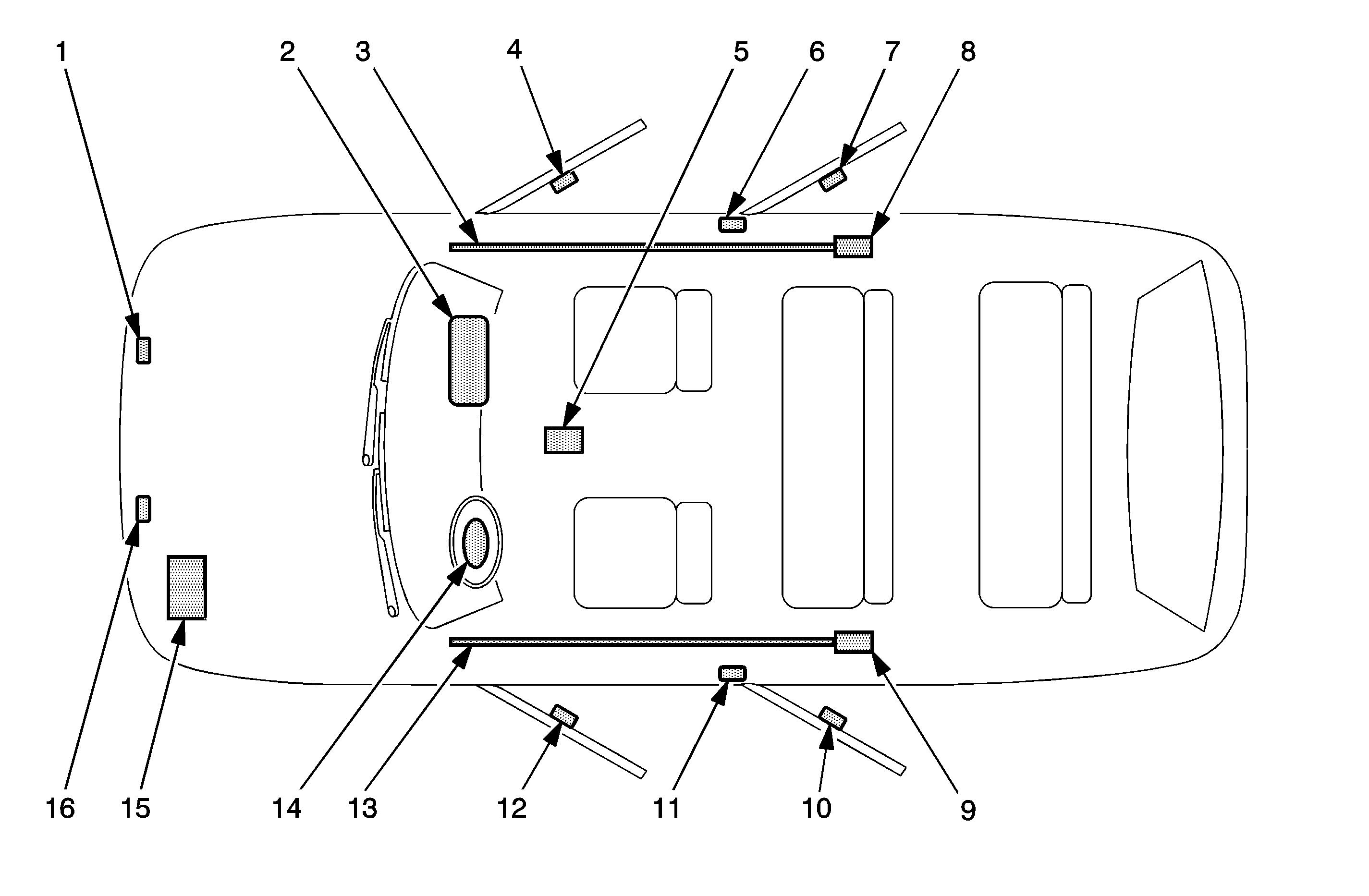
The SIR Identification Views shown below illustrate the approximate location of all SIR components available for the vehicle. This will assist in determining the appropriate SIR Disabling and Enabling for a given service procedure. Refer to SIR Disabling and Enabling .


Object Number: 1368905  Size: MF
(1)Front End Sensor - Right--Located under the front hood in the engine compartment
(2)I/P Air Bag--Located at the top right under the instrument panel
(3)Roof Rail Air Bag - Right--Located under the headliner, extending from the passenger front windshield pillar to the passenger rear windshield pillar
(4)Side Impact Sensor (SIS) - RF--Located under the right front door trim near the lower rear of the door frame
(5)Sensing and Diagnostic Module (SDM)--Located underneath the vehicle carpet under the center console
(6)Seat Belt Pretensioner - RF--Located under the trim near the bottom of the center pillar
(7)Side Impact Sensor (SIS) - RR--Located under the right rear door trim near the lower rear of the door frame
(8)Roof Rail Module - Right--Located behind the garnish molding on the upper rear pillar
(9)Roof Rail Module - Left--Located behind garnish molding on the upper rear pillar
(10)Side Impact Sensor (SIS) - LR--Located under the left rear door trim near the lower rear of the door frame
(11)Seat Belt Pretensioner - LF--Located under the trim near the bottom of the center pillar
(12)Side Impact Sensor (SIS) - LF--Located under the left front door trim near the lower rear of the door frame
(13)Roof Rail Air Bag - Left--Located under the headliner, extending from the driver front windshield pillar to the driver rear windshield pillar
(14)Steering Wheel Air Bag--Located on the steering wheel
(15)Vehicle Battery--Located at the front left of the engine compartment.
(16)Front End Sensor - Left--Located under the front hood in the engine compartment