| Subject: | Information on Hem Flange Sealer for Corrosion Protection |
| Models: | 2007 Passenger Cars and Trucks |
| Attention: | Please direct this bulletin to the Body Shop or any areas of your dealership where sheet metal replacement or corrosion repairs take place. |
Replacement Sheet Metal
Metal or aluminum overlap joints and seams, commonly referred to as hem flanges, on replacement doors, hoods, decklids and liftgates should be sealed to prevent moisture from entering the bonded hem flange using a quality 2K sealer such as the following
products, or equivalent:
| • | Lord Fusor 123EZ / 126EZ Non-Sag seam sealer |
| • | 3M 8308 Ultrapro sealer |
The applied sealer must meet the following criteria:
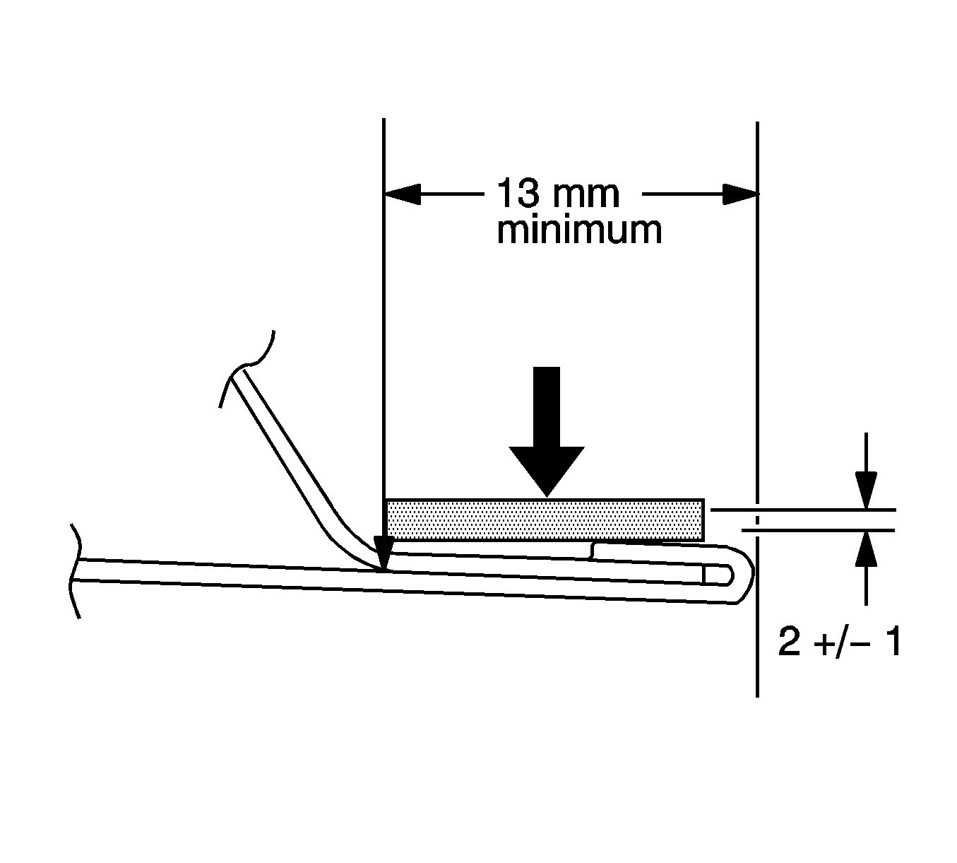
| • | The sealer must be free of skips using a ribbon tip to locate the bead over the edge of the hem. Refer to the following illustration.
|
| • | The sealer must cover all edges with a bead width of approximately 10 mm (0.39 in) and approximately 2 mm (0.08 in) thick.
|
| • | The sealer must be paintable.
|
| • | The sealer must retain its flexible characteristics after curing.
|
| • | The sealer must not block a water drain path.
|
Always use Genuine GM replacement sheet metal.