GM Service Manual Online
For 1990-2009 cars only

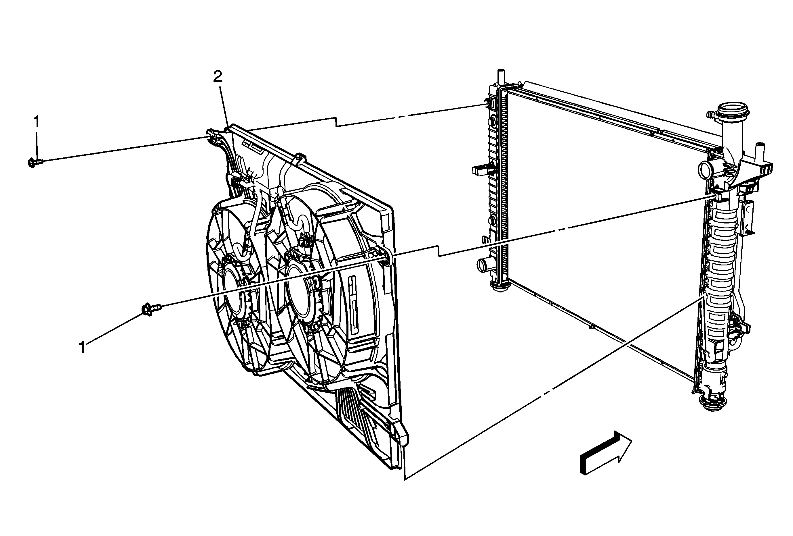
Object Number: 1864152  Size: MF

Callout

Component Name

Preliminary Procedure

  1. Remove front bumper impact bar. Refer to Front Bumper Impact Bar Replacement
  2. Remove radiator inlet hose at rediator. Refer to Radiator Inlet Hose Replacement
  3. Disconnect electrical connector at fan shroud harness.
  4. Remove front fascia upper support. Refer to Front Bumper Fascia Upper Support Replacement .
  5. Remove hood latch. Refer to Hood Primary and Secondary Latch Replacement .
  6. Remove upper radiator mounting brackets and tip radiator forward for additional clearance.

1

Fan Shroud Mounting Bolt (Qty: 2)

Notice: Refer to Fastener Notice in the Preface section.

Procedure

Remove small pushpin retainers.

Tighten
10 N·m (89 lb in)

2

Fan Shroud

Procedure

Tilt Fan Shroud rearward and upward to remove

Tip
Reposition of radiator hoses my be necessary for removal