GM Service Manual Online
For 1990-2009 cars only

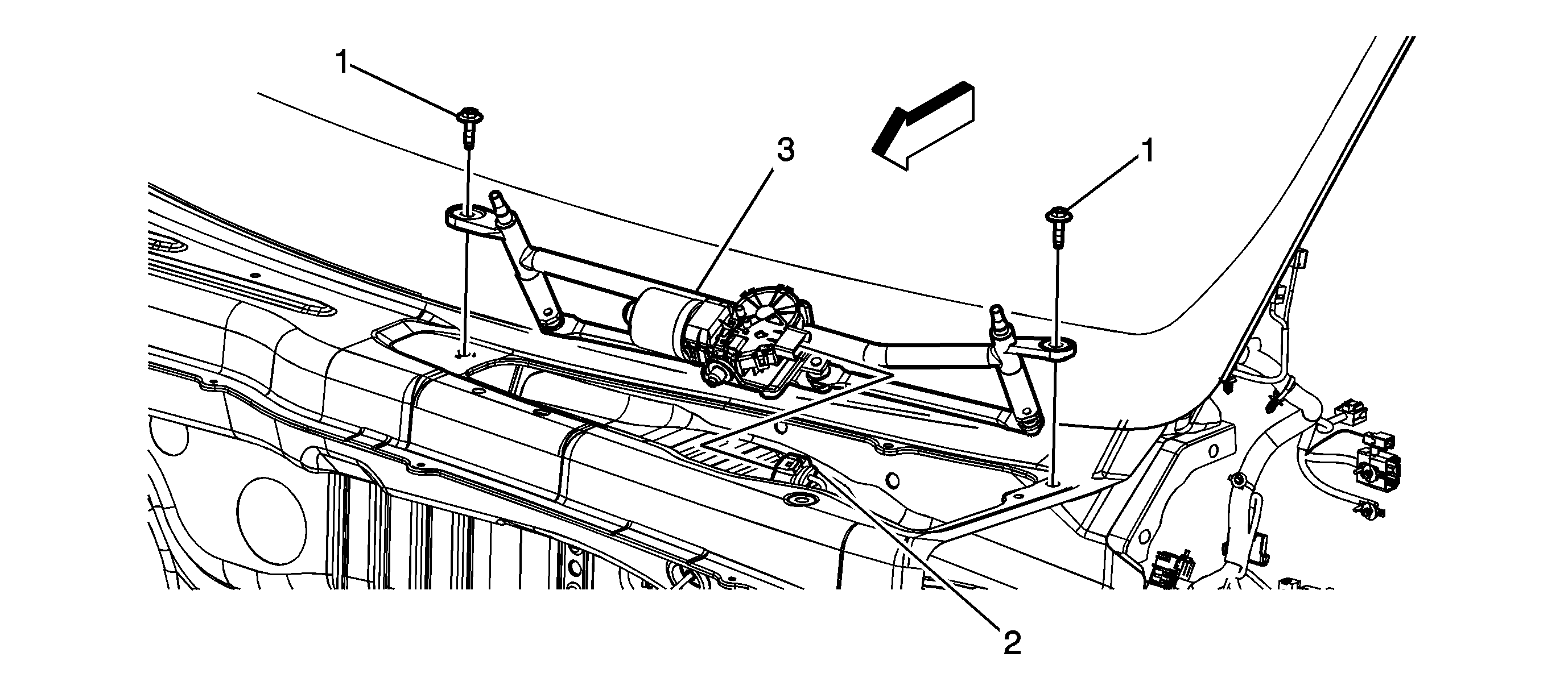
Object Number: 1866700  Size: SF

Callout

Component Name

Preliminary Procedures

  1. Remove the wiper arms. Refer to Windshield Wiper Arm Replacement .
  2. Remove the air inlet grille panel. Refer to Air Inlet Grille Panel Replacement .

1

Windshield Wiper Transmission Bolt (Qty: 2)

Notice: Refer to Fastener Notice in the Preface section.

Tighten
22 N·m (16 lb ft)

2

Instrument Panel Electrical Harness Connector

Tip
Disconnect the electrical harness connector as the transmission is removed from the plenum.

3

Windshield Wiper Transmission Assembly

Procedure

  1. Raise the rearward edge of the windshield wiper transmission assembly out of the plenum panel.
  2. Remove the windshield wiper motor. Refer to Windshield Wiper Motor Replacement .
  3. Upon installation of the windshield wiper transmission , connect the I/P electrical harness connector to the wiper motor.
  4. Turn the wiper transmission 180°, insert the transmission into the plenum, aligning the locator on the motor bracket to the plenum.
  5. Align the grommets on the wiper transmission to the bolt holes located in the upper plenum.