GM Service Manual Online
For 1990-2009 cars only
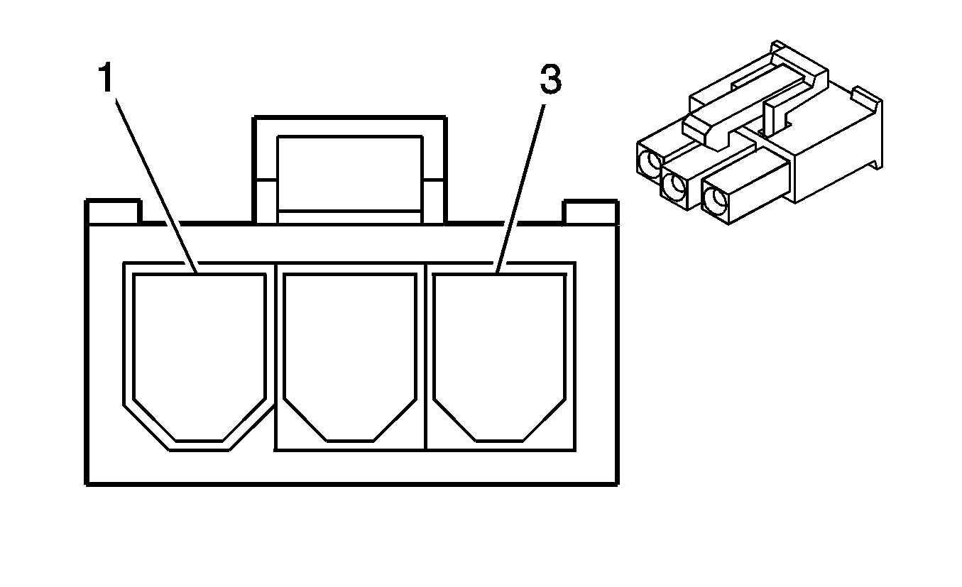
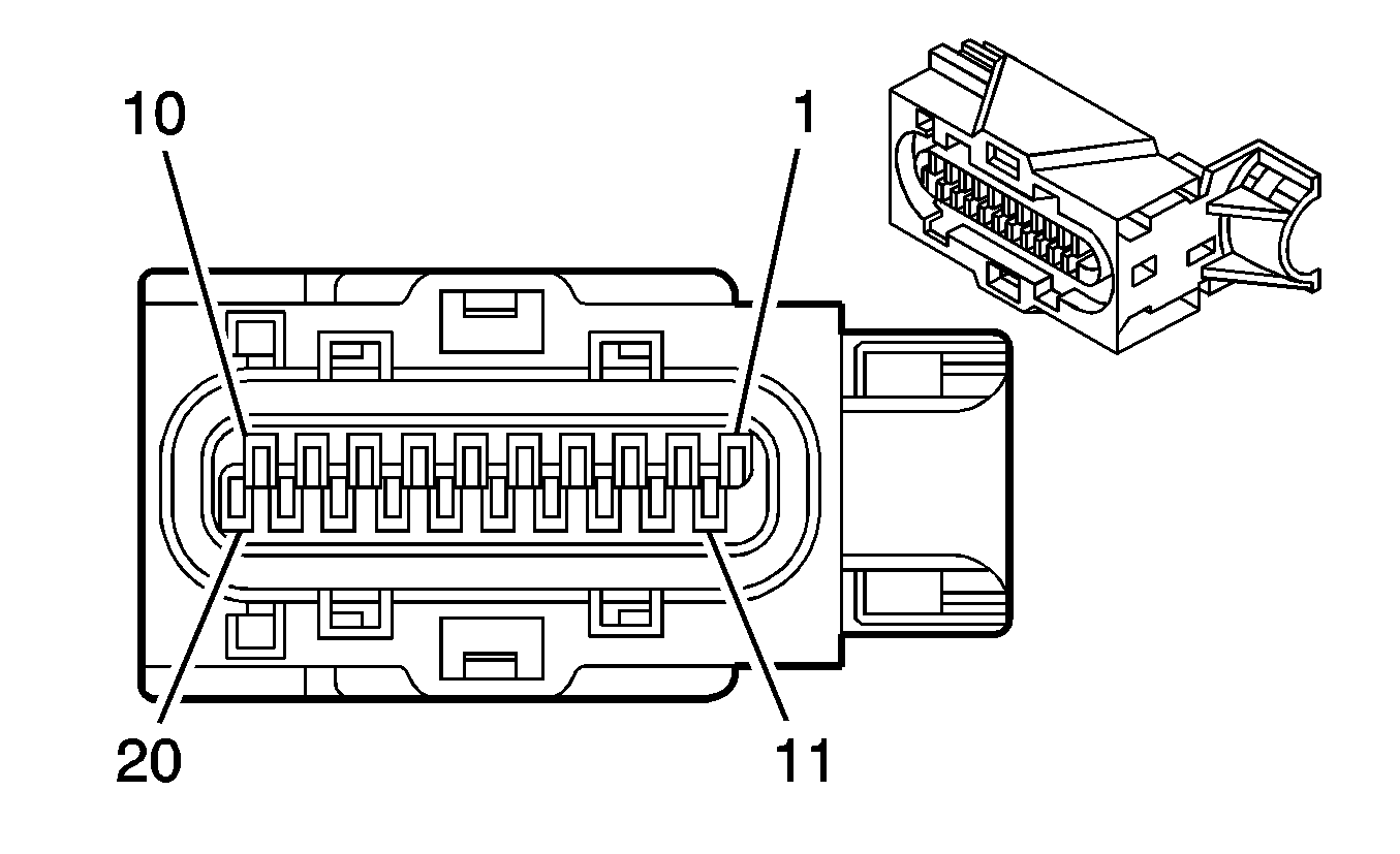
Connector 1: A/C Compressor Clutch
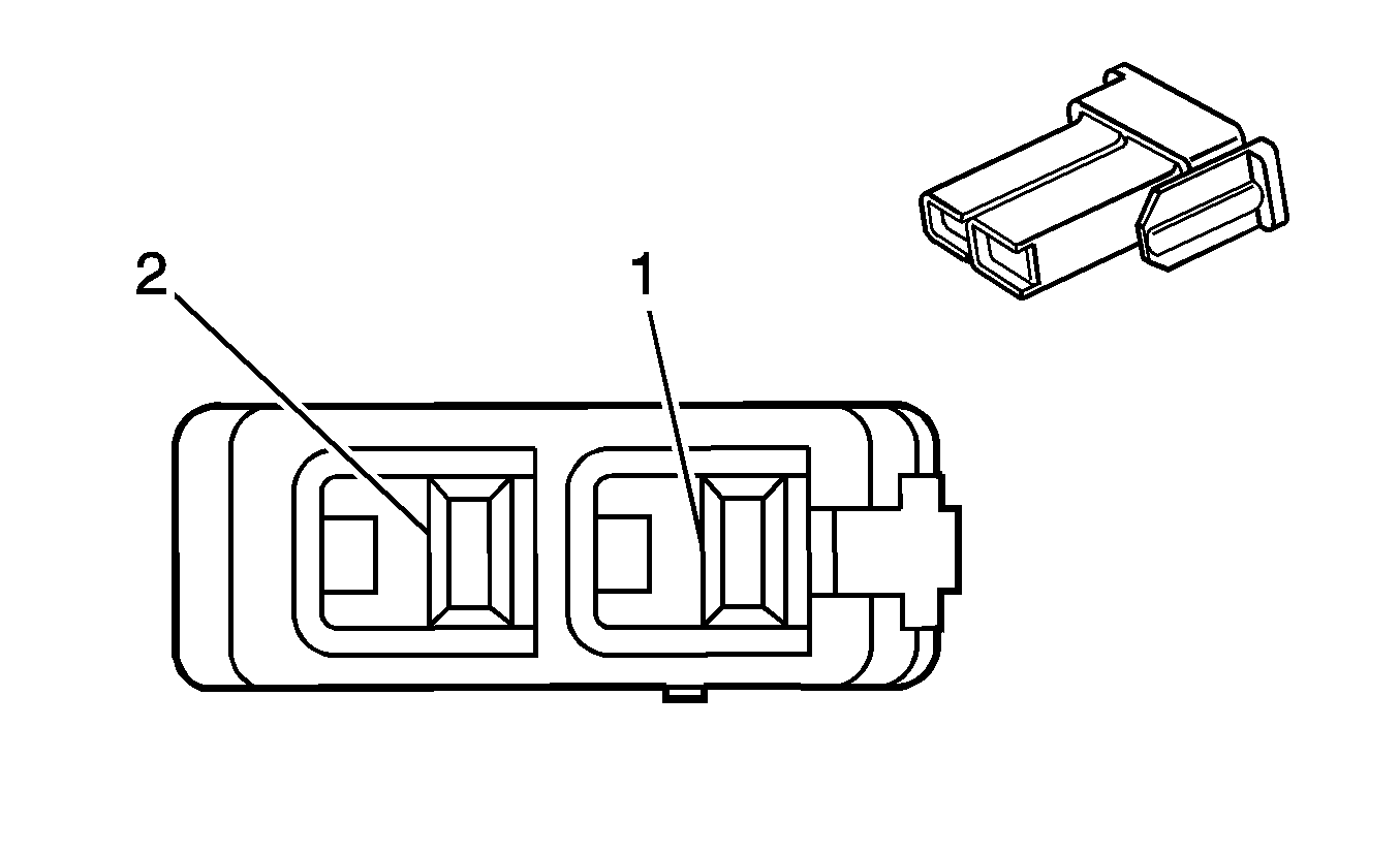
Connector 2: A/C Refrigerant Pressure Sensor
Connector 3: Accelerator Pedal Position (APP) Sensor (LY7)
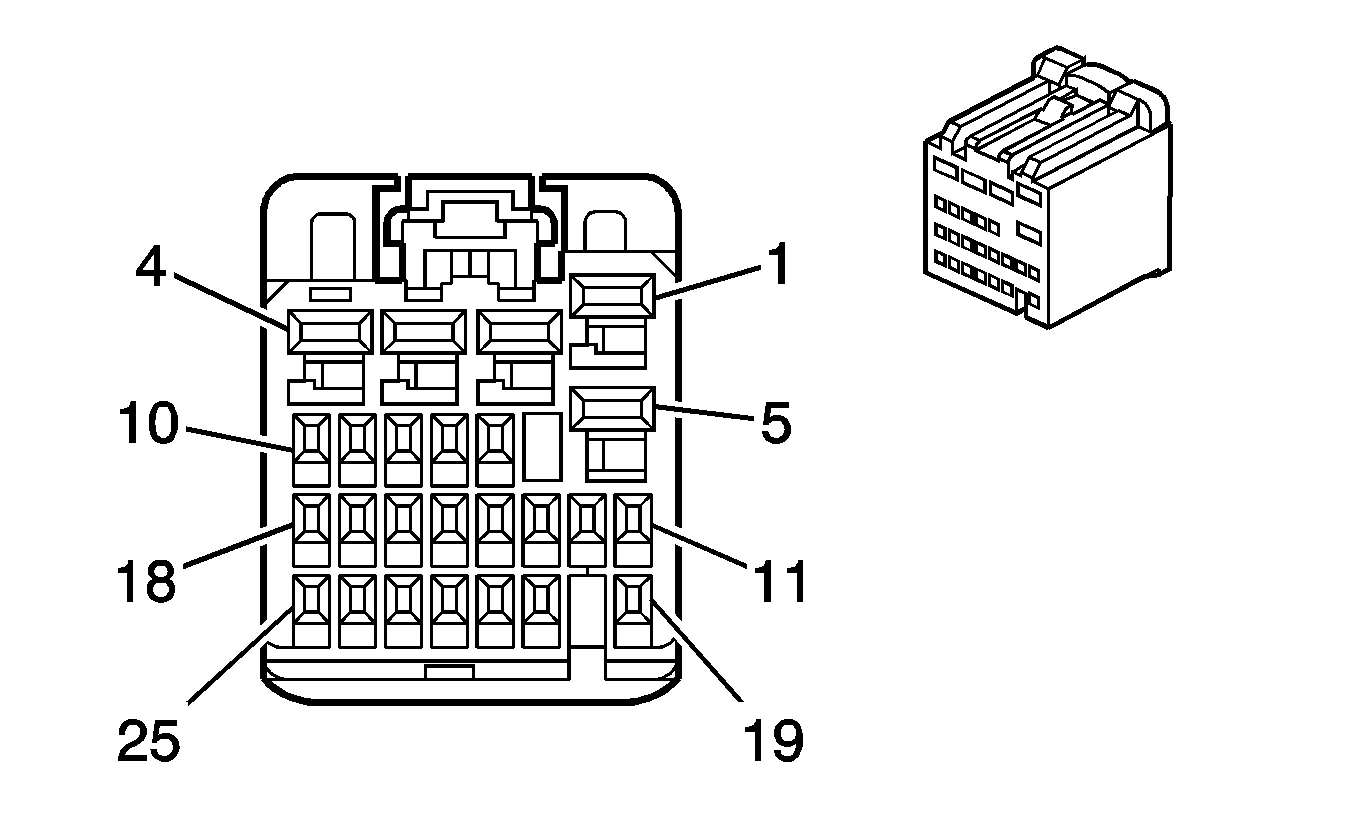
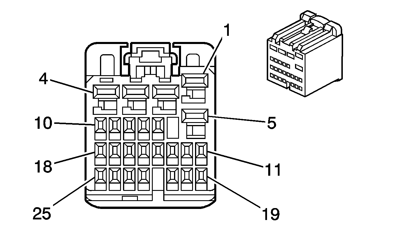
Connector 4: Accessory AC/DC Power Control Module X1 (KV1)
Connector 5: Accessory AC/DC Power Control Module X2 (KV1)
Connector 6: Accessory Power Outlet - 110V AC (KV1)
Connector 7: Accessory Power Outlet - Center Console
Connector 8: Accessory Power Outlet - Center Console Compartment
Connector 9: Accessory Power Outlet - I/P
Connector 10: Accessory Power Outlet - Rear
Connector 11: Accessory Power Outlet - Rear Console (DK1)
Connector 12: Adaptive Forward Lighting (AFL) Motor - Left (TSH)
Connector 13: Adaptive Forward Lighting (AFL) Motor - Right (TSH)
Connector 14: Air Temperature Actuator - Auxiliary
Connector 15: Air Temperature Actuator - Left (CJ2)
Connector 16: Air Temperature Actuator - Right (CJ2)
Connector 17: Air Temperature Actuator (C67)
Connector 18: Air Temperature Sensor - Lower Left (CJ2)
Connector 19: Air Temperature Sensor - Lower Right (CJ2)
Connector 20: Air Temperature Sensor - Upper Left (CJ2)
Connector 21: Air Temperature Sensor - Upper Right (CJ2)
Connector 22: Ambient Light Sensor (C67)
Connector 23: Ambient Temperature Sensor
Connector 24: Audio Amplifier X1 (UQA or UQS)
Connector 25: Audio Amplifier X1 (UQG)
Connector 26: Audio Amplifier X2 (UQA or UQS)
Connector 27: Audio Amplifier X2 (UQG)
Connector 28: Audio Amplifier X3 (UQA or UQS)
Connector 29: Audio Amplifier X3 (UQG)
Connector 30: Audio/Video Adapter (U42)
Connector 31: Automatic Transmission
Connector 32: Automatic Transmission Internal Mode Switch (IMS)
Connector 33: Automatic Transmission Manual Shift Switch
Connector 34: Back Up Lamp - Left (W49)
Connector 35: Back Up Lamp - Left (WDA)
Connector 36: Back Up Lamp - Left (Z88)
Connector 37: Back Up Lamp - Right (W49)
Connector 38: Back Up Lamp - Right (WDA)
Connector 39: Back Up Lamp - Right (Z88)
Connector 40: Barometric Pressure (BARO) Sensor (LY7)
Connector 41: Battery (-)
Connector 42: Battery (+)
Connector 43: Battery Current Sensor
Connector 44: Blower Motor
Connector 45: Blower Motor - Auxiliary
Connector 46: Blower Motor Control Module - Auxiliary X1
Connector 47: Blower Motor Control Module - Auxiliary X2
Connector 48: Blower Motor Control Module X1
Connector 49: Blower Motor Control Module X2
Connector 50: Body Control Module (BCM) X1
Connector 51: Body Control Module (BCM) X2
Connector 52: Body Control Module (BCM) X3
Connector 53: Body Control Module (BCM) X4
Connector 54: Body Control Module (BCM) X5
Connector 55: Body Control Module (BCM) X6
Connector 56: Body Control Module (BCM) X7
Connector 57: Brake Booster Vacuum Sensor
Connector 58: Brake Fluid Level Switch
Connector 59: Brake Pedal Position Sensor
Connector 60: Camshaft Position (CMP) Actuator Solenoid - Exhaust Bank 1 (LY7)
Connector 61: Camshaft Position (CMP) Actuator Solenoid - Exhaust Bank 2 (LY7)
Connector 62: Camshaft Position (CMP) Actuator Solenoid - Intake Bank 1 (LY7)
Connector 63: Camshaft Position (CMP) Actuator Solenoid - Intake Bank 2 (LY7)
Connector 64: Camshaft Position (CMP) Sensor - Exhaust Bank 1 (LY7)
Connector 65: Camshaft Position (CMP) Sensor - Exhaust Bank 2 (LY7)
Connector 66: Camshaft Position (CMP) Sensor - Intake Bank 1 (LY7)
Connector 67: Camshaft Position (CMP) Sensor - Intake Bank 2 (LY7)
Connector 68: Cargo Lamp
Connector 69: Cellular Telephone Microphone (UE1)
Connector 70: Center High Mounted Stop Lamp (CHMSL) (W49)
Connector 71: Center High Mounted Stop Lamp (CHMSL) (without W49)
Connector 72: Clock (W49)
Connector 73: Console Flood Lamp
Connector 74: Courtesy/Reading Lamps - 2nd Row (without U42)
Connector 75: Courtesy/Reading Lamps - 2nd Row X1 (C3U with U42)
Connector 76: Courtesy/Reading Lamps - 2nd Row X2 (C3U with U42)
Connector 77: Crankshaft Position (CKP) Sensor (LY7)
Connector 78: Data Link Connector (DLC)
Connector 79: Data Link Resistor (without MH6)
Connector 80: Daytime Running Lamp (DRL) - Left (W49 or Z88 with T61)
Connector 81: Daytime Running Lamp (DRL) - Left (WDA with T61)
Connector 82: Daytime Running Lamp (DRL) - Right (W49 or Z88 with T61)
Connector 83: Daytime Running Lamp (DRL) - Right (WDA with T61)
Connector 84: Digital Radio Receiver (U2K)
Connector 85: Digital Video Disc (DVD) Display (U42)
Connector 86: Door Control Module - Passenger X1 (AXC or AXE)
Connector 87: Door Control Module - Passenger X2 (AXC or AXE)
Connector 88: Door Control Module - Passenger X3 (AXC or AXE)
Connector 89: Door Control Module - Passenger X4 (AXC or AXE)
Connector 90: Door Control Module - Passenger X7 (AXC or AXE)
Connector 91: Door Latch - Driver
Connector 92: Door Latch - Left Rear
Connector 93: Door Latch - Passenger
Connector 94: Door Latch - Right Rear
Connector 95: Door Lock Switch - Driver (without AXC or AXE)
Connector 96: Door Lock Switch - Passenger (without AXC or AXE)
Connector 97: Driver Door Module (DDM) X1 (AXC or AXE)
Connector 98: Driver Door Module (DDM) X2 (AXC or AXE)
Connector 99: Driver Door Module (DDM) X3 (AXC or AXE)
Connector 100: Driver Door Module (DDM) X4 (AXC or AXE)
Connector 101: Driver Door Module (DDM) X7 (AXC or AXE)
Connector 102: Driver Information Center (DIC) Switch (UH9)
Connector 103: Electronic Brake Control Module (EBCM)
Connector 104: Electronic Compass Module (COM)
Connector 105: Engine Control Module (ECM) X1 (LY7)
Connector 106: Engine Control Module (ECM) X2 (LY7)
Connector 107: Engine Control Module (ECM) X3 (LY7)
Connector 108: Engine Coolant Temperature (ECT) Sensor (LY7)
Connector 109: Engine Cooling Fan - Left and Engine Cooling Fan - Right
Connector 110: Engine Mount Vacuum Tank Solenoid (W49)
Connector 111: Engine Oil Pressure (EOP) Switch (LY7)
Connector 112: Evaporative Emission (EVAP) Canister Purge Solenoid Valve (LY7)
Connector 113: Evaporative Emissions (EVAP) Canister Vent Solenoid Valve (LY7)
Connector 114: Evaporator Temperature Sensor
Connector 115: Fog Lamp - Left Front (W49 or WDA with T96)
Connector 116: Fog Lamp - Left Front (Z88)
Connector 117: Fog Lamp - Right Front (W49 or WDA with T96)
Connector 118: Fog Lamp - Right Front (Z88)
Connector 119: Fuel Injector 1 (LY7)
Connector 120: Fuel Injector 2 (LY7)
Connector 121: Fuel Injector 3 (LY7)
Connector 122: Fuel Injector 4 (LY7)
Connector 123: Fuel Injector 5 (LY7)
Connector 124: Fuel Injector 6 (LY7)
Connector 125: Fuel Pump and Sender Assembly (LY7)
Connector 126: Fuel Tank Pressure (FTP) Sensor (LY7)
Connector 127: Garage Door Opener (UG1)
Connector 128: Generator X1
Connector 129: Generator X2
Connector 130: Hazard Switch
Connector 131: Head Up Display (HUD) (UV6)
Connector 132: Head Up Display (HUD) Switch (UV6)
Connector 133: Headlamp - Left (WDA with TVD)
Connector 134: Headlamp - Left (Z88 with TVD or W49)
Connector 135: Headlamp - Left High Beam (WDA without TVD)
Connector 136: Headlamp - Left High Beam (Z88 without TVD)
Connector 137: Headlamp - Left High Beam Solenoid (W49)
Connector 138: Headlamp - Left High Beam Solenoid (WDA with TVD)
Connector 139: Headlamp - Left High Beam Solenoid (Z88 with TVD)
Connector 140: Headlamp - Left Low Beam (WDA without TVD)
Connector 141: Headlamp - Left Low Beam (Z88 without TVD)
Connector 142: Headlamp - Right (WDA with TVD)
Connector 143: Headlamp - Right (Z88 with TVD or W49)
Connector 144: Headlamp - Right High Beam (WDA without TVD)
Connector 145: Headlamp - Right High Beam (Z88 without TVD)
Connector 146: Headlamp - Right High Beam Solenoid (W49)
Connector 147: Headlamp - Right High Beam Solenoid (WDA with TVD)
Connector 148: Headlamp - Right High Beam Solenoid (Z88 with TVD)
Connector 149: Headlamp - Right Low Beam (WDA without TVD)
Connector 150: Headlamp - Right Low Beam (Z88 without TVD)
Connector 151: Headlamp Control Module - Left High Beam (W49)
Connector 152: Headlamp Control Module - Right High Beam (W49)
Connector 153: Headlamp Control Module (TSH)
Connector 154: Headlamp Switch
Connector 155: Heated Oxygen Sensor (HO2S) Bank 1 Sensor 1 (LY7)
Connector 156: Heated Oxygen Sensor (HO2S) Bank 1 Sensor 2 (LY7)
Connector 157: Heated Oxygen Sensor (HO2S) Bank 2 Sensor 1 (LY7)
Connector 158: Heated Oxygen Sensor (HO2S) Bank 2 Sensor 2 (LY7)
Connector 159: Heated Seat Control Module - Driver X1 (KA1 without AG3)
Connector 160: Heated Seat Control Module - Driver X2 (KA1 without AG3)
Connector 161: Heated Seat Control Module - Driver X3 (KA1 without AG3)
Connector 162: Heated Seat Control Module - Driver X4 (KA1 without AG3)
Connector 163: Heated Seat Element - Driver Back (KA1)
Connector 164: Heated Seat Element - Driver Cushion (KA1)
Connector 165: Heated Seat Element - Passenger Back (KA1)
Connector 166: Heated Seat Element - Passenger Cushion (KA1)
Connector 167: Heated Seat Switch - Driver (KA1)
Connector 168: Heated Seat Switch - Passenger (KA1)
Connector 169: Hood Ajar Switch (AP3 or AP8)
Connector 170: Horn - High Note
Connector 171: Horn - Low Note
Connector 172: Horn Switch X1
Connector 173: Horn Switch X2
Connector 174: HVAC Control Assembly - Auxiliary (without UK6)
Connector 175: HVAC Control Module X1
Connector 176: HVAC Control Module X2 (C67)
Connector 177: HVAC Control Module X2 (CJ2)
Connector 178: HVAC Control Module X3
Connector 179: HVAC Control Module X4
Connector 180: I/P Compartment Lamp
Connector 181: I/P Courtesy Lamp - Left
Connector 182: I/P Courtesy Lamp - Right
Connector 183: I/P Switch Assembly
Connector 184: Ignition Coil 1 (LY7)
Connector 185: Ignition Coil 2 (LY7)
Connector 186: Ignition Coil 3 (LY7)
Connector 187: Ignition Coil 4 (LY7)
Connector 188: Ignition Coil 5 (LY7)
Connector 189: Ignition Coil 6 (LY7)
Connector 190: Ignition Lock Cylinder Control Actuator
Connector 191: Ignition Switch
Connector 192: Inflatable Restraint Front End Sensor - Left
Connector 193: Inflatable Restraint Front End Sensor - Right
Connector 194: Inflatable Restraint Front Passenger Presence System (PPS) Sensor
Connector 195: Inflatable Restraint I/P Module
Connector 196: Inflatable Restraint I/P Module Indicator
Connector 197: Inflatable Restraint Roof Rail Module - Driver
Connector 198: Inflatable Restraint Roof Rail Module - Passenger
Connector 199: Inflatable Restraint Sensing and Diagnostic Module (SDM)
Connector 200: Inflatable Restraint Side Impact Module - Left
Connector 201: Inflatable Restraint Side Impact Module - Right
Connector 202: Inflatable Restraint Side Impact Sensor (SIS) - Left Front
Connector 203: Inflatable Restraint Side Impact Sensor (SIS) - Left Rear
Connector 204: Inflatable Restraint Side Impact Sensor (SIS) - Right Front
Connector 205: Inflatable Restraint Side Impact Sensor (SIS) - Right Rear
Connector 206: Inflatable Restraint Steering Wheel Module Coil X1
Connector 207: Inflatable Restraint Steering Wheel Module Coil X2
Connector 208: Inflatable Restraint Steering Wheel Module Coil X3
Connector 209: Inflatable Restraint Steering Wheel Module X1
Connector 210: Inflatable Restraint Steering Wheel Module X2
Connector 211: Inflatable Restraint Vehicle Rollover Sensor
Connector 212: Infrared Transmitter (U42)
Connector 213: Input Speed Sensor (ISS)
Connector 214: Inside Air Temperature Sensor (CJ2)
Connector 215: Inside Rearview Mirror
Connector 216: Instrument Panel Cluster (IPC)
Connector 217: Intake Manifold Tuning (IMT) Solenoid Valve (LY7)
Connector 218: Knock Sensor (KS) 1 (LY7)
Connector 219: Knock Sensor (KS) 2 (LY7)
Connector 220: License Lamp - Left
Connector 221: License Lamp - Right
Connector 222: Liftgate Control Switch - Exterior
Connector 223: Liftgate Control Switch - Interior (E61)
Connector 224: Liftgate Courtesy Lamp - Left
Connector 225: Liftgate Courtesy Lamp - Right
Connector 226: Liftgate Latch Assembly (E61)
Connector 227: Liftgate Latch Assembly (E69)
Connector 228: Liftgate Module (LGM) X1 (E61)
Connector 229: Liftgate Module (LGM) X2 (E61)
Connector 230: Liftgate Module (LGM) X3 (E61)
Connector 231: Liftgate Object Sensor - Left (E61)
Connector 232: Liftgate Object Sensor - Right (E61)
Connector 233: Marker Lamp - Left Front (W49 or Z88)
Connector 234: Marker Lamp - Left Front (WDA)
Connector 235: Marker Lamp - Left Rear (W49)
Connector 236: Marker Lamp - Left Rear (WDA)
Connector 237: Marker Lamp - Right Front (W49 or Z88)
Connector 238: Marker Lamp - Right Front (WDA)
Connector 239: Marker Lamp - Right Rear (W49)
Connector 240: Marker Lamp - Right Rear (WDA)
Connector 241: Mass Air Flow (MAF)/Intake Air Temperature (IAT) Sensor (LY7)
Connector 242: Memory Seat Adjuster Switch - Driver (AG3)
Connector 243: Memory Seat Module X1 (AG3)
Connector 244: Memory Seat Module X2 (AG3)
Connector 245: Memory Seat Module X3 (AG3)
Connector 246: Memory Seat Module X4 (AG3)
Connector 247: Memory Seat Module X5 (AG3)
Connector 248: Memory Seat Module X6 (AG3)
Connector 249: Memory Seat Module X7 (AG3)
Connector 250: Mode Actuator
Connector 251: Mode Actuator - Auxiliary
Connector 252: Object Alarm Module X1 (UD7)
Connector 253: Object Alarm Module X2 (UD7)
Connector 254: Object Alarm Sensor - Left Rear Corner (UD7)
Connector 255: Object Alarm Sensor - Left Rear Middle (UD7)
Connector 256: Object Alarm Sensor - Right Rear Corner (UD7)
Connector 257: Object Alarm Sensor - Right Rear Middle (UD7)
Connector 258: Output Speed Sensor (OSS)
Connector 259: Outside Rearview Mirror - Driver (DG6 or DS3)
Connector 260: Outside Rearview Mirror - Driver X1 (DNP)
Connector 261: Outside Rearview Mirror - Driver X2 (DNP)
Connector 262: Outside Rearview Mirror - Passenger (DG6 or DS3)
Connector 263: Outside Rearview Mirror - Passenger X1 (DNP)
Connector 264: Outside Rearview Mirror - Passenger X2 (DNP)
Connector 265: Outside Rearview Mirror Switch (DG6 or DS3)
Connector 266: Overhead Console Courtesy/Reading Lamps - Front
Connector 267: Overhead Console Courtesy/Reading Lamps - Rear
Connector 268: Park Brake Switch
Connector 269: Park Lamp - Left Rear (W49)
Connector 270: Park Lamp - Left Rear (Z88)
Connector 271: Park Lamp - Right Rear (W49)
Connector 272: Park Lamp - Right Rear (Z88)
Connector 273: PRNDL Lamp
Connector 274: Radio X1
Connector 275: Radio X2
Connector 276: Radio X3 (U42)
Connector 277: Radio X4 (U3R or UVB or UZR)
Connector 278: Radio/HVAC Control - Auxiliary X1 (UK6)
Connector 279: Radio/HVAC Control - Auxiliary X2 (UK6)
Connector 280: Rear Differential Clutch Control Module X1 (MH6)
Connector 281: Rear Differential Clutch Control Module X2 (MH6)
Connector 282: Rear Parking Assist (RPA) Display (UD7)
Connector 283: Rear Seat Audio (RSA) Control (RCA)
Connector 284: Rear Window Defogger Grid X1
Connector 285: Rear Window Defogger Grid X2
Connector 286: Rear Window Washer Fluid Pump
Connector 287: Rear Window Wiper Motor
Connector 288: Rearview Camera (UVC)
Connector 289: Rearview Camera Image Display Module (UVC)
Connector 290: Recirculation Actuator
Connector 291: Remote Control Door Lock Receiver (RCDLR)
Connector 292: Seat Adjuster Switch - Driver (AG1)
Connector 293: Seat Adjuster Switch - Driver (AG3)
Connector 294: Seat Adjuster Switch - Driver (AH5)
Connector 295: Seat Adjuster Switch - Passenger (AAQ)
Connector 296: Seat Adjuster Switch - Passenger (AG2)
Connector 297: Seat Belt Buckle - Driver
Connector 298: Seat Belt Buckle - Passenger
Connector 299: Seat Belt Pretensioner - Driver
Connector 300: Seat Belt Pretensioner - Passenger
Connector 301: Seat Front Vertical Motor - Driver (AG1 or AG3 or AH5)
Connector 302: Seat Front Vertical Motor Position Sensor - Driver (AG3)
Connector 303: Seat Horizontal Motor - Driver (AG1 or AG3 or AH5)
Connector 304: Seat Horizontal Motor - Passenger (AAQ or AG2)
Connector 305: Seat Horizontal Motor Position Sensor - Driver (AG3)
Connector 306: Seat Lumbar Horizontal Motor - Driver (AG3)
Connector 307: Seat Lumbar Horizontal Motor - Driver (AH5)
Connector 308: Seat Lumbar Horizontal Motor - Passenger (AAQ)
Connector 309: Seat Lumbar Switch - Driver (AG3)
Connector 310: Seat Lumbar Switch - Driver (AH5)
Connector 311: Seat Lumbar Switch - Passenger (AAQ)
Connector 312: Seat Lumbar Vertical Motor - Driver (AG3 or AH5)
Connector 313: Seat Lumbar Vertical Motor - Passenger (AAQ)
Connector 314: Seat Rear Vertical Motor - Driver (AG1 or AG3 or AH5)
Connector 315: Seat Rear Vertical Motor Position Sensor - Driver (AG3)
Connector 316: Seat Recline Motor - Driver (AG3 or AH5)
Connector 317: Seat Recline Motor - Passenger (AAQ)
Connector 318: Seat Recline Position Sensor - Driver (AG3)
Connector 319: Speaker - Center I/P (UQA or UQS)
Connector 320: Speaker - Center I/P (UQG)
Connector 321: Speaker - Left Front (UQA or UQS)
Connector 322: Speaker - Left Front (UQF)
Connector 323: Speaker - Left Front (UQG)
Connector 324: Speaker - Left Front Tweeter
Connector 325: Speaker - Left Rear (UQA or UQS)
Connector 326: Speaker - Left Rear (UQF)
Connector 327: Speaker - Left Rear (UQG)
Connector 328: Speaker - Left Rear Compartment (UQA or UQS)
Connector 329: Speaker - Left Rear Compartment (UQG)
Connector 330: Speaker - Right Front (UQA or UQS)
Connector 331: Speaker - Right Front (UQF)
Connector 332: Speaker - Right Front (UQG)
Connector 333: Speaker - Right Front Tweeter
Connector 334: Speaker - Right Rear (UQA or UQS)
Connector 335: Speaker - Right Rear (UQF)
Connector 336: Speaker - Right Rear (UQG)
Connector 337: Speaker - Right Rear Compartment (UQA or UQS)
Connector 338: Speaker - Right Rear Compartment (UQG)
Connector 339: Speaker - Subwoofer (UQA or UQS)
Connector 340: Speaker - Subwoofer (UQG)
Connector 341: Starter Motor X1
Connector 342: Starter Motor X2
Connector 343: Steering Column Tilt/Telescope Actuator X1 (N38)
Connector 344: Steering Column Tilt/Telescope Actuator X2 (N38)
Connector 345: Steering Wheel Control Switch - Left
Connector 346: Steering Wheel Control Switch - Right (UK3)
Connector 347: Steering Wheel Speed Position Sensor (WDA or Z88 or W49 Late Production)
Connector 348: Steering Wheel Speed Position Sensor (W49 Early Production)
Connector 349: Steering Wheel/Column Tilt/Telescope Switch (N38)
Connector 350: Sunload Sensor (CJ2)
Connector 351: Sunroof Control Module (C3U)
Connector 352: Sunroof Shade Module (C3U)
Connector 353: Sunroof Shade Switch (C3U)
Connector 354: Sunroof Switch (C3U)
Connector 355: Sunshade - Left (DH6)
Connector 356: Sunshade - Right (DH6)
Connector 357: Tail Lamp - Left (Z88)
Connector 358: Tail Lamp - Right (Z88)
Connector 359: Tail/Stop and Turn Signal Lamp - Left (W49 or WDA)
Connector 360: Tail/Stop and Turn Signal Lamp - Right (W49 or WDA)
Connector 361: Theft Deterrent Module (TDM)
Connector 362: Throttle Body (LY7)
Connector 363: Trailer Connector (V92 or Early Production)
Connector 364: Turn Signal Lamp - Left Front (W49 or Z88)
Connector 365: Turn Signal Lamp - Lower Left Front (WDA)
Connector 366: Turn Signal Lamp - Lower Right Front (WDA)
Connector 367: Turn Signal Lamp - Right Front (W49 or Z88)
Connector 368: Turn Signal Lamp - Upper Left Front (WDA)
Connector 369: Turn Signal Lamp - Upper Right Front (WDA)
Connector 370: Turn Signal/Multifunction Switch X1
Connector 371: Turn Signal/Multifunction Switch X2
Connector 372: Variable Effort Steering Actuator (NV7)
Connector 373: Vehicle Communications Interface Module (VCIM) X1 (UE1)
Connector 374: Vehicle Communications Interface Module (VCIM) X2 (UE1)
Connector 375: Vehicle Communications Interface Module (VCIM) X3 (UE1)
Connector 376: Wheel Speed Sensor (WSS) - Left Front
Connector 377: Wheel Speed Sensor (WSS) - Left Rear
Connector 378: Wheel Speed Sensor (WSS) - Right Front
Connector 379: Wheel Speed Sensor (WSS) - Right Rear
Connector 380: Window Motor - Driver (AXC or AXE)
Connector 381: Window Motor - Driver (without AXC or AXE)
Connector 382: Window Motor - Left Rear
Connector 383: Window Motor - Passenger (AXC)
Connector 384: Window Motor - Passenger (without AXC)
Connector 385: Window Motor - Right Rear
Connector 386: Window Switch - Driver X1 (without AXC or AXE)
Connector 387: Window Switch - Driver X2 (without AXC or AXE)
Connector 388: Window Switch - Left Rear
Connector 389: Window Switch - Passenger (without AXC or AXE)
Connector 390: Window Switch - Right Rear
Connector 391: Windshield Washer Fluid Level Switch
Connector 392: Windshield Washer Fluid Pump
Connector 393: Windshield Washer Solvent Heater X1 (XA7)
Connector 394: Windshield Washer Solvent Heater X2 (XA7)
Connector 395: Windshield Wiper Motor
Connector 396: Yaw and Lateral Accelerometer Sensor

A/C Compressor Clutch


Object Number: 897985  Size: CH

Connector Part Information

  • OEM: 7282-5548-30
  • Service: 88953303
  • Description: 2-Way M YESC Weather Pack (BK)

Terminal Part Information

  • Terminal/Tray: 7114-4103-08/9
  • Core/Insulation Crimp: E/1
  • Release Tool/Test Probe: 12094430/J-35616-3 (GY)

A/C Compressor Clutch

Pin

Wire

Circuit

Function

1

0.5 D-GN

59

A/C Compressor Clutch Supply Voltage

2

1 BK

1050

Ground

A/C Refrigerant Pressure Sensor


Object Number: 1519475  Size: CH

Connector Part Information

  • OEM: 15477863
  • Service: 88988301
  • Description: 3-Way F GT 150 Series, Sealed (BK)

Terminal Part Information

  • Terminal/Tray: 15326267/19
  • Core/Insulation Crimp: E/4
  • Release Tool/Test Probe: 15315247/J-35616-2A (GY)

A/C Refrigerant Pressure Sensor

Pin

Wire

Circuit

Function

1

0.5 TN

5514

Low Reference

2

0.5 GY

2700

5-Volt Reference

3

0.5 OG/BK

380

A/C Refrigerant Pressure Sensor Signal

Accelerator Pedal Position (APP) Sensor (LY7)


Object Number: 886053  Size: CH

Connector Part Information

  • OEM: 15326830
  • Service: 88988944
  • Description: 6-Way F GT 150 Series, Sealed (BK)

Terminal Part Information

  • Terminal/Tray: 12191819/8
  • Core/Insulation Crimp: E/A
  • Release Tool/Test Probe: 15315247/J-35616-2A (GY)

Accelerator Pedal Position (APP) Sensor (LY7)

Pin

Wire

Circuit

Function

A

0.35 PU

1272

Low Reference

B

0.35 L-BU

1162

APP Sensor 2 Signal

C

0.35 TN

1274

5-Volt Reference

D

0.35 BN

1271

Low Reference

E

0.35 D-BU

1161

APP Sensor 1 Signal

F

0.35 WH/BK

1164

5-Volt Reference

Accessory AC/DC Power Control Module X1 (KV1)


Object Number: 1540770  Size: CH

Connector Part Information

  • OEM: 6098-4542
  • Service: See Catalog
  • Description: 6-Way F 2.8 Series (OG)

Terminal Part Information

  • Terminal/Tray: 8100-4444/22
  • Core/Insulation Crimp: 2/A
  • Release Tool/Test Probe: 15315247/J-35616-35 (VT)

Accessory AC/DC Power Control Module X1 (KV1)

Pin

Wire

Circuit

Function

1

--

--

Not Used

2

0.8 D-BU

6807

120 VAC Inverter Control

3

--

--

Not Used

4

0.8 RD

5684

120 VAC Phase B

5

--

--

Not Used

6

0.8 BK

5683

120 VAC Phase A

Accessory AC/DC Power Control Module X2 (KV1)


Object Number: 1538784  Size: CH

Connector Part Information

  • OEM: 6098-4539
  • Service: 88987988
  • Description: 2-Way F Receptacle 6.3 Series (BK)

Terminal Part Information

  • Terminal/Tray: 7116-4122-02/10
  • Core/Insulation Crimp: A/B
  • Release Tool/Test Probe: 12094430/J-35616-42 (RD)

Accessory AC/DC Power Control Module X2 (KV1)

Pin

Wire

Circuit

Function

1

3 BK

650

Ground

2

3 RD/WH

2740

Battery Positive Voltage

Accessory Power Outlet - 110V AC (KV1)


Object Number: 1540771  Size: CH

Connector Part Information

  • OEM: 6098-4536
  • Service: See Catalog
  • Description: 6-Way F 1.5 (OG)

Terminal Part Information

  • Pins: 1, 3, 6
  • Terminal/Tray: 8240-0128/22
  • Core/Insulation Crimp: C/A
  • Release Tool/Test Probe: 15315247/J-35616-2A (GY)
  • Pins: 4
  • Terminal/Tray: 8240-0127/22
  • Core/Insulation Crimp: E/C
  • Release Tool/Test Probe: 15315247/J-35616-2A (GY)

Accessory Power Outlet - 110V AC (KV1)

Pin

Wire

Circuit

Function

1

0.8 D-BU

6807

120 VAC Inverter Control

2

--

--

Not Used

3

0.8 RD

5684

120 VAC Phase B

4

0.35 YE

43

Ignition Voltage

5

--

--

Not Used

6

0.8 BK

5683

120 VAC Phase A

Accessory Power Outlet - Center Console


Object Number: 362748  Size: CH

Connector Part Information

  • OEM: 12176836
  • Service: 15305923
  • Description: 3-Way F Metri-Pack 280 Series (GY)

Terminal Part Information

  • Terminal/Tray: 12110844/4
  • Core/Insulation Crimp: C/A
  • Release Tool/Test Probe: 15315247/J-35616-4A (PU)

Accessory Power Outlet - Center Console

Pin

Wire

Circuit

Function

A

1 RD/WH

2540

Battery Positive Voltage

B

--

--

Not Used

C

1 BK

750

Ground

Accessory Power Outlet - Center Console Compartment


Object Number: 362748  Size: CH

Connector Part Information

  • OEM: 12176836
  • Service: 15305923
  • Description: 3-Way F Metri-Pack 280 Series (GY)

Terminal Part Information

  • Terminal/Tray: 12110844/4
  • Core/Insulation Crimp: C/A
  • Release Tool/Test Probe: 15315247/J-35616-4A (PU)

Accessory Power Outlet - Center Console Compartment

Pin

Wire

Circuit

Function

A

1 RD/WH

2540

Battery Positive Voltage

B

--

--

Not Used

C

1 BK

750

Ground

Accessory Power Outlet - I/P


Object Number: 362748  Size: CH

Connector Part Information

  • OEM: 12176836
  • Service: 15305923
  • Description: 3-Way F Metri-Pack 280 Series (GY)

Terminal Part Information

  • Terminal/Tray: 12110844/4
  • Core/Insulation Crimp: C/A
  • Release Tool/Test Probe: 15315247/J-35616-4A (PU)

Accessory Power Outlet - I/P

Pin

Wire

Circuit

Function

A

1 RD/WH

2540

Battery Positive Voltage

B

--

--

Not Used

C

1 BK

750

Ground

Accessory Power Outlet - Rear


Object Number: 362748  Size: CH

Connector Part Information

  • OEM: 12176836
  • Service: 15305923
  • Description: 3-Way F Metri-Pack 280 Series (GY)

Terminal Part Information

  • Terminal/Tray: 12110844/4
  • Core/Insulation Crimp: C/A
  • Release Tool/Test Probe: 15315247/J-35616-4A (PU)

Accessory Power Outlet - Rear

Pin

Wire

Circuit

Function

A

1 RD/WH

140

Battery Positive Voltage

B

--

--

Not Used

C

1 BK

650

Ground

Accessory Power Outlet - Rear Console (DK1)


Object Number: 362748  Size: CH

Connector Part Information

  • OEM: 12176836
  • Service: 15305923
  • Description: 3-Way F Metri-Pack 280 Series (GY)

Terminal Part Information

  • Terminal/Tray: 12110844/4
  • Core/Insulation Crimp: C/A
  • Release Tool/Test Probe: 15315247/J-35616-4A (PU)

Accessory Power Outlet - Rear Console (DK1)

Pin

Wire

Circuit

Function

A

1 RD/WH

140

Battery Positive Voltage

B

--

--

Not Used

C

1 BK

750

Ground

Adaptive Forward Lighting (AFL) Motor - Left (TSH)


Object Number: 1960040  Size: CH

Connector Part Information

  • OEM: XAP-10V
  • Service: See Catalog
  • Description: 10-Way F XA Series (WH)

Terminal Part Information

  • Terminal/Tray: See Terminal Repair Kit
  • Core/Insulation Crimp: See Terminal Repair Kit
  • Release Tool/Test Probe: See Terminal Repair Kit

Adaptive Forward Lighting (AFL) Motor - Left (TSH)

Pin

Wire

Circuit

Function

1

0.35 GY

--

Left Headlamp High Beam Supply Voltage

2

0.35 BK

--

Ground

3

0.35 RD

--

Battery Positive Voltage

4

0.35 BK

--

Ground

5

0.35 OG

--

Linear Interconnect Network (LIN)

6-10

--

--

Not Used

Adaptive Forward Lighting (AFL) Motor - Right (TSH)


Object Number: 1960040  Size: CH

Connector Part Information

  • OEM: XAP-10V
  • Service: See Catalog
  • Description: 10-Way F XA Series (WH)

Terminal Part Information

  • Terminal/Tray: See Terminal Repair Kit
  • Core/Insulation Crimp: See Terminal Repair Kit
  • Release Tool/Test Probe: See Terminal Repair Kit

Adaptive Forward Lighting (AFL) Motor - Right (TSH)

Pin

Wire

Circuit

Function

1

0.35 GY

--

Right Headlamp High Beam Supply Voltage

2

0.35 BK

--

Ground

3

0.35 RD

--

Battery Positive Voltage

4

0.35 BK

--

Ground

5

0.35 OG

--

Linear Interconnect Network (LIN)

6-10

--

--

Not Used

Air Temperature Actuator - Auxiliary


Object Number: 280764  Size: CH

Connector Part Information

  • OEM: 12064993
  • Service: 12102485
  • Description: 6-Way F Micro-Pack 100 Series (BK)

Terminal Part Information

  • Terminal/Tray: 12146447/3
  • Core/Insulation Crimp: E/C
  • Release Tool/Test Probe: 12031876-1/J-35616-6 (BN)

Air Temperature Actuator - Auxiliary

Pin

Wire

Circuit

Function

5

0.35 GY

2614

Auxiliary Air Temperature Door Control

6

0.35 BN

6555

Auxiliary Temperature Motor Supply Voltage

7

--

--

Not Used

8

0.35 GY/BK

1798

Low Reference

9

0.35 PK

2145

Auxiliary Air Temperature Door Position Signal

10

0.35 GY

596

5-Volt Reference

Air Temperature Actuator - Left (CJ2)


Object Number: 280764  Size: CH

Connector Part Information

  • OEM: 12064993
  • Service: 12102485
  • Description: 6-Way F Micro-Pack 100 Series (BK)

Terminal Part Information

  • Terminal/Tray: 12146447/3
  • Core/Insulation Crimp: E/C
  • Release Tool/Test Probe: 12031876-1/J-35616-6 (BN)

Air Temperature Actuator - Left (CJ2)

Pin

Wire

Circuit

Function

5

0.35 D-BU

1199

Air Temperature Door Control

6

0.35 L-GN

2210

Air Temperature Door Control

7

--

--

Not Used

8

0.35 YE

1791

Low Reference

9

0.35 L-BU

733

Air Temperature Door Position Signal

10

0.35 GY

598

5-Volt Reference

Air Temperature Actuator - Right (CJ2)


Object Number: 280764  Size: CH

Connector Part Information

  • OEM: 12064993
  • Service: 12102485
  • Description: 6-Way F Micro-Pack 100 Series (BK)

Terminal Part Information

  • Terminal/Tray: 12146447/3
  • Core/Insulation Crimp: E/C
  • Release Tool/Test Probe: 12031876-1/J-35616-6 (BN)

Air Temperature Actuator - Right (CJ2)

Pin

Wire

Circuit

Function

5

0.35 WH/BK

1236

Auxiliary Air Temperature Door Control

6

0.35 GY/BK

2778

Right Air Temperature Door Control A

7

--

--

Not Used

8

0.35 YE

1791

Low Reference

9

0.35 D-BU

1646

Auxiliary Air Temperature Door Position Signal

10

0.35 GY

598

5-Volt Reference

Air Temperature Actuator (C67)


Object Number: 280764  Size: CH

Connector Part Information

  • OEM: 12064993
  • Service: 12102485
  • Description: 6-Way F Micro-Pack 100 Series (BK)

Terminal Part Information

  • Terminal/Tray: 12146447/3
  • Core/Insulation Crimp: E/C
  • Release Tool/Test Probe: 12031876-1/J-35616-6 (BN)

Air Temperature Actuator (C67)

Pin

Wire

Circuit

Function

5

0.35 WH/BK

1236

Auxiliary Air Temperature Door Control

6

0.35 GY/BK

2778

Right Air Temperature Door Control A

7

--

--

Not Used

8

0.35 YE

1791

Low Reference

9

0.35 D-BU

1646

Auxiliary Air Temperature Door Position Signal

10

0.35 GY

598

5-Volt Reference

Air Temperature Sensor - Lower Left (CJ2)


Object Number: 1459283  Size: CH

Connector Part Information

  • OEM: 1-968704-1
  • Service: See Catalog
  • Description: 2-Way F MQS Series (BK)

Terminal Part Information

  • Terminal/Tray: 928999-5/15
  • Core/Insulation Crimp: H/H
  • Release Tool/Test Probe: 12094429/J-35616-64B (L-BU)

Air Temperature Sensor - Lower Left (CJ2)

Pin

Wire

Circuit

Function

1

0.35 TN

518

Lower Left Air Temperature Sensor Signal

2

0.35 TN

552

Low Reference

Air Temperature Sensor - Lower Right (CJ2)


Object Number: 1459283  Size: CH

Connector Part Information

  • OEM: 1-968704-1
  • Service: See Catalog
  • Description: 2-Way F MQS Series (BK)

Terminal Part Information

  • Terminal/Tray: 928999-5/15
  • Core/Insulation Crimp: H/H
  • Release Tool/Test Probe: 12094429/J-35616-64B (L-BU)

Air Temperature Sensor - Lower Right (CJ2)

Pin

Wire

Circuit

Function

1

0.35 TN

520

Lower Right Air Temperature Sensor Signal

2

0.35 TN

552

Low Reference

Air Temperature Sensor - Upper Left (CJ2)


Object Number: 1459283  Size: CH

Connector Part Information

  • OEM: 1-968704-1
  • Service: See Catalog
  • Description: 2-Way F MQS Series (BK)

Terminal Part Information

  • Terminal/Tray: 928999-5/15
  • Core/Insulation Crimp: H/H
  • Release Tool/Test Probe: 12094429/J-35616-64B (L-BU)

Air Temperature Sensor - Upper Left (CJ2)

Pin

Wire

Circuit

Function

1

0.35 TN

516

Upper Left Air Temperature Sensor Signal

2

0.35 YE

61

Low Reference

Air Temperature Sensor - Upper Right (CJ2)


Object Number: 1459283  Size: CH

Connector Part Information

  • OEM: 1-968704-1
  • Service: See Catalog
  • Description: 2-Way F MQS Series (BK)

Terminal Part Information

  • Terminal/Tray: 928999-5/15
  • Core/Insulation Crimp: H/H
  • Release Tool/Test Probe: 12094429/J-35616-64B (L-BU)

Air Temperature Sensor - Upper Right (CJ2)

Pin

Wire

Circuit

Function

1

0.35 TN

517

Upper Right Air Temperature Sensor Signal

2

0.35 YE

61

Low Reference

Ambient Light Sensor (C67)


Object Number: 82383  Size: CH

Connector Part Information

  • OEM: 12047662
  • Service: 12085535
  • Description: 2-Way F Metri-Pack 150 Series (BK)

Terminal Part Information

  • Terminal/Tray: 12064971/5
  • Core/Insulation Crimp: E/C
  • Release Tool/Test Probe: 12094429/J-35616-14 (GN)

Ambient Light Sensor (C67)

Pin

Wire

Circuit

Function

A

0.35 L-GN/BK

1137

DRL Ambient Light Sensor Signal

B

0.35 BK/WH

1551

Ground

Ambient Temperature Sensor


Object Number: 684793  Size: CH

Connector Part Information

  • OEM: 12052642
  • Service: 12101856
  • Description: 2-Way F Metri-Pack 150 Series, Sealed (L-GN)

Terminal Part Information

  • Terminal/Tray: 12048074/2
  • Core/Insulation Crimp: E/1
  • Release Tool/Test Probe: 12094429/J-35616-14 (GN)

Ambient Temperature Sensor

Pin

Wire

Circuit

Function

A

0.35 L-GN/BK

735

Ambient Air Temperature Sensor Signal

B

0.35 YE

61

Low Reference

Audio Amplifier X1 (UQA or UQS)


Object Number: 1715234  Size: CH

Connector Part Information

  • OEM: 89047379
  • Service: 19115652
  • Description: 8-Way F Unsealed (L-GY)

Terminal Part Information

  • Pins: 1, 3, 5, 7
  • Terminal/Tray: 8100-4444/22
  • Core/Insulation Crimp: 2/A
  • Release Tool/Test Probe: 15315247/J-35616-35 (VT)
  • Pins: 4, 8
  • Terminal/Tray: 8100-4445/22
  • Core/Insulation Crimp: Pins 4 - 4/4
  • Core/Insulation Crimp: Pins 8 - F/D
  • Release Tool/Test Probe: 15315247/J-35616-35 (VT)

Audio Amplifier X1 (UQA or UQS)

Pin

Wire

Circuit

Function

1

1 GY

118

Left Front Speaker Output (-)

3

1 L-GN/BK

1794

Subwoofer Speaker Output (-)

4

2 RD/WH

2040

Battery Positive Voltage

5

1 TN

201

Left Front Speaker Output (+)

6

--

--

Not Used

7

1 D-BU/WH

346

Subwoofer Speaker Output (+)

8

3 BK/WH

351

Ground

Audio Amplifier X1 (UQG)


Object Number: 1653389  Size: CH

Connector Part Information

  • OEM: 15134093
  • Service: 88988652
  • Description: 8-Way F 2.8 Series (BK)

Terminal Part Information

  • Pins: 1, 5
  • Terminal/Tray: 8100-4445/22
  • Core/Insulation Crimp: 4/4
  • Release Tool/Test Probe: 15315247/J-35616-35 (VT)
  • Pins: 3, 4, 7, 8
  • Terminal/Tray: 8100-4443/22
  • Core/Insulation Crimp: E/A
  • Release Tool/Test Probe: 15315247/J-35616-35 (VT)

Audio Amplifier X1 (UQG)

Pin

Wire

Circuit

Function

1

2 RD/WH

2040

Battery Positive Voltage

2

--

--

Not Used

3

0.5 D-BU/WH

346

Subwoofer Speaker Output (+)

4

0.5 D-GN

1795

Right Subwoofer Speaker Output (+)

5

2 BK/WH

351

Ground

6

--

--

Not Used

7

0.5 L-GN/BK

1794

Subwoofer Speaker Output (-)

8

0.5 L-BU/BK

315

Right Subwoofer Speaker Output (-)

Audio Amplifier X2 (UQA or UQS)


Object Number: 1566781  Size: CH

Connector Part Information

  • OEM: 15134091
  • Service: See Catalog
  • Description: 16-Way F 1.5 Series (BK)

Terminal Part Information

  • Pins: 1, 2, 7, 8, 15, 16
  • Terminal/Tray: 8240-0128/22
  • Core/Insulation Crimp: C/A
  • Release Tool/Test Probe: 15315247/J-35616-2A (GY)
  • Pins: 3-6
  • Terminal/Tray: 8240-0127/22
  • Core/Insulation Crimp: E/C
  • Release Tool/Test Probe: 15315247/J-35616-2A (GY)

Audio Amplifier X2 (UQA or UQS)

Pin

Wire

Circuit

Function

1

0.8 L-BU

115

Right Rear Speaker Output (-)

2

0.8 D-BU

46

Right Rear Speaker Output (+)

3

0.35 L-BU

1960

Front Center Speaker Output (-)

4

0.35 YE

1860

Front Center Speaker Output (+)

5

0.5 WH

1959

Left Rear Midrange Speaker Output (-)

6

0.5 TN

1859

Left Rear Midrange Speaker Output (+)

7

1 D-GN

117

Right Front Speaker Output (-)

8

1 L-GN

200

Right Front Speaker Output (+)

9-14

--

--

Not Used

15

0.8 BN

199

Left Rear Speaker Output (+)

16

0.8 YE

116

Left Rear Speaker Output (-)

Audio Amplifier X2 (UQG)


Object Number: 1566781  Size: CH

Connector Part Information

  • OEM: 15134091
  • Service: See Catalog
  • Description: 16-Way F 1.5 Series (BK)

Terminal Part Information

  • Pins: 1- 4, 9-12
  • Terminal/Tray: 8240-0128/22
  • Core/Insulation Crimp: C/A
  • Release Tool/Test Probe: 15315247/J-35616-2A (GY)
  • Pins: 5, 6, 13, 14
  • Terminal/Tray: 8240-0127/22
  • Core/Insulation Crimp: E/C
  • Release Tool/Test Probe: 15315247/J-35616-2A (GY)

Audio Amplifier X2 (UQG)

Pin

Wire

Circuit

Function

1

1 TN

201

Left Front Speaker Output (+)

2

1 L-GN

200

Right Front Speaker Output (+)

3

1 BN

199

Left Rear Speaker Output (+)

4

1 D-BU

46

Right Rear Speaker Output (+)

5

0.35 YE

1860

Front Center Speaker Output (+)

6

0.5 TN

1859

Left Rear Midrange Speaker Output (+)

7-8

--

--

Not Used

9

1 GY

118

Left Front Speaker Output (-)

10

1 D-GN

117

Right Front Speaker Output (-)

11

1 YE

116

Left Rear Speaker Output (-)

12

1 L-BU

115

Right Rear Speaker Output (-)

13

0.35 L-BU

1960

Front Center Speaker Output (-)

14

0.5 WH

1959

Left Rear Midrange Speaker Output (-)

15-16

--

--

Not Used

Audio Amplifier X3 (UQA or UQS)


Object Number: 1566784  Size: CH

Connector Part Information

  • OEM: 15136073
  • Service: See Catalog
  • Description: 16-Way F Kaizen 0.64 (BK)

Terminal Part Information

  • Terminal/Tray: 7116-4618-02/14
  • Core/Insulation Crimp: P/P
  • Release Tool/Test Probe: J-38125-215/J-35616-64B (L-BU)

Audio Amplifier X3 (UQA or UQS)

Pin

Wire

Circuit

Function

1

0.5 WH

6763

Subwoofer Low Level Audio Signal (UQS)

2

0.5 OG

6761

Center Channel Low Level Audio Signal (-) (UQS)

3

0.5 D-BU

6760

Center Channel Low Level Audio Signal (UQS)

4

0.5 TN

1946

Right Rear Low Level Audio Signal (-) (without UK6)

0.5 TN/WH

5830

Right Rear Low Level Audio Signal (-) (UK6)

5

0.5 BN

5314

Left Rear Low Level Audio Signal (-) (UK6)

0.5 BN

1999

Left Rear Low Level Audio Signal (-) (without UK6)

6

0.5 L-GN

1948

Right Front Low Level Audio Signal (-)

7

0.5 D-GN

1947

Left Front Low Level Audio Signal (-)

8

0.35 WH

7066

Entertainment Remote Enable Signal

9

0.5 PK

6762

Subwoofer Low Level Audio (-) (UQS)

10

--

--

Not Used

11

0.35 OG

5748

Radio Audio Mute Signal

12

0.5 D-BU

546

Right Rear Low Level Audio Signal (+) (without UK6)

0.5 L-GN

5313

Right Rear Low Level Audio Signal (+) (UK6)

13

0.5 BN/WH

599

Left Rear Low Level Audio Signal (+) (without UK6)

0.5 L-BU

5312

Left Rear Low Level Audio Signal (+) (UK6)

14

0.5 L-GN/WH

512

Right Front Low Level Audio Signal (+)

15

0.5 TN

511

Left Front Low Level Audio Signal (+)

16

--

--

Not Used

Audio Amplifier X3 (UQG)


Object Number: 1566784  Size: CH

Connector Part Information

  • OEM: 15136073
  • Service: See Catalog
  • Description: 16-Way F Kaizen 0.64 (BK)

Terminal Part Information

  • Terminal/Tray: 7116-4618-02/14
  • Core/Insulation Crimp: P/P
  • Release Tool/Test Probe: J-38125-215/J-35616-64B (L-BU)

Audio Amplifier X3 (UQG)

Pin

Wire

Circuit

Function

1-3

--

--

Not Used

4

0.35 OG

5748

Radio Audio Mute Signal

5

0.5 TN

511

Left Front Low Level Audio Signal (+)

6

0.5 L-GN/WH

512

Right Front Low Level Audio Signal (+)

7

0.5 L-BU

5312

Left Rear Low Level Audio Signal (+) (UK6)

0.5 BN/WH

599

Left Rear Low Level Audio Signal (+) (without UK6)

8

0.5 D-BU

546

Right Rear Low Level Audio Signal (+) (without UK6)

0.5 L-GN

5313

Right Rear Low Level Audio Signal (+) (UK6)

9-11

--

--

Not Used

12

0.35 WH

7066

Entertainment Remote Enable Signal

13

0.5 D-GN

1947

Left Front Low Level Audio Signal (-)

14

0.5 L-GN

1948

Right Front Low Level Audio Signal (-)

15

0.5 BN

1999

Left Rear Low Level Audio Signal (-) (without UK6)

0.5 BN

5314

Left Rear Low Level Audio Signal (-) (UK6)

16

0.5 TN

1946

Right Rear Low Level Audio Signal (-) (without UK6)

0.5 TN/WH

5830

Right Rear Low Level Audio Signal (-) (UK6)

Audio/Video Adapter (U42)


Object Number: 1715233  Size: CH

Connector Part Information

  • OEM: 15480082
  • Service: 19149303
  • Description: 8-Way F Micro 64 Series (GY)

Terminal Part Information

  • Terminal/Tray: 15359541/4
  • Core/Insulation Crimp: M/M
  • Release Tool/Test Probe: 15381651-2/J-35616-64B (L-BU)

Audio/Video Adapter (U42)

Pin

Wire

Circuit

Function

1

0.35 BARE

5346

Video Drain Wire

2

--

--

Not Used

3

0.35 PU

2056

Auxiliary Video High Signal

4

--

--

Not Used

5

0.35 WH

2058

Auxiliary Audio Right Signal

6

0.35 YE

2059

Auxiliary Audio Left Signal

7

0.35 BARE

5345

Auxiliary Audio Drain Wire

8

--

--

Not Used

Automatic Transmission


Object Number: 1910664  Size: CH

Connector Part Information

  • OEM: 15476346
  • Service: 19151494
  • Description: 20-Way F GT 150 Sealed (L-GY)

Terminal Part Information

  • Terminal/Tray: 15326267/19
  • Pins: 1, 2, 5, 12-16
  • Core/Insulation Crimp: E/4
  • Pins: 18, 19
  • Core/Insulation Crimp: E/1
  • Release Tool/Test Probe: 15315247/J-35616-2A (GY)

Automatic Transmission

Pin

Wire

Circuit

Function

1

0.8 BK/WH

451

Ground

2

0.5 TN/BK

2500

High Speed GMLAN Serial Data Bus+

3-4

--

--

Not Used

5

0.5 TN/BK

2500

High Speed GMLAN Serial Data Bus+

6-11

--

--

Not Used

12

0.5 TN

2501

High Speed GMLAN Serial Data Bus-

13

0.5 PK

1339

Ignition Voltage

14

0.5 TN

2501

High Speed GMLAN Serial Data Bus-

15

0.5 D-BU

5985

Ignition Voltage

16

0.5 WH

17

Stop Lamp Switch Signal

17

--

--

Not Used

18

0.8 BK/WH

451

Ground

19

0.8 RD/WH

3640

Battery Positive Voltage

20

0.5 OG/BK

1786

Park/Neutral Signal

Automatic Transmission Internal Mode Switch (IMS)


Object Number: 347262  Size: CH

Connector Part Information

  • OEM: 15336500
  • Service: Non-Serviceable
  • Description: 6-Way F Metri-Pack 150.2 Series (GN)

Terminal Part Information

  • Terminal/Tray: Non-Serviceable
  • Core/Insulation Crimp: Non-Serviceable
  • Release Tool/Test Probe: Non-Serviceable

Automatic Transmission Internal Mode Switch (IMS)

Pin

Wire

Circuit

Function

A

0.5 GY

--

Low Reference

B

0.5 BK

--

Transmission Range Switch Signal P

C

0.5 YE

--

Transmission Range Switch Signal C

D

0.5 RD

--

Transmission Range Switch Signal B

E

0.5 GN

--

Transmission Range Switch Signal A

F

0.5 WH

--

Park/Neutral Switch Signal

Automatic Transmission Manual Shift Switch


Object Number: 40399  Size: CH

Connector Part Information

  • OEM: 12064761
  • Service: 12064761
  • Description: 4-Way M Metri-Pack 150 Series (BK)

Terminal Part Information

  • Terminal/Tray: See Terminal Repair Kit
  • Core/Insulation Crimp: See Terminal Repair Kit
  • Release Tool/Test Probe: See Terminal Repair Kit

Automatic Transmission Manual Shift Switch

Pin

Wire

Circuit

Function

A

GN

--

Ignition Voltage

B

GN

--

Tap Up/Tap Down Switch Signal

C-D

--

--

Not Used

Back Up Lamp - Left (W49)


Object Number: 1860844  Size: CH

Connector Part Information

  • OEM: 7712-5354-4WB
  • Service: See Catalog
  • Description: 2-Way F Lamp Socket, Axial (BK)

Terminal Part Information

  • Terminal/Tray: See Terminal Repair Kit
  • Core/Insulation Crimp: See Terminal Repair Kit
  • Release Tool/Test Probe: See Terminal Repair Kit

Back Up Lamp - Left (W49)

Pin

Wire

Circuit

Function

A

0.5 WH

--

Backup Lamp Supply Voltage

B

0.5 BK

--

Ground

Back Up Lamp - Left (WDA)


Object Number: 1710998  Size: CH

Connector Part Information

  • OEM: 1-1438608-1
  • Service: 19149296
  • Description: 2-Way F MQS Series, Sealed (BK)

Terminal Part Information

  • Terminal/Tray: 962885-5/15
  • Core/Insulation Crimp: 6/6
  • Release Tool/Test Probe: 12094429/J-35616-64B (L-BU)

Back Up Lamp - Left (WDA)

Pin

Wire

Circuit

Function

1

0.5 L-GN

24

Backup Lamp Supply Voltage

2

0.5 BK

650

Ground

Back Up Lamp - Left (Z88)


Object Number: 1710998  Size: CH

Connector Part Information

  • OEM: 1-1438608-2
  • Service: See Catalog
  • Description: 2-Way F MQS Series, Sealed (D-GY)

Terminal Part Information

  • Terminal/Tray: See Terminal Repair Kit
  • Core/Insulation Crimp: See Terminal Repair Kit
  • Release Tool/Test Probe: See Terminal Repair Kit

Back Up Lamp - Left (Z88)

Pin

Wire

Circuit

Function

1

0.5 BK

--

Ground

2

0.5 BK

--

Backup Lamp Supply Voltage

Back Up Lamp - Right (W49)


Object Number: 1860844  Size: CH

Connector Part Information

  • OEM: 7712-5354-4WB
  • Service: See Catalog
  • Description: 2-Way F Lamp Socket, Axial (BK)

Terminal Part Information

  • Terminal/Tray: See Terminal Repair Kit
  • Core/Insulation Crimp: See Terminal Repair Kit
  • Release Tool/Test Probe: See Terminal Repair Kit

Back Up Lamp - Right (W49)

Pin

Wire

Circuit

Function

A

0.5 WH

--

Backup Lamp Supply Voltage

B

0.5 BK

--

Ground

Back Up Lamp - Right (WDA)


Object Number: 1710998  Size: CH

Connector Part Information

  • OEM: 1-1438608-1
  • Service: 19149296
  • Description: 2-Way F MQS Series, Sealed (BK)

Terminal Part Information

  • Terminal/Tray: 962885-5/15
  • Core/Insulation Crimp: 6/6
  • Release Tool/Test Probe: 12094429/J-35616-64B (L-BU)

Back Up Lamp - Right (WDA)

Pin

Wire

Circuit

Function

1

0.5 L-GN

24

Backup Lamp Supply Voltage

2

0.5 BK

650

Ground

Back Up Lamp - Right (Z88)


Object Number: 1710998  Size: CH

Connector Part Information

  • OEM: 1-1438608-2
  • Service: See Catalog
  • Description: 2-Way F MQS Series, Sealed (D-GY)

Terminal Part Information

  • Terminal/Tray: See Terminal Repair Kit
  • Core/Insulation Crimp: See Terminal Repair Kit
  • Release Tool/Test Probe: See Terminal Repair Kit

Back Up Lamp - Right (Z88)

Pin

Wire

Circuit

Function

1

0.5 BK

--

Ground

2

0.5 BK

--

Backup Lamp Supply Voltage

Barometric Pressure (BARO) Sensor (LY7)


Object Number: 1331443  Size: CH

Connector Part Information

  • OEM: 1928403966
  • Service: 88988583
  • Description: 3-Way F Kompakt 2.8 Series, Sealed (BK)

Terminal Part Information

  • Terminal/Tray: 1928498056/8
  • Core/Insulation Crimp: E/1
  • Release Tool/Test Probe: J-38125-561/J-35616-35 (VT)

Barometric Pressure (BARO) Sensor (LY7)

Pin

Wire

Circuit

Function

1

0.5 GY

2704

5-Volt Reference

2

0.5 OG/BK

469

Low Reference

3

0.5 L-GN

432

MAP Sensor Signal

Battery (-)

Terminal Part Information

  • Terminal: R61014-002
  • Core/Insulation Crimp: N/A
  • Description: Battery Terminal

Battery (-)

Pin

Wire

Circuit

Function

-

32 BK

50

Ground

10 BK

50

Ground

Battery (+)

Terminal Part Information

  • Terminal: R3311-033
  • Core/Insulation Crimp: N/A
  • Description: Battery Terminal

Battery (+)

Pin

Wire

Circuit

Function

+

40 RD

1

Battery Positive Voltage

1 RD

1

Battery Positive Voltage (UE1)

Battery Current Sensor


Object Number: 646415  Size: CH

Connector Part Information

  • OEM: 15326808
  • Service: See Catalog
  • Description: 3-Way F GT 150 Series, Sealed (BK)

Terminal Part Information

  • Terminal/Tray: 12191819/8
  • Core/Insulation Crimp: E/A
  • Release Tool/Test Probe: 15315247/J-35616-2A (GY)

Battery Current Sensor

Pin

Wire

Circuit

Function

A

0.35 PK

5076

Current Sensor Supply Voltage

B

0.35 BN

5077

Low Reference

C

0.35 WH

5075

Current Sensor Signal

Blower Motor


Object Number: 62488  Size: CH

Connector Part Information

  • OEM: 12084957
  • Service: 12126461
  • Description: 2-Way F (BK)

Terminal Part Information

  • Terminal/Tray: See Terminal Repair Kit
  • Core/Insulation Crimp: See Terminal Repair Kit
  • Release Tool/Test Probe: See Terminal Repair Kit

Blower Motor

Pin

Wire

Circuit

Function

A

3.0 PU

65

Blower Motor Supply Voltage

B

3.0 BK

5987

Low Reference

Blower Motor - Auxiliary


Object Number: 808706  Size: CH

Connector Part Information

  • OEM: 12064749
  • Service: 12064749
  • Description: 2-Way F Metri-Pack 480 Series (BK)

Terminal Part Information

  • Terminal/Tray: See Terminal Repair Kit
  • Core/Insulation Crimp: See Terminal Repair Kit
  • Release Tool/Test Probe: See Terminal Repair Kit

Blower Motor - Auxiliary

Pin

Wire

Circuit

Function

A

3.0 RD/WH

65

Blower Motor Supply Voltage

B

3.0 OG

5988

Low Reference

Blower Motor Control Module - Auxiliary X1


Object Number: 1817814  Size: CH

Connector Part Information

  • OEM: 15226103
  • Service: 88988507
  • Description: 2-Way F Receptacle 6.3 Series (BK)

Terminal Part Information

  • Terminal/Tray: 12191812/19
  • Core/Insulation Crimp: See Terminal Repair Kit
  • Release Tool/Test Probe: 15315247/J-35616-2A (GY)

Blower Motor Control Module - Auxiliary X1

Pin

Wire

Circuit

Function

1

3.0 RD/WH

65

Blower Motor Supply Voltage

2

3.0 OG

5988

Low Reference

Blower Motor Control Module - Auxiliary X2


Object Number: 1798802  Size: CH

Connector Part Information

  • OEM: 15226104
  • Service: 88988512
  • Description: 6-Way F YESC Kaizen Series (BK)

Terminal Part Information

  • Terminal/Tray: 7114-4122-02/9
  • Core/Insulation Crimp: A/B
  • Release Tool/Test Probe: 12094430/J-35616-43 (RD)

Blower Motor Control Module - Auxiliary X2

Pin

Wire

Circuit

Function

1-2

--

--

Not Used

3

0.35 D-GN

2211

Auxiliary Blower Motor Speed Control

4

--

--

Not Used

5

3.0 BK

850

Ground

6

3.0 RD/WH

2640

Battery Positive Voltage

Blower Motor Control Module X1


Object Number: 1817814  Size: CH

Connector Part Information

  • OEM: 15226103
  • Service: 88988507
  • Description: 2-Way F Receptacle 6.3 Series (BK)

Terminal Part Information

  • Terminal/Tray: 12191812/19
  • Core/Insulation Crimp: See Terminal Repair Kit
  • Release Tool/Test Probe: 15315247/J-35616-2A (GY)

Blower Motor Control Module X1

Pin

Wire

Circuit

Function

1

3.0 PU

65

Blower Motor Supply Voltage

2

3.0 BK

5987

Low Reference

Blower Motor Control Module X2


Object Number: 1798802  Size: CH

Connector Part Information

  • OEM: 15226104
  • Service: 88988512
  • Description: 6-Way F YESC Kaizen Series (BK)

Terminal Part Information

  • Terminal/Tray: 7114-4122-02/9
  • Core/Insulation Crimp: A/B
  • Release Tool/Test Probe: 12094430/J-35616-43 (RD)

Blower Motor Control Module X2

Pin

Wire

Circuit

Function

1-2

--

--

Not Used

3

0.35 GY/BK

754

Blower Motor Speed Control

4

--

--

Not Used

5

3.0 BK

450

Ground

6

3.0 RD/BK

442

Battery Positive Voltage

Body Control Module (BCM) X1


Object Number: 1664495  Size: CH

Connector Part Information

  • OEM: 15482789
  • Service: See Catalog
  • Description: 27-Way F HIT Series (L-GN)

Terminal Part Information

  • Terminal/Tray: SNAC3-A021T-M0.64/20
  • Core/Insulation Crimp: J/J
  • Release Tool/Test Probe: 12094429/J-35616-64B (L-BU)

Body Control Module (BCM) X1

Pin

Wire

Circuit

Function

1

--

--

Not Used

2

0.35 WH

1390

Ignition II/III/Key in Ignition

3

0.35 GY

1884

Cruise Control Switch Signal

4

0.35 WH/BK

1073

Ignition Key Resistor Signal

5

0.35 L-GN

1715

Windshield Wiper Switch High Signal

6

0.35 D-BU

1796

Steering Wheel Controls Signal (UK3)

7

--

--

Not Used

8

0.35 TN/BK

6009

Low Reference

9

0.35 L-BU

1714

Windshield Wiper Switch Low Signal

10-12

--

--

Not Used

13

0.35 L-GN

1011

Remote Radio Control Signal (RCA)

14

0.35 PK

3

Ignition Voltage

15

0.35 L-BU/WH

1414

Left Turn Signal Switch Signal

16

0.35 D-BU/WH

1415

Right Turn Signal Switch Signal

17

0.35 PU

1375

12-Volt Reference

18

0.35 PU

524

Headlamp Dimmer Switch High Beam Signal

19

0.35 TN

2144

Hazard Switch Signal

20

0.35 PU

5526

Tap Up/Tap Down Switch Signal

21

0.35 BN

4

Ignition Voltage

22

--

--

Not Used

23

0.35 L-BU

553

Tow/Haul Switch Signal

24

0.35 PK

94

Windshield Washer Switch Signal

25

0.35 BN

1356

Flash To Pass Switch Signal

26-27

--

--

Not Used

Body Control Module (BCM) X2


Object Number: 1664496  Size: CH

Connector Part Information

  • OEM: 15482790
  • Service: See Catalog
  • Description: 25-Way F HIT Series (WH)

Terminal Part Information

  • Pins: 1, 2, 3, 5
  • Terminal/Tray: SNAC-A061T-M2.8/20
  • Core/Insulation Crimp: E/A
  • Release Tool/Test Probe: 12094429/J-35616-4A (PU)
  • Pins: 8, 11, 12, 17, 18, 20, 21, 22, 25
  • Terminal/Tray: SNAC3-A021T-M0.64/20
  • Core/Insulation Crimp: J/J
  • Release Tool/Test Probe: 12094429/J-35616-64B (L-BU)

Body Control Module (BCM) X2

Pin

Wire

Circuit

Function

1

0.8 OG

1732

Courtesy Lamps Supply Voltage

2

0.8 RD/WH

1240

Battery Positive Voltage

3

0.8 GY

8

Instrument Panel Lamp Supply Voltage

4

--

--

Not Used

5

0.8 GY/BK

690

Courtesy Lamp High Control

6-7

--

--

Not Used

8

0.35 BN/WH

301

Rear Park Lamps Supply Voltage

9-10

--

--

Not Used

11

0.35 L-GN/BK

1137

DRL Ambient Light Sensor Signal

12

0.35 WH

103

Headlamp Switch Headlamps On Signal

13-16

--

--

Not Used

17

0.35 D-GN

306

Headlamp Switch Headlamps Off Signal

18

0.35 PK/BK

1597

Courtesy Lamps Switch On Signal

19

--

--

Not Used

20

0.5 PU

5357

Right Tail Lamp Outage Detection Signal (Z88)

21

0.35 BN/WH

1571

Traction Control Switch Signal

22

0.35 D-GN/WH

1135

A/T Shift Lock Control Solenoid Supply Voltage

23-24

--

--

Not Used

25

0.35 PU

328

Interior Lamp Switch Signal

Body Control Module (BCM) X3


Object Number: 1664498  Size: CH

Connector Part Information

  • OEM: 15482791
  • Service: See Catalog
  • Description: 25-Way F HIT Series (L-BU)

Terminal Part Information

  • Pins: 1-3, 5
  • Terminal/Tray: SNAC-A061T-M2.8/20
  • Core/Insulation Crimp: E/A
  • Release Tool/Test Probe: 12094429/J-35616-4A (PU)
  • Pins: 8-19, 21, 22
  • Terminal/Tray: SNAC3-A021T-M0.64/20
  • Core/Insulation Crimp: J/J
  • Release Tool/Test Probe: 12094429/J-35616-64B (L-BU)

Body Control Module (BCM) X3

Pin

Wire

Circuit

Function

1

0.8 BK/WH

1551

Ground

2

0.8 RD/WH

1640

Battery Positive Voltage

3

0.8 RD/WH

4540

Battery Positive Voltage

4

--

--

Not Used

5

0.8 BK/WH

1551

Ground

6-7

--

--

Not Used

8

0.35 TN/BK

2500

High Speed GMLAN Serial Data Bus+

9

0.35 TN

2501

High Speed GMLAN Serial Data Bus-

10

0.35 D-GN

5060

Low Speed GMLAN Serial Data

11

0.35 D-GN

44

Instrument Panel Lamps Dimmer Switch Signal

12

0.35 OG/WH

812

12-Volt Reference

13

0.35 L-GN

526

Stop Lamp Switch Signal

14

0.35 TN

552

Low Reference

15

0.35 GY

598

5-Volt Reference

16

0.35 TN/BK

2500

High Speed GMLAN Serial Data Bus+

17

0.35 TN

2501

High Speed GMLAN Serial Data Bus-

18

0.35 PU/WH

1382

LED Dimming Signal

19

0.35 L-BU

5986

Communication Enable

20

--

--

Not Used

21

0.35 OG

192

Fog Lamps Enable (T96)

22

0.35 GN/WH

7158

Cruise Control Indicator Dimming Signal

23-25

--

--

Not Used

Body Control Module (BCM) X4


Object Number: 1664499  Size: CH

Connector Part Information

  • OEM: 15482792
  • Service: See Catalog
  • Description: 25-Way F HIT Series (BK)

Terminal Part Information

  • Pins: 7, 9-13, 15-17, 19, 21-23
  • Terminal/Tray: SNAC3-A021T-M0.64/20
  • Core/Insulation Crimp: J/J
  • Release Tool/Test Probe: 12094429/J-35616-64B (L-BU)
  • Pins: 1-5
  • Terminal/Tray: SNAC-A061T-M2.8/20
  • Core/Insulation Crimp: E/A
  • Release Tool/Test Probe: 12094429/J-35616-4A (PU)

Body Control Module (BCM) X4

Pin

Wire

Circuit

Function

1

0.8 RD/WH

340

Battery Positive Voltage (Z88 or W49)

1 RD/WH

340

Battery Positive Voltage (WDA)

2

1 RD/WH

240

Battery Positive Voltage

3

1 RD/WH

440

Battery Positive Voltage

4

0.8 RD/WH

2140

Battery Positive Voltage

5

1 D-BU/WH

1315

Right Turn Signal Indicator Lamp Supply Voltage

6

--

--

Not Used

7

0.35 YE

196

Windshield Wiper Motor Park Switch Signal

8

--

--

Not Used

9

0.35 BK

50

Ground

10

0.35 RD/WH

2440

Battery Positive Voltage

11

0.35 D-GN/WH

1317

Fog Lamp Relay Control (T96)

12

0.5 YE

5187

Right Trailer Turn Signal Lamp (V92 or Early Production)

13

0.5 OG

5186

Left Trailer Turn Signal Lamp (V92 or Early Production)

14

--

--

Not Used

15

0.35 OG

2268

Windshield Washer Relay Control

16

0.35 TN/WH

1969

Headlamp Relay Control (W49 or WDA or Z88 with TVD)

17

0.35 PK/BK

109

Hood Ajar Switch Signal (AP3 or AP8)

18

--

--

Not Used

19

0.35 D-BU

5985

Ignition Voltage

20

--

--

Not Used

21

0.35 PK

1439

Ignition Voltage

22

0.35 YE

5704

Liftgate Latch Relay Coil Control (E69)

23

0.35 PU

544

Headlamp Low Beam Supply Voltage (W49 or WDA or Z88 with TVD)

24-25

--

--

Not Used

Body Control Module (BCM) X5


Object Number: 1664500  Size: CH

Connector Part Information

  • OEM: 15480179
  • Service: See Catalog
  • Description: 25-Way F HIT Series (BN)

Terminal Part Information

  • Pins: 6, 8-11, 13-18, 20, 21, 23, 24
  • Terminal/Tray: SNAC3-A021T-M0.64/20
  • Core/Insulation Crimp: J/J
  • Release Tool/Test Probe: 12094429/J-35616-64B (L-BU)
  • Pins: 1-5
  • Terminal/Tray: SNAC-A061T-M2.8/20
  • Core/Insulation Crimp: E/A
  • Release Tool/Test Probe: 12094429/J-35616-4A (PU)

Body Control Module (BCM) X5

Pin

Wire

Circuit

Function

1

0.8 YE

18

Left Rear Stop/Turn Lamp Supply Voltage

2

0.8 D-GN

19

Right Rear Stop/Turn Lamp Supply Voltage

3

--

--

Not Used

4

0.8 L-BU/WH

1314

Left Turn Signal Indicator Lamp Supply Voltage

5

0.8 L-BU

1320

Stop Lamp Supply Voltage

6

0.5 WH

17

Stop Lamp Supply Voltage

7

--

--

Not Used

8

0.35 PK

5076

Current Sensor Supply Voltage

9

0.35 WH

5075

Current Sensor Signal

10

0.35 BN

5077

Low Reference

11

0.35 D-GN

5706

Liftgate Relay High Control (E69)

12

--

--

Not Used

13

0.35 OG

300

Power Mode

14

0.35 WH

2283

Rear Wiper/Washer Switch Supply Voltage

15

0.35 PU

5531

Hood Closed Switch Signal (AP3 or AP8)

16

0.5 OG/BK

233

Park Brake Switch Signal

17

0.5 YE/BK

5356

Left Tail Lamp Outage Detection Signal (Z88)

18

0.35 TN

28

Horn Relay Control

19

--

--

Not Used

20

0.35 GY

91

Windshield Wiper Switch Signal 2

21

0.35 TN

860

Front Windshield Wiper Switch High Signal

22

--

--

Not Used

23

0.35 PK/WH

1970

Headlamp Low Beam Relay Control (W49 or WDA or Z88 with TVD)

24

0.35 WH

1080

Park Lamp Relay Control

25

--

--

Not Used

Body Control Module (BCM) X6


Object Number: 1664502  Size: CH

Connector Part Information

  • OEM: 15482793
  • Service: See Catalog
  • Description: 25-Way F Receptacle 0.64 2.8 (PK)

Terminal Part Information

  • Pins: 1-3
  • Terminal/Tray: SNAC-A061T-M2.8/20
  • Core/Insulation Crimp: E/A
  • Release Tool/Test Probe: 12094429/J-35616-4A (PU)
  • Pins: 8-10, 12, 14-16, 18, 20-23
  • Terminal/Tray: SNAC3-A021T-M0.64/20
  • Core/Insulation Crimp: J/J
  • Release Tool/Test Probe: 12094429/J-35616-64B (L-BU)

Body Control Module (BCM) X6

Pin

Wire

Circuit

Function

1

0.8 GY/BK

690

Courtesy Lamp High Control (W49 Early Production)

2

0.8 L-GN

24

Backup Lamp Supply Voltage

3

0.8 GY

8

Instrument Panel Lamp Supply Voltage

4-7

--

--

Not Used

8

0.35 TN/WH

746

Right Front Door Ajar Switch Signal (without AXC or AXE)

9

0.35 D-BU

245

Passenger Door Lock Switch Unlock (without AXC or AXE)

10

0.35 GY/BK

745

Left Front Door Ajar Switch Signal (without AXC or AXE)

11

--

--

Not Used

12

0.35 PK/BK

1303

Liftgate Ajar Switch Signal (E69)

13

--

--

Not Used

14

0.35 L-GN/BK

748

Right Rear Door Ajar Switch Signal

15

0.35 L-BU/BK

747

Left Rear Door Ajar Switch Signal

16

0.35 D-BU/WH

1179

Left Rear Door Open Switch Signal

17

--

--

Not Used

18

0.35 L-BU

244

Passenger Door Lock Switch Lock (without AXC or AXE)

19

--

--

Not Used

20

0.5 L-GN

262

Driver Door Key Switch Signal (without AXC or AXE)

21

0.35 PU/WH

1382

LED Dimming Signal

22

0.35 L-GN

5926

Rear Access Open Switch Signal (E69)

23

0.35 GY

5797

Rear Closure Handle Switch Open Signal (E69)

24-25

--

--

Not Used

Body Control Module (BCM) X7


Object Number: 1664505  Size: CH

Connector Part Information

  • OEM: 15466053
  • Service: See Catalog
  • Description: 28-Way F HIT Series (GY)

Terminal Part Information

  • Terminal/Tray: SNAC3-A021T-M0.64/20
  • Core/Insulation Crimp: J/J
  • Release Tool/Test Probe: 12094429/J-35616-64B (L-BU)

Body Control Module (BCM) X7

Pin

Wire

Circuit

Function

1

--

--

Not Used

2

0.35 YE

43

Ignition Voltage

3

0.35 D-BU

38

Backup Lamp Relay Control (V92 Early Production)

4-5

--

--

Not Used

6

0.35 YE

356

Driver Door Lock Relay Unlock Control (without AXC or AXE)

7

0.35 L-GN

1391

Driver Door Unlock Relay Control

8

0.35 D-BU

545

DRL Supply Voltage (TVD with Z88)

9

0.35 L-BU

5921

Driver Door Unlock Relay Control

10

--

--

Not Used

11

0.35 OG/BK

781

Driver Door Lock Switch Unlock Signal (without AXC or AXE)

12

0.35 PK/BK

780

Driver Door Lock Switch Lock Signal (without AXC or AXE)

13-17

--

--

Not Used

18

0.35 L-GN

170

Power Window Master Switch Right Rear Up Signal (AXC or AXE)

19

0.35 PU

169

Power Window Master Switch Left Rear Down Signal (AXC or AXE)

20

--

--

Not Used

21

0.35 D-BU

1307

Power Window Master Switch Lockout Signal (AXC or AXE)

22

--

--

Not Used

23

0.35 TN

126

Left Front Door Open Switch Signal (without AXC or AXE)

24

--

--

Not Used

25

0.35 PU/WH

6816

Heated Seat Indicator Dimming (KA1 without A45)

26

0.35 PU

171

Power Window Master Switch Right Rear Down Signal (AXC or AXE)

27

0.35 L-BU/WH

280

Power Window Master Switch Lockout Right Rear Signal (AXC or AXE)

28

0.35 D-GN

168

Power Window Master Switch Left Rear Up Signal (AXC or AXE)

Brake Booster Vacuum Sensor


Object Number: 1856791  Size: CH

Connector Part Information

  • OEM: 7283569110
  • Service: See Catalog
  • Description: 3-Way F 1.5 Sealed (D-GY)

Terminal Part Information

  • Terminal/Tray: 7116-4102-08/9
  • Core/Insulation Crimp: E/1
  • Release Tool/Test Probe: 12094430/J-35616-2A (GY)

Brake Booster Vacuum Sensor

Pin

Wire

Circuit

Function

1

0.5 OG

6030

Brake Vacuum Sensor Signal

2

0.5 YE/BK

6032

Low Reference

3

0.5 GY

6031

5-Volt Reference

Brake Fluid Level Switch


Object Number: 655692  Size: CH

Connector Part Information

  • OEM: 12162193
  • Service: 88987993
  • Description: 2-Way F Metri-Pack 150.2 Series, Sealed, Pull To Seat (BK)

Terminal Part Information

  • Terminal/Tray: 12124075/5
  • Core/Insulation Crimp: E/C
  • Release Tool/Test Probe: 12180559-1/J-35616-14 (GN)

Brake Fluid Level Switch

Pin

Wire

Circuit

Function

A

0.35 BK/WH

1551

Ground

B

0.35 TN/WH

33

Brake Warning Indicator Control

Brake Pedal Position Sensor


Object Number: 1243663  Size: CH

Connector Part Information

  • OEM: 15332132
  • Service: 88953364
  • Description: 3-Way F GT 150 Series (BK)

Terminal Part Information

  • Terminal/Tray: 12191812/19
  • Core/Insulation Crimp: E/C
  • Release Tool/Test Probe: 15315247/J-35616-2A (GY)

Brake Pedal Position Sensor

Pin

Wire

Circuit

Function

A

0.35 GY

598

5-Volt Reference

B

0.35 L-GN

526

Stop Lamp Switch Signal

C

0.35 TN

552

Low Reference

Camshaft Position (CMP) Actuator Solenoid - Exhaust Bank 1 (LY7)


Object Number: 1331453  Size: CH

Connector Part Information

  • OEM: 7283-7526-30
  • Service: See Catalog
  • Description: 2-Way F Sealed (BK)

Terminal Part Information

  • Terminal/Tray: 7116-4025/11
  • Core/Insulation Crimp: E/1
  • Release Tool/Test Probe: 15313892/J-35616-18 (BK)

Camshaft Position (CMP) Actuator Solenoid - Exhaust Bank 1 (LY7)

Pin

Wire

Circuit

Function

1

0.5 WH/BK

6396

Cam Phaser #3 Control

2

0.5 BN/WH

6754

Low Reference

Camshaft Position (CMP) Actuator Solenoid - Exhaust Bank 2 (LY7)


Object Number: 1331453  Size: CH

Connector Part Information

  • OEM: 7283-7526-30
  • Service: See Catalog
  • Description: 2-Way F Sealed (BK)

Terminal Part Information

  • Terminal/Tray: 7116-4025/11
  • Core/Insulation Crimp: E/1
  • Release Tool/Test Probe: 15313892/J-35616-18 (BK)

Camshaft Position (CMP) Actuator Solenoid - Exhaust Bank 2 (LY7)

Pin

Wire

Circuit

Function

1

0.5 GY/BK

6394

Cam Phaser Control

2

0.5 D-BU/WH

6756

Low Reference

Camshaft Position (CMP) Actuator Solenoid - Intake Bank 1 (LY7)


Object Number: 1331453  Size: CH

Connector Part Information

  • OEM: 7283-7526-30
  • Service: See Catalog
  • Description: 2-Way F Sealed (BK)

Terminal Part Information

  • Terminal/Tray: 7116-4025/11
  • Core/Insulation Crimp: E/1
  • Release Tool/Test Probe: 15313892/J-35616-18 (BK)

Camshaft Position (CMP) Actuator Solenoid - Intake Bank 1 (LY7)

Pin

Wire

Circuit

Function

1

0.5 PK/BK

6395

Cam Phaser #2 Control

2

0.5 BN

6753

Low Reference

Camshaft Position (CMP) Actuator Solenoid - Intake Bank 2 (LY7)


Object Number: 1331453  Size: CH

Connector Part Information

  • OEM: 7283-7526-30
  • Service: See Catalog
  • Description: 2-Way F Sealed (BK)

Terminal Part Information

  • Terminal/Tray: 7116-4025/11
  • Core/Insulation Crimp: E/1
  • Release Tool/Test Probe: 15313892/J-35616-18 (BK)

Camshaft Position (CMP) Actuator Solenoid - Intake Bank 2 (LY7)

Pin

Wire

Circuit

Function

1

0.5 TN/BK

6397

Cam Phaser #4 Control

2

0.5 D-BU

6755

Low Reference

Camshaft Position (CMP) Sensor - Exhaust Bank 1 (LY7)


Object Number: 1331443  Size: CH

Connector Part Information

  • OEM: 1928403968
  • Service: 88988595
  • Description: 3-Way F Kompakt 2.8 Series, Sealed (BK)

Terminal Part Information

  • Terminal/Tray: 1928498056/8
  • Core/Insulation Crimp: E/1
  • Release Tool/Test Probe: J-38125-561/J-35616-35 (VT)

Camshaft Position (CMP) Sensor - Exhaust Bank 1 (LY7)

Pin

Wire

Circuit

Function

1

0.5 PU

6267

Camshaft CAM X Ground

2

0.5 D-GN/WH

6264

Camshaft CAM X Signal

3

0.5 D-GN

6457

5-Volt Reference

Camshaft Position (CMP) Sensor - Exhaust Bank 2 (LY7)


Object Number: 1331443  Size: CH

Connector Part Information

  • OEM: 1928403968
  • Service: 88988595
  • Description: 3-Way F Kompakt 2.8 Series, Sealed (BK)

Terminal Part Information

  • Terminal/Tray: 1928498056/8
  • Core/Insulation Crimp: E/1
  • Release Tool/Test Probe: J-38125-561/J-35616-35 (VT)

Camshaft Position (CMP) Sensor - Exhaust Bank 2 (LY7)

Pin

Wire

Circuit

Function

1

0.5 WH

6269

Camshaft CAM Z Ground

2

0.5 PK/BK

6262

Camshaft CAM Z Signal

3

0.5 PK

6261

5-Volt Reference

Camshaft Position (CMP) Sensor - Intake Bank 1 (LY7)


Object Number: 1331443  Size: CH

Connector Part Information

  • OEM: 1928403968
  • Service: 88988595
  • Description: 3-Way F Kompakt 2.8 Series, Sealed (BK)

Terminal Part Information

  • Terminal/Tray: 1928498056/8
  • Core/Insulation Crimp: E/1
  • Release Tool/Test Probe: J-38125-561/J-35616-35 (VT)

Camshaft Position (CMP) Sensor - Intake Bank 1 (LY7)

Pin

Wire

Circuit

Function

1

0.5 BN

6266

Camshaft CAM W Ground

2

0.5 D-BU/WH

6265

Camshaft CAM W Signal

3

0.5 D-BU

6259

5-Volt Reference

Camshaft Position (CMP) Sensor - Intake Bank 2 (LY7)


Object Number: 1331443  Size: CH

Connector Part Information

  • OEM: 1928403968
  • Service: 88988595
  • Description: 3-Way F Kompakt 2.8 Series, Sealed (BK)

Terminal Part Information

  • Terminal/Tray: 1928498056/8
  • Core/Insulation Crimp: E/1
  • Release Tool/Test Probe: J-38125-561/J-35616-35 (VT)

Camshaft Position (CMP) Sensor - Intake Bank 2 (LY7)

Pin

Wire

Circuit

Function

1

0.5 TN

6268

Camshaft CAM Y Ground

2

0.5 OG/BK

6263

Camshaft CAM Y Signal

3

0.5 OG

6260

5-Volt Reference

Cargo Lamp


Object Number: 333035  Size: CH

Connector Part Information

  • OEM: 12047781
  • Service: 12101864
  • Description: 3-Way F Metri-Pack 150 Series (BK)

Terminal Part Information

  • Terminal/Tray: 12064971/5
  • Core/Insulation Crimp: E/C
  • Release Tool/Test Probe: 12094429/J-35616-14 (GN)

Cargo Lamp

Pin

Wire

Circuit

Function

A

0.5 OG

1732

Courtesy Lamps Supply Voltage

B

0.5 BK

850

Ground

C

0.5 GY/BK

690

Courtesy Lamp High Control

Cellular Telephone Microphone (UE1)


Object Number: 35441  Size: CH

Connector Part Information

  • OEM: 12047663
  • Service: 12085481
  • Description: 2-Way M Metri-Pack 150 Series (BK)

Terminal Part Information

  • Terminal/Tray: 12047581/2
  • Core/Insulation Crimp: E/C
  • Release Tool/Test Probe: 12094429/J-35616-3 (GY)

Cellular Telephone Microphone (UE1)

Pin

Wire

Circuit

Function

A

0.35 BARE

514

Ground

B

0.35 GY

655

Cellular Microphone Signal

Center High Mounted Stop Lamp (CHMSL) (W49)


Object Number: 1413080  Size: CH

Connector Part Information

  • OEM: 13575577
  • Service: See Catalog
  • Description: 2-Way F 090 Series (L-GY)

Terminal Part Information

  • Terminal/Tray: 7116-1420/11
  • Core/Insulation Crimp: E/1
  • Release Tool/Test Probe: 15315247/J-35616-18 (BK)

Center High Mounted Stop Lamp (CHMSL) (W49)

Pin

Wire

Circuit

Function

1

0.5 BK

650

Ground

2

0.5 L-BU

1320

Stop Lamp Supply Voltage

Center High Mounted Stop Lamp (CHMSL) (without W49)


Object Number: 1413080  Size: CH

Connector Part Information

  • OEM: 7223-1324
  • Service: 88988460
  • Description: 2-Way F 090 Series (BK)

Terminal Part Information

  • Terminal/Tray: 7116-1420/11
  • Core/Insulation Crimp: E/1
  • Release Tool/Test Probe: 15315247/J-35616-18 (BK)

Center High Mounted Stop Lamp (CHMSL) (without W49)

Pin

Wire

Circuit

Function

1

0.5 BK

650

Ground

2

0.5 L-BU

1320

Stop Lamp Supply Voltage

Clock (W49)


Object Number: 1715243  Size: CH

Connector Part Information

  • OEM: 15368694
  • Service: 88953272
  • Description: 3-Way F Multilock 070 Series (WH)

Terminal Part Information

  • Terminal/Tray: 173630-7/7
  • Core/Insulation Crimp: E/4
  • Release Tool/Test Probe: 15315247/J-35616-33 (YE)

Clock (W49)

Pin

Wire

Circuit

Function

1

0.35 RD/WH

1840

Battery Positive Voltage

2

0.35 BK

1450

Ground

3

0.35 PU/WH

1382

LED Dimming Signal

Console Flood Lamp


Object Number: 35441  Size: CH

Connector Part Information

  • OEM: 12047663
  • Service: 12085481
  • Description: 2-Way M Metri-Pack 150 Series (BK)

Terminal Part Information

  • Terminal/Tray: 12047581/2
  • Core/Insulation Crimp: E/C
  • Release Tool/Test Probe: 12094429/J-35616-3 (GY)

Console Flood Lamp

Pin

Wire

Circuit

Function

A

0.35 BK

850

Ground

B

0.35 PU/WH

1382

LED Dimming Signal

Courtesy/Reading Lamps - 2nd Row (without U42)


Object Number: 333035  Size: CH

Connector Part Information

  • OEM: 12047781
  • Service: 12101864
  • Description: 3-Way F Metri-Pack 150 Series (BK)

Terminal Part Information

  • Terminal/Tray: 12064971/5
  • Core/Insulation Crimp: E/C
  • Release Tool/Test Probe: 12094429/J-35616-14 (GN)

Courtesy/Reading Lamps - 2nd Row (without U42)

Pin

Wire

Circuit

Function

A

0.5 OG

1732

Courtesy Lamps Supply Voltage

B

0.5 BK

850

Ground

C

0.5 GY/BK

690

Courtesy Lamp High Control

Courtesy/Reading Lamps - 2nd Row X1 (C3U with U42)


Object Number: 333035  Size: CH

Connector Part Information

  • OEM: 12047781
  • Service: 12101864
  • Description: 3-Way F Metri-Pack 150 Series (BK)

Terminal Part Information

  • Terminal/Tray: 12064971/5
  • Core/Insulation Crimp: E/C
  • Release Tool/Test Probe: 12094429/J-35616-14 (GN)

Courtesy/Reading Lamps - 2nd Row X1 (C3U with U42)

Pin

Wire

Circuit

Function

A

0.5 OG

1732

Courtesy Lamps Supply Voltage

B

0.5 BK

850

Ground

C

0.5 GY/BK

690

Courtesy Lamp High Control

Courtesy/Reading Lamps - 2nd Row X2 (C3U with U42)


Object Number: 333035  Size: CH

Connector Part Information

  • OEM: 12047781
  • Service: 12101864
  • Description: 3-Way F Metri-Pack 150 Series (BK)

Terminal Part Information

  • Terminal/Tray: 12064971/5
  • Core/Insulation Crimp: E/C
  • Release Tool/Test Probe: 12094429/J-35616-14 (GN)

Courtesy/Reading Lamps - 2nd Row X2 (C3U with U42)

Pin

Wire

Circuit

Function

A

0.5 OG

1732

Courtesy Lamps Supply Voltage

B

0.5 BK

850

Ground

C

0.5 GY/BK

690

Courtesy Lamp High Control

Crankshaft Position (CKP) Sensor (LY7)


Object Number: 1664596  Size: CH

Connector Part Information

  • OEM: 31403-3710
  • Service: 88988337
  • Description: 3-Way F MX64 Series, Sealed (BK)

Terminal Part Information

  • Terminal/Tray: 33467-0005/23
  • Core/Insulation Crimp: J/J
  • Release Tool/Test Probe: J-38125-213/J-35616-64B (L-BU)

Crankshaft Position (CKP) Sensor (LY7)

Pin

Wire

Circuit

Function

1

0.5 GY/BK

6272

Low Reference

2

0.5 WH/BK

6271

Crankshaft 60X Sensor Signal

3

0.5 PU/WH

6270

5-Volt Reference

Data Link Connector (DLC)


Object Number: 68793  Size: CH

Connector Part Information

  • OEM: 12110250
  • Service: See Catalog
  • Description: 16-Way F Metri-Pack 150 Series (BK)

Terminal Part Information

  • Terminal/Tray: 12129484/19
  • Core/Insulation Crimp: E/C
  • Release Tool/Test Probe: 12094429/J-35616-14 (GN)

Data Link Connector (DLC)

Pin

Wire

Circuit

Function

1

0.35 D-GN

5060

Low Speed GMLAN Serial Data

2-3

--

--

Not Used

4

0.5 BK

750

Ground

5

0.35 BK/WH

1551

Ground

6

0.35 TN/BK

2500

High Speed GMLAN Serial Data Bus+

7-13

--

--

Not Used

14

0.35 TN

2501

High Speed GMLAN Serial Data Bus-

15

--

--

Not Used

16

0.35 RD/WH

1840

Battery Positive Voltage

Data Link Resistor (without MH6)


Object Number: 523630  Size: CH

Connector Part Information

  • OEM: 15326801
  • Service: 15306156
  • Description: 2-Way F GT 150 Series (BK)

Terminal Part Information

  • Terminal/Tray: 15326427/5
  • Core/Insulation Crimp: E/A
  • Release Tool/Test Probe: 15315247/J-35616-2A (GY)

Data Link Resistor (without MH6)

Pin

Wire

Circuit

Function

A

0.35 TN/BK

2500

High Speed GMLAN Serial Data Bus+

B

0.35 TN

2501

High Speed GMLAN Serial Data Bus-

Daytime Running Lamp (DRL) - Left (W49 or Z88 with T61)


Object Number: 1906264  Size: CH

Connector Part Information

  • OEM: 7900-1486-004
  • Service: See Catalog
  • Description: 3-Way F Lamp Socket Sealed (BK)

Terminal Part Information

  • Terminal/Tray: See Terminal Repair Kit
  • Core/Insulation Crimp: See Terminal Repair Kit
  • Release Tool/Test Probe: See Terminal Repair Kit

Daytime Running Lamp (DRL) - Left (W49 or Z88 with T61)

Pin

Wire

Circuit

Function

1

0.8 OG

--

Left DRL/Turn Supply Voltage (Z88)

0.8 L-BU/WH

--

Left DRL/Turn Supply Voltage (W49)

2

--

--

Not Used

3

0.8 BK

--

Ground

Daytime Running Lamp (DRL) - Left (WDA with T61)


Object Number: 1869767  Size: CH

Connector Part Information

  • OEM: 1-967644-1
  • Service: See Catalog
  • Description: 2-Way F TYCO Sealed (BK)

Terminal Part Information

  • Terminal/Tray: See Terminal Repair Kit
  • Core/Insulation Crimp: See Terminal Repair Kit
  • Release Tool/Test Probe: See Terminal Repair Kit

Daytime Running Lamp (DRL) - Left (WDA with T61)

Pin

Wire

Circuit

Function

1

0.5 BK

--

Ground

2

0.5 PU

--

Left DRL/Turn Supply Voltage

Daytime Running Lamp (DRL) - Right (W49 or Z88 with T61)


Object Number: 1906264  Size: CH

Connector Part Information

  • OEM: 7900-1486-004
  • Service: See Catalog
  • Description: 3-Way F Lamp Socket Sealed (BK)

Terminal Part Information

  • Terminal/Tray: See Terminal Repair Kit
  • Core/Insulation Crimp: See Terminal Repair Kit
  • Release Tool/Test Probe: See Terminal Repair Kit

Daytime Running Lamp (DRL) - Right (W49 or Z88 with T61)

Pin

Wire

Circuit

Function

1

0.8 OG

--

Right DRL/Turn Supply Voltage (Z88)

0.8 L-BU/WH

--

Right DRL/Turn Supply Voltage (W49)

2

--

--

Not Used

3

0.8 BK

--

Ground

Daytime Running Lamp (DRL) - Right (WDA with T61)


Object Number: 1869767  Size: CH

Connector Part Information

  • OEM: 1-967644-1
  • Service: See Catalog
  • Description: 2-Way F TYCO Sealed (BK)

Terminal Part Information

  • Terminal/Tray: See Terminal Repair Kit
  • Core/Insulation Crimp: See Terminal Repair Kit
  • Release Tool/Test Probe: See Terminal Repair Kit

Daytime Running Lamp (DRL) - Right (WDA with T61)

Pin

Wire

Circuit

Function

1

0.5 BK

--

Ground

2

0.5 PU

--

Right DRL/Turn Supply Voltage

Digital Radio Receiver (U2K)


Object Number: 850856  Size: CH

Connector Part Information

  • OEM: 15394150
  • Service: See Catalog
  • Description: 16-Way F Micro-Pack 064 Series (BK)

Terminal Part Information

  • Terminal/Tray: 15359541/4
  • Core/Insulation Crimp: M/M
  • Release Tool/Test Probe: 15381651-2/J-35616-64B (L-BU)

Digital Radio Receiver (U2K)

Pin

Wire

Circuit

Function

1

0.5 TN/WH

372

Left Audio Signal (-)

2

0.5 BN/WH

367

Left Audio Signal (+)

3

0.5 D-GN/WH

368

Right Audio Signal (+)

4

0.5 GY

388

Right Audio Signal (-)

5

0.35 D-GN

5060

Low Speed GMLAN Serial Data

6-8

--

--

Not Used

9

0.5 BK/WH

351

Ground

10-15

--

--

Not Used

16

0.5 RD/WH

2340

Battery Positive Voltage

Digital Video Disc (DVD) Display (U42)


Object Number: 1711011  Size: CH

Connector Part Information

  • OEM: 15490628
  • Service: 89047355
  • Description: 10-Way F Kaizen 0.64 Series (BK)

Terminal Part Information

  • Terminal/Tray: 7116-4618-02/14
  • Core/Insulation Crimp: P/P
  • Release Tool/Test Probe: J-38125-215/J-35616-64B (L-BU)

Digital Video Disc (DVD) Display (U42)

Pin

Wire

Circuit

Function

1

0.35 D-GN

6975

DVD Video Signal (+)

2

0.35 WH/BK

5335

DVD Video Signal (-)

3-5

--

--

Not Used

6

0.5 BK/WH

351

Ground

7

0.5 RD/WH

2340

Battery Positive Voltage

8

0.35 WH

7066

Entertainment Remote Enable Signal

9

0.35 PK/BK

5844

Video Bright Control

10

0.35 L-GN/BK

5845

Video Mode Signal

Door Control Module - Passenger X1 (AXC or AXE)


Object Number: 1664521  Size: CH

Connector Part Information

  • OEM: 6098-4607
  • Service: 88988497
  • Description: 6-Way F 2.8mm PBT (BK)

Terminal Part Information

  • Pins: 1-3, 5
  • Terminal/Tray: 8100-4445/22
  • Core/Insulation Crimp: 4/4
  • Release Tool/Test Probe: 15315247/J-35616-35 (VT)
  • Pins: 4
  • Terminal/Tray: 8100-4444/22
  • Core/Insulation Crimp: 2/A
  • Release Tool/Test Probe: 15315247/J-35616-35 (VT)

Door Control Module - Passenger X1 (AXC or AXE)

Pin

Wire

Circuit

Function

1

2 BN

667

Power Window Motor Right Front Down Control (AXE)

2

2 RD/WH

3340

Battery Positive Voltage (AXE)

3

2 D-BU

666

Power Window Motor Right Front Up Control (AXE)

4

0.8 RD/WH

840

Battery Positive Voltage (AXC or AXE)

5

2 BK

750

Ground (AXC or AXE)

6

--

--

Not Used

Door Control Module - Passenger X2 (AXC or AXE)


Object Number: 1664488  Size: CH

Connector Part Information

  • OEM: 7283-9078-80
  • Service: See Catalog
  • Description: 16-Way F Kaizen 0.64 Series (BN)

Terminal Part Information

  • Terminal/Tray: 7116-4618-02/14
  • Core/Insulation Crimp: P/P
  • Release Tool/Test Probe: J-38125-215/J-35616-64B (L-BU)

Door Control Module - Passenger X2 (AXC or AXE)

Pin

Wire

Circuit

Function

1-2

--

--

Not Used

3

0.35 D-BU

6133

Linear Interconnect Network Bus (AXC)

4

--

--

Not Used

5

0.5 YE

5943

Low Reference

6-8

--

--

Not Used

9

0.35 D-GN

5060

Low Speed GMLAN Serial Data

10

--

--

Not Used

11

0.5 L-GN

1177

Door Open Switch Signal

12

--

--

Not Used

13

0.5 TN/WH

746

Right Front Door Ajar Switch Signal

14-16

--

--

Not Used

Door Control Module - Passenger X3 (AXC or AXE)


Object Number: 1664581  Size: CH

Connector Part Information

  • OEM: 7283-9040-30
  • Service: See Catalog
  • Description: 10-Way F YESC Kaizen Series (BK)

Terminal Part Information

  • Terminal/Tray: 7116-4618-02/14
  • Core/Insulation Crimp: P/P
  • Release Tool/Test Probe: J-38125-215/J-35616-64B (L-BU)

Door Control Module - Passenger X3 (AXC or AXE)

Pin

Wire

Circuit

Function

1

0.35 OG/BK

6162

Outside Right Mirror Right Front Up Control (A45 with DNP or DS3)

2

0.35 GY/BK

6161

Outside Right Mirror Horizontal Position Control (A45 with DNP or DS3)

3

0.5 D-GN

628

Low Reference (A45 with DNP or DS3)

4-5

--

--

Not Used

6

0.35 WH

7196

Outside Right Mirror Drive Motor Common (A45 with DNP or DS3)

7

0.5 OG

2267

Mirror Heating Element Supply Voltage (A45 with DNP or DS3)

8

0.35 PK/BK

5862

Low Reference (UFT)

9-10

--

--

Not Used

Door Control Module - Passenger X4 (AXC or AXE)


Object Number: 1664522  Size: CH

Connector Part Information

  • OEM: 7283-9065-40
  • Service: See Catalog
  • Description: 14-Way F Kaizen 0.64 Series (L-GY)

Terminal Part Information

  • Terminal/Tray: 7116-4618-02/14
  • Core/Insulation Crimp: P/P
  • Release Tool/Test Probe: J-38125-215/J-35616-64B (L-BU)

Door Control Module - Passenger X4 (AXC or AXE)

Pin

Wire

Circuit

Function

1

0.35 WH/BK

6185

Passenger Heated Seat Medium Indicator Control (A45 with KA1)

2

0.35 YE

1685

Passenger Heated Seat High Temperature Indicator Control (A45 with KA1)

3-5

--

--

Not Used

6

0.35 D-BU

6180

Low Reference (A45 with KA1)

7

0.35 GY

6182

Low Reference (A45 with KA1)

8

--

--

Not Used

9

0.35 TN

1686

Passenger Heated Seat Low Temperature Indicator Control (A45 with KA1)

10

0.35 BN

6179

5-Volt Reference (A45 with KA1)

11

0.35 PU

6181

5-Volt Reference (A45 with KA1)

12-14

--

--

Not Used

Door Control Module - Passenger X7 (AXC or AXE)


Object Number: 1664543  Size: CH

Connector Part Information

  • OEM: 7283-9045
  • Service: See Catalog
  • Description: 10-Way F 064 Series Unsealed (WH)

Terminal Part Information

  • Terminal/Tray: 7116-4618-02/14
  • Core/Insulation Crimp: P/P
  • Release Tool/Test Probe: J-38125-215/J-35616-64B (L-BU)

Door Control Module - Passenger X7 (AXC or AXE)

Pin

Wire

Circuit

Function

1

0.35 YE

6804

Driver Mirror Motor Down Control (DNP)

2

0.35 L-BU

6805

Right Extend Motor Retract/Unfold Control (DNP)

3

--

--

Not Used

4

0.35 BN

787

Passenger Mirror Vertical Position Sensor Signal (A45 with DNP or DS3)

5

0.35 L-BU/BK

785

Passenger Mirror Horizontal Position Sensor Signal (A45 with DNP or DS3)

6

--

--

Not Used

7

0.35 YE

674

5-Volt Reference (A45 with DNP or DS3)

8

0.35 PK

5861

Passenger Side Object Detection LED Signal (UFT)

9

--

--

Not Used

10

0.35 L-GN

675

Low Reference (A45 with DNP or DS3)

Door Latch - Driver


Object Number: 845631  Size: CH

Connector Part Information

  • OEM: 6-1355688-1
  • Service: See Catalog
  • Description: 10-Way F 1.2 Micro III Timer (BK)

Terminal Part Information

  • Terminal/Tray: 4-969005-1/16
  • Core/Insulation Crimp: E/1
  • Release Tool/Test Probe: J-38125-560/J-35616-33 (YE)

Door Latch - Driver

Pin

Wire

Circuit

Function

1

--

--

Not Used

2

0.8 TN

694

Driver Door Lock Actuator Unlock Control (without AXC or AXE)

0.5 TN

694

Driver Door Lock Actuator Unlock Control (AXC or AXE)

3

0.8 GY

295

Door Lock Actuator Lock Control (without AXC or AXE)

0.5 GY

295

Door Lock Actuator Lock Control (AXC or AXE)

4-5

--

--

Not Used

6

0.5 GY/BK

745

Left Front Door Ajar Switch Signal

7

0.5 TN

126

Left Front Door Open Switch Signal

8

0.5 YE

5942

Low Reference (AXC or AXE)

0.35 BK

550

Ground (without AXC or AXE)

9

0.5 L-GN

262

Driver Door Key Switch Signal

10

--

--

Not Used

Door Latch - Left Rear


Object Number: 812596  Size: CH

Connector Part Information

  • OEM: 6-1355683-1
  • Service: 88986251
  • Description: 6-Way F Sealed Series (BK)

Terminal Part Information

  • Pins: 2-6
  • Terminal/Tray: 4-969005-1/16
  • Core/Insulation Crimp: E/1
  • Release Tool/Test Probe: J-38125-560/J-35616-33 (YE)

Door Latch - Left Rear

Pin

Wire

Circuit

Function

1

--

--

Not Used

2

0.8 TN

294

Door Lock Actuator Unlock Control

3

0.8 GY

295

Door Lock Actuator Lock Control

4

0.5 L-BU/BK

747

Left Rear Door Ajar Switch Signal

5

0.5 D-BU/WH

1179

Left Rear Door Open Switch Signal

6

0.5 BK

550

Ground

Door Latch - Passenger


Object Number: 812596  Size: CH

Connector Part Information

  • OEM: 6-1355683-1
  • Service: 88986251
  • Description: 6-Way F Sealed Series (BK)

Terminal Part Information

  • Terminal/Tray: 4-969005-1/16
  • Core/Insulation Crimp: E/1
  • Release Tool/Test Probe: J-38125-560/J-35616-33 (YE)

Door Latch - Passenger

Pin

Wire

Circuit

Function

1

0.5 TN/WH

746

Right Front Door Ajar Switch Signal

2

0.35 D-BU/WH

1179

Left Rear Door Open Switch Signal (without AXC or AXE)

0.5 L-GN

1177

Door Open Switch Signal (AXC or AXE)

3

0.5 YE

5943

Low Reference (AXC or AXE)

0.35 BK

750

Ground (without AXC or AXE)

4

--

--

Not Used

5

0.5 TN

294

Door Lock Actuator Unlock Control (AXC or AXE)

0.8 TN

294

Door Lock Actuator Unlock Control (without AXC or AXE)

6

0.8 GY

295

Door Lock Actuator Lock Control (without AXC or AXE)

0.5 GY

295

Door Lock Actuator Lock Control (AXC or AXE)

Door Latch - Right Rear


Object Number: 812596  Size: CH

Connector Part Information

  • OEM: 6-1355683-1
  • Service: 88986251
  • Description: 6-Way F Sealed Series (BK)

Terminal Part Information

  • Pins: 1-3, 5, 6
  • Terminal/Tray: 964274-2/16
  • Core/Insulation Crimp: E/1
  • Release Tool/Test Probe: J-38125-560/J-35616-33 (YE)

Door Latch - Right Rear

Pin

Wire

Circuit

Function

1

0.5 L-GN/BK

748

Right Rear Door Ajar Switch Signal

2

0.5 D-BU/WH

1179

Left Rear Door Open Switch Signal

3

0.5 BK

750

Ground

4

--

--

Not Used

5

0.8 TN

294

Door Lock Actuator Unlock Control

6

0.8 GY

295

Door Lock Actuator Lock Control

Door Lock Switch - Driver (without AXC or AXE)


Object Number: 130714  Size: CH

Connector Part Information

  • OEM: 12124997
  • Service: 12167130
  • Description: 5-Way F Metri-Pack 150 Series, Unsealed (BK)

Terminal Part Information

  • Terminal/Tray: 12103359/18
  • Core/Insulation Crimp: E/C
  • Release Tool/Test Probe: 12094429/J-35616-14 (GN)

Door Lock Switch - Driver (without AXC or AXE)

Pin

Wire

Circuit

Function

A

0.35 GY

8

Instrument Panel Lamp Supply Voltage

B

0.35 BK

550

Ground

C

--

--

Not Used

D

0.5 OG/BK

781

Driver Door Lock Switch Unlock Signal (WDA)

0.5 PK/BK

780

Driver Door Lock Switch Lock Signal (Z88)

E

0.5 PK/BK

780

Driver Door Lock Switch Lock Signal (WDA)

0.5 OG/BK

781

Driver Door Lock Switch Unlock Signal (Z88)

Door Lock Switch - Passenger (without AXC or AXE)


Object Number: 130714  Size: CH

Connector Part Information

  • OEM: 12124997
  • Service: 12167130
  • Description: 5-Way F Metri-Pack 150 Series, Unsealed (BK)

Terminal Part Information

  • Terminal/Tray: 12103359/18
  • Core/Insulation Crimp: E/C
  • Release Tool/Test Probe: 12094429/J-35616-14 (GN)

Door Lock Switch - Passenger (without AXC or AXE)

Pin

Wire

Circuit

Function

A

0.35 GY

8

Instrument Panel Lamp Supply Voltage

B

0.35 BK

750

Ground

C

--

--

Not Used

D

0.5 D-BU

245

Passenger Door Lock Switch Unlock

E

0.5 L-BU

244

Passenger Door Lock Switch Lock

Driver Door Module (DDM) X1 (AXC or AXE)


Object Number: 1664521  Size: CH

Connector Part Information

  • OEM: 6098-4607
  • Service: 88988497
  • Description: 6-Way F 2.8mm PBT (BK)

Terminal Part Information

  • Pins: 4
  • Terminal/Tray: 8100-4444/22
  • Core/Insulation Crimp: 2/A
  • Release Tool/Test Probe: 15315247/J-35616-35 (VT)
  • Pins: 5
  • Terminal/Tray: 8100-4445/22
  • Core/Insulation Crimp: 4/4
  • Release Tool/Test Probe: 15315247/J-35616-35 (VT)

Driver Door Module (DDM) X1 (AXC or AXE)

Pin

Wire

Circuit

Function

1-3

--

--

Not Used

4

1 RD/WH

3240

Battery Positive Voltage

5

2 BK

550

Ground

6

--

--

Not Used

Driver Door Module (DDM) X2 (AXC or AXE)


Object Number: 1664488  Size: CH

Connector Part Information

  • OEM: 7283-9078-80
  • Service: See Catalog
  • Description: 16-Way F Kaizen 0.64 Series (BN)

Terminal Part Information

  • Terminal/Tray: 7116-4618-02/14
  • Core/Insulation Crimp: P/P
  • Release Tool/Test Probe: J-38125-215/J-35616-64B (L-BU)

Driver Door Module (DDM) X2 (AXC or AXE)

Pin

Wire

Circuit

Function

1-2

--

--

Not Used

3

0.35 BN

6132

Linear Interconnect Network Bus

4

0.5 L-GN

262

Driver Door Key Switch Signal

5

0.5 YE

5942

Low Reference

6-8

--

--

Not Used

9

0.35 D-GN

5060

Low Speed GMLAN Serial Data

10

--

--

Not Used

11

0.5 TN

126

Left Front Door Open Switch Signal

12

--

--

Not Used

13

0.5 GY/BK

745

Left Front Door Ajar Switch Signal

14-16

--

--

Not Used

Driver Door Module (DDM) X3 (AXC or AXE)


Object Number: 1664581  Size: CH

Connector Part Information

  • OEM: 7283-9040-30
  • Service: See Catalog
  • Description: 10-Way F YESC Kaizen Series (BK)

Terminal Part Information

  • Terminal/Tray: 7116-4618-02/14
  • Core/Insulation Crimp: P/P
  • Release Tool/Test Probe: J-38125-215/J-35616-64B (L-BU)

Driver Door Module (DDM) X3 (AXC or AXE)

Pin

Wire

Circuit

Function

1

0.35 D-BU/WH

6160

Outside Left Mirror Vertical Position Control

2

0.35 D-GN/WH

6159

Outside Left Mirror Horizontal Position Control

3

0.5 L-GN

627

Low Reference

4-5

--

--

Not Used

6

0.35 WH

7197

Outside Left Mirror Drive Motor Common

7

0.5 OG

2267

Mirror Heating Element Supply Voltage

8

0.35 PK/BK

5855

Low Reference (UFT)

9-10

--

--

Not Used

Driver Door Module (DDM) X4 (AXC or AXE)


Object Number: 1664522  Size: CH

Connector Part Information

  • OEM: 7283-9065-40
  • Service: See Catalog
  • Description: 14-Way F Kaizen 0.64 Series (L-GY)

Terminal Part Information

  • Terminal/Tray: 7116-4618-02/14
  • Core/Insulation Crimp: P/P
  • Release Tool/Test Probe: J-38125-215/J-35616-64B (L-BU)

Driver Door Module (DDM) X4 (AXC or AXE)

Pin

Wire

Circuit

Function

1

0.35 WH/BK

6177

Driver Heated Seat Medium Indicator Control (A45 with KA1)

2

0.35 D-GN

1661

Driver Heated Seat High Temperature Indicator Control (A45 with KA1)

3

--

--

Not Used

4

0.35 D-BU/WH

5978

Low Reference (AG3)

5

0.35 OG

614

Memory Set Switch Signal (AG3)

6

0.35 D-BU

6172

Driver Heated Seat Switch Back Cushion Signal (A45 with KA1)

7

0.35 GY

6175

Driver Heated Seat Switch Back Signal (A45 with KA1)

8

--

--

Not Used

9

0.35 L-BU

1662

Driver Heated Seat Low Temperature Indicator Control (A45 with KA1)

10

0.35 BN

6173

Driver Heated Seat Switch Back Cushion LED (A45 with KA1)

11

0.35 PU

6174

Driver Heated Seat Switch Back LED (A45 with KA1)

12

--

--

Not Used

13

0.35 BN/WH

6064

Memory Switch Dimming Control (AG3)

14

0.35 GY/BK

5979

Memory Seat Switch Exit Signal (AG3)

Driver Door Module (DDM) X7 (AXC or AXE)


Object Number: 1664543  Size: CH

Connector Part Information

  • OEM: 7283-9045
  • Service: See Catalog
  • Description: 10-Way F 064 Series Unsealed (WH)

Terminal Part Information

  • Terminal/Tray: 7116-4618-02/14
  • Core/Insulation Crimp: P/P
  • Release Tool/Test Probe: J-38125-215/J-35616-64B (L-BU)

Driver Door Module (DDM) X7 (AXC or AXE)

Pin

Wire

Circuit

Function

1

0.35 YE

6802

Left Extend/Fold Mirror Motor Extend Control (DNP)

2

0.35 L-BU

6803

Passenger Mirror Motor Down Control (DNP)

3

--

--

Not Used

4

0.35 D-GN

784

Driver Mirror Vertical Position Sensor Signal (A45 with DNP or DS3)

5

0.35 GY

786

Driver Mirror Horizontal Position Sensor Signal (A45 with DNP or DS3)

6

--

--

Not Used

7

0.35 D-BU

672

5-Volt Reference (A45 with DNP or DS3)

8

0.35 PK

5853

Low Reference (UFT)

9

--

--

Not Used

10

0.35 BN

673

Low Reference (A45 with DNP or DS3)

Driver Information Center (DIC) Switch (UH9)


Object Number: 1715224  Size: CH

Connector Part Information

  • OEM: 15491277
  • Service: 88988747
  • Description: 5-Way F HCM 5PA Series (BK)

Terminal Part Information

  • Terminal/Tray: SHCM-A03T-P025/20
  • Core/Insulation Crimp: J/J
  • Release Tool/Test Probe: 12094429/J-35616-64B (L-BU)

Driver Information Center (DIC) Switch (UH9)

Pin

Wire

Circuit

Function

1

0.35 D-GN/WH

1358

DIC Switch Signal

2

0.35 BN

897

Low Reference

3

0.35 PK

893

DIC Select Menu Switch Signal

4

0.35 PU/WH

1382

LED Dimming Signal

5

0.35 BK

1450

Ground

Electronic Brake Control Module (EBCM)


Object Number: 1862109  Size: CH

Connector Part Information

  • OEM: 31381-1005
  • Service: See Catalog
  • Description: 38-Way F 2.8 Series, Sealed (BK)

Terminal Part Information

  • Pins: 1, 13, 25, 38
  • Terminal/Tray: 15304720/19
  • Core/Insulation Crimp: 4/5
  • Release Tool/Test Probe: 15315247/J-35616-4A (PU)
  • Pins: 2, 3, 5, 6, 10-12, 14-16, 18-20, 21, 24, 26-28, 31-35, 37
  • Terminal/Tray: SAIT-A03T-M064/14
  • Core/Insulation Crimp: 9/9
  • Release Tool/Test Probe: J-38125-215/J-35616-64B (L-BU)

Electronic Brake Control Module (EBCM)

Pin

Wire

Circuit

Function

1

3 RD/BK

142

Battery Positive Voltage

2

0.5 GY

6031

5-Volt Reference

3

0.5 WH

320

Engine Mount Solenoid Control (W49)

4

--

--

Not Used

5

0.5 WH

1294

Variable Effort Steering Actuator Supply Voltage (NV7)

6

0.5 TN

833

Low Reference

7-9

--

--

Not Used

10

0.5 OG

6030

Brake Vacuum Sensor Signal

11

0.5 D-GN/WH

817

Vehicle Speed Signal (U3R or UZR or UVB)

12

0.5 L-BU

2088

Low Reference

13

3 BK/WH

251

Ground

14

0.5 TN

2501

High Speed GMLAN Serial Data Bus-

15

0.5 TN

2501

High Speed GMLAN Serial Data Bus-

16

0.5 YE/BK

6032

Low Reference

17

--

--

Not Used

18

0.5 D-GN

872

Right Front Wheel Speed Sensor Signal

19

0.5 BN

882

Right Rear Wheel Speed Sensor Signal

20

0.5 OG

885

Low Reference

21

0.5 L-BU

830

Left Front Wheel Speed Sensor Signal

22-23

--

--

Not Used

24

0.5 L-GN/BK

6432

CAN Bus Low Serial Data

25

2 RD/WH

3540

Battery Positive Voltage

26

0.5 TN/BK

2500

High Speed GMLAN Serial Data Bus+

27

0.5 TN/BK

2500

High Speed GMLAN Serial Data Bus+

28

0.5 BN

1295

Variable Effort Steering Actuator Control (NV7)

29-30

--

--

Not Used

31

0.5 WH

883

Low Reference

32

0.5 D-GN

2087

12-Volt Reference

33

0.5 TN

884

Left Rear Wheel Speed Sensor Signal

34

0.5 YE

873

Low Reference

35

0.5 L-BU

5986

Communication Enable

36

--

--

Not Used

37

0.5 TN/WH

6433

CAN Bus High Serial Data

38

2 BK/WH

251

Ground

Electronic Compass Module (COM)


Object Number: 1865635  Size: CH

Connector Part Information

  • OEM: 88988900
  • Service: See Catalog
  • Description: 4-Way F AIT2PB-04A-1 AKAIT II Series (BK)

Terminal Part Information

  • Terminal/Tray: 7116-4618-02/14
  • Core/Insulation Crimp: P/P
  • Release Tool/Test Probe: J-38125-215/J-35616-64B (L-BU)

Electronic Compass Module (COM)

Pin

Wire

Circuit

Function

1

0.35 OG

300

Ignition 3 Voltage

2

0.35 BK

850

Ground

3

0.35 D-GN

6134

Linear Interconnect Network Bus

4

--

--

Not Used

Engine Control Module (ECM) X1 (LY7)


Object Number: 1673474  Size: CH

Connector Part Information

  • OEM: 34576-3603
  • Service: See Catalog
  • Description: 56-Way F MX123 Series, Sealed (BU)

Terminal Part Information

  • Terminal/Tray: 33467-0005/23
  • Core/Insulation Crimp: J/J
  • Release Tool/Test Probe: J-38125-213/J-35616-64B (L-BU)

Engine Control Module (ECM) X1 (LY7)

Pin

Wire

Circuit

Function

1-6

--

--

Not Used

7

0.5 WH

17

Stop Lamp Supply Voltage

8

--

--

Not Used

9

0.5 TN

452

Low Reference

10-11

--

--

Not Used

12

0.5 BN/WH

419

MIL Control

13

0.5 D-GN/WH

465

Fuel Pump Relay Control

14-17

--

--

Not Used

18

0.5 D-BU

5985

Ignition Voltage

19

0.5 PK

439

Ignition Voltage

20

0.5 RD/WH

540

Battery Positive Voltage

21-25

--

--

Not Used

26

0.5 YE

447

Starter Relay Coil Control

27-32

--

--

Not Used

33

0.5 WH/BK

1164

5-Volt Reference 2

34

0.5 GY

2709

5-Volt Reference 1

35

0.5 TN

1274

5-Volt Reference 1

36

0.5 BN

1271

Low Reference

37

0.5 PU

1272

Low Reference

38-39

--

--

Not Used

40

0.5 YE

5991

Powertrain Relay Coil Control

41-43

--

--

Not Used

44

0.5 PU

1589

Fuel Level Sensor Signal

45-46

--

--

Not Used

47

0.5 D-BU

1161

APP Sensor 1 Signal

48

0.5 D-GN

890

Fuel Tank Pressure Sensor Signal

49

0.5 L-BU

1162

APP Sensor 2 Signal

50-52

--

--

Not Used

53

0.5 D-GN/WH

459

A/C Compressor Clutch Relay Control

54

0.5 D-BU

473

High Speed Cooling Fan Relay Control

55

0.5 WH

1310

EVAP Canister Vent Solenoid Control

56

--

--

Not Used

Engine Control Module (ECM) X2 (LY7)


Object Number: 1673472  Size: CH

Connector Part Information

  • OEM: 34566-5203
  • Service: See Catalog
  • Description: 73-Way F MX123 34566 Series, Sealed (BK)

Terminal Part Information

  • Pins: 73
  • Terminal/Tray: 7116-4152-02/9
  • Core/Insulation Crimp: 2/5
  • Release Tool/Test Probe: 12094430/J-35616-35 (VT)
  • Terminal/Tray: 33467-0005/23
  • Core/Insulation Crimp: Pins 1-9, 14, 15, 17, 19-24, 27, 29-39, 42-44, 46-54, 56-59, 62-64, 66-69, 71, 72 - J/J
  • Core/Insulation Crimp: Pins 11-13 - K/K
  • Release Tool/Test Probe: J-38125-213/J-35616-64B (L-BU)

Engine Control Module (ECM) X2 (LY7)

Pin

Wire

Circuit

Function

1

0.5 BN/WH

6405

Ignition Coil 1 Control

2

0.5 TN/WH

7349

Low Reference

3

0.5 D-GN

7352

Oxygen Sensor Bank 1 Sensor 1 Signal

4

0.5 OG/D-BU

7357

Oxygen Sensor Bank 1 Sensor 2 Signal

5

0.5 WH/YE

7356

Low Reference

6

0.5 L-BU

1876

Knock Sensor 2 Signal

7

0.5 TN

407

Low Reference

8

0.5 D-BU

496

Knock Sensor 1 Signal

9

0.5 GY

1716

Low Reference

10

--

--

Not Used

11

0.8 YE

581

TAC Motor Control - 1

12

0.8 BN

582

TAC Motor Control - 2

13

0.8 PK/BK

5290

Ignition Voltage

14

0.5 PK/BK

6395

Cam Phaser #2 Control

15

0.5 TN/BK

6397

Cam Phaser #4 Control

16

--

--

Not Used

17

0.5 D-BU/WH

6406

Ignition Coil 2 Control

18

--

--

Not Used

19

0.5 PK

6414

Inside Air Temperature Sensor Signal

20

0.5 PU

6267

Camshaft CAM X Ground

21

0.5 TN

6268

Camshaft CAM Y Ground

22

0.5 WH

6269

Camshaft CAM Z Ground

23

0.5 BN

6266

Camshaft CAM W Ground

24

0.5 BK

2755

Low Reference

25-26

--

--

Not Used

27

0.5 GY/BK

6272

Low Reference

28

--

--

Not Used

29

0.5 TN

2752

Low Reference

30

0.5 BN/WH

6754

Low Reference

31

0.5 D-BU/WH

6756

Low Reference

32

0.5 GY

6418

Fuel Injector 4 Control

33

0.5 D-GN/WH

6407

Ignition Coil 3 Control

34

0.5 PU/WH

6410

Ignition Coil 6 Control

35

0.5 PU

6413

Low Reference

36

0.5 D-GN

6457

Camshaft CAM X Supply Voltage 1

37

0.5 OG

6260

Camshaft CAM Y Supply Voltage 1

38

0.5 PK

6261

Camshaft CAM Z Supply Voltage 1

39

0.5 D-BU

6259

Camshaft CAM W Supply Voltage 1

40-41

--

--

Not Used

42

0.5 TN

2760

Low Reference

43

0.5 PU/WH

6270

5-Volt Reference 2

44

0.5 GY

2701

5-Volt Reference 2

45

--

--

Not Used

46

0.5 BN

6753

Low Reference

47

0.5 D-BU

6755

Low Reference

48

0.5 D-BU

6416

Fuel Injector 2 Control

49

0.5 OG

6420

Fuel Injector 6 Control

50

0.5 WH/BK

6396

Cam Phaser #3 Control

51

0.5 GY/BK

6394

Cam Phaser Control

52

0.5 L-BU

6419

Fuel Injector 5 Control

53

0.5 L-BU/WH

6408

Ignition Coil 4 Control

54

0.5 L-GN/WH

6409

Ignition Coil 5 Control

55

--

--

Not Used

56

0.5 D-GN/WH

6264

Camshaft CAM X Signal

57

0.5 OG/BK

6263

Camshaft CAM Y Signal

58

0.5 PK/BK

6262

Camshaft CAM Z Signal

59

0.5 D-BU/WH

6265

Camshaft CAM W Signal

60-61

--

--

Not Used

62

0.5 TN

472

IAT Sensor Signal

63

0.5 WH/BK

6271

Crankshaft 60X Sensor Signal

64

0.5 D-GN

485

TP Sensor 1 Signal

65

--

--

Not Used

66

0.5 PU

486

TP Sensor 2 Signal

67

0.5 YE

492

MAF Sensor Signal

68

0.5 D-BU

6424

Oxygen Sensor Heated A Signal

69

0.5 OG

6426

Oxygen Sensor Heated C Signal

70

--

--

Not Used

71

0.5 D-GN

6417

Fuel Injector 3 Control

72

0.5 BN

6415

Fuel Injector 1 Control

73

2 BK/WH

451

Ground

Engine Control Module (ECM) X3 (LY7)


Object Number: 1673472  Size: CH

Connector Part Information

  • OEM: 34566-5303
  • Service: See Catalog
  • Description: 73-Way F MX123 34566 Series, Sealed (GY)

Terminal Part Information

  • Terminal/Tray: 33467-0005/23
  • Core/Insulation Crimp: J/J
  • Release Tool/Test Probe: J-38125-213/J-35616-64B (L-BU)

Engine Control Module (ECM) X3 (LY7)

Pin

Wire

Circuit

Function

1-2

--

--

Not Used

3

0.5 TN/BK

7354

Low Reference

4

0.5 PU/WH

7355

Oxygen Sensor Heated B High Reference

5

0.5 YE/BN

7359

Oxygen Sensor Bank 2 Sensor 2 Signal

6

0.5 VT/WH

7358

Low Reference

7

0.5 OG

225

Generator Turn On Signal

8-14

--

--

Not Used

15

0.5 GY

6425

Oxygen Sensor Heated B Signal

16-20

--

--

Not Used

21

0.5 TN

5514

Low Reference

22

--

--

Not Used

23

0.5 OG/BK

469

Low Reference

24-28

--

--

Not Used

29

0.5 GY

23

Generator Field Duty Cycle Signal

30-31

--

--

Not Used

32

0.5 OG

6392

Variable Tuning Control

33

0.5 TN

2501

High Speed GMLAN Serial Data Bus-

34

--

--

Not Used

35

0.5 TN

2761

Low Reference

36

--

--

Not Used

37

0.5 GY

2700

5-Volt Reference 2

38

--

--

Not Used

39

0.5 GY

2704

5-Volt Reference 1

40-45

--

--

Not Used

46

0.5 OG/BK

1786

Park/Neutral Signal

47

--

--

Not Used

48

0.5 D-GN/WH

428

EVAP Canister Purge Solenoid Control

49

0.5 D-GN

335

Low Speed Cooling Fan Relay Control

50

0.5 PU

6427

Oxygen Sensor Heated D Signal

51-52

--

--

Not Used

53

0.5 TN/BK

2500

High Speed GMLAN Serial Data Bus+

54

--

--

Not Used

55

0.5 YE

410

ECT Sensor Signal

56

--

--

Not Used

57

0.5 OG/BK

380

A/C Refrigerant Pressure Sensor Signal

58

--

--

Not Used

59

0.5 L-GN

432

MAP Sensor Signal

60-63

--

--

Not Used

64

0.5 YE

7017

Variable Intake Manifold Position Signal

65

0.5 TN/BK

231

Oil Pressure Switch Signal

66-73

--

--

Not Used

Engine Coolant Temperature (ECT) Sensor (LY7)


Object Number: 784092  Size: CH

Connector Part Information

  • OEM: 1928403874
  • Service: 88988963
  • Description: 2-Way F Kompakt 2.8 Series, Sealed (BK)

Terminal Part Information

  • Terminal/Tray: 1928498054/8
  • Core/Insulation Crimp: E/1
  • Release Tool/Test Probe: J-38125-561/J-35616-35 (VT)

Engine Coolant Temperature (ECT) Sensor (LY7)

Pin

Wire

Circuit

Function

1

0.5 YE

410

ECT Sensor Signal

2

0.5 TN

2761

Low Reference

Engine Cooling Fan - Left and Engine Cooling Fan - Right


Object Number: 810077  Size: CH

Connector Part Information

  • OEM: 12191387
  • Service: 13506139
  • Description: 4-Way M Metri-Pack 150 Series (BK)

Terminal Part Information

  • Terminal/Tray: 12129497/1
  • Core/Insulation Crimp: F/5
  • Release Tool/Test Probe: 12094430/J-35616-5 (PU)

Cooling Fan - Left and Cooling Fan - Right

Pin

Wire

Circuit

Function

A

3 BK

250

Right Cooling Fan Motor Ground

B

3 L-BU

409

Right Cooling Fan Motor High Control

C

3 WH

504

Left Cooling Fan Motor High Control

D

3 GY

532

Left Cooling Fan Motor Low Control

Engine Mount Vacuum Tank Solenoid (W49)


Object Number: 1826250  Size: CH

Connector Part Information

  • OEM: 1928402571
  • Service: 19115592
  • Description: 2-Way F Sealed Series (BK)

Terminal Part Information

  • Terminal/Tray: 4-964286-1/16
  • Core/Insulation Crimp: E/1
  • Release Tool/Test Probe: 12093647/J-35616-4A (PU)

Engine Mount Vacuum Tank Solenoid (W49)

Pin

Wire

Circuit

Function

1

0.5 WH

320

Engine Mount Solenoid Control

2

0.5 PK/BK

5294

Ignition Voltage

Engine Oil Pressure (EOP) Switch (LY7)


Object Number: 516616  Size: CH

Connector Part Information

  • OEM: 12065400
  • Service: 12126436
  • Description: 4-Way F Metri-Pack 150 Series (GN)

Terminal Part Information

  • Terminal/Tray: 12048074/2
  • Core/Insulation Crimp: E/1
  • Release Tool/Test Probe: 12094429/J-35616-14 (GN)

Engine Oil Pressure (EOP) Switch (LY7)

Pin

Wire

Circuit

Function

A

0.5 TN/BK

231

Oil Pressure Switch Signal

B

0.5 BK

2755

Low Reference

C-D

--

--

Not Used

Evaporative Emission (EVAP) Canister Purge Solenoid Valve (LY7)


Object Number: 1331450  Size: CH

Connector Part Information

  • OEM: 1928404072
  • Service: 88988586
  • Description: 2-Way F 2.8 Sealed (BK)

Terminal Part Information

  • Terminal/Tray: 1928498056/8
  • Core/Insulation Crimp: E/1
  • Release Tool/Test Probe: J-38125-561/J-35616-35 (VT)

Evaporative Emission (EVAP) Canister Purge Solenoid Valve (LY7)

Pin

Wire

Circuit

Function

1

0.5 PK/BK

5293

Powertrain Main Relay Fused Supply

2

0.5 D-GN/WH

428

EVAP Canister Purge Solenoid Control

Evaporative Emissions (EVAP) Canister Vent Solenoid Valve (LY7)


Object Number: 684795  Size: CH

Connector Part Information

  • OEM: 12052643
  • Service: 12101858
  • Description: 2-Way F Metri-Pack 150 Series Sealed (RD)

Terminal Part Information

  • Terminal/Tray: 12048074/2
  • Core/Insulation Crimp: E/1
  • Release Tool/Test Probe: 12094429/J-35616-2A (GY)

Evaporative Emissions (EVAP) Canister Vent Solenoid Valve (LY7)

Pin

Wire

Circuit

Function

A

PK

1039

Battery Positive Voltage

B

WH

1310

EVAP Canister Vent Solenoid Control

Evaporator Temperature Sensor


Object Number: 1459283  Size: CH

Connector Part Information

  • OEM: 1-968704-1
  • Service: See Catalog
  • Description: 2-Way F MQS Series (BK)

Terminal Part Information

  • Terminal/Tray: See Terminal Repair Kit
  • Core/Insulation Crimp: See Terminal Repair Kit
  • Release Tool/Test Probe: See Terminal Repair Kit

Evaporator Temperature Sensor

Pin

Wire

Circuit

Function

1

0.35 WH

2622

Evaporator Temperature Sensor Signal

2

0.35 TN

552

Low Reference

Fog Lamp - Left Front (W49 or WDA with T96)


Object Number: 1413064  Size: CH

Connector Part Information

  • OEM: 12124819
  • Service: 12085498
  • Description: 2-Way F Metri-Pack 280 Series, Sealed (BK)

Terminal Part Information

  • Terminal/Tray: 12077411/2
  • Core/Insulation Crimp: 2/5
  • Release Tool/Test Probe: 12094430/J-35616-4A (PU)

Fog Lamp - Left Front (W49 or WDA with T96)

Pin

Wire

Circuit

Function

A

0.5 PU

34

Front Fog Lamp Supply Voltage

B

0.5 BK

1350

Ground

Fog Lamp - Left Front (Z88)


Object Number: 1862046  Size: CH

Connector Part Information

  • OEM: 13513272
  • Service: See Catalog
  • Description: 2-Way F GT 150 Series, Sealed (BK)

Terminal Part Information

  • Pins: A
  • Terminal/Tray: 12191812/19
  • Core/Insulation Crimp: E/C
  • Release Tool/Test Probe: 15315247/J-35616-2A (GY)
  • Pins: B
  • Terminal/Tray: 15496531/8
  • Core/Insulation Crimp: E/A
  • Release Tool/Test Probe: 15315247/J-35616-2A (GY)

Fog Lamp - Left Front (Z88)

Pin

Wire

Circuit

Function

A

0.5 PU

34

Front Fog Lamp Supply Voltage

B

0.35 BK

1250

Ground

Fog Lamp - Right Front (W49 or WDA with T96)


Object Number: 1413064  Size: CH

Connector Part Information

  • OEM: 12124819
  • Service: 12085498
  • Description: 2-Way F Metri-Pack 280 Series, Sealed (BK)

Terminal Part Information

  • Terminal/Tray: 12077411/2
  • Core/Insulation Crimp: 2/5
  • Release Tool/Test Probe: 12094430/J-35616-4A (PU)

Fog Lamp - Right Front (W49 or WDA with T96)

Pin

Wire

Circuit

Function

A

0.5 PU

34

Front Fog Lamp Supply Voltage

B

0.5 BK

1350

Ground

Fog Lamp - Right Front (Z88)


Object Number: 1862046  Size: CH

Connector Part Information

  • OEM: 13513272
  • Service: See Catalog
  • Description: 2-Way F GT 150 Series, Sealed (BK)

Terminal Part Information

  • Terminal/Tray: 15496531/8
  • Core/Insulation Crimp: E/A
  • Release Tool/Test Probe: 15315247/J-35616-2A (GY)

Fog Lamp - Right Front (Z88)

Pin

Wire

Circuit

Function

A

0.5 PU

34

Front Fog Lamp Supply Voltage

B

0.35 BK

1350

Ground

Fuel Injector 1 (LY7)


Object Number: 1527729  Size: CH

Connector Part Information

  • OEM: 15419715
  • Service: 88988313
  • Description: 2-Way F GT 150 Series Sealed (GY)

Terminal Part Information

  • Terminal/Tray: See Terminal Repair Kit
  • Core/Insulation Crimp: See Terminal Repair Kit
  • Release Tool/Test Probe: See Terminal Repair Kit

Fuel Injector 1 (LY7)

Pin

Wire

Circuit

Function

A

PK/BK

5291

IGN I/II

B

TN

1744

Fuel Injector 1 Control

Fuel Injector 2 (LY7)


Object Number: 1527729  Size: CH

Connector Part Information

  • OEM: 15419715
  • Service: 88988313
  • Description: 2-Way F GT 150 Series Sealed (GY)

Terminal Part Information

  • Terminal/Tray: See Terminal Repair Kit
  • Core/Insulation Crimp: See Terminal Repair Kit
  • Release Tool/Test Probe: See Terminal Repair Kit

Fuel Injector 2 (LY7)

Pin

Wire

Circuit

Function

A

PK/BK

5292

IGN I/II

B

L-GN/BK

1745

Fuel Injector 2 Control

Fuel Injector 3 (LY7)


Object Number: 1527729  Size: CH

Connector Part Information

  • OEM: 15419715
  • Service: 88988313
  • Description: 2-Way F GT 150 Series Sealed (GY)

Terminal Part Information

  • Terminal/Tray: See Terminal Repair Kit
  • Core/Insulation Crimp: See Terminal Repair Kit
  • Release Tool/Test Probe: See Terminal Repair Kit

Fuel Injector 3 (LY7)

Pin

Wire

Circuit

Function

A

PK/BK

5291

IGN I/II

B

PK/BK

1746

Fuel Injector 3 Control

Fuel Injector 4 (LY7)


Object Number: 1527729  Size: CH

Connector Part Information

  • OEM: 15419715
  • Service: 88988313
  • Description: 2-Way F GT 150 Series Sealed (GY)

Terminal Part Information

  • Terminal/Tray: See Terminal Repair Kit
  • Core/Insulation Crimp: See Terminal Repair Kit
  • Release Tool/Test Probe: See Terminal Repair Kit

Fuel Injector 4 (LY7)

Pin

Wire

Circuit

Function

A

PK/BK

5292

IGN I/II

B

L-BU/BK

844

Fuel Injector 4 Control

Fuel Injector 5 (LY7)


Object Number: 1527729  Size: CH

Connector Part Information

  • OEM: 15419715
  • Service: 88988313
  • Description: 2-Way F GT 150 Series Sealed (GY)

Terminal Part Information

  • Terminal/Tray: See Terminal Repair Kit
  • Core/Insulation Crimp: See Terminal Repair Kit
  • Release Tool/Test Probe: See Terminal Repair Kit

Fuel Injector 5 (LY7)

Pin

Wire

Circuit

Function

A

PK/BK

5291

IGN I/II

B

TN/WH

845

Fuel Injector 5 Control

Fuel Injector 6 (LY7)


Object Number: 1527729  Size: CH

Connector Part Information

  • OEM: 15419715
  • Service: 88988313
  • Description: 2-Way F GT 150 Series Sealed (GY)

Terminal Part Information

  • Terminal/Tray: See Terminal Repair Kit
  • Core/Insulation Crimp: See Terminal Repair Kit
  • Release Tool/Test Probe: See Terminal Repair Kit

Fuel Injector 6 (LY7)

Pin

Wire

Circuit

Function

A

PK/BK

5292

IGN I/II

B

YE/BK

846

Fuel Injector 6 Control

Fuel Pump and Sender Assembly (LY7)


Object Number: 684908  Size: CH

Connector Part Information

  • OEM: 15326631
  • Service: 15306360
  • Description: 4-Way F GT 280 Series Sealed 5.8 (BK)

Terminal Part Information

  • Terminal/Tray: 15304719/19
  • Core/Insulation Crimp: Pins A, B: 2/5
  • Core/Insulation Crimp: Pins C, D: E/5
  • Release Tool/Test Probe: 15315247/J-35616-4A (PU)

Fuel Pump and Sender Assembly (LY7)

Pin

Wire

Circuit

Function

A

2 BK

1850

Ground

B

2 GY

120

Fuel Pump Supply Voltage

C

0.35 TN

452

Low Reference

D

0.35 PU

1589

Fuel Level Sensor Signal

Fuel Tank Pressure (FTP) Sensor (LY7)


Object Number: 516611  Size: CH

Connector Part Information

  • OEM: 12059595
  • Service: 88986451
  • Description: 3-Way F Metri-Pack 150 Series Sealed (BK)

Terminal Part Information

  • Terminal/Tray: 12048074/2
  • Core/Insulation Crimp: E/1
  • Release Tool/Test Probe: 12094429/J-35616-2A (GY)

Fuel Tank Pressure (FTP) Sensor (LY7)

Pin

Wire

Circuit

Function

A

BK/WH

651

Low Reference

B

D-GN

890

Fuel Tank Pressure Sensor Signal

C

GY/BK

474

5-Volt Reference

Garage Door Opener (UG1)


Object Number: 406848  Size: CH

Connector Part Information

  • OEM: 09016038
  • Service: See Catalog
  • Description: 3-Way M P/C Egdeboard (NA)

Terminal Part Information

  • Terminal/Tray: 08-50-0115/20
  • Core/Insulation Crimp: E/C
  • Release Tool/Test Probe: J-38125-213/J-35616-4A (PU)

Garage Door Opener (UG1)

Pin

Wire

Circuit

Function

1

0.5 RD/WH

3140

Battery Positive Voltage

2

0.5 GY

8

Instrument Panel Lamp Supply Voltage

3

0.5 BK

850

Ground

Generator X1


Object Number: 1522871  Size: CH

Connector Part Information

  • OEM: 1928403137
  • Service: 89046837
  • Description: 2-Way F 2.8 Junior Power Timer (BK)

Terminal Part Information

  • Terminal/Tray: 4-964286-1/16
  • Core/Insulation Crimp: E/1
  • Release Tool/Test Probe: 12093647/J-35616-4A (PU)

Generator X1

Pin

Wire

Circuit

Function

1

0.5 OG

225

Generator Turn On Signal

2

0.5 GY

23

Generator Field Duty Cycle Signal

Generator X2

Connector Part Information

  • OEM: 7003-1171-02
  • Core/Insulation Crimp: N/A
  • Description: Ring Terminal

Generator X2

Pin

Wire

Circuit

Function

A

19 RD/BK

1

Battery Positive Voltage

Hazard Switch


Object Number: 333035  Size: CH

Connector Part Information

  • OEM: 12047781
  • Service: 12101864
  • Description: 3-Way F Metri-Pack 150 Series (BK)

Terminal Part Information

  • Pins: A
  • Terminal/Tray: 12047767/2
  • Core/Insulation Crimp: E/A
  • Release Tool/Test Probe: 12094429/J-35616-14 (GN)
  • Pins: B, C
  • Terminal/Tray: 12064971/5
  • Core/Insulation Crimp: E/C
  • Release Tool/Test Probe: 12094429/J-35616-14 (GN)

Hazard Switch

Pin

Wire

Circuit

Function

A

0.8 GY

8

Instrument Panel Lamp Supply Voltage

B

0.35 BK

750

Ground

C

0.35 TN

2144

Hazard Switch Signal

Head Up Display (HUD) (UV6)


Object Number: 483131  Size: CH

Connector Part Information

  • OEM: 175964-2
  • Service: 15306185
  • Description: 8-Way F AMP Multilock 040 MarkII (BK)

Terminal Part Information

  • Terminal/Tray: 173681-2/17
  • Core/Insulation Crimp: E/4
  • Release Tool/Test Probe: 15315247/J-35616-16 (L-GN)

Head Up Display (HUD) (UV6)

Pin

Wire

Circuit

Function

1

0.35 D-GN

5060

Low Speed GMLAN Serial Data

2

--

--

Not Used

3

0.35 BN

622

HUD Switch Signal

4

0.35 BK/WH

1551

Ground

5

0.35 L-BU/BK

5812

HUD Off/Dimming Control

6

0.5 RD/WH

4540

Battery Positive Voltage

7

--

--

Not Used

8

0.35 L-GN/BK

5699

Low Reference

Head Up Display (HUD) Switch (UV6)


Object Number: 1862240  Size: CH

Connector Part Information

  • OEM: 15269798
  • Service: See Catalog
  • Description: 6-Way F AIT II Series (BK)

Terminal Part Information

  • Terminal/Tray: 7116-4618-02/14
  • Core/Insulation Crimp: P/P
  • Release Tool/Test Probe: J-38125-215/J-35616-64B (L-BU)

Head Up Display (HUD) Switch (UV6)

Pin

Wire

Circuit

Function

1

--

--

Not Used

2

0.35 L-BU/BK

5812

HUD Off/Dimming Control

3

0.35 L-GN/BK

5699

Low Reference

4

0.35 BK

1450

Ground

5

0.35 PU/WH

1382

LED Dimming Signal

6

0.35 BN

622

HUD Switch Signal

Headlamp - Left (WDA with TVD)


Object Number: 1860727  Size: CH

Connector Part Information

  • OEM: 0-1418889
  • Service: See Catalog
  • Description: 16-Way F (BK)

Terminal Part Information

  • Terminal/Tray: See Terminal Repair Kit
  • Core/Insulation Crimp: See Terminal Repair Kit
  • Release Tool/Test Probe: See Terminal Repair Kit

Headlamp - Left (WDA with TVD)

Pin

Wire

Circuit

Function

5

0.8 YE

--

Left Headlamp Low Beam Supply Voltage

6

0.8 BK

--

Ground

7

--

--

Not Used

8

0.5 D-GN/WH

--

Left Headlamp High Beam Supply Voltage

9

0.5 BK

--

Ground

10-21

--

--

Not Used

Headlamp - Left (Z88 with TVD or W49)


Object Number: 1884162  Size: CH

Connector Part Information

  • OEM: VECR-07 (04)
  • Service: See Catalog
  • Description: 7-Way F (BK)

Terminal Part Information

  • Terminal/Tray: See Terminal Repair Kit
  • Core/Insulation Crimp: See Terminal Repair Kit
  • Release Tool/Test Probe: See Terminal Repair Kit

Headlamp - Left (Z88 with TVD or W49)

Pin

Wire

Circuit

Function

1

COAX

--

High Intensity Discharge

2

COAX

--

High Intensity Discharge

3

COAX

--

High Intensity Discharge

4-5

--

--

Not Used

6

0.8 BK

--

Ground

7

0.8 RD

--

Left Headlamp Low Beam Supply Voltage (Z88)

0.8 PU

--

Left Headlamp Low Beam Supply Voltage (W49)

Headlamp - Left High Beam (WDA without TVD)


Object Number: 1232375  Size: CH

Connector Part Information

  • OEM: 699707-1
  • Service: See Catalog
  • Description: 2-Way F Two-Position Receptacle Housing (BK)

Terminal Part Information

  • Terminal/Tray: See Terminal Repair Kit
  • Core/Insulation Crimp: See Terminal Repair Kit
  • Release Tool/Test Probe: See Terminal Repair Kit

Headlamp - Left High Beam (WDA without TVD)

Pin

Wire

Circuit

Function

A

0.5 BK

--

Ground

B

0.5 D-GN/WH

--

Left Headlamp High Beam Supply Voltage

Headlamp - Left High Beam (Z88 without TVD)


Object Number: 1884163  Size: CH

Connector Part Information

  • OEM: 1544352-1
  • Service: See Catalog
  • Description: 2-Way F 2-Position Receptacle Housing (BK)

Terminal Part Information

  • Terminal/Tray: See Terminal Repair Kit
  • Core/Insulation Crimp: See Terminal Repair Kit
  • Release Tool/Test Probe: See Terminal Repair Kit

Headlamp - Left High Beam (Z88 without TVD)

Pin

Wire

Circuit

Function

1

1.5 BK

--

Ground

A

1.5 WH

--

Right Headlamp High Beam Supply Voltage

Headlamp - Left High Beam Solenoid (W49)


Object Number: 1960044  Size: CH

Connector Part Information

  • OEM: XLP-02V
  • Service: See Catalog
  • Description: 2-Way F XL Series (WH)

Terminal Part Information

  • Terminal/Tray: See Terminal Repair Kit
  • Core/Insulation Crimp: See Terminal Repair Kit
  • Release Tool/Test Probe: See Terminal Repair Kit

Headlamp - Left High Beam Solenoid (W49)

Pin

Wire

Circuit

Function

1

0.35 BK

--

Ground

2

0.35 GY

--

Left Headlamp High Beam Supply Voltage

Headlamp - Left High Beam Solenoid (WDA with TVD)


Object Number: 1870226  Size: CH

Connector Part Information

  • OEM: 968705-9
  • Service: 88953152
  • Description: 3-Way F MQS Series (L-BU)

Terminal Part Information

  • Terminal/Tray: See Terminal Repair Kit
  • Core/Insulation Crimp: See Terminal Repair Kit
  • Release Tool/Test Probe: See Terminal Repair Kit

Headlamp - Left High Beam Solenoid (WDA with TVD)

Pin

Wire

Circuit

Function

1

0.5 GN/WH

--

Left Headlamp High Beam Supply Voltage

2

--

--

Not Used

3

0.5 BK

 

Ground

Headlamp - Left High Beam Solenoid (Z88 with TVD)


Object Number: 1871119  Size: CH

Connector Part Information

  • OEM: 0-925014-1-2W
  • Service: See Catalog
  • Description: 2-Way F 2.8 Series (WH)

Terminal Part Information

  • Terminal/Tray: See Terminal Repair Kit
  • Core/Insulation Crimp: See Terminal Repair Kit
  • Release Tool/Test Probe: See Terminal Repair Kit

Headlamp - Left High Beam Solenoid (Z88 with TVD)

Pin

Wire

Circuit

Function

I

1.5 BK

--

Ground

II

1.5 WH

--

Left Headlamp High Beam Supply Voltage

Headlamp - Left Low Beam (WDA without TVD)


Object Number: 1413064  Size: CH

Connector Part Information

  • OEM: 12059183
  • Service: See Catalog
  • Description: 2-Way F H11 Lamp Socket

Terminal Part Information

  • Terminal/Tray: See Terminal Repair Kit
  • Core/Insulation Crimp: See Terminal Repair Kit
  • Release Tool/Test Probe: See Terminal Repair Kit

Headlamp - Left Low Beam (WDA without TVD)

Pin

Wire

Circuit

Function

A

0.5 BK

--

Ground

B

0.5 YE

--

Left Headlamp Low Beam Supply Voltage

Headlamp - Left Low Beam (Z88 without TVD)


Object Number: 1413064  Size: CH

Connector Part Information

  • OEM: 92095787
  • Service: See Catalog
  • Description: 2-Way F H11 Lamp Socket

Terminal Part Information

  • Terminal/Tray: See Terminal Repair Kit
  • Core/Insulation Crimp: See Terminal Repair Kit
  • Release Tool/Test Probe: See Terminal Repair Kit

Headlamp - Left Low Beam (Z88 without TVD)

Pin

Wire

Circuit

Function

A

1.5 RD

--

Left Headlamp Low Beam Supply Voltage

B

1.5 BK

--

Ground

Headlamp - Right (WDA with TVD)


Object Number: 1860727  Size: CH

Connector Part Information

  • OEM: 0-1418889
  • Service: See Catalog
  • Description: 16-Way F (BK)

Terminal Part Information

  • Terminal/Tray: See Terminal Repair Kit
  • Core/Insulation Crimp: See Terminal Repair Kit
  • Release Tool/Test Probe: See Terminal Repair Kit

Headlamp - Right (WDA with TVD)

Pin

Wire

Circuit

Function

5

0.8 YE

--

Right Headlamp Low Beam Supply Voltage

6

0.8 BK

--

Ground

7

--

--

Not Used

8

0.5 D-GN/WH

--

Right Headlamp High Beam Supply Voltage

9

0.5 BK

--

Ground

10-21

--

--

Not Used

Headlamp - Right (Z88 with TVD or W49)


Object Number: 1884162  Size: CH

Connector Part Information

  • OEM: VECR-07(04)
  • Service: See Catalog
  • Description: 7-Way F (BK)

Terminal Part Information

  • Terminal/Tray: See Terminal Repair Kit
  • Core/Insulation Crimp: See Terminal Repair Kit
  • Release Tool/Test Probe: See Terminal Repair Kit

Headlamp - Right (Z88 with TVD or W49)

Pin

Wire

Circuit

Function

1

COAX

--

High Intensity Discharge

2

COAX

--

High Intensity Discharge

3

COAX

--

High Intensity Discharge

4-5

--

--

Not Used

6

0.8 BK

--

Ground

7

0.8 RD

--

Right Headlamp Low Beam Supply Voltage (Z88)

0.8 PU

--

Right Headlamp Low Beam Supply Voltage (W49)

Headlamp - Right High Beam (WDA without TVD)


Object Number: 1232375  Size: CH

Connector Part Information

  • OEM: 699707-1
  • Service: See Catalog
  • Description: 2-Way F 2-Position Receptacle Housing (BK)

Terminal Part Information

  • Terminal/Tray: See Terminal Repair Kit
  • Core/Insulation Crimp: See Terminal Repair Kit
  • Release Tool/Test Probe: See Terminal Repair Kit

Headlamp - Right High Beam (WDA without TVD)

Pin

Wire

Circuit

Function

A

0.5 BK

--

Ground

B

0.5 D-GN/WH

--

Right Headlamp High Beam Supply Voltage

Headlamp - Right High Beam (Z88 without TVD)


Object Number: 1884163  Size: CH

Connector Part Information

  • OEM: 1544352-1
  • Service: See Catalog
  • Description: 2-Way F 2-Position Receptacle Housing (BK)

Terminal Part Information

  • Terminal/Tray: See Terminal Repair Kit
  • Core/Insulation Crimp: See Terminal Repair Kit
  • Release Tool/Test Probe: See Terminal Repair Kit

Headlamp - Right High Beam (Z88 without TVD)

Pin

Wire

Circuit

Function

1

1.5 BK

--

Ground

A

1.5 WH

--

Right Headlamp High Beam Supply Voltage

Headlamp - Right High Beam Solenoid (W49)


Object Number: 1960044  Size: CH

Connector Part Information

  • OEM: XLP-02V
  • Service: See Catalog
  • Description: 2-Way F XL Series (WH)

Terminal Part Information

  • Terminal/Tray: See Terminal Repair Kit
  • Core/Insulation Crimp: See Terminal Repair Kit
  • Release Tool/Test Probe: See Terminal Repair Kit

Headlamp - Right High Beam Solenoid (W49)

Pin

Wire

Circuit

Function

1

0.35 BK

--

Ground

2

0.35 GY

--

Right Headlamp High Beam Supply Voltage

Headlamp - Right High Beam Solenoid (WDA with TVD)


Object Number: 1870226  Size: CH

Connector Part Information

  • OEM: 968705-9
  • Service: 88953152
  • Description: 3-Way F MQS Series (L-BU)

Terminal Part Information

  • Terminal/Tray: See Terminal Repair Kit
  • Core/Insulation Crimp: See Terminal Repair Kit
  • Release Tool/Test Probe: See Terminal Repair Kit

Headlamp - Right High Beam Solenoid (WDA with TVD)

Pin

Wire

Circuit

Function

1

0.5 GN/WH

--

Right Headlamp High Beam Supply Voltage

2

--

--

Not Used

3

0.5 BK

 

Ground

Headlamp - Right High Beam Solenoid (Z88 with TVD)


Object Number: 1871119  Size: CH

Connector Part Information

  • OEM: 0-925014-1-2W
  • Service: See Catalog
  • Description: 2-Way F 2.8 Series (WH)

Terminal Part Information

  • Terminal/Tray: See Terminal Repair Kit
  • Core/Insulation Crimp: See Terminal Repair Kit
  • Release Tool/Test Probe: See Terminal Repair Kit

Headlamp - Right High Beam Solenoid (Z88 with TVD)

Pin

Wire

Circuit

Function

I

1.5 BK

--

Ground

II

1.5 WH

--

Right Headlamp High Beam Supply Voltage

Headlamp - Right Low Beam (WDA without TVD)


Object Number: 1413064  Size: CH

Connector Part Information

  • OEM: 12059183
  • Service: See Catalog
  • Description: 2-Way F H11 Lamp Socket

Terminal Part Information

  • Terminal/Tray: See Terminal Repair Kit
  • Core/Insulation Crimp: See Terminal Repair Kit
  • Release Tool/Test Probe: See Terminal Repair Kit

Headlamp - Right Low Beam (WDA without TVD)

Pin

Wire

Circuit

Function

A

0.5 BK

--

Ground

B

0.5 YE

--

Right Headlamp Low Beam Supply Voltage

Headlamp - Right Low Beam (Z88 without TVD)


Object Number: 1413064  Size: CH

Connector Part Information

  • OEM: 92095787
  • Service: See Catalog
  • Description: 2-Way F H11 Lamp Socket

Terminal Part Information

  • Terminal/Tray: See Terminal Repair Kit
  • Core/Insulation Crimp: See Terminal Repair Kit
  • Release Tool/Test Probe: See Terminal Repair Kit

Headlamp - Right Low Beam (Z88 without TVD)

Pin

Wire

Circuit

Function

A

1.5 RD

--

Right Headlamp Low Beam Supply Voltage

B

1.5 BK

--

Ground

Headlamp Control Module - Left High Beam (W49)


Object Number: 1960043  Size: CH

Connector Part Information

  • OEM: XARP-05V
  • Service: See Catalog
  • Description: 5-Way F XA Series (BK)

Terminal Part Information

  • Terminal/Tray: See Terminal Repair Kit
  • Core/Insulation Crimp: See Terminal Repair Kit
  • Release Tool/Test Probe: See Terminal Repair Kit

Headlamp Control Module - Left High Beam (W49)

Pin

Wire

Circuit

Function

1

0.35 GY

--

Left Headlamp High Beam Supply Voltage

2

0.35 BK

--

Ground

3

--

--

Not Used

4

0.35 BK

--

Ground

5

0.35 GY

--

Left Headlamp High Beam Supply Voltage

Headlamp Control Module - Right High Beam (W49)


Object Number: 1960043  Size: CH

Connector Part Information

  • OEM: XARP-05V
  • Service: See Catalog
  • Description: 5-Way F XA Series (BK)

Terminal Part Information

  • Terminal/Tray: See Terminal Repair Kit
  • Core/Insulation Crimp: See Terminal Repair Kit
  • Release Tool/Test Probe: See Terminal Repair Kit

Headlamp Control Module - Right High Beam (W49)

Pin

Wire

Circuit

Function

1

0.35 GY

--

Right Headlamp High Beam Supply Voltage

2

0.35 BK

--

Ground

3

--

--

Not Used

4

0.35 BK

--

Ground

5

0.35 GY

--

Right Headlamp High Beam Supply Voltage

Headlamp Control Module (TSH)


Object Number: 1960038  Size: CH

Connector Part Information

  • OEM: HLP-12V
  • Service: See Catalog
  • Description: 12-Way F HL Series (BK)

Terminal Part Information

  • Terminal/Tray: See Terminal Repair Kit
  • Core/Insulation Crimp: See Terminal Repair Kit
  • Release Tool/Test Probe: See Terminal Repair Kit

Headlamp Control Module (TSH)

Pin

Wire

Circuit

Function

1

0.35 RD

--

Communication Enable

2

0.35 WH

--

High Speed GMLAN Serial Data Bus-

3

0.35 YE

--

High Speed GMLAN Serial Data Bus+

4

0.35 BK

--

Ground

5

0.35 OG

--

Linear Interconnect Network (LIN)

6

0.35 RD

--

Battery Positive Voltage

7

0.5 RD

--

Battery Positive Voltage

8

0.35 WH

--

High Speed GMLAN Serial Data Bus- (Early Production)

9

0.35 YE

--

High Speed GMLAN Serial Data Bus+ (Early Production)

10

0.35 BK

--

Ground

11

0.35 OG

--

Linear Interconnect Network (LIN)

12

0.35 RD

--

Battery Positive Voltage

Headlamp Switch


Object Number: 850856  Size: CH

Connector Part Information

  • OEM: 15416970
  • Service: See Catalog
  • Description: 16-Way F Micro-Pack 64 Series (BK)

Terminal Part Information

  • Terminal/Tray: 15359541/4
  • Core/Insulation Crimp: M/M
  • Release Tool/Test Probe: 15381651-2/J-35616-64B (L-BU)

Headlamp Switch

Pin

Wire

Circuit

Function

1

0.35 WH

103

Headlamp Switch Headlamps On Signal

2

0.35 BN/WH

301

Rear Park Lamps Supply Voltage

3

0.35 D-GN

306

Headlamp Switch Headlamps Off Signal

4-5

--

--

Not Used

6

0.35 OG

192

Fog Lamps Enable (T96)

7

0.35 PU/WH

1382

LED Dimming Signal

8

0.8 BK/WH

1551

Ground

9

0.35 PU

328

Interior Lamp Switch Signal

10

0.35 L-GN

6096

Washer Fluid Heated Control Switch Signal (XA7)

11

--

--

Not Used

12

0.35 PK/BK

1597

Courtesy Lamps Switch On Signal

13

0.35 D-GN

44

Instrument Panel Lamps Dimmer Switch Signal

14

--

--

Not Used

15

0.35 OG/WH

812

12-Volt Reference

16

--

--

Not Used

Heated Oxygen Sensor (HO2S) Bank 1 Sensor 1 (LY7)


Object Number: 474210  Size: CH

Connector Part Information

  • OEM: 12176897
  • Service: 15305960
  • Description: 4-Way F Metri-Pack 150 Sealed (GY)

Terminal Part Information

  • Terminal/Tray: 12048074/2
  • Core/Insulation Crimp: E/1
  • Release Tool/Test Probe: 12094429/J-35616-14 (GN)

Heated Oxygen Sensor (HO2S) Bank 1 Sensor 1 (LY7)

Pin

Wire

Circuit

Function

A

0.5 TN/WH

7349

Low Reference

B

0.5 D-GN

7352

Oxygen Sensor Bank 1 Sensor 1 Signal

C

0.5 D-BU

6424

Oxygen Sensor Heated A Signal

D

0.5 PK/BK

5293

Powertrain Main Relay Fused Supply

Heated Oxygen Sensor (HO2S) Bank 1 Sensor 2 (LY7)


Object Number: 628099  Size: CH

Connector Part Information

  • OEM: 12092840
  • Service: 15306311
  • Description: 4-Way M Metri-Pack 150 Series, Sealed (GY)

Terminal Part Information

  • Terminal/Tray: 12045773/2
  • Core/Insulation Crimp: E/1
  • Release Tool/Test Probe: 12094429/J-35616-3 (GY)

Heated Oxygen Sensor (HO2S) Bank 1 Sensor 2 (LY7)

Pin

Wire

Circuit

Function

A

0.5 WH/YE

7356

Low Reference

B

0.5 OG/D-BU

7357

Oxygen Sensor Bank 1 Sensor 2 Signal

C

--

--

Not Available

D

0.5 PK/BK

5294

IGN II/III

E

0.5 OG

6426

Oxygen Sensor Heated C Signal

Heated Oxygen Sensor (HO2S) Bank 2 Sensor 1 (LY7)


Object Number: 474210  Size: CH

Connector Part Information

  • OEM: 12176897
  • Service: 15305960
  • Description: 4-Way F Metri-Pack 150 Sealed (GY)

Terminal Part Information

  • Terminal/Tray: 12048074/2
  • Core/Insulation Crimp: E/1
  • Release Tool/Test Probe: 12094429/J-35616-14 (GN)

Heated Oxygen Sensor (HO2S) Bank 2 Sensor 1 (LY7)

Pin

Wire

Circuit

Function

A

0.5 TN/BK

7354

Low Reference

B

0.5 PU/WH

7355

Oxygen Sensor Heated B High Reference

C

0.5 GY

6425

Oxygen Sensor Heated B Signal

D

0.5 PK/BK

5293

Powertrain Main Relay Fused Supply

Heated Oxygen Sensor (HO2S) Bank 2 Sensor 2 (LY7)


Object Number: 628099  Size: CH

Connector Part Information

  • OEM: 12092840
  • Service: 15306311
  • Description: 4-Way M Metri-Pack 150 Series, Sealed (GY)

Terminal Part Information

  • Terminal/Tray: 12045773/2
  • Core/Insulation Crimp: E/1
  • Release Tool/Test Probe: 12094429/J-35616-3 (GY)

Heated Oxygen Sensor (HO2S) Bank 2 Sensor 2 (LY7)

Pin

Wire

Circuit

Function

A

0.5 VT/WH

7358

Low Reference

B

0.5 YE/BN

7359

Oxygen Sensor Bank 2 Sensor 2 Signal

C

--

--

Not Available

D

0.5 PK/BK

5294

IGN II/III

E

0.5 PU

6427

Oxygen Sensor Heated D Signal

Heated Seat Control Module - Driver X1 (KA1 without AG3)


Object Number: 1664577  Size: CH

Connector Part Information

  • OEM: 6098-4606
  • Service: See Catalog
  • Description: 6-Way F 2.8 Series (BN)

Terminal Part Information

  • Terminal/Tray: See Terminal Repair Kit
  • Core/Insulation Crimp: See Terminal Repair Kit
  • Release Tool/Test Probe: See Terminal Repair Kit

Heated Seat Control Module - Driver X1 (KA1 without AG3)

Pin

Wire

Circuit

Function

1

0.8 PU

2424

Driver Heated Seat Back Element Control

2

0.8 PK

2480

Passenger Heated Seat Cushion Element Control

3

0.8 BN

2432

Driver Heated Seat Back Element Supply Voltage

4

0.8 L-BU

2433

Passenger Heated Seat Back Element Control

5

0.8 L-GN

2078

Heated Seat Cushion Element Control

6

0.8 D-BU

2479

Passenger Heated Seat Element Supply Voltage

Heated Seat Control Module - Driver X2 (KA1 without AG3)


Object Number: 1653389  Size: CH

Connector Part Information

  • OEM: 6098-4713
  • Service: 88988652
  • Description: 8-Way F 2.8 Series (BK)

Terminal Part Information

  • Terminal/Tray: See Terminal Repair Kit
  • Core/Insulation Crimp: See Terminal Repair Kit
  • Release Tool/Test Probe: See Terminal Repair Kit

Heated Seat Control Module - Driver X2 (KA1 without AG3)

Pin

Wire

Circuit

Function

1

1 RD/WH

640

Battery Positive Voltage

2

1 BK

550

Ground

3-4

--

--

Not Used

5

0.35 PK

2426

Low Reference

6

0.35 YE

2080

Low Reference

7

0.35 TN

2482

Low Reference

8

0.35 L-BU

5476

Low Reference

Heated Seat Control Module - Driver X3 (KA1 without AG3)


Object Number: 1664581  Size: CH

Connector Part Information

  • OEM: 7283-9040-30
  • Service: See Catalog
  • Description: 10-Way F YESC Kaizen Series (BK)

Terminal Part Information

  • Terminal/Tray: 7116-4618-02/14
  • Core/Insulation Crimp: P/P
  • Release Tool/Test Probe: J-38125-215/J-35616-64B (L-BU)

Heated Seat Control Module - Driver X3 (KA1 without AG3)

Pin

Wire

Circuit

Function

1-3

--

--

Not Used

4

0.35 L-BU

1662

Driver Heated Seat Low Temperature Indicator Control

5

0.35 D-GN

1661

Driver Heated Seat High Temperature Indicator Control

6

0.35 D-GN

5060

Low Speed GMLAN Serial Data

7-8

--

--

Not Used

9

0.35 TN

1686

Passenger Heated Seat Low Temperature Indicator Control

10

0.35 YE

1685

Passenger Heated Seat High Temperature Indicator Control

Heated Seat Control Module - Driver X4 (KA1 without AG3)


Object Number: 1715223  Size: CH

Connector Part Information

  • OEM: 31410-1200
  • Service: See Catalog
  • Description: 20-Way F 0.64 Series (BK)

Terminal Part Information

  • Terminal/Tray: 7116-4618-02/14
  • Core/Insulation Crimp: P/P
  • Release Tool/Test Probe: J-38125-215/J-35616-64B (L-BU)

Heated Seat Control Module - Driver X4 (KA1 without AG3)

Pin

Wire

Circuit

Function

1

0.35 D-BU

6172

Driver Heated Seat Switch Back Cushion Signal

2

--

--

Not Used

3

0.35 GY

6182

Passenger Heated Seat Switch Back Signal

4-5

--

--

Not Used

6

0.35 BN

6185

Passenger Heated Seat Medium Indicator Control

7

0.35 BN

6179

Passenger Heated Seat Switch Back Cushion LED

8

--

--

Not Used

9

0.35 YE/BK

2079

Heated Seat Cushion Temperature Sensor Signal

10

0.35 TN

2436

Heated Seat Back Temperature Sensor Signal

11

0.35 GY

6175

Driver Heated Seat Switch Back Signal

12-13

--

--

Not Used

14

0.35 D-BU

6180

Passenger Heated Seat Switch Back Cushion Signal

15

0.35 PU

6174

Driver Heated Seat Switch Back LED

16

0.35 WH/BK

6177

Driver Heated Seat Medium Indicator Control

17

0.35 BN

6173

Driver Heated Seat Switch Back Cushion LED

18

0.35 PU

6181

Passenger Heated Seat Switch Back LED

19

0.35 D-BU

2425

Driver Heated Seat Back Temperature Sensor Signal

20

0.35 GY

2434

Passenger Heated Seat Cushion Temperature Sensor Signal

Heated Seat Element - Driver Back (KA1)


Object Number: 39661  Size: CH

Connector Part Information

  • OEM: 12047786
  • Service: 12085536
  • Description: 4-Way M Metri-Pack 150 Series, Unsealed (BK)

Terminal Part Information

  • Terminal/Tray: 12047581/2
  • Core/Insulation Crimp: Pins A, B - E/A
  • Core/Insulation Crimp: Pins C, D - E/C
  • Release Tool/Test Probe: 12094429/J-35616-3 (GY)

Heated Seat Element - Driver Back (KA1)

Pin

Wire

Circuit

Function

A

0.8 BN

2432

Driver Heated Seat Back Element Supply Voltage

B

0.8 PU

2424

Driver Heated Seat Back Element Control

C

0.35 D-BU

2425

Driver Heated Seat Back Temperature Sensor Signal

D

0.35 PK

2426

Low Reference

Heated Seat Element - Driver Cushion (KA1)


Object Number: 39661  Size: CH

Connector Part Information

  • OEM: 12047786
  • Service: 12085536
  • Description: 4-Way M Metri-Pack 150 Series, Unsealed (BK)

Terminal Part Information

  • Terminal/Tray: 12047581/2
  • Core/Insulation Crimp: Pins A, B - E/A
  • Core/Insulation Crimp: Pins C, D - E/C
  • Release Tool/Test Probe: 12094429/J-35616-3 (GY)

Heated Seat Element - Driver Cushion (KA1)

Pin

Wire

Circuit

Function

A

0.8 BN

2432

Driver Heated Seat Back Element Supply Voltage

B

0.8 L-GN

2078

Heated Seat Cushion Element Control

C

0.35 YE/BK

2079

Heated Seat Cushion Temperature Sensor Signal

D

0.35 YE

2080

Low Reference

Heated Seat Element - Passenger Back (KA1)


Object Number: 39661  Size: CH

Connector Part Information

  • OEM: 12047786
  • Service: 12085536
  • Description: 4-Way M Metri-Pack 150 Series, Unsealed (BK)

Terminal Part Information

  • Terminal/Tray: 12047581/2
  • Core/Insulation Crimp: Pins A, B - E/A
  • Core/Insulation Crimp: Pins C, D - E/C
  • Release Tool/Test Probe: 12094429/J-35616-3 (GY)

Heated Seat Element - Passenger Back (KA1)

Pin

Wire

Circuit

Function

A

0.8 D-BU

2479

Passenger Heated Seat Element Supply Voltage

B

0.8 L-BU

2433

Passenger Heated Seat Back Element Control

C

0.35 TN

2436

Heated Seat Back Temperature Sensor Signal

D

0.35 TN

2482

Low Reference

Heated Seat Element - Passenger Cushion (KA1)


Object Number: 39661  Size: CH

Connector Part Information

  • OEM: 12047786
  • Service: 12085536
  • Description: 4-Way M Metri-Pack 150 Series, Unsealed (BK)

Terminal Part Information

  • Terminal/Tray: 12047581/2
  • Core/Insulation Crimp: Pins A, B - E/A
  • Core/Insulation Crimp: Pins C, D - E/C
  • Release Tool/Test Probe: 12094429/J-35616-3 (GY)

Heated Seat Element - Passenger Cushion (KA1)

Pin

Wire

Circuit

Function

A

0.8 D-BU

2479

Passenger Heated Seat Element Supply Voltage

B

0.8 PK

2480

Passenger Heated Seat Cushion Element Control

C

0.35 GY

2434

Passenger Heated Seat Cushion Temperature Sensor Signal

D

0.35 L-BU

5476

Low Reference

Heated Seat Switch - Driver (KA1)


Object Number: 1399235  Size: CH

Connector Part Information

  • OEM: 30700-1100
  • Service: See Catalog
  • Description: 10-Way F HDAC64 DR Series (GY)

Terminal Part Information

  • Terminal/Tray: 1393364-2/7
  • Core/Insulation Crimp: K/K
  • Release Tool/Test Probe: 15315247/J-35616-64B (L-BU)

Heated Seat Switch - Driver (KA1)

Pin

Wire

Circuit

Function

1

0.35 BN

6173

Driver Heated Seat Switch Back Cushion LED

2

0.35 PU/WH

6816

Heated Seat Indicator Dimming

3

0.35 PU/WH

1382

LED Dimming Signal

4

0.35 D-BU

6172

Driver Heated Seat Switch Back Cushion Signal

5

0.35 GY

6175

Driver Heated Seat Switch Back Signal

6

0.35 L-BU

1662

Driver Heated Seat Low Temperature Indicator Control

7

0.5 BK

750

Ground

8

0.35 WH/BK

6177

Driver Heated Seat Medium Indicator Control

9

0.35 PU

6174

Driver Heated Seat Switch Back LED

10

0.35 D-GN

1661

Driver Heated Seat High Temperature Indicator Control

Heated Seat Switch - Passenger (KA1)


Object Number: 1399235  Size: CH

Connector Part Information

  • OEM: 30700-1101
  • Service: See Catalog
  • Description: 10-Way F HDAC64 DR Series (BK)

Terminal Part Information

  • Terminal/Tray: 1393364-2/7
  • Core/Insulation Crimp: K/K
  • Release Tool/Test Probe: 15315247/J-35616-64B (L-BU)

Heated Seat Switch - Passenger (KA1)

Pin

Wire

Circuit

Function

1

0.35 BN

6179

Passenger Heated Seat Switch Back Cushion LED

2

0.35 PU/WH

6816

Heated Seat Indicator Dimming

3

0.35 PU/WH

1382

LED Dimming Signal

4

0.35 D-BU

6180

Passenger Heated Seat Switch Back Cushion Signal

5

0.35 GY

6182

Passenger Heated Seat Switch Back Signal

6

0.35 TN

1686

Passenger Heated Seat Low Temperature Indicator Control

7

0.5 BK

750

Ground

8

0.35 WH/BK

6185

Passenger Heated Seat Medium Indicator Control

9

0.35 PU

6181

Passenger Heated Seat Switch Back LED

10

0.35 YE

1685

Passenger Heated Seat High Temperature Indicator Control

Hood Ajar Switch (AP3 or AP8)


Object Number: 646415  Size: CH

Connector Part Information

  • OEM: 15326808
  • Service: See Catalog
  • Description: 3-Way F GT 150 Series, Sealed (BK)

Terminal Part Information

  • Terminal/Tray: 12191819/8
  • Core/Insulation Crimp: E/A
  • Release Tool/Test Probe: 15315247/J-35616-2A (GY)

Hood Ajar Switch (AP3 or AP8)

Pin

Wire

Circuit

Function

A

0.35 PK/BK

109

Hood Ajar Switch Signal

B

0.35 PU

5531

Hood Closed Switch Signal

C

0.35 BK

1250

Ground

Horn - High Note


Object Number: 1527729  Size: CH

Connector Part Information

  • OEM: 15419715
  • Service: 88988313
  • Description: 2-Way F GT 150 Series Sealed (GY)

Terminal Part Information

  • Terminal/Tray: 12191819/8
  • Core/Insulation Crimp: Pins A - E/A
  • Core/Insulation Crimp: Pins B - 2/A
  • Release Tool/Test Probe: 15315247/J-35616-2A (GY)

Horn - High Note

Pin

Wire

Circuit

Function

A

0.5 BK

1250

Ground

B

0.8 D-GN

1329

Horn Fuse Supply Voltage

Horn - Low Note


Object Number: 1527729  Size: CH

Connector Part Information

  • OEM: 15419715
  • Service: 88988313
  • Description: 2-Way F GT 150 Series Sealed (GY)

Terminal Part Information

  • Terminal/Tray: 12191819/8
  • Core/Insulation Crimp: Pins A - E/A
  • Core/Insulation Crimp: Pins B - 2/A
  • Release Tool/Test Probe: 15315247/J-35616-2A (GY)

Horn - Low Note

Pin

Wire

Circuit

Function

A

0.5 BK

1250

Ground

B

0.8 D-GN

1329

Horn Fuse Supply Voltage

Horn Switch X1


Object Number: 1862166  Size: CH

Connector Part Information

  • OEM: 2-521102-2
  • Service: See Catalog
  • Description: 1-Way F 4.75 Series (RD)

Terminal Part Information

  • Terminal/Tray: See Terminal Repair Kit
  • Core/Insulation Crimp: See Terminal Repair Kit
  • Release Tool/Test Probe: See Terminal Repair Kit

Horn Switch X1

Pin

Wire

Circuit

Function

1

0.35 D-GN

29

Horn Control

Horn Switch X2


Object Number: 1862161  Size: CH

Connector Part Information

  • OEM: 2-520128-2
  • Service: See Catalog
  • Description: 1-Way F 6.35 Series (RD)

Terminal Part Information

  • Terminal/Tray: See Terminal Repair Kit
  • Core/Insulation Crimp: See Terminal Repair Kit
  • Release Tool/Test Probe: See Terminal Repair Kit

Horn Switch X2

Pin

Wire

Circuit

Function

1

0.35 BK/WH

1550

Ground

HVAC Control Assembly - Auxiliary (without UK6)


Object Number: 1711011  Size: CH

Connector Part Information

  • OEM: 89047355
  • Service: See Catalog
  • Description: 10-Way F 0.64 Unsealed (BK)

Terminal Part Information

  • Terminal/Tray: 7116-4618-02/14
  • Core/Insulation Crimp: P/P
  • Release Tool/Test Probe: J-38125-215/J-35616-64B (L-BU)

HVAC Control Assembly - Auxiliary (without UK6)

Pin

Wire

Circuit

Function

1

0.35 GY

8

Instrument Panel Lamp Supply Voltage

2

0.5 BK

750

Ground

3

0.5 GY

596

5-Volt Reference

4

0.5 GY/BK

1798

Low Reference

5-6

--

--

Not Used

7

0.5 PU/WH

760

Auxiliary Blower Motor Speed Control

8

0.5 YE

2214

Auxiliary Air Temperature Door Control

9

--

--

Not Used

10

0.5 OG

2615

Auxiliary Mode Door Control

HVAC Control Module X1


Object Number: 1715226  Size: CH

Connector Part Information

  • OEM: 15126709
  • Service: See Catalog
  • Description: 20-Way F USCAR 0.64 Series (BN)

Terminal Part Information

  • Terminal/Tray: 7116-4618-02/14
  • Core/Insulation Crimp: P/P
  • Release Tool/Test Probe: J-38125-215/J-35616-64B (L-BU)

HVAC Control Module X1

Pin

Wire

Circuit

Function

1-3

--

--

Not Used

4

0.35 D-GN

734

Inside Air Temperature Sensor Signal (CJ2)

5

0.35 GY

1548

Passenger Sunload Sensor Signal (CJ2)

6-7

--

--

Not Used

8

0.5 PK

2145

Air Temperature Switch Signal - Right (C67)

0.5 PU/WH

760

Auxiliary Blower Motor Speed Control (CJ2 without UK6)

9

0.5 OG

2615

Auxiliary Mode Door Control (without UK6)

10

0.5 YE

2214

Auxiliary Air Temperature Door Control (without UK6)

11-14

--

--

Not Used

15

0.35 L-BU/BK

590

Driver Sunload Sensor Signal (CJ2)

16

0.35 TN

516

Upper Left Air Temperature Sensor Signal (CJ2)

17

0.35 TN

517

Upper Right Air Temperature Sensor Signal (CJ2)

18

0.5 GY

2599

Auxiliary Mode Door Control (C67)

0.5 PK

2145

Air Temperature Switch Signal - Right (CJ2)

19

0.5 PU/WH

760

Auxiliary Blower Motor Speed Control (C67 without UK6)

0.5 GY

2599

Auxiliary Mode Door Control (CJ2)

20

--

--

Not Used

HVAC Control Module X2 (C67)


Object Number: 1715229  Size: CH

Connector Part Information

  • OEM: 7283-9080-90
  • Service: See Catalog
  • Description: 16-Way F USCAR 0.64 Series (BU)

Terminal Part Information

  • Terminal/Tray: 7116-4618-02/14
  • Core/Insulation Crimp: P/P
  • Release Tool/Test Probe: J-38125-215/J-35616-64B (L-BU)

HVAC Control Module X2 (C67)

Pin

Wire

Circuit

Function

1

0.35 PU/WH

1382

LED Dimming Signal

2

0.35 OG

300

Power Mode

3

0.35 BK/WH

1551

Ground

4

0.5 RD/WH

4540

Battery Positive Voltage

5

0.35 D-GN

5060

Low Speed GMLAN Serial Data

6-7

--

--

Not Used

8

0.35 WH

193

Rear Defog Relay Control

9

0.35 L-GN/BK

735

Ambient Air Temperature Sensor Signal

10

0.35 BK

1450

Ground

11

--

--

Not Used

12

0.35 YE

61

Low Reference

13-16

--

--

Not Used

HVAC Control Module X2 (CJ2)


Object Number: 1711013  Size: CH

Connector Part Information

  • OEM: 7283-9076-30
  • Service: See Catalog
  • Description: 16-Way F Kaizen 0.64 Series (BK)

Terminal Part Information

  • Terminal/Tray: 7116-4618-02/14
  • Core/Insulation Crimp: P/P
  • Release Tool/Test Probe: J-38125-215/J-35616-64B (L-BU)

HVAC Control Module X2 (CJ2)

Pin

Wire

Circuit

Function

1

0.5 RD/WH

4540

Battery Positive Voltage

2-3

--

--

Not Used

4

0.35 L-GN/BK

735

Ambient Air Temperature Sensor Signal

5

0.35 D-GN

5060

Low Speed GMLAN Serial Data

6-7

--

--

Not Used

8

0.35 BK/WH

1551

Ground

9

0.35 OG

300

Power Mode

10

0.35 WH

193

Rear Defog Relay Control

11-15

--

--

Not Used

16

0.35 YE

61

Low Reference

HVAC Control Module X3


Object Number: 1715228  Size: CH

Connector Part Information

  • OEM: 15126710
  • Service: 15126710
  • Description: 20-Way F (GY)

Terminal Part Information

  • Terminal/Tray: SAIT-A03T-M064/14
  • Core/Insulation Crimp: P/P
  • Release Tool/Test Probe: J-38125-215A/J35616-64B (L-BU)

HVAC Control Module X3

Pin

Wire

Circuit

Function

1

0.35 TN

518

Lower Left Air Temperature Sensor Signal (CJ2)

2

0.35 L-GN

2275

Mode Door Position Signal

3

0.35 PU

1838

Recirculation Door Position Signal

4

0.35 GY/BK

754

Blower Motor Speed Control

5

0.35 TN

2273

Mode Door Control

6

0.35 D-BU

1199

Air Temperature Door Control (CJ2)

7

0.35 D-GN

1614

Recirculation Door Control B

8

0.35 WH/BK

1236

Auxiliary Air Temperature Door Control

9

--

--

Not Used

10

0.35 GY

598

5-Volt Reference

11

0.35 TN

520

Lower Right Air Temperature Sensor Signal (CJ2)

12

0.35 L-BU

733

Air Temperature Door Position Signal (CJ2)

13

0.35 D-BU

1646

Auxiliary Air Temperature Door Position Signal

14

0.35 WH

2622

Evaporator Temperature Sensor Signal

15

0.35 WH

119

Mode Door Control

16

0.35 L-GN

2210

Air Temperature Door Control (CJ2)

17

0.35 TN/BK

2274

Recirculation Door Control A

18

0.35 GY/BK

2778

Right Air Temperature Door Control A

19

0.35 TN

552

Low Reference

20

0.35 YE

1791

Low Reference

HVAC Control Module X4


Object Number: 1715225  Size: CH

Connector Part Information

  • OEM: 7283-9079-60
  • Service: See Catalog
  • Description: 16-Way F 064 Series Unsealed (GN)

Terminal Part Information

  • Terminal/Tray: 7116-4618-02/14
  • Core/Insulation Crimp: P/P
  • Release Tool/Test Probe: J-38125-215/J-35616-64B (L-BU)

HVAC Control Module X4

Pin

Wire

Circuit

Function

1

--

--

Not Used

2

0.5 GY

596

5-Volt Reference

3

0.5 L-GN/WH

5729

Auxiliary Mode Motor Supply Voltage

4

0.5 BN

6555

Auxiliary Temperature Motor Supply Voltage

5

0.5 GY/BK

1798

Low Reference (C67)

6

0.5 GY/BK

1798

Low Reference

7-9

--

--

Not Used

10

0.5 D-GN

2211

Auxiliary Blower Motor Speed Control

11

0.5 OG

2215

Auxiliary Mode Door Control

12

0.5 GY

2614

Auxiliary Air Temperature Door Control

13-16

--

--

Not Used

I/P Compartment Lamp


Object Number: 82383  Size: CH

Connector Part Information

  • OEM: 12047662
  • Service: 12085535
  • Description: 2-Way F Metri-Pack 150 Series (BK)

Terminal Part Information

  • Terminal/Tray: 12064971/5
  • Core/Insulation Crimp: E/C
  • Release Tool/Test Probe: 12094429/J-35616-14 (GN)

I/P Compartment Lamp

Pin

Wire

Circuit

Function

A

0.5 OG

1732

Courtesy Lamps Supply Voltage

B

0.5 BK

750

Ground

I/P Courtesy Lamp - Left


Object Number: 82383  Size: CH

Connector Part Information

  • OEM: 12047662
  • Service: 12085535
  • Description: 2-Way F Metri-Pack 150 Series (BK)

Terminal Part Information

  • Terminal/Tray: 12064971/5
  • Core/Insulation Crimp: E/C
  • Release Tool/Test Probe: 12094429/J-35616-14 (GN)

I/P Courtesy Lamp - Left

Pin

Wire

Circuit

Function

A

0.5 GY/BK

690

Courtesy Lamp High Control

B

0.5 BK

750

Ground

I/P Courtesy Lamp - Right


Object Number: 82383  Size: CH

Connector Part Information

  • OEM: 12047662
  • Service: 12085535
  • Description: 2-Way F Metri-Pack 150 Series (BK)

Terminal Part Information

  • Terminal/Tray: 12064971/5
  • Core/Insulation Crimp: E/C
  • Release Tool/Test Probe: 12094429/J-35616-14 (GN)

I/P Courtesy Lamp - Right

Pin

Wire

Circuit

Function

A

0.5 GY/BK

690

Courtesy Lamp High Control

B

0.5 BK

750

Ground

I/P Switch Assembly


Object Number: 1664569  Size: CH

Connector Part Information

  • OEM: 31410-1120
  • Service: See Catalog
  • Description: 12-Way F 0.64 Series (BK)

Terminal Part Information

  • Terminal/Tray: 7116-4618-02/14
  • Core/Insulation Crimp: P/P
  • Release Tool/Test Probe: J-38125-215/J-35616-64B (L-BU)

I/P Switch Assembly

Pin

Wire

Circuit

Function

1

0.35 BN/WH

1571

Traction Control Switch Signal

2

--

--

Not Used

3

0.35 BK

750

Ground

4

0.35 PU/WH

1382

LED Dimming Signal

5

0.35 GY

391

Rear Window Wiper Switch Signal (W49)

6

0.35 WH

2283

Rear Wiper/Washer Switch Supply Voltage (W49)

7

0.35 D-GN/WH

5800

Liftgate Open/Close Switch Signal (E61)

8

0.35 D-GN

6112

Power Liftgate On/Off Switch Signal (E61)

9-10

--

--

Not Used

11

0.35 L-BU

553

Tow/Haul Switch Signal

12

0.35 L-GN

2270

Rear Window Washer Relay Control (W49)

Ignition Coil 1 (LY7)


Object Number: 1653384  Size: CH

Connector Part Information

  • OEM: 15466325
  • Service: 88988737
  • Description: 4-Way F Global Terminal/150 (BK)

Terminal Part Information

  • Terminal/Tray: 12191819/8
  • Core/Insulation Crimp: Pins A, D - 2/A
  • Core/Insulation Crimp: Pins B, C - E/A
  • Release Tool/Test Probe: 15315247/J-35616-2A (GY)

Ignition Coil 1 (LY7)

Pin

Wire

Circuit

Function

A

1 BK

2550

Ground

B

0.5 PU

6413

Low Reference

C

0.5 BN/WH

6405

Ignition Coil 1 Control

D

1 PK/BK

5291

Ignition Voltage

Ignition Coil 2 (LY7)


Object Number: 1653384  Size: CH

Connector Part Information

  • OEM: 15466325
  • Service: 88988737
  • Description: 4-Way F Global Terminal/150 (BK)

Terminal Part Information

  • Terminal/Tray: 12191819/8
  • Core/Insulation Crimp: Pins A, D - 2/A
  • Core/Insulation Crimp: Pins B, C - E/A
  • Release Tool/Test Probe: 15315247/J-35616-2A (GY)

Ignition Coil 2 (LY7)

Pin

Wire

Circuit

Function

A

1 BK

2650

Ground

B

0.5 PK

6414

Low Reference

C

0.5 D-BU/WH

6406

Ignition Coil 2 Control

D

1 PK/BK

5292

Ignition Voltage

Ignition Coil 3 (LY7)


Object Number: 1653384  Size: CH

Connector Part Information

  • OEM: 15466325
  • Service: 88988737
  • Description: 4-Way F Global Terminal/150 (BK)

Terminal Part Information

  • Terminal/Tray: 12191819/8
  • Core/Insulation Crimp: Pins A, D - 2/A
  • Core/Insulation Crimp: Pins B, C - E/A
  • Release Tool/Test Probe: 15315247/J-35616-2A (GY)

Ignition Coil 3 (LY7)

Pin

Wire

Circuit

Function

A

1 BK

2550

Ground

B

0.5 PU

6413

Low Reference

C

0.5 D-GN/WH

6407

Ignition Coil 3 Control

D

1 PK/BK

5291

Ignition Voltage

Ignition Coil 4 (LY7)


Object Number: 1653384  Size: CH

Connector Part Information

  • OEM: 15466325
  • Service: 88988737
  • Description: 4-Way F Global Terminal/150 (BK)

Terminal Part Information

  • Terminal/Tray: 12191819/8
  • Core/Insulation Crimp: Pins A, D - 2/A
  • Core/Insulation Crimp: Pins B, C - E/A
  • Release Tool/Test Probe: 15315247/J-35616-2A (GY)

Ignition Coil 4 (LY7)

Pin

Wire

Circuit

Function

A

1 BK

2650

Ground

B

0.5 PK

6414

Low Reference

C

0.5 L-BU/WH

6408

Ignition Coil 4 Control

D

1 PK/BK

5292

Ignition Voltage

Ignition Coil 5 (LY7)


Object Number: 1653384  Size: CH

Connector Part Information

  • OEM: 15466325
  • Service: 88988737
  • Description: 4-Way F Global Terminal/150 (BK)

Terminal Part Information

  • Terminal/Tray: 12191819/8
  • Core/Insulation Crimp: Pins A, D - 2/A
  • Core/Insulation Crimp: Pins B, C - E/A
  • Release Tool/Test Probe: 15315247/J-35616-2A (GY)

Ignition Coil 5 (LY7)

Pin

Wire

Circuit

Function

A

1 BK

2550

Ground

B

0.5 PU

6413

Low Reference

C

0.5 L-GN/WH

6409

Ignition Coil 5 Control

D

1 PK/BK

5291

Ignition Voltage

Ignition Coil 6 (LY7)


Object Number: 1653384  Size: CH

Connector Part Information

  • OEM: 15466325
  • Service: 88988737
  • Description: 4-Way F Global Terminal/150 (BK)

Terminal Part Information

  • Terminal/Tray: 12191819/8
  • Core/Insulation Crimp: Pins A, D - 2/A
  • Core/Insulation Crimp: Pins B, C - E/A
  • Release Tool/Test Probe: 15315247/J-35616-2A (GY)

Ignition Coil 6 (LY7)

Pin

Wire

Circuit

Function

A

1 BK

2650

Ground

B

0.5 PK

6414

Low Reference

C

0.5 PU/WH

6410

Ignition Coil 6 Control

D

1 PK/BK

5292

Ignition Voltage

Ignition Lock Cylinder Control Actuator


Object Number: 1856797  Size: CH

Connector Part Information

  • OEM: 7283725830
  • Service: See Catalog
  • Description: 2-Way F GT 150 Unsealed (BK)

Terminal Part Information

  • Terminal/Tray: 12191812/19
  • Core/Insulation Crimp: E/C
  • Release Tool/Test Probe: 15315247/J-35616-2A (GY)

Ignition Lock Cylinder Control Actuator

Pin

Wire

Circuit

Function

1

0.35 BK

1450

Ground

2

0.35 PU/WH

1630

Steering Column Key Cylinder Lock Solenoid Control

Ignition Switch


Object Number: 1664590  Size: CH

Connector Part Information

  • OEM: HCMPBC06K
  • Service: See Catalog
  • Description: 6-Way F (BK)

Terminal Part Information

  • Terminal/Tray: SHCM-A03T-P025/20
  • Core/Insulation Crimp: J/J
  • Release Tool/Test Probe: 12094429/J-35616-64B (L-BU)

Ignition Switch

Pin

Wire

Circuit

Function

1

0.35 PK

3

Ignition Voltage

2

0.35 RD/WH

1040

Battery Positive Voltage

3

0.35 BN

4

Accessory Voltage

4

0.35 WH

1390

Off/Run/Crank Voltage

5

--

--

Not Used

6

0.35 WH/BK

1073

Ignition Key Resistor Signal

Inflatable Restraint Front End Sensor - Left


Object Number: 744046  Size: CH

Connector Part Information

  • OEM: 15356723
  • Service: 15306439
  • Description: 2-Way F GT 150 Sealed 4.0 (YE)

Terminal Part Information

  • Terminal/Tray: Service With Pigtail
  • Core/Insulation Crimp: N/A
  • Release Tool/Test Probe: 15315247/J-35616-2A (GY)

Inflatable Restraint Front End Sensor - Left

Pin

Wire

Circuit

Function

A

0.35 TN/OG

5045

Low Reference

B

0.35 YE

354

Discriminating Sensor - Signal

Inflatable Restraint Front End Sensor - Right


Object Number: 744046  Size: CH

Connector Part Information

  • OEM: 15356723
  • Service: 15306439
  • Description: 2-Way F GT 150 Sealed 4.0 (YE)

Terminal Part Information

  • Terminal/Tray: Service With Pigtail
  • Core/Insulation Crimp: N/A
  • Release Tool/Test Probe: 15315247/J-35616-2A (GY)

Inflatable Restraint Front End Sensor - Right

Pin

Wire

Circuit

Function

A

0.35 GY

5054

Low Reference

B

0.35 D-GN

1409

Discriminating Sensor - Right - Signal

Inflatable Restraint Front Passenger Presence System (PPS) Sensor


Object Number: 1464340  Size: CH

Connector Part Information

  • OEM: 15332142
  • Service: 89046638
  • Description: 6-Way M GT 150/280 Series, Sealed (BK)

Terminal Part Information

  • Terminal/Tray: Service With Pigtail
  • Core/Insulation Crimp: N/A
  • Release Tool/Test Probe: 15315247/J-35616-3 (GY)

Inflatable Restraint Front Passenger Presence System (PPS) Sensor

Pin

Wire

Circuit

Function

A

0.35 RD/WH

1340

Battery Positive Voltage

B

0.35 D-GN

5060

Low Speed GMLAN Serial Data

C

--

--

Not Used

D

0.35 BK/WH

1751

Ground

E-F

--

--

Not Used

Inflatable Restraint I/P Module


Object Number: 684931  Size: CH

Connector Part Information

  • OEM: 15336476
  • Service: 15336476
  • Description: 4-Way M MP 280 Series (YE)

Terminal Part Information

  • Terminal/Tray: See Terminal Repair Kit
  • Core/Insulation Crimp: See Terminal Repair Kit
  • Release Tool/Test Probe: See Terminal Repair Kit

Inflatable Restraint I/P Module

Pin

Wire

Circuit

Function

A1

0.35 OG

3024

I/P Module - Stage 1 - Low Control

A2

0.35 YE

3025

I/P Module - Stage 1 - High Control

B1

0.35 PU

3026

I/P Module - Stage 2 - Low Control

B2

0.35 GY

3027

I/P Module - Stage 2 - High Control

Inflatable Restraint I/P Module Indicator


Object Number: 1538776  Size: CH

Connector Part Information

  • OEM: 15398877
  • Service: See Catalog
  • Description: 5-Way F HCM Series (WH)

Terminal Part Information

  • Terminal/Tray: Service With Pigtail
  • Core/Insulation Crimp: N/A
  • Release Tool/Test Probe: 12094429/J-35616-64B (L-BU)

Inflatable Restraint I/P Module Indicator

Pin

Wire

Circuit

Function

1

0.35 D-BU

2307

Passenger Air Bag On Indicator Control

2

0.35 BK

1450

Ground

3

0.35 D-GN

2308

Passenger Air Bag Off Indicator Control

4

0.35 PK

1139

Ignition Voltage

5

0.35 PU

5234

Passenger Seat Belt Indicator

Inflatable Restraint Roof Rail Module - Driver


Object Number: 646194  Size: CH

Connector Part Information

  • OEM: 12186799
  • Service: 15306012
  • Description: 2-Way M Metri-Pack 280 Series (YE)

Terminal Part Information

  • Terminal/Tray: 12066337/18
  • Core/Insulation Crimp: E/A
  • Release Tool/Test Probe: 12094429/J-35616-5 (PU)

Inflatable Restraint Roof Rail Module - Driver

Pin

Wire

Circuit

Function

A

0.35 PU/WH

5019

Roof Rail Module - Left - High Control

B

0.35 PK

5020

Roof Rail Module - Left - Low Control

Inflatable Restraint Roof Rail Module - Passenger


Object Number: 646194  Size: CH

Connector Part Information

  • OEM: 12186799
  • Service: 15306012
  • Description: 2-Way M Metri-Pack 280 Series (YE)

Terminal Part Information

  • Terminal/Tray: 12066337/18
  • Core/Insulation Crimp: E/A
  • Release Tool/Test Probe: 12094429/J-35616-5 (PU)

Inflatable Restraint Roof Rail Module - Passenger

Pin

Wire

Circuit

Function

A

0.35 YE/BK

5021

Roof Rail Module - Right - High Control

B

0.35 WH/BK

5022

Roof Rail Module - Right - Low Control

Inflatable Restraint Sensing and Diagnostic Module (SDM)


Object Number: 1468532  Size: CH

Connector Part Information

  • OEM: 2-184464-2
  • Service: See Catalog
  • Description: 60-Way F GET Series (YE)

Terminal Part Information

  • Terminal/Tray: Service With Terminated Lead
  • Core/Insulation Crimp: N/A
  • Release Tool/Test Probe: 15315247/J-35616-64B (L-BU)

Inflatable Restraint Sensing and Diagnostic Module (SDM)

Pin

Wire

Circuit

Function

1

0.5 BK/WH

1751

Ground

2

0.35 D-GN

5060

Low Speed GMLAN Serial Data

3

0.35 D-GN

5060

Low Speed GMLAN Serial Data

4

0.35 PK

3022

Steering Wheel Module - Stage 2 - Low Control

5

0.35 WH

3023

Steering Wheel Module - Stage 2 - High Control

6

0.35 GY

3027

I/P Module - Stage 2 - High Control

7

0.35 PU

3026

I/P Module - Stage 2 - Low Control

8

0.35 BN

3020

Steering Wheel Module - Stage 1 - Low Control

9

0.35 TN

3021

Steering Wheel Module - Stage 1 - High Control

10

0.35 YE

3025

I/P Module - Stage 1 - High Control

11

0.35 OG

3024

I/P Module - Stage 1 - Low Control

12

0.5 YE/BK

2138

Side Impact Module - Left Front - Low Control

13

0.5 BN

2137

Side Impact Module - Left Front - High Control

14

0.5 TN/WH

2135

Side Impact Module - Right Front - High Control

15

0.5 L-GN

2136

Side Impact Module - Right Front - Low Control

16-19

--

--

Not Used

20

0.5 PK

5020

Roof Rail Module - Left - Low Control

21

0.5 PU/WH

5019

Roof Rail Module - Left - High Control

22

0.5 YE/BK

5021

Roof Rail Module - Right - High Control

23

0.5 WH/BK

5022

Roof Rail Module - Right - Low Control

24

0.5 OG/BK

2119

Seat Belt Pretensioner - Left - Low Control

25

0.5 TN/WH

2118

Seat Belt Pretensioner - Left - High Control

26

0.5 L-GN

2116

Seat Belt Pretensioner - Right - High Control

27

0.5 OG

2117

Seat Belt Pretensioner - Right - Low Control

28

0.35 PK

5057

Low Reference

29

--

--

Not Used

30

0.35 L-BU

5056

Seat Position Sensor - Right - Signal (W49)

31

0.35 RD/WH

1340

Battery Positive Voltage

32

0.5 PK

1139

Ignition Voltage

33-35

--

--

Not Used

36

0.35 YE

354

Discriminating Sensor - Signal

37

0.35 D-GN

1409

Discriminating Sensor - Right - Signal

38

0.35 TN/OG

5045

Front End Sensor - Signal

39

0.35 GY

5600

Low Reference

40

0.35 PU/WH

6628

Low Reference

41

0.35 WH/BK

6629

Low Reference

42

0.35 WH

2132

Side Impact Sensing Module - Left - Signal

43

0.35 D-GN

2134

Side Impact Sensing Module - Right - Signal

44

0.35 L-BU

6622

Left Rear Side Impact Sensing Module Signal

45

0.35 L-BU/WH

6626

Right Rear Side Impact Sensing Module Signal

46

0.35 L-GN/BK

6623

Low Reference

47

0.35 PK/BK

6627

Low Reference

48-57

--

--

Not Used

58

0.35 YE/BK

5229

Roll Over Sensor High Signal

59

0.35 D-GN

5016

Seat Belt Switch - Left - Signal

60

0.35 OG

1362

Seat Belt Switch - Right - Signal

Inflatable Restraint Side Impact Module - Left


Object Number: 2152685  Size: CH

Connector Part Information

  • OEM: 19153427
  • Service: 19208396
  • Description: 2-Way F 0.64 Series Unsealed (YE)

Terminal Part Information

  • Terminal/Tray: 19153427/14
  • Core/Insulation Crimp: N/A
  • Release Tool/Test Probe: N/A)

Inflatable Restraint Side Impact Module - Left

Pin

Wire

Circuit

Function

1

0.5 BN

2137

Side Impact Module - Left Front - High Control

2

0.5 YE/BK

2138

Side Impact Module - Left Front - Low Control

Inflatable Restraint Side Impact Module - Right


Object Number: 2152685  Size: CH

Connector Part Information

  • OEM: 19153427
  • Service: 19208396
  • Description: 2-Way F 0.64 Series Unsealed (YE)

Terminal Part Information

  • Terminal/Tray: 19153427/14
  • Core/Insulation Crimp: N/A
  • Release Tool/Test Probe: N/A

Inflatable Restraint Side Impact Module - Right

Pin

Wire

Circuit

Function

1

0.5 TN/WH

2135

Side Impact Module - Right Front - High Control

2

0.5 L-GN

2136

Side Impact Module - Right Front - Low Control

Inflatable Restraint Side Impact Sensor (SIS) - Left Front


Object Number: 744046  Size: CH

Connector Part Information

  • OEM: 15356723
  • Service: 15306439
  • Description: 2-Way F GT 150 Sealed 4.0 (YE)

Terminal Part Information

  • Terminal/Tray: Service With Pigtail
  • Core/Insulation Crimp: N/A
  • Release Tool/Test Probe: 15315247/J-35616-2A (GY)

Inflatable Restraint Side Impact Sensor (SIS) - Left Front

Pin

Wire

Circuit

Function

A

0.35 PU/WH

6628

Low Reference

B

0.35 WH

2132

Side Impact Sensing Module - Left - Signal

Inflatable Restraint Side Impact Sensor (SIS) - Left Rear


Object Number: 744046  Size: CH

Connector Part Information

  • OEM: 15356723
  • Service: 15306439
  • Description: 2-Way F GT 150 Sealed 4.0 (YE)

Terminal Part Information

  • Terminal/Tray: Service With Pigtail
  • Core/Insulation Crimp: N/A
  • Release Tool/Test Probe: 15315247/J-35616-2A (GY)

Inflatable Restraint Side Impact Sensor (SIS) - Left Rear

Pin

Wire

Circuit

Function

A

0.35 L-GN/BK

6623

Low Reference

B

0.35 L-BU

6622

Left Rear Side Impact Sensing Module Signal

Inflatable Restraint Side Impact Sensor (SIS) - Right Front


Object Number: 744046  Size: CH

Connector Part Information

  • OEM: 15356723
  • Service: 15306439
  • Description: 2-Way F GT 150 Sealed 4.0 (YE)

Terminal Part Information

  • Terminal/Tray: Service With Pigtail
  • Core/Insulation Crimp: N/A
  • Release Tool/Test Probe: 15315247/J-35616-2A (GY)

Inflatable Restraint Side Impact Sensor (SIS) - Right Front

Pin

Wire

Circuit

Function

A

0.35 WH/BK

6629

Low Reference

B

0.35 D-GN

2134

Side Impact Sensing Module - Right - Signal

Inflatable Restraint Side Impact Sensor (SIS) - Right Rear


Object Number: 744046  Size: CH

Connector Part Information

  • OEM: 15356723
  • Service: 15306439
  • Description: 2-Way F GT 150 Sealed 4.0 (YE)

Terminal Part Information

  • Terminal/Tray: Service With Pigtail
  • Core/Insulation Crimp: N/A
  • Release Tool/Test Probe: 15315247/J-35616-2A (GY)

Inflatable Restraint Side Impact Sensor (SIS) - Right Rear

Pin

Wire

Circuit

Function

A

0.35 PK/BK

6627

Low Reference

B

0.35 L-BU/WH

6626

Right Rear Side Impact Sensing Module Signal

Inflatable Restraint Steering Wheel Module Coil X1


Object Number: 1862241  Size: CH

Connector Part Information

  • OEM: 15269795
  • Service: See Catalog
  • Description: 10-Way F AIT II Series (BK)

Terminal Part Information

  • Terminal/Tray: Service With Terminated Lead
  • Core/Insulation Crimp: N/A
  • Release Tool/Test Probe: J-38125-215/J-35616-64B (L-BU)

Inflatable Restraint Steering Wheel Module Coil X1

Pin

Wire

Circuit

Function

1

0.35 TN

28

Horn Relay Control

2

0.35 PU

1375

12-Volt Reference

3

0.35 PU/WH

7005

LED Dimming Signal

4

0.35 BK/WH

1551

Ground

5

0.35 GY

1884

Cruise Control Switch Signal

6

0.35 GN/WH

7158

Cruise Control Indicator Dimming Signal

7

0.35 D-BU

1796

Steering Wheel Controls Signal (UK3)

8-10

--

--

Not Used

Inflatable Restraint Steering Wheel Module Coil X2


Object Number: 1862241  Size: CH

Connector Part Information

  • OEM: 15269795
  • Service: See Catalog
  • Description: 10-Way F AIT II Series (BK)

Terminal Part Information

  • Terminal/Tray: Service With Terminated Lead
  • Core/Insulation Crimp: N/A
  • Release Tool/Test Probe: J-38125-215/J-35616-64B (L-BU)

Inflatable Restraint Steering Wheel Module Coil X2

Pin

Wire

Circuit

Function

1-3

--

--

Not Used

4

0.35 D-BU

1796

Steering Wheel Controls Signal (UK3)

5

0.35 GN/WH

7158

Cruise Control Indicator Dimming Signal

6

0.35 GY

1884

Cruise Control Switch Signal

7

0.35 BK/WH

1551

Ground

8

0.35 PU/WH

7005

LED Dimming Signal

9

0.35 PU

1375

12-Volt Reference

10

0.35 D-GN

29

Horn Control

Inflatable Restraint Steering Wheel Module Coil X3


Object Number: 1399226  Size: CH

Connector Part Information

  • OEM: 15393421
  • Service: 88987853
  • Description: 4-Way F Micro-Pack 064 Series (YE)

Terminal Part Information

  • Terminal/Tray: Service With Pigtail
  • Core/Insulation Crimp: N/A
  • Release Tool/Test Probe: 12180559-1/J-35616-64B (L-BU)

Inflatable Restraint Steering Wheel Module Coil X3

Pin

Wire

Circuit

Function

1

0.35 TN

3021

Steering Wheel Module - Stage 1 - High Control

2

0.35 BN

3020

Steering Wheel Module - Stage 1 - Low Control

3

0.35 WH

3023

Steering Wheel Module - Stage 2 - High Control

4

0.35 PK

3022

Steering Wheel Module - Stage 2 - Low Control

Inflatable Restraint Steering Wheel Module X1


Object Number: 1841819  Size: CH

Connector Part Information

  • OEM: 54560236
  • Service: See Catalog
  • Description: 2-Way F (GY)

Terminal Part Information

  • Terminal/Tray: See Terminal Repair Kit
  • Core/Insulation Crimp: See Terminal Repair Kit
  • Release Tool/Test Probe: See Terminal Repair Kit

Inflatable Restraint Steering Wheel Module X1

Pin

Wire

Circuit

Function

1

0.35 TN

3021

Steering Wheel Module - Stage 1 - High Control

2

0.35 BN

3020

Steering Wheel Module - Stage 1 - Low Control

Inflatable Restraint Steering Wheel Module X2


Object Number: 1841821  Size: CH

Connector Part Information

  • OEM: 54560222
  • Service: See Catalog
  • Description: 2-Way F (PU)

Terminal Part Information

  • Terminal/Tray: See Terminal Repair Kit
  • Core/Insulation Crimp: See Terminal Repair Kit
  • Release Tool/Test Probe: See Terminal Repair Kit

Inflatable Restraint Steering Wheel Module X2

Pin

Wire

Circuit

Function

1

0.35 WH

3023

Steering Wheel Module - Stage 2 - High Control

2

0.35 PK

3022

Steering Wheel Module - Stage 2 - Low Control

Inflatable Restraint Vehicle Rollover Sensor


Object Number: 1845399  Size: CH

Connector Part Information

  • OEM: 6189-7001
  • Service: See Catalog
  • Description: 6-Way F 0.64 Series, Sealed (YE)

Terminal Part Information

  • Terminal/Tray: Service With Pigtail
  • Core/Insulation Crimp: N/A
  • Release Tool/Test Probe: 15315247/J-35616-64B (L-BU)

Inflatable Restraint Vehicle Rollover Sensor

Pin

Wire

Circuit

Function

1

0.35 RD/WH

1340

Battery Positive Voltage

2

--

--

Not Used

3

0.35 D-GN

5060

Low Speed GMLAN Serial Data

4

0.35 D-GN

5060

Low Speed GMLAN Serial Data

5

0.35 YE/BK

5229

Roll Over Sensor High Signal

6

0.5 BK/WH

1751

Ground

Infrared Transmitter (U42)


Object Number: 1664488  Size: CH

Connector Part Information

  • OEM: 7283-9078-80
  • Service: See Catalog
  • Description: 16-Way F Kaizen 0.64 Series (BN)

Terminal Part Information

  • Terminal/Tray: 7116-4618-02/14
  • Core/Insulation Crimp: P/P
  • Release Tool/Test Probe: J-38125-215/J-35616-64B (L-BU)

Infrared Transmitter (U42)

Pin

Wire

Circuit

Function

1

0.35 L-BU

5826

Left DVD Audio Signal (+)

2

0.35 PU

6979

DVD Audio Common (-)

3

0.35 WH

5828

Right DVD Audio Signal (+)

4

0.5 PK

5829

Infrared Module Supply Voltage

5-7

--

--

Not Used

8

0.35 OG/BK

5831

Remote Infrared Signal (+)

9

0.35 OG/BK

5329

Left Infrared Audio Signal (+)

10

0.35 BN/WH

5331

Infrared Audio Low Reference

11

0.35 PU/WH

5330

Right Infrared Audio Signal (+)

12

0.5 BK/WH

351

Ground

13-15

--

--

Not Used

16

0.35 TN/WH

5830

Remote Infrared Signal (-)

Input Speed Sensor (ISS)


Object Number: 1910665  Size: CH

Connector Part Information

  • OEM: 15467085
  • Service: Non-Serviceable
  • Description: 2-Way F M/P 150.2 Series P2S (L-GY)

Terminal Part Information

  • Terminal/Tray: Non-Serviceable
  • Core/Insulation Crimp: Non-Serviceable
  • Release Tool/Test Probe: Non-Serviceable

Input Speed Sensor (ISS)

Pin

Wire

Circuit

Function

A

0.5 WH

--

ISS High Signal

B

0.5 BK

--

ISS Low Signal

Inside Air Temperature Sensor (CJ2)


Object Number: 816551  Size: CH

Connector Part Information

  • OEM: 12059252
  • Service: 12102749
  • Description: 2-Way M Metri-Pack 150 Series (RD)

Terminal Part Information

  • Terminal/Tray: 12047581/2
  • Core/Insulation Crimp: E/C
  • Release Tool/Test Probe: 12094429/J-35616-3 (GY)

Inside Air Temperature Sensor (CJ2)

Pin

Wire

Circuit

Function

A

0.35 D-GN

734

Inside Air Temperature Sensor Signal

B

0.35 YE

61

Low Reference

Inside Rearview Mirror


Object Number: 872580  Size: CH

Connector Part Information

  • OEM: 917981-2
  • Service: 15306351
  • Description: 16-Way F 0.040/0.070 HYBRID I/O (BK)

Terminal Part Information

  • Terminal/Tray: 175266-5/15
  • Core/Insulation Crimp: Pins 5, 13, 15, 16 - J/J
  • Core/Insulation Crimp: Pins 8, 9, 11, 12, 14 - K/K
  • Release Tool/Test Probe: 15315247/J-35616-16 (L-GN)

Inside Rearview Mirror

Pin

Wire

Circuit

Function

1-4

--

--

Not Used

5

0.35 GY

1690

Automatic Day/Night Mirror Signal (DNP)

6-7

--

--

Not Used

8

0.5 BK

850

Ground (UE1 or DD7 or DD8)

9

0.5 BK/WH

24

Backup Lamp Supply Voltage (DD8 or DD7)

10

--

--

Not Used

11

0.5 BK/GN

2514

Keypad Signal (UE1)

12

0.5 BK/L-GN

2515

Keypad Supply Voltage (UE1)

13

0.35 BK/YE

43

Ignition Voltage (DD7 or DD8)

14

0.5 BK/GY

2516

Keypad Green LED Signal (UE1)

15

0.35 BN/WH

2517

Keypad Red LED Signal (UE1)

16

0.35 BK/RD

1691

Low Reference (DNP)

Instrument Panel Cluster (IPC)


Object Number: 1715223  Size: CH

Connector Part Information

  • OEM: 15126711
  • Service: See Catalog
  • Description: 20-Way F 0.64 Series (BK)

Terminal Part Information

  • Terminal/Tray: 7116-4618-02/14
  • Core/Insulation Crimp: P/P
  • Release Tool/Test Probe: J-38125-215/J-35616-64B (L-BU)

Instrument Panel Cluster (IPC)

Pin

Wire

Circuit

Function

1

0.35 RD/WH

1840

Battery Positive Voltage

2

0.35 BK/WH

1551

Ground

3

0.35 PK

1139

Ignition 1 Voltage

4

0.35 BN/WH

419

MIL Control

5

--

--

Not Used

6

0.35 PK

893

DIC Select Menu Switch Signal (UH9)

7

0.35 D-GN/WH

1358

DIC Switch Signal (UH9)

8

--

--

Not Used

9

0.35 D-GN

5060

Low Speed GMLAN Serial Data

10

--

--

Not Used

11

0.35 PU

5234

Passenger Seat Belt Indicator

12

0.35 D-BU

2307

Passenger Air Bag On Indicator Control

13

0.35 D-GN

2308

Passenger Air Bag Off Indicator Control

14

0.35 TN

185

Low Washer Fluid Indicator Control

15

0.35 D-BU/WH

5970

Washer Fluid Heated Control Switch LED Supply Voltage (XA7)

16-17

--

--

Not Used

18

0.35 TN/WH

33

Brake Warning Indicator Control

19

0.35 BN

897

Low Reference (UH9)

20

--

--

Not Used

Intake Manifold Tuning (IMT) Solenoid Valve (LY7)


Object Number: 847295  Size: CH

Connector Part Information

  • OEM: 15355331
  • Service: 88987994
  • Description: 4-Way F GT 150 Sealed 3.2 x 4.0 (BK)

Terminal Part Information

  • Terminal/Tray: 15326267/19
  • Core/Insulation Crimp: E/4
  • Release Tool/Test Probe: 15315247/J-35616-2A (GY)

Intake Manifold Tuning (IMT) Solenoid Valve (LY7)

Pin

Wire

Circuit

Function

A

0.5 PK/BK

5293

Powertrain Main Relay Fused Supply

B

0.5 BK/WH

451

Ground

C

0.5 OG

6392

Variable Tuning Control

D

0.5 YE

7017

Variable Intake Manifold Position Signal

Knock Sensor (KS) 1 (LY7)


Object Number: 784092  Size: CH

Connector Part Information

  • OEM: 1928403874
  • Service: 88988963
  • Description: 2-Way F Kompakt 2.8 Series, Sealed (BK)

Terminal Part Information

  • Terminal/Tray: 1928498054/8
  • Core/Insulation Crimp: E/1
  • Release Tool/Test Probe: J-38125-561/J-35616-35 (VT)

Knock Sensor (KS) 1 (LY7)

Pin

Wire

Circuit

Function

1

0.5 D-BU

496

Knock Sensor 1 Signal

2

0.5 GY

1716

Knock Sensor 1 Signal

Knock Sensor (KS) 2 (LY7)


Object Number: 784092  Size: CH

Connector Part Information

  • OEM: 1928403874
  • Service: 88988963
  • Description: 2-Way F Kompakt 2.8 Series, Sealed (BK)

Terminal Part Information

  • Terminal/Tray: 1928498054/8
  • Core/Insulation Crimp: E/1
  • Release Tool/Test Probe: J-38125-561/J-35616-35 (VT)

Knock Sensor (KS) 2 (LY7)

Pin

Wire

Circuit

Function

1

0.5 L-BU

1876

Knock Sensor 2 Signal

2

0.5 TN

407

Knock Sensor 2 Signal

License Lamp - Left


Object Number: 1906265  Size: CH

Connector Part Information

  • OEM: V10170
  • Service: See Catalog
  • Description: 2-Way F Molded Wedge Base Lamp Socket (WH)

Terminal Part Information

  • Terminal/Tray: See Terminal Repair Kit
  • Core/Insulation Crimp: See Terminal Repair Kit
  • Release Tool/Test Probe: See Terminal Repair Kit

License Lamp - Left

Pin

Wire

Circuit

Function

A

0.5 WH

--

Left Park Lamp Supply Voltage (WDA or Z88)

0.5 BK

--

Left Park Lamp Supply Voltage (W49)

B

0.5 BK

--

Ground (WDA or Z88)

0.5 WH

--

Ground (W49)

License Lamp - Right


Object Number: 1906265  Size: CH

Connector Part Information

  • OEM: V10170
  • Service: See Catalog
  • Description: 2-Way F Molded Wedge Base Lamp Socket (WH)

Terminal Part Information

  • Terminal/Tray: See Terminal Repair Kit
  • Core/Insulation Crimp: See Terminal Repair Kit
  • Release Tool/Test Probe: See Terminal Repair Kit

License Lamp - Right

Pin

Wire

Circuit

Function

A

0.5 WH

--

Left Park Lamp Supply Voltage (WDA or Z88)

0.5 BK

--

Left Park Lamp Supply Voltage (W49)

B

0.5 BK

--

Ground (WDA or Z88)

0.5 WH

--

Ground (W49)

Liftgate Control Switch - Exterior


Object Number: 1853533  Size: CH

Connector Part Information

  • OEM: 7282-6444-60
  • Service: See Catalog
  • Description: 2-Way M 1.5 Series (GN)

Terminal Part Information

  • Terminal/Tray: 7114-4100-08/9
  • Core/Insulation Crimp: E/C
  • Release Tool/Test Probe: 15315247/J-35616-3 (GY)

Liftgate Control Switch - Exterior

Pin

Wire

Circuit

Function

1

0.35 GY

5797

Rear Closure Handle Switch Open Signal (E69)

0.35 GY/BK

6113

Rear Liftgate Open/Close Switch Signal (E61)

2

0.35 BK

650

Ground (E69)

0.35 PU/WH

5801

Low Reference (E61)

Liftgate Control Switch - Interior (E61)


Object Number: 1853532  Size: CH

Connector Part Information

  • OEM: 7282-6443-40
  • Service: See Catalog
  • Description: 2-Way M 1.5 Series (L-GY)

Terminal Part Information

  • Terminal/Tray: 7114-4100-08/9
  • Core/Insulation Crimp: E/C
  • Release Tool/Test Probe: 15315247/J-35616-3 (GY)

Liftgate Control Switch - Interior (E61)

Pin

Wire

Circuit

Function

1

0.35 GY/BK

6113

Rear Liftgate Open/Close Switch Signal

2

0.35 PU/WH

5801

Low Reference

Liftgate Courtesy Lamp - Left


Object Number: 1282874  Size: CH

Connector Part Information

  • OEM: 12186713
  • Service: See Catalog
  • Description: 2-Way F Faston (BK)

Terminal Part Information

  • Terminal/Tray: See Terminal Repair Kit
  • Core/Insulation Crimp: See Terminal Repair Kit
  • Release Tool/Test Probe: See Terminal Repair Kit

Liftgate Courtesy Lamp - Left

Pin

Wire

Circuit

Function

1

0.5 BK

650

Ground

2

0.5 GY/BK

690

Courtesy Lamp High Control

Liftgate Courtesy Lamp - Right


Object Number: 1282874  Size: CH

Connector Part Information

  • OEM: 12186713
  • Service: See Catalog
  • Description: 2-Way F Faston (BK)

Terminal Part Information

  • Terminal/Tray: See Terminal Repair Kit
  • Core/Insulation Crimp: See Terminal Repair Kit
  • Release Tool/Test Probe: See Terminal Repair Kit

Liftgate Courtesy Lamp - Right

Pin

Wire

Circuit

Function

1

0.5 BK

650

Ground

2

0.5 GY/BK

690

Courtesy Lamp High Control

Liftgate Latch Assembly (E61)


Object Number: 1711025  Size: CH

Connector Part Information

  • OEM: 15476196
  • Service: 88988498
  • Description: 6-Way F GT 280 Series, Sealed (BK)

Terminal Part Information

  • Pins: 1, 3
  • Terminal/Tray: 15304720/19
  • Core/Insulation Crimp: 4/5
  • Release Tool/Test Probe: 15315247/J-35616-4A (PU)
  • Pins: 2, 4-6
  • Terminal/Tray: 15304719/19
  • Core/Insulation Crimp: E/5
  • Release Tool/Test Probe: 15315247/J-35616-4A (PU)

Liftgate Latch Assembly (E61)

Pin

Wire

Circuit

Function

1

2 BN

5790

Liftgate Cinch Latch Motor Open Control

2

0.35 PU/WH

5801

Low Reference

3

2 L-BU

5791

Liftgate Cinch Latch Motor Close Control

4

0.35 D-GN

5512

Latch Sector Switch Signal

5

0.35 GY

7000

Latch Pawl Switch Signal

6

0.35 PK/BK

6000

Latch Ratchet Switch Signal

Liftgate Latch Assembly (E69)


Object Number: 1626671  Size: CH

Connector Part Information

  • OEM: 15476199
  • Service: 88988358
  • Description: 6-Way F GT 280 Series, Sealed (GN)

Terminal Part Information

  • Terminal/Tray: 15304719/19
  • Core/Insulation Crimp: E/5
  • Release Tool/Test Probe: 15315247/J-35616-4A (PU)

Liftgate Latch Assembly (E69)

Pin

Wire

Circuit

Function

1

0.5 L-BU

6128

Ground

2

--

--

Not Used

3

0.5 BK

650

Ground

4

0.5 L-GN

5926

Rear Access Open Switch Signal

5

0.35 BK

650

Ground

6

0.5 PK/BK

1303

Liftgate Ajar Switch Signal

Liftgate Module (LGM) X1 (E61)


Object Number: 1566784  Size: CH

Connector Part Information

  • OEM: 15136073
  • Service: See Catalog
  • Description: 16-Way F Kaizen 0.64 (BK)

Terminal Part Information

  • Terminal/Tray: 7116-4618-02/14
  • Core/Insulation Crimp: P/P
  • Release Tool/Test Probe: J-38125-215/J-35616-64B (L-BU)

Liftgate Module (LGM) X1 (E61)

Pin

Wire

Circuit

Function

1

0.35 D-GN

6112

Power Liftgate On/Off Switch Signal

2-3

--

--

Not Used

4

0.35 D-GN

5512

Latch Sector Switch Signal

5

0.35 PK/BK

6000

Latch Ratchet Switch Signal

6

0.35 GY

7000

Latch Pawl Switch Signal

7

0.35 D-GN

5060

Low Speed GMLAN Serial Data

8

0.35 WH/BK

6126

Liftgate Object Sensor 2 Signal

9-11

--

--

Not Used

12

0.35 D-GN/WH

5800

Liftgate Open/Close Switch Signal

13

--

--

Not Used

14

0.35 GY/BK

6113

Rear Liftgate Open/Close Switch Signal

15

--

--

Not Used

16

0.35 PU/WH

5801

Low Reference

Liftgate Module (LGM) X2 (E61)


Object Number: 1710989  Size: CH

Connector Part Information

  • OEM: 15134094
  • Service: 88988497
  • Description: 6-Way F 2.8 Series (BK)

Terminal Part Information

  • Pins: 4
  • Terminal/Tray: 8100-4443/22
  • Core/Insulation Crimp: E/A
  • Release Tool/Test Probe: 15315247/J-35616-35 (VT)
  • Pins: 1-3, 6
  • Terminal/Tray: 8100-4445/22
  • Core/Insulation Crimp: Pins 1, 2, 6 - 4/4
  • Core/Insulation Crimp: Pins 3 - F/D
  • Release Tool/Test Probe: 15315247/J-35616-35 (VT)

Liftgate Module (LGM) X2 (E61)

Pin

Wire

Circuit

Function

1

2 BN

5790

Liftgate Cinch Latch Motor Open Control

2

2 L-BU

5791

Liftgate Cinch Latch Motor Close Control

3

3 RD

1342

Battery Positive Voltage

4

0.5 RD/WH

1840

Battery Positive Voltage

5

--

--

Not Used

6

3 BK

650

Ground

Liftgate Module (LGM) X3 (E61)


Object Number: 1469285  Size: CH

Connector Part Information

  • OEM: 7283-8398-40
  • Service: See Catalog
  • Description: 14-Way F 0.64 2.8 YESC Series (L-GY)

Terminal Part Information

  • Terminal/Tray: See Terminal Repair Kit
  • Core/Insulation Crimp: See Terminal Repair Kit
  • Release Tool/Test Probe: See Terminal Repair Kit

Liftgate Module (LGM) X3 (E61)

Pin

Wire

Circuit

Function

1

2 WH

5798

Liftgate Open/Close Motor Open Control

2

2 BN/WH

5799

Liftgate Open/Close Motor Close Control

3

0.35 TN

5794

Liftgate Engage/Disengage Motor Engage Control

4

0.35 D-BU

5795

Liftgate Engage/Disengage Motor Disengage Control

5

0.35 D-BU/WH

5796

Liftgate Full Open Switch Signal

6

0.35 OG

5804

Low Reference

7

--

--

Not Used

8

0.35 BK/TN

5803

Liftgate Position Sensor Voltage Reference

9

0.35 L-BU/WH

5805

Liftgate Position Sensor Signal (1)

10

0.35 PU

5806

Liftgate Position Sensor Signal (2)

11

0.35 D-GN/WH

5804

Low Reference

12-14

--

--

Not Used

Liftgate Object Sensor - Left (E61)


Object Number: 1664595  Size: CH

Connector Part Information

  • OEM: 12048457
  • Service: 12085481
  • Description: 2-Way M Metri-Pack 150 Series (BK)

Terminal Part Information

  • Terminal/Tray: 12047581/2
  • Core/Insulation Crimp: E/C
  • Release Tool/Test Probe: 12094429/J-35616-3 (GY)

Liftgate Object Sensor - Left (E61)

Pin

Wire

Circuit

Function

A

0.35 PU/WH

5801

Low Reference

B

0.35 PK/BK

5802

Liftgate Object Sensor Signal

Liftgate Object Sensor - Right (E61)


Object Number: 1664595  Size: CH

Connector Part Information

  • OEM: 12048457
  • Service: 12085481
  • Description: 2-Way M Metri-Pack 150 Series (BK)

Terminal Part Information

  • Terminal/Tray: 12047581/2
  • Core/Insulation Crimp: E/C
  • Release Tool/Test Probe: 12094429/J-35616-3 (GY)

Liftgate Object Sensor - Right (E61)

Pin

Wire

Circuit

Function

A

0.35 PK/BK

5802

Liftgate Object Sensor Signal

B

0.35 WH/BK

6126

Liftgate Object Sensor 2 Signal

Marker Lamp - Left Front (W49 or Z88)


Object Number: 1860844  Size: CH

Connector Part Information

  • OEM: 7712-5354-4WB
  • Service: See Catalog
  • Description: 2-Way F Lamp Socket, Axial (BK)

Terminal Part Information

  • Terminal/Tray: See Terminal Repair Kit
  • Core/Insulation Crimp: See Terminal Repair Kit
  • Release Tool/Test Probe: See Terminal Repair Kit

Marker Lamp - Left Front (W49 or Z88)

Pin

Wire

Circuit

Function

A

0.5 BU

--

Left Park Lamp Supply Voltage

B

0.5 BK

--

Ground

Marker Lamp - Left Front (WDA)


Object Number: 1283850  Size: CH

Connector Part Information

  • OEM: 12146418
  • Service: See Catalog
  • Description: 2-Way F Lamp Socket (L-GY)

Terminal Part Information

  • Terminal/Tray: See Terminal Repair Kit
  • Core/Insulation Crimp: See Terminal Repair Kit
  • Release Tool/Test Probe: See Terminal Repair Kit

Marker Lamp - Left Front (WDA)

Pin

Wire

Circuit

Function

1

0.5 BK

--

Ground

2

0.5 PU

--

Left Park Lamp Supply Voltage

Marker Lamp - Left Rear (W49)


Object Number: 1860844  Size: CH

Connector Part Information

  • OEM: 7712-5354-4WB
  • Service: See Catalog
  • Description: 2-Way F Lamp Socket, Axial (BK)

Terminal Part Information

  • Terminal/Tray: See Terminal Repair Kit
  • Core/Insulation Crimp: See Terminal Repair Kit
  • Release Tool/Test Probe: See Terminal Repair Kit

Marker Lamp - Left Rear (W49)

Pin

Wire

Circuit

Function

A

0.5 D-BU

--

Left Park Lamp Supply Voltage

B

0.5 BK

--

Ground

Marker Lamp - Left Rear (WDA)


Object Number: 130733  Size: CH

Connector Part Information

  • OEM: 12146418
  • Service: See Catalog
  • Description: 2-Way F Lamp Socket (L-GY)

Terminal Part Information

  • Terminal/Tray: See Terminal Repair Kit
  • Core/Insulation Crimp: See Terminal Repair Kit
  • Release Tool/Test Probe: See Terminal Repair Kit

Marker Lamp - Left Rear (WDA)

Pin

Wire

Circuit

Function

A

0.8 L-BU

--

Left Park Lamp Supply Voltage

B

0.8 BK

--

Ground

Marker Lamp - Right Front (W49 or Z88)


Object Number: 1860844  Size: CH

Connector Part Information

  • OEM: 7712-5354-4WB
  • Service: See Catalog
  • Description: 2-Way F Lamp Socket, Axial (BK)

Terminal Part Information

  • Terminal/Tray: See Terminal Repair Kit
  • Core/Insulation Crimp: See Terminal Repair Kit
  • Release Tool/Test Probe: See Terminal Repair Kit

Marker Lamp - Right Front (W49 or Z88)

Pin

Wire

Circuit

Function

A

0.5 BU

--

Right Park Lamp Supply Voltage

B

0.5 BK

--

Ground

Marker Lamp - Right Front (WDA)


Object Number: 1283850  Size: CH

Connector Part Information

  • OEM: 12146418
  • Service: See Catalog
  • Description: 2-Way F Lamp Socket (L-GY)

Terminal Part Information

  • Terminal/Tray: See Terminal Repair Kit
  • Core/Insulation Crimp: See Terminal Repair Kit
  • Release Tool/Test Probe: See Terminal Repair Kit

Marker Lamp - Right Front (WDA)

Pin

Wire

Circuit

Function

1

0.5 BK

--

Ground

2

0.5 PU

--

Right Park Lamp Supply Voltage

Marker Lamp - Right Rear (W49)


Object Number: 1860844  Size: CH

Connector Part Information

  • OEM: 7712-5354-4WB
  • Service: See Catalog
  • Description: 2-Way F Lamp Socket, Axial (BK)

Terminal Part Information

  • Terminal/Tray: See Terminal Repair Kit
  • Core/Insulation Crimp: See Terminal Repair Kit
  • Release Tool/Test Probe: See Terminal Repair Kit

Marker Lamp - Right Rear (W49)

Pin

Wire

Circuit

Function

A

0.5 D-BU

--

Left Park Lamp Supply Voltage

B

0.5 BK

--

Ground

Marker Lamp - Right Rear (WDA)


Object Number: 130733  Size: CH

Connector Part Information

  • OEM: 12146418
  • Service: See Catalog
  • Description: 2-Way F Lamp Socket (L-GY)

Terminal Part Information

  • Terminal/Tray: See Terminal Repair Kit
  • Core/Insulation Crimp: See Terminal Repair Kit
  • Release Tool/Test Probe: See Terminal Repair Kit

Marker Lamp - Right Rear (WDA)

Pin

Wire

Circuit

Function

A

0.8 L-BU

--

Right Park Lamp Supply Voltage

B

0.8 BK

--

Ground

Mass Air Flow (MAF)/Intake Air Temperature (IAT) Sensor (LY7)


Object Number: 647974  Size: CH

Connector Part Information

  • OEM: 15326822
  • Service: 19151498
  • Description: 5-Way F GT 150 Sealed 4.0 (BK)

Terminal Part Information

  • Terminal/Tray: 12191819/8
  • Core/Insulation Crimp: E/A
  • Release Tool/Test Probe: 15315247/J-35616-2A (GY)

Mass Air Flow (MAF)/Intake Air Temperature (IAT) Sensor (LY7)

Pin

Wire

Circuit

Function

A

0.5 YE

492

MAF Sensor Signal

B

0.5 PK/BK

5294

5-Volt Reference

C

0.5 BK/WH

451

Ground

D

0.5 TN

472

IAT Sensor Signal

E

0.5 TN

2760

Low Reference

Memory Seat Adjuster Switch - Driver (AG3)


Object Number: 1851895  Size: CH

Connector Part Information

  • OEM: 7282-6560-40
  • Service: See Catalog
  • Description: 4-Way M 064 YESC Series (L-GY)

Terminal Part Information

  • Terminal/Tray: 7114-4720-02/14
  • Core/Insulation Crimp: J/J
  • Release Tool/Test Probe: 15315247/J-35616-65B (L-BU)

Memory Seat Adjuster Switch - Driver (AG3)

Pin

Wire

Circuit

Function

1

0.35 OG

614

Memory Set Switch Signal

2

0.35 GY/BK

5979

Memory Seat Switch Exit Signal

3

0.35 D-BU/WH

5978

Low Reference

4

0.35 BN/WH

6064

Memory Switch Dimming Control

Memory Seat Module X1 (AG3)


Object Number: 1653404  Size: CH

Connector Part Information

  • OEM: 6098-4611
  • Service: See Catalog
  • Description: 16-Way F 1.5 Series, Unsealed (BK)

Terminal Part Information

  • Terminal/Tray: 8240-0128/22
  • Core/Insulation Crimp: C/A
  • Release Tool/Test Probe: 15315247/J-35616-2A (GY)

Memory Seat Module X1 (AG3)

Pin

Wire

Circuit

Function

1

0.8 PU

2424

Driver Heated Seat Back Element Control

2-3

--

--

Not Used

4

0.8 L-BU

2433

Passenger Heated Seat Back Element Control

5

--

--

Not Used

6

0.8 BN

2432

Driver Heated Seat Back Element Supply Voltage

7

1 TN

2110

Steering Column Telescope Motor Control - Reverse (N38)

8

1 OG

2098

Steering Column Telescope Motor Forward (N38)

9

1 TN

285

Driver Seat Horizontal Motor Forward Control

10

1 L-GN

284

Driver Seat Horizontal Motor Rearward Control

11

0.8 L-GN

2078

Heated Seat Cushion Element Control

12

1 D-GN

286

Driver Seat Front Vertical Motor Up Control

13

1 D-BU

287

Driver Seat Front Vertical Motor Down Control

14

0.8 D-BU

2479

Passenger Heated Seat Element Supply Voltage

15

1 YE

282

Driver Seat Rear Vertical Motor Up Control

16

1 L-BU

283

Driver Seat Rear Vertical Motor Down Control

Memory Seat Module X2 (AG3)


Object Number: 1664521  Size: CH

Connector Part Information

  • OEM: 6098-4607
  • Service: 88988497
  • Description: 6-Way F 2.8mm PBT (BK)

Terminal Part Information

  • Terminal/Tray: 8100-4443/22
  • Core/Insulation Crimp: E/A
  • Release Tool/Test Probe: 15315247/J-35616-35 (VT)

Memory Seat Module X2 (AG3)

Pin

Wire

Circuit

Function

1

0.35 GY

6206

Low Reference

2

0.35 PK

2426

Low Reference

3

0.35 YE

2080

Low Reference

4

--

--

Not Used

5

0.35 TN

2482

Low Reference

6

0.35 L-BU

5476

Low Reference

Memory Seat Module X3 (AG3)


Object Number: 1664577  Size: CH

Connector Part Information

  • OEM: 6098-4606
  • Service: See Catalog
  • Description: 6-Way F 2.8 Series (BN)

Terminal Part Information

  • Pins: 3, 6
  • Terminal/Tray: 8100-4443/22
  • Core/Insulation Crimp: E/A
  • Release Tool/Test Probe: 15315247/J-35616-35 (VT)
  • Pins: 1, 2, 4, 5
  • Terminal/Tray: 8100-4445/22
  • Core/Insulation Crimp: Pins 1, 2, 4 - 4/4
  • Core/Insulation Crimp: Pins 5 - F/D
  • Release Tool/Test Probe: 15315247/J-35616-35 (VT)

Memory Seat Module X3 (AG3)

Pin

Wire

Circuit

Function

1

2 BK

550

Ground

2

2 RD/WH

4040

Battery Positive Voltage (N38)

3

0.35 PU/WH

6205

Driver Position Switch High Reference

4

2 BK

550

Ground

5

3 RD/WH

1140

Battery Positive Voltage

6

0.35 RD/WH

3140

Battery Positive Voltage

Memory Seat Module X4 (AG3)


Object Number: 1664549  Size: CH

Connector Part Information

  • OEM: 6098-4610
  • Service: See Catalog
  • Description: 16-Way F 1.5 Series, Unsealed (GN)

Terminal Part Information

  • Terminal/Tray: 8240-0128/22
  • Core/Insulation Crimp: C/A
  • Release Tool/Test Probe: 15315247/J-35616-2A (GY)

Memory Seat Module X4 (AG3)

Pin

Wire

Circuit

Function

1

1 PU

767

Driver Seat Lumbar Motor Down Control

2

1 TN

768

Driver Seat Lumbar Motor Up Control

3-6

--

--

Not Used

7

1 BN

2112

Steering Column Tilt Motor Control - Down (N38)

8

1 PK

2111

Steering Column Tilt Motor Control - Up (N38)

9-11

--

--

Not Used

12

1 D-BU

611

Driver Seat Lumbar Motor Forward Control

13

1 PK

610

Driver Seat Lumbar Motor Rearward Control

14

0.8 PK

2480

Passenger Heated Seat Cushion Element Control

15

1 L-GN

276

Driver Seat Recline Motor Forward Control

16

1 L-BU

277

Driver Seat Recline Motor Rearward Control

Memory Seat Module X5 (AG3)


Object Number: 1715223  Size: CH

Connector Part Information

  • OEM: 31410-1200
  • Service: See Catalog
  • Description: 20-Way F 0.64 Series (BK)

Terminal Part Information

  • Terminal/Tray: 7116-4618-02/14
  • Core/Insulation Crimp: P/P
  • Release Tool/Test Probe: J-38125-215/J-35616-64B (L-BU)

Memory Seat Module X5 (AG3)

Pin

Wire

Circuit

Function

1

0.35 YE/BK

2079

Heated Seat Cushion Temperature Sensor Signal

2

0.35 GY

2434

Passenger Heated Seat Cushion Temperature Sensor Signal

3

0.35 TN

2436

Heated Seat Back Temperature Sensor Signal

4

0.35 D-BU

2425

Driver Heated Seat Back Temperature Sensor Signal

5-8

--

--

Not Used

9

0.35 OG

2153

Steering Column Telescope Sensor Signal (N38)

10

--

--

Not Used

11

0.35 TN

6207

5-Volt Reference

12-13

--

--

Not Used

14

0.35 BN/WH

557

Front Vertical Seat Motor Position Sensor Signal

15

0.35 TN

568

Rear Vertical Seat Motor Position Sensor Signal

16

0.35 D-GN

569

Horizontal Seat Motor Position Sensor Signal

17

0.35 WH/BK

570

Driver Seat Recline Motor Position Sensor Signal

18

0.35 TN

1062

Driver Seat Lumbar Vertical Position Sensor Signal

19

0.35 YE

1063

Driver Seat Lumbar Horizontal Position Sensor Signal

20

0.35 OG

2154

Steering Column Tilt Sensor Signal (N38)

Memory Seat Module X6 (AG3)


Object Number: 1664552  Size: CH

Connector Part Information

  • OEM: 31410-1201
  • Service: See Catalog
  • Description: 20-Way F USCAR 0.64 Series (GY)

Terminal Part Information

  • Terminal/Tray: 7116-4618-02/14
  • Core/Insulation Crimp: P/P
  • Release Tool/Test Probe: J-38125-215/J-35616-64B (L-BU)

Memory Seat Module X6 (AG3)

Pin

Wire

Circuit

Function

1-4

--

--

Not Used

5

0.35 WH

1066

Driver Seat Lumbar Up Switch Signal

6

0.35 YE

1065

Driver Seat Lumbar Forward Switch Signal

7

--

--

Not Used

8

0.35 GY

2096

Steering Column Tilt and Telescope Up Switch Signal (N38)

9

0.35 PK

2094

Steering Column Tilt and Telescope Forward Switch Signal (N38)

10-14

--

--

Not Used

15

0.35 YE/BK

1067

Driver Seat Lumbar Down Switch Signal

16

0.35 D-BU

1064

Driver Seat Lumbar Rearward Switch Signal

17

--

--

Not Used

18

0.35 YE

2097

Steering Column Tilt and Telescope Down Switch Signal (N38)

19

0.35 OG

2095

Steering Column Tilt and Telescope Reverse Switch Signal (N38)

20

--

--

Not Used

Memory Seat Module X7 (AG3)


Object Number: 1664553  Size: CH

Connector Part Information

  • OEM: 31410-1202
  • Service: See Catalog
  • Description: 20-Way F 0.64 Series (BK)

Terminal Part Information

  • Terminal/Tray: 7116-4618-02/14
  • Core/Insulation Crimp: P/P
  • Release Tool/Test Probe: J-38125-215/J-35616-64B (L-BU)

Memory Seat Module X7 (AG3)

Pin

Wire

Circuit

Function

1-6

--

--

Not Used

7

0.35 D-GN

1518

Power Seat Front Vertical Up Switch Signal

8

0.35 YE

1519

Power Seat Rear Vertical Up Switch Signal

9

0.35 TN

1522

Power Seat Horizontal Forward Switch Signal

10

0.35 GY/BK

1269

Power Seat Recline Forward Switch Signal

11-15

--

--

Not Used

16

0.35 D-GN

5060

Low Speed GMLAN Serial Data

17

0.35 D-BU

1520

Power Seat Front Vertical Down Switch Signal

18

0.35 L-BU

1521

Power Seat Rear Vertical Down Switch Signal

19

0.35 L-GN

1523

Power Seat Horizontal Rearward Switch Signal

20

0.35 D-GN/WH

1270

Power Seat Recline Rearward Switch Signal

Mode Actuator


Object Number: 280764  Size: CH

Connector Part Information

  • OEM: 12064993
  • Service: 12102485
  • Description: 6-Way F Micro-Pack 100 Series (BK)

Terminal Part Information

  • Terminal/Tray: 12146447/3
  • Core/Insulation Crimp: E/C
  • Release Tool/Test Probe: 12031876-1/J-35616-6 (BN)

Mode Actuator

Pin

Wire

Circuit

Function

5

0.35 TN

2273

Mode Door Control

6

0.35 TN/BK

119

Mode Door Control

7

--

--

Not Used

8

0.35 YE

1791

Low Reference

9

0.35 L-GN

2275

Mode Door Position Signal

10

0.35 GY

598

5-Volt Reference

Mode Actuator - Auxiliary


Object Number: 280764  Size: CH

Connector Part Information

  • OEM: 12064993
  • Service: 12102485
  • Description: 6-Way F Micro-Pack 100 Series (BK)

Terminal Part Information

  • Terminal/Tray: 12146447/3
  • Core/Insulation Crimp: E/C
  • Release Tool/Test Probe: 12031876-1/J-35616-6 (BN)

Mode Actuator - Auxiliary

Pin

Wire

Circuit

Function

5

0.35 OG

2215

Auxiliary Mode Door Control

6

0.35 L-GN/WH

5729

Auxiliary Mode Motor Supply Voltage

7

--

--

Not Used

8

0.35 GY/BK

1798

Low Reference

9

0.35 GY

2599

Auxiliary Mode Door Control

10

0.35 GY

596

5-Volt Reference

Object Alarm Module X1 (UD7)


Object Number: 1664569  Size: CH

Connector Part Information

  • OEM: 89047364
  • Service: See Catalog
  • Description: 12-Way F Unsealed (BK)

Terminal Part Information

  • Terminal/Tray: 7116-4618-02/14
  • Core/Insulation Crimp: P/P
  • Release Tool/Test Probe: J-38125-215/J-35616-64B (L-BU)

Object Alarm Module X1 (UD7)

Pin

Wire

Circuit

Function

1

0.35 RD/WH

3140

Battery Positive Voltage

2

0.35 WH

2370

Telltale Assembly Supply Voltage

3

--

--

Not Used

4

0.35 OG

2371

Left Amber Indicator Control

5

--

--

Not Used

6

0.35 D-GN

5060

Low Speed GMLAN Serial Data

7

0.35 BK

650

Ground

8

--

--

Not Used

9

0.35 D-BU

2372

Center Amber Indicator Control

10

0.35 GY

2373

Red Indicator Control

11-12

--

--

Not Used

Object Alarm Module X2 (UD7)


Object Number: 1715212  Size: CH

Connector Part Information

  • OEM: 89047354
  • Service: 19115653
  • Description: 8-Way F Unsealed (GY)

Terminal Part Information

  • Terminal/Tray: 7116-4618-02/14
  • Core/Insulation Crimp: P/P
  • Release Tool/Test Probe: J-38125-215/J-35616-64B (L-BU)

Object Alarm Module X2 (UD7)

Pin

Wire

Circuit

Function

1

0.35 PU

2378

Right Rear Corner Object Sensor Signal

2

0.35 D-GN

2377

Right Rear Middle Object Sensor Signal

3

0.35 OG

2376

Left Rear Middle Object Sensor Signal

4

0.35 D-BU

2374

Object Sensor Supply Voltage

5

0.35 YE

2375

Left Rear Corner Object Sensor Signal

6-7

--

--

Not Used

8

0.35 GY

2379

Low Reference

Object Alarm Sensor - Left Rear Corner (UD7)


Object Number: 1711020  Size: CH

Connector Part Information

  • OEM: 31404-3700
  • Service: 88988337
  • Description: 3-Way F MX64 Series, Sealed (BK)

Terminal Part Information

  • Terminal/Tray: 7116-4618-02/14
  • Core/Insulation Crimp: P/P
  • Release Tool/Test Probe: J-38125-215/J-35616-64B (L-BU)

Object Alarm Sensor - Left Rear Corner (UD7)

Pin

Wire

Circuit

Function

1

0.35 D-BU

2374

Object Sensor Supply Voltage

2

0.35 GY

2379

Low Reference

3

0.35 YE

2375

Left Rear Corner Object Sensor Signal

Object Alarm Sensor - Left Rear Middle (UD7)


Object Number: 1711020  Size: CH

Connector Part Information

  • OEM: 31404-3700
  • Service: 88988337
  • Description: 3-Way F MX64 Series, Sealed (BK)

Terminal Part Information

  • Terminal/Tray: 7116-4618-02/14
  • Core/Insulation Crimp: P/P
  • Release Tool/Test Probe: J-38125-215/J-35616-64B (L-BU)

Object Alarm Sensor - Left Rear Middle (UD7)

Pin

Wire

Circuit

Function

1

0.35 D-BU

2374

Object Sensor Supply Voltage

2

0.35 GY

2379

Low Reference

3

0.35 OG

2376

Left Rear Middle Object Sensor Signal

Object Alarm Sensor - Right Rear Corner (UD7)


Object Number: 1711020  Size: CH

Connector Part Information

  • OEM: 31404-3700
  • Service: 88988337
  • Description: 3-Way F MX64 Series, Sealed (BK)

Terminal Part Information

  • Terminal/Tray: 7116-4618-02/14
  • Core/Insulation Crimp: P/P
  • Release Tool/Test Probe: J-38125-215/J-35616-64B (L-BU)

Object Alarm Sensor - Right Rear Corner (UD7)

Pin

Wire

Circuit

Function

1

0.35 D-BU

2374

Object Sensor Supply Voltage

2

0.35 GY

2379

Low Reference

3

0.35 PU

2378

Right Rear Corner Object Sensor Signal

Object Alarm Sensor - Right Rear Middle (UD7)


Object Number: 1711020  Size: CH

Connector Part Information

  • OEM: 31404-3700
  • Service: 88988337
  • Description: 3-Way F MX64 Series, Sealed (BK)

Terminal Part Information

  • Terminal/Tray: 7116-4618-02/14
  • Core/Insulation Crimp: P/P
  • Release Tool/Test Probe: J-38125-215/J-35616-64B (L-BU)

Object Alarm Sensor - Right Rear Middle (UD7)

Pin

Wire

Circuit

Function

1

0.35 D-BU

2374

Object Sensor Supply Voltage

2

0.35 GY

2379

Low Reference

3

0.35 D-GN

2377

Right Rear Middle Object Sensor Signal

Output Speed Sensor (OSS)


Object Number: 1910666  Size: CH

Connector Part Information

  • OEM: 15473844
  • Service: Non-Serviceable
  • Description: 2-Way F M/P 150.2 Series P2S (L-GN)

Terminal Part Information

  • Terminal/Tray: Non-Serviceable
  • Core/Insulation Crimp: Non-Serviceable
  • Release Tool/Test Probe: Non-Serviceable

Output Speed Sensor (OSS)

Pin

Wire

Circuit

Function

A

0.5 WH

--

OSS High Signal

B

0.5 BK

--

OSS Low Signal

Outside Rearview Mirror - Driver (DG6 or DS3)


Object Number: 1732767  Size: CH

Connector Part Information

  • OEM: 7282-6455-40
  • Service: 88988272
  • Description: 10-Way M Kaizen YESC Series (L-GY)

Terminal Part Information

  • Terminal/Tray: 7114-4100-08/9
  • Core/Insulation Crimp: E/C
  • Release Tool/Test Probe: 15315247/J-35616-3 (GY)

Outside Rearview Mirror - Driver (DG6 or DS3)

Pin

Wire

Circuit

Function

1

0.35 L-GN

89

Left Mirror Motor Down Control

2

0.35 WH

81

Driver Mirror Motor Right Control

3

0.35 BK

550

Ground

4

--

--

Not Used

5

0.5 L-BU/WH

1314

Left Turn Signal Indicator Lamp Supply Voltage (DS3)

6

0.35 TN

329

Driver Mirror Motor Supply Voltage

7

0.5 OG

2267

Mirror Heating Element Supply Voltage

8-9

--

--

Not Used

10

0.35 BK

550

Ground (DS3)

Outside Rearview Mirror - Driver X1 (DNP)


Object Number: 1732767  Size: CH

Connector Part Information

  • OEM: 7282-6455-40
  • Service: 88988272
  • Description: 10-Way M Kaizen YESC Series (L-GY)

Terminal Part Information

  • Terminal/Tray: 7114-4100-08/9
  • Core/Insulation Crimp: E/C
  • Release Tool/Test Probe: 15315247/J-35616-3 (GY)

Outside Rearview Mirror - Driver X1 (DNP)

Pin

Wire

Circuit

Function

1

0.35 YE

6802

Left Extend/Fold Mirror Motor Extend Control

2

0.35 L-BU

6803

Left Extend Mirror Motor Retract/Unfold Control

3

--

--

Not Used

4

0.35 D-GN

784

Driver Mirror Vertical Position Sensor Signal

5

0.35 GY

786

Driver Mirror Horizontal Position Sensor Signal

6

--

--

Not Used

7

0.35 D-BU

672

5-Volt Reference

8

0.35 PK

5853

Driver Side Object Detection LED Signal (UFT)

9

0.35 PK/BK

5855

Low Reference (UFT)

10

0.35 BN

673

Low Reference

Outside Rearview Mirror - Driver X2 (DNP)


Object Number: 1283904  Size: CH

Connector Part Information

  • OEM: 7282-5683-60
  • Service: See Catalog
  • Description: 10-Way M YESC/USCAR Class III Series, Sealed (GN)

Terminal Part Information

  • Terminal/Tray: 7114-4100-08/9
  • Core/Insulation Crimp: E/C
  • Release Tool/Test Probe: 15315247/J-35616-3 (GY)

Outside Rearview Mirror - Driver X2 (DNP)

Pin

Wire

Circuit

Function

1

0.35 D-BU/WH

6160

Left Mirror Vertical Position Control

2

0.35 D-GN/WH

6159

Left Mirror Horizontal Position Control

3

0.5 L-GN

627

Low Reference

4

0.35 PK

1691

Low Reference

5

0.5 L-BU/WH

1314

Left Turn Signal Indicator Lamp Supply Voltage

6

0.35 WH

7197

Left Mirror Drive Motor Common

7

0.5 OG

2267

Mirror Heating Element Supply Voltage

8

--

--

Not Used

9

0.35 GY

1690

Automatic Day/Night Mirror Signal

10

0.35 BK

550

Ground

Outside Rearview Mirror - Passenger (DG6 or DS3)


Object Number: 1732767  Size: CH

Connector Part Information

  • OEM: 7282-6455-40
  • Service: 88988272
  • Description: 10-Way M Kaizen YESC Series (L-GY)

Terminal Part Information

  • Terminal/Tray: 7114-4100-08/9
  • Core/Insulation Crimp: E/C
  • Release Tool/Test Probe: 15315247/J-35616-3 (GY)

Outside Rearview Mirror - Passenger (DG6 or DS3)

Pin

Wire

Circuit

Function

1

0.35 PU/WH

889

Passenger Mirror Motor Down Control

2

0.35 OG/WH

881

Passenger Mirror Motor Right Control

3

0.35 BK

750

Ground

4

--

--

Not Used

5

0.5 D-BU/WH

1315

Right Turn Signal Indicator Lamp Supply Voltage (DS3)

6

0.35 TN/WH

330

Passenger Mirror Motor Supply Voltage

7

0.5 OG

2267

Mirror Heating Element Supply Voltage

8-9

--

--

Not Used

10

0.35 BK

750

Ground (DS3)

Outside Rearview Mirror - Passenger X1 (DNP)


Object Number: 1732767  Size: CH

Connector Part Information

  • OEM: 7282-6455-40
  • Service: 88988272
  • Description: 10-Way M Kaizen YESC Series (L-GY)

Terminal Part Information

  • Terminal/Tray: 7114-4100-08/9
  • Core/Insulation Crimp: E/C
  • Release Tool/Test Probe: 15315247/J-35616-3 (GY)

Outside Rearview Mirror - Passenger X1 (DNP)

Pin

Wire

Circuit

Function

1

0.35 YE

6804

Driver Mirror Motor Down Control

2

0.35 L-BU

6805

Right Extend Motor Retract/Unfold Control

3

--

--

Not Used

4

0.35 BN

787

Passenger Mirror Vertical Position Sensor Signal

5

0.35 L-BU/BK

785

Passenger Mirror Horizontal Position Sensor Signal

6

--

--

Not Used

7

0.35 YE

674

5-Volt Reference

8

0.35 PK

5861

Passenger Side Object Detection LED Signal (UFT)

9

0.35 PK/BK

5862

Low Reference (UFT)

10

0.35 L-GN

675

Low Reference

Outside Rearview Mirror - Passenger X2 (DNP)


Object Number: 1283904  Size: CH

Connector Part Information

  • OEM: 7282-5683-60
  • Service: See Catalog
  • Description: 10-Way M YESC/USCAR Class III Series, Sealed (GN)

Terminal Part Information

  • Terminal/Tray: 7114-4100-08/9
  • Core/Insulation Crimp: E/C
  • Release Tool/Test Probe: 15315247/J-35616-3 (GY)

Outside Rearview Mirror - Passenger X2 (DNP)

Pin

Wire

Circuit

Function

1

0.35 OG/BK

6162

Outside Right Mirror Right Front Up Control

2

0.35 GY/BK

6161

Right Mirror Horizontal Position Control

3

0.5 D-GN

628

Low Reference

4

--

--

Not Used

5

0.5 D-BU/WH

1315

Right Turn Signal Indicator Lamp Supply Voltage

6

0.35 WH

7196

Right Mirror Drive Motor Common

7

0.5 OG

2267

Mirror Heating Element Supply Voltage

8-9

--

--

Not Used

10

0.35 BK

750

Ground

Outside Rearview Mirror Switch (DG6 or DS3)


Object Number: 62464  Size: CH

Connector Part Information

  • OEM: 12064769
  • Service: 12101762
  • Description: 10-Way F Metri-Pack 150 Series (NA)

Terminal Part Information

  • Terminal/Tray: 12064971/5
  • Core/Insulation Crimp: E/C
  • Release Tool/Test Probe: 12094429/J-35616-14 (GN)

Outside Rearview Mirror Switch (DG6 or DS3)

Pin

Wire

Circuit

Function

A

--

--

Not Used

B

0.5 RD/WH

1940

Battery Positive Voltage

C

0.35 TN/WH

330

Passenger Mirror Motor Supply Voltage

D

0.35 OG/WH

881

Passenger Mirror Motor Right Control

E

0.35 GY

8

Instrument Panel Lamp Supply Voltage

F

0.35 PU/WH

889

Passenger Mirror Motor Down Control

G

0.35 BK

550

Ground

H

0.35 TN

329

Driver Mirror Motor Supply Voltage

J

0.35 WH

81

Driver Mirror Motor Right Control

K

0.35 L-GN

89

Driver Mirror Motor Down Control

Overhead Console Courtesy/Reading Lamps - Front


Object Number: 333035  Size: CH

Connector Part Information

  • OEM: 12047781
  • Service: 12101864
  • Description: 3-Way F Metri-Pack 150 Series (BK)

Terminal Part Information

  • Pins: A, C
  • Terminal/Tray: 12047767/2
  • Core/Insulation Crimp: E/A
  • Release Tool/Test Probe: 12094429/J-35616-14 (GN)
  • Pins: B
  • Terminal/Tray: 12064971/5
  • Core/Insulation Crimp: E/C
  • Release Tool/Test Probe: 12094429/J-35616-14 (GN)

Overhead Console Courtesy/Reading Lamps - Front

Pin

Wire

Circuit

Function

A

0.8 OG

1732

Courtesy Lamps Supply Voltage

B

0.5 BK

850

Ground

C

0.8 GY/BK

690

Courtesy Lamp High Control

Overhead Console Courtesy/Reading Lamps - Rear


Object Number: 333035  Size: CH

Connector Part Information

  • OEM: 12047781
  • Service: 12101864
  • Description: 3-Way F Metri-Pack 150 Series (BK)

Terminal Part Information

  • Terminal/Tray: 12064971/5
  • Core/Insulation Crimp: E/C
  • Release Tool/Test Probe: 12094429/J-35616-14 (GN)

Overhead Console Courtesy/Reading Lamps - Rear

Pin

Wire

Circuit

Function

A

0.5 OG

1732

Courtesy Lamps Supply Voltage

B

0.5 BK

850

Ground

C

0.5 GY/BK

690

Courtesy Lamp High Control

Park Brake Switch


Object Number: 35348  Size: CH

Connector Part Information

  • OEM: 12004267
  • Service: 12102561
  • Description: 1-Way F 56 Series Lock Type (BK)

Terminal Part Information

  • Terminal/Tray: 12124515/1
  • Core/Insulation Crimp: C/D
  • Release Tool/Test Probe: 12094430/J-35616-42 (RD)

Park Brake Switch

Pin

Wire

Circuit

Function

A

0.5 OG/BK

233

Park Brake Switch Signal

Park Lamp - Left Rear (W49)


Object Number: 1914599  Size: CH

Connector Part Information

  • OEM: 1011101
  • Service: See Catalog
  • Description: 2-Way F Lamp Socket, Axial (WH)

Terminal Part Information

  • Terminal/Tray: See Terminal Repair Kit
  • Core/Insulation Crimp: See Terminal Repair Kit
  • Release Tool/Test Probe: See Terminal Repair Kit

Park Lamp - Left Rear (W49)

Pin

Wire

Circuit

Function

A

0.5 BK

--

Ground

0.5 BK

--

Ground

B

0.5 BN

--

Park Lamp Supply Voltage

Park Lamp - Left Rear (Z88)


Object Number: 1335523  Size: CH

Connector Part Information

  • OEM: 104257-1
  • Service: See Catalog
  • Description: 2-Way F (BK)

Terminal Part Information

  • Terminal/Tray: See Terminal Repair Kit
  • Core/Insulation Crimp: See Terminal Repair Kit
  • Release Tool/Test Probe: See Terminal Repair Kit

Park Lamp - Left Rear (Z88)

Pin

Wire

Circuit

Function

1

0.5 BK

--

Left Park Lamp Supply Voltage

2

0.5 BK

--

Ground

Park Lamp - Right Rear (W49)


Object Number: 1914599  Size: CH

Connector Part Information

  • OEM: 1011101
  • Service: See Catalog
  • Description: 2-Way F Lamp Socket, Axial (WH)

Terminal Part Information

  • Terminal/Tray: See Terminal Repair Kit
  • Core/Insulation Crimp: See Terminal Repair Kit
  • Release Tool/Test Probe: See Terminal Repair Kit

Park Lamp - Right Rear (W49)

Pin

Wire

Circuit

Function

A

0.5 BK

--

Ground

0.5 BK

--

Ground

B

0.5 BN

--

Park Lamp Supply Voltage

Park Lamp - Right Rear (Z88)


Object Number: 1335523  Size: CH

Connector Part Information

  • OEM: 104257-1
  • Service: See Catalog
  • Description: 2-Way F (BK)

Terminal Part Information

  • Terminal/Tray: See Terminal Repair Kit
  • Core/Insulation Crimp: See Terminal Repair Kit
  • Release Tool/Test Probe: See Terminal Repair Kit

Park Lamp - Right Rear (Z88)

Pin

Wire

Circuit

Function

1

0.5 BK

--

Right Park Lamp Supply Voltage

2

0.5 BK

--

Ground

PRNDL Lamp


Object Number: 407137  Size: CH

Connector Part Information

  • OEM: 12162711
  • Service: See Catalog
  • Description: 2-Way Lamp Socket Wedge Base W2 (BK)

Terminal Part Information

  • Terminal/Tray: See Terminal Repair Kit
  • Core/Insulation Crimp: See Terminal Repair Kit
  • Release Tool/Test Probe: See Terminal Repair Kit

PRNDL Lamp

Pin

Wire

Circuit

Function

A

0.35 BU

--

Instrument Panel Lamp Supply Voltage

B

0.35 BU

--

Ground

Radio X1


Object Number: 1856798  Size: CH

Connector Part Information

  • OEM: 7283-9281-30
  • Service: See Catalog
  • Description: 14-Way F YESC Kaizen Series (BK)

Terminal Part Information

  • Pins: 1, 8
  • Terminal/Tray: 12191812/19
  • Core/Insulation Crimp: C/A
  • Release Tool/Test Probe: 15315247/J-35616-2A (GY)
  • Pins: 2-7, 9-11, 13
  • Terminal/Tray: 7116-4618-02/14
  • Core/Insulation Crimp: P/P
  • Release Tool/Test Probe: J-38125-215/J-35616-64B (L-BU)

Radio X1

Pin

Wire

Circuit

Function

1

1 RD/WH

4240

Battery Positive Voltage

2

0.5 TN

201

Left Front Speaker Output (+) (UQF)

0.5 TN

511

Left Front Low Level Audio Signal (+) (UQA or UQG or UQS)

3

0.5 L-GN

200

Right Front Speaker Output (+) (UQF)

0.5 L-GN/WH

512

Right Front Low Level Audio Signal (+) (UQA or UQG or UQS)

4

0.35 PK

5149

Voice Recognition Audio Signal (UE1 with UZR or U3R)

5

0.35 PK/BK

5152

Low Reference (UE1 with UZR or U3R)

6

0.35 WH

7066

Entertainment Remote Enable Signal

7

0.35 PU/WH

1382

LED Dimming Signal

8

1 BK/WH

351

Ground

9

0.5 GY

118

Left Front Speaker Output (-) (UQF)

0.5 D-GN

1947

Left Front Low Level Audio Signal (-) (UQA or UQG or UQS)

10

0.5 D-GN

117

Right Front Speaker Output (-) (UQF)

0.5 L-GN

1948

Right Front Low Level Audio Signal (-) (UQA or UQG or UQS)

11

0.35 BARE

1573

Drain Wire (UQA or UQG or UQS)

12

--

--

Not Used

13

0.35 D-GN

5060

Low Speed GMLAN Serial Data

14

--

--

Not Used

Radio X2


Object Number: 1856799  Size: CH

Connector Part Information

  • OEM: 7283-9282-30
  • Service: See Catalog
  • Description: 16-Way F YESC Kaizen Series (BK)

Terminal Part Information

  • Terminal/Tray: 7116-4618-02/14
  • Core/Insulation Crimp: P/P
  • Release Tool/Test Probe: J-38125-215/J-35616-64B (L-BU)

Radio X2

Pin

Wire

Circuit

Function

1

0.5 BN/WH

367

Left Audio Signal (+) (U2K)

2

0.5 D-GN/WH

368

Right Audio Signal (+) (U2K)

3

0.35 BARE

1574

Drain Wire (UQA or UQG or UQS)

4

--

--

Not Used

5

0.5 BN/WH

599

Left Rear Low Level Audio Signal (+) (without UQF without UK6)

0.5 BN

199

Left Rear Speaker Output (+) (UQF without UK6)

6

0.5 D-BU

46

Right Rear Speaker Output (+) (UQF without UK6)

0.5 D-BU

546

Right Rear Low Level Audio Signal (+) ( without UQF without UK6)

7

0.35 OG/BK

1406

Remote Playback Device Left Audio Signal (UE1)

8

0.35 OG

5748

Radio Audio Mute Signal ( without UQF)

9

0.5 TN/WH

372

Left Audio Signal (-) (U2K)

10

0.5 GY

388

Right Audio Signal (-) (U2K)

11

0.35 BARE

6131

Drain Wire (U2K)

12

--

--

Not Used

13

0.5 BN

1999

Left Rear Low Level Audio Signal (-) (UK6 without UQF)

0.5 YE

116

Left Rear Speaker Output (-) (UQF without UK6)

14

0.5 TN

1946

Right Rear Low Level Audio Signal (-) (UK6 without UQF)

0.5 L-BU

115

Right Rear Speaker Output (-) (UQF without UK6)

15

0.35 L-BU

1405

Remote Playback Device Audio Common Signal (UE1)

16

--

--

Not Used

Radio X3 (U42)


Object Number: 1856800  Size: CH

Connector Part Information

  • OEM: 7283-9283-40
  • Service: See Catalog
  • Description: 16-Way F YESC Kaizen Series (L-GY)

Terminal Part Information

  • Terminal/Tray: 7116-4618-02/14
  • Core/Insulation Crimp: P/P
  • Release Tool/Test Probe: J-38125-215/J-35616-64B (L-BU)

Radio X3 (U42)

Pin

Wire

Circuit

Function

1

0.35 YE

2059

Auxiliary Audio Left Signal

2

0.35 WH

2058

Auxiliary Audio Right Signal

3

0.35 L-BU

5826

Left DVD Audio Signal (+)

4

0.35 WH

5828

Right DVD Audio Signal (+)

5

0.35 OG/BK

5831

Remote Infrared Signal (+)

6

0.35 PK/BK

5844

Video Bright Control

7

0.35 D-GN

6975

DVD Video Signal (+)

8

0.35 PU

2056

Auxiliary Video High Signal

9

0.35 BARE

5345

Drain Wire

10

0.35 L-GN/BK

5845

Video Module Signal

11

0.35 PU

6979

DVD Audio Common

12

0.35 BARE

6980

DVD Audio Shield

13

0.35 TN/WH

5830

Remote Infrared Signal (-)

14

0.35 BARE

6976

DVD Video Drain Wire

15

0.35 WH/BK

5335

DVD Video Signal (-)

16

0.35 BARE

5346

Drain Wire

Radio X4 (U3R or UVB or UZR)


Object Number: 1856802  Size: CH

Connector Part Information

  • OEM: 7283-9284-80
  • Service: See Catalog
  • Description: 16-Way F YESC Kaizen Series (BN)

Terminal Part Information

  • Terminal/Tray: 7116-4618-02/14
  • Core/Insulation Crimp: P/P
  • Release Tool/Test Probe: J-38125-215/J-35616-64B (L-BU)

Radio X4 (U3R or UVB or UZR)

Pin

Wire

Circuit

Function

1-2

--

--

Not Used

3

0.5 D-BU

6760

Center Speaker High

4

0.5 WH

6763

Subwoofer Speaker High

5

0.5 D-GN/WH

817

Vehicle Speed Signal

6

0.35 PK

6972

Camera Signal #2 + (UVC)

7

0.35 L-BU

6973

Camera Signal #2 (UVC)

8-10

--

--

Not Used

11

0.5 OG

6761

Center Speaker Low

12

0.5 PK

6762

Subwoofer Speaker Low

13

0.5 BARE

5838

Ground

14-16

--

--

Not Used

Radio/HVAC Control - Auxiliary X1 (UK6)


Object Number: 1454404  Size: CH

Connector Part Information

  • OEM: 15394149
  • Service: See Catalog
  • Description: 16-Way F Micro-Pack 064 Series (GY)

Terminal Part Information

  • Terminal/Tray: 15359541/4
  • Core/Insulation Crimp: M/M
  • Release Tool/Test Probe: 15381651-2/J-35616-64B (L-BU)

Radio/HVAC Control - Auxiliary X1 (UK6)

Pin

Wire

Circuit

Function

1

0.35 OG/BK

5329

Infrared Audio Signal (+) (U42)

2

0.35 BN/WH

5331

Infrared Audio Common Signal (U42)

3

0.35 PU/WH

5330

Right Infrared Audio Signal (U42)

4

0.35 BARE

5332

Infrared Audio Drain Wire (U42)

5

0.5 RD/WH

2340

Battery Positive Voltage

6

0.5 BK/WH

351

Ground

7

0.35 PU/WH

1382

LED Dimming Signal

8-13

--

--

Not Used

14

0.35 PK

5829

Infrared Module Supply Voltage (U42)

15

0.35 D-GN

5060

Low Speed GMLAN Serial Data

16

--

--

Not Used

Radio/HVAC Control - Auxiliary X2 (UK6)


Object Number: 1776475  Size: CH

Connector Part Information

  • OEM: 15394152
  • Service: 19115676
  • Description: 16-Way F Micro-Pack 064 Series (BK)

Terminal Part Information

  • Terminal/Tray: 15359541/4
  • Core/Insulation Crimp: M/M
  • Release Tool/Test Probe: 15381651-2/J-35616-64B (L-BU)

Radio/HVAC Control - Auxiliary X2 (UK6)

Pin

Wire

Circuit

Function

1

0.8 BN/WH

599

Left Rear Low Level Audio Signal (+)

2

0.8 BN

1999

Left Rear Low Level Audio Signal (-)

3

0.8 D-BU

546

Right Rear Low Level Audio Signal (+)

4

0.8 TN

1946

Right Rear Low Level Audio Signal (-)

5

0.35 BARE

1574

Drain Wire

6-8

--

--

Not Used

9

0.8 L-BU

5312

Left Rear Low Level Audio Signal (+)

10

0.8 BN

5314

Left Rear Low Level Audio Signal (-)

11

0.8 L-GN

5313

Right Rear Low Level Audio Signal (+)

12

0.8 TN/WH

5830

Right Rear Low Level Audio Signal (-)

13

0.35 BARE

6759

Audio Drain Wire

14-16

--

--

Not Used

Rear Differential Clutch Control Module X1 (MH6)


Object Number: 1861930  Size: CH

Connector Part Information

  • OEM: 89047382
  • Service: 89047382
  • Description: 5-Way F (BK)

Terminal Part Information

  • Terminal/Tray: See Terminal Repair Kit
  • Core/Insulation Crimp: See Terminal Repair Kit
  • Release Tool/Test Probe: See Terminal Repair Kit

Rear Differential Clutch Control Module X1 (MH6)

Pin

Wire

Circuit

Function

1

--

--

Not Used

2

0.5 YE

9999

Transfer Case Fluid Temperature Signal

3

0.5 YE

9997

Transfer Case Actuator Low Control

4

0.5 YE

9998

Low Reference

5

0.5 YE

9996

Transfer Case Actuator High Control

Rear Differential Clutch Control Module X2 (MH6)


Object Number: 1845114  Size: CH

Connector Part Information

  • OEM: 13509360
  • Service: See Catalog
  • Description: 10-Way F Kaizen 0.64 Series, Sealed (BK)

Terminal Part Information

  • Terminal/Tray: 7116-4618-02/14
  • Core/Insulation Crimp: P/P
  • Release Tool/Test Probe: J-38125-215/J-35616-64B (L-BU)

Rear Differential Clutch Control Module X2 (MH6)

Pin

Wire

Circuit

Function

1-2

--

--

Not Used

3

0.5 BK

650

Ground

4

--

--

Not Used

5

0.35 L-BU

5986

Communication Enable

6

0.5 RD/WH

1740

Battery Positive Voltage

7

--

--

Not Used

8

0.35 TN

2501

High Speed GMLAN Serial Data Bus-

9

0.35 TN/BK

2500

High Speed GMLAN Serial Data Bus+

10

--

--

Not Used

Rear Parking Assist (RPA) Display (UD7)


Object Number: 130635  Size: CH

Connector Part Information

  • OEM: 12045813
  • Service: 12101889
  • Description: 4-Way F Metri-Pack 150 Series (CR)

Terminal Part Information

  • Terminal/Tray: 12064971/5
  • Core/Insulation Crimp: E/C
  • Release Tool/Test Probe: 12094429/J-35616-14 (GN)

Rear Parking Assist (RPA) Display (UD7)

Pin

Wire

Circuit

Function

A

0.35 WH

2370

Telltale Assembly Supply Voltage

B

0.35 OG

2371

Left Amber Indicator Control

C

0.35 D-BU

2372

Center Amber Indicator Control

D

0.35 GY

2373

Red Indicator Control

Rear Seat Audio (RSA) Control (RCA)


Object Number: 1709750  Size: CH

Connector Part Information

  • OEM: 31068-1010
  • Service: See Catalog
  • Description: 4-Way F HDAC64 SR Housing (BK)

Terminal Part Information

  • Terminal/Tray: 1393364-2/7
  • Core/Insulation Crimp: K/K
  • Release Tool/Test Probe: 15315247/J-35616-64B (L-BU)

Rear Seat Audio (RSA) Control (RCA)

Pin

Wire

Circuit

Function

1

0.35 L-GN

1011

Remote Radio Control Signal

2

0.35 BK

850

Ground

3

0.35 PU/WH

1382

LED Dimming Signal

4

0.35 PU

1375

12-Volt Reference

Rear Window Defogger Grid X1


Object Number: 365953  Size: CH

Connector Part Information

  • OEM: 12092133
  • Service: 12167133
  • Description: 1-Way F Metri-Pack 630 Series Self Lock (BK)

Terminal Part Information

  • Terminal/Tray: 12034110/18
  • Core/Insulation Crimp: B/G
  • Release Tool/Test Probe: 12094430/J-35616-42 (RD)

Rear Window Defogger Grid X1

Pin

Wire

Circuit

Function

A

5 PU

293

Rear Defog Element Supply Voltage

Rear Window Defogger Grid X2


Object Number: 365953  Size: CH

Connector Part Information

  • OEM: 12092133
  • Service: 12167133
  • Description: 1-Way F Metri-Pack 630 Series Self Lock (BK)

Terminal Part Information

  • Terminal/Tray: 12034110/18
  • Core/Insulation Crimp: F/G
  • Release Tool/Test Probe: 12094430/J-35616-42 (RD)

Rear Window Defogger Grid X2

Pin

Wire

Circuit

Function

A

3 BK

650

Ground

Rear Window Washer Fluid Pump


Object Number: 646148  Size: CH

Connector Part Information

  • OEM: 12020599
  • Service: 12102664
  • Description: 2-Way F Metri-Pack 280 Series (BK)

Terminal Part Information

  • Terminal/Tray: 12077411/2
  • Core/Insulation Crimp: 2/5
  • Release Tool/Test Probe: 12094430/J-35616-4A (PU)

Rear Window Washer Fluid Pump

Pin

Wire

Circuit

Function

A

0.5 BK

1350

Ground

B

0.8 D-GN

392

Rear Window Washer Pump Control

Rear Window Wiper Motor


Object Number: 62432  Size: CH

Connector Part Information

  • OEM: 12041429
  • Service: 12167129
  • Description: 5-Way F Metri-Pack 280 Series (BK)

Terminal Part Information

  • Pins: A, B
  • Terminal/Tray: 12066214/2
  • Core/Insulation Crimp: F/D
  • Release Tool/Test Probe: 12094430/J-35616-4A (PU)
  • Pins: C-E
  • Terminal/Tray: 12034046/2
  • Core/Insulation Crimp: E/A
  • Release Tool/Test Probe: 12094430/J-35616-4A (PU)

Rear Window Wiper Motor

Pin

Wire

Circuit

Function

A

1 RD/WH

3840

Front Sunshade Switch Open Signal

B

1 BK

650

Ground

C

0.5 L-GN

2270

Rear Window Washer Relay Control

D

0.5 GY

391

Rear Window Wiper Switch Signal

E

0.35 WH

2283

Rear Wiper/Washer Switch Supply Voltage

Rearview Camera (UVC)


Object Number: 1960031  Size: CH

Connector Part Information

  • OEM: 33472-0401
  • Service: See Catalog
  • Description: 4-Way F MX 150 Receptacle (WH)

Terminal Part Information

  • Terminal/Tray: See Terminal Repair Kit
  • Core/Insulation Crimp: See Terminal Repair Kit
  • Release Tool/Test Probe: See Terminal Repair Kit

Rearview Camera (UVC)

Pin

Wire

Circuit

Function

1

BARE

6799

Camera Shield

2

OG

6201

Camera Reference Signal

3

TN/BK

6202

Ground

4

WH

6798

Camera Video Signal

Rearview Camera Image Display Module (UVC)


Object Number: 1710983  Size: CH

Connector Part Information

  • OEM: 19115105
  • Service: See Catalog
  • Description: 12-Way F Kaizen 0.64 (BK)

Terminal Part Information

  • Pins: 1
  • Terminal/Tray: 15304722/8
  • Core/Insulation Crimp: E/C
  • Release Tool/Test Probe: 15315247/J-35616-5 (PU)
  • Pins: 2-5, 7, 9-12
  • Terminal/Tray: 7116-4618-02/14
  • Core/Insulation Crimp: P/P
  • Release Tool/Test Probe: J-38125-215/J-35616-64B (L-BU)

Rearview Camera Image Display Module (UVC)

Pin

Wire

Circuit

Function

1

0.5 L-GN

24

Backup Lamp Supply Voltage

2

0.35 PK

239

Ignition Voltage

3

0.35 BK

650

Ground

4

0.35 OG

6201

Camera Reference Signal

5

0.35 TN/BK

6202

Ground

6

--

--

Not Used

7

0.35 BARE

6974

Drain

8

--

--

Not Used

9

0.35 WH

6798

Camera Video Signal

10

0.35 BARE

6799

Camera Shield

11

0.35 L-BU

6973

Camera Signal #2

12

0.35 PK

6972

Camera Signal #2 +

Recirculation Actuator


Object Number: 280764  Size: CH

Connector Part Information

  • OEM: 12064993
  • Service: 12102485
  • Description: 6-Way F Micro-Pack 100 Series (BK)

Terminal Part Information

  • Terminal/Tray: 12146447/3
  • Core/Insulation Crimp: E/C
  • Release Tool/Test Probe: 12031876-1/J-35616-6 (BN)

Recirculation Actuator

Pin

Wire

Circuit

Function

5

0.35 D-GN

1614

Recirculation Door Control B

6

0.35 TN/BK

2274

Recirculation Door Control A

7

--

--

Not Used

8

0.35 YE

1791

Low Reference

9

0.35 PU

1838

Recirculation Door Position Signal

10

0.35 GY

598

5-Volt Reference

Remote Control Door Lock Receiver (RCDLR)


Object Number: 1673483  Size: CH

Connector Part Information

  • OEM: 15462684
  • Service: 88988745
  • Description: 4-Way F ILAG5 Series (GN)

Terminal Part Information

  • Terminal/Tray: IL-AG5-C1-5000/20
  • Core/Insulation Crimp: K/K
  • Release Tool/Test Probe: J-38125-211/J-35616-64B (L-BU)

Remote Control Door Lock Receiver (RCDLR)

Pin

Wire

Circuit

Function

1

0.35 RD/WH

1840

Battery Positive Voltage

2

0.35 D-GN

5060

Low Speed GMLAN Serial Data

3

--

--

Not Used

4

0.35 BK

650

Ground

Seat Adjuster Switch - Driver (AG1)


Object Number: 556473  Size: CH

Connector Part Information

  • OEM: 15326924
  • Service: 15306174
  • Description: 8-Way F GT 280 Series (BK)

Terminal Part Information

  • Terminal/Tray: 15304713/19
  • Core/Insulation Crimp: Pins A-C, E-H - 4/4
  • Core/Insulation Crimp: Pins B, D - F/D
  • Release Tool/Test Probe: 15315247/J-35616-4A (PU)

Seat Adjuster Switch - Driver (AG1)

Pin

Wire

Circuit

Function

A

2 D-GN

286

Driver Seat Front Vertical Motor Up Control

B

3 BK

550

Ground (without KA1)

2 BK

550

Ground (KA1)

C

2 TN

285

Driver Seat Horizontal Motor Forward Control

D

3 RD/WH

1140

Battery Positive Voltage

E

2 YE

282

Driver Seat Rear Vertical Motor Up Control

F

2 L-GN

284

Driver Seat Horizontal Motor Rearward Control

G

2 L-BU

283

Driver Seat Rear Vertical Motor Down Control

H

2 D-BU

287

Driver Seat Front Vertical Motor Down Control

Seat Adjuster Switch - Driver (AG3)


Object Number: 623046  Size: CH

Connector Part Information

  • OEM: 15326931
  • Service: 15306309
  • Description: 10-Way F GT 280 Series (BK)

Terminal Part Information

  • Terminal/Tray: 15304711/8
  • Core/Insulation Crimp: E/A
  • Release Tool/Test Probe: 15315247/J-35616-4A (PU)

Seat Adjuster Switch - Driver (AG3)

Pin

Wire

Circuit

Function

A

0.35 D-GN

1518

Power Seat Front Vertical Up Switch Signal

B

--

--

Not Used

C

0.35 L-GN

1523

Power Seat Horizontal Rearward Switch Signal

D

0.35 TN

1522

Power Seat Horizontal Forward Switch Signal

E

0.35 PU/WH

6205

Driver Position Switch High Reference

F

0.35 YE

1519

Power Seat Rear Vertical Up Switch Signal

G

0.35 D-GN/WH

1270

Power Seat Recline Rearward Switch Signal

H

0.35 GY/BK

1269

Power Seat Recline Forward Switch Signal

J

0.35 L-BU

1521

Power Seat Rear Vertical Down Switch Signal

K

0.35 D-BU

1520

Power Seat Front Vertical Down Switch Signal

Seat Adjuster Switch - Driver (AH5)


Object Number: 623046  Size: CH

Connector Part Information

  • OEM: 15326931
  • Service: 15306309
  • Description: 10-Way F GT 280 Series (BK)

Terminal Part Information

  • Pins: A-F, J, K
  • Terminal/Tray: 15304713/19
  • Core/Insulation Crimp: Pins A-D, F, J, K - 4/4
  • Core/Insulation Crimp: Pins E - F/D
  • Release Tool/Test Probe: 15315247/J-35616-4A (PU)
  • Pins: G, H
  • Terminal/Tray: 15304711/8
  • Core/Insulation Crimp: 2/A
  • Release Tool/Test Probe: 15315247/J-35616-4A (PU)

Seat Adjuster Switch - Driver (AH5)

Pin

Wire

Circuit

Function

A

2 D-GN

286

Driver Seat Front Vertical Motor Up Control

B

2 BK

550

Ground

C

2 L-GN

284

Driver Seat Horizontal Motor Rearward Control

D

2 TN

285

Driver Seat Horizontal Motor Forward Control

E

3 RD/WH

1140

Battery Positive Voltage

F

2 YE

282

Driver Seat Rear Vertical Motor Up Control

G

1 L-BU

277

Driver Seat Recline Motor Rearward Control

H

1 L-GN

276

Driver Seat Recline Motor Forward Control

J

2 L-BU

283

Driver Seat Rear Vertical Motor Down Control

K

2 D-BU

287

Driver Seat Front Vertical Motor Down Control

Seat Adjuster Switch - Passenger (AAQ)


Object Number: 623046  Size: CH

Connector Part Information

  • OEM: 15326931
  • Service: 15306309
  • Description: 10-Way F GT 280 Series (BK)

Terminal Part Information

  • Pins: B-E
  • Terminal/Tray: 15304713/19
  • Core/Insulation Crimp: Pins B, E - F/D
  • Core/Insulation Crimp: Pins C, D - 4/4
  • Release Tool/Test Probe: 15315247/J-35616-4A (PU)
  • Pins: G, H
  • Terminal/Tray: 15304711/8
  • Core/Insulation Crimp: 2/A
  • Release Tool/Test Probe: 15315247/J-35616-4A (PU)

Seat Adjuster Switch - Passenger (AAQ)

Pin

Wire

Circuit

Function

A

--

--

Not Used

B

3 BK

750

Ground

C

2 L-GN

290

Passenger Seat Horizontal Motor Rearward Control

D

2 TN

296

Passenger Seat Horizontal Motor Forward Control

E

3 RD/WH

3040

Battery Positive Voltage

F

--

--

Not Used

G

1 D-BU

77

Passenger Seat Recline Motor Rearward

H

1 D-GN

76

Passenger Seat Recline Motor Forward

J-K

--

--

Not Used

Seat Adjuster Switch - Passenger (AG2)


Object Number: 556473  Size: CH

Connector Part Information

  • OEM: 15326924
  • Service: 15306174
  • Description: 8-Way F GT 280 Series (BK)

Terminal Part Information

  • Pins: B-D, F
  • Terminal/Tray: 15304713/19
  • Core/Insulation Crimp: Pins B, D - F/D
  • Core/Insulation Crimp: Pins C, F - 4/4
  • Release Tool/Test Probe: 15315247/J-35616-4A (PU)

Seat Adjuster Switch - Passenger (AG2)

Pin

Wire

Circuit

Function

A

--

--

Not Used

B

3 BK

750

Ground

C

2 TN

296

Passenger Seat Horizontal Motor Forward Control

D

3 RD/WH

3040

Battery Positive Voltage

E

--

--

Not Used

F

2 L-GN

290

Passenger Seat Horizontal Motor Rearward Control

G-H

--

--

Not Used

Seat Belt Buckle - Driver


Object Number: 1853532  Size: CH

Connector Part Information

  • OEM: 7282-6443-40
  • Service: See Catalog
  • Description: 2-Way M 1.5 Series (L-GY)

Terminal Part Information

  • Terminal/Tray: 7114-4100-08/9
  • Core/Insulation Crimp: E/C
  • Release Tool/Test Probe: 15315247/J-35616-3 (GY)

Seat Belt Buckle - Driver

Pin

Wire

Circuit

Function

1

0.35 D-GN

5016

Seat Belt Switch - Left - Signal

2

0.35 PK

5057

Low Reference

Seat Belt Buckle - Passenger


Object Number: 1853532  Size: CH

Connector Part Information

  • OEM: 7282-6443-40
  • Service: See Catalog
  • Description: 2-Way M 1.5 Series (L-GY)

Terminal Part Information

  • Terminal/Tray: 7114-4100-08/9
  • Core/Insulation Crimp: E/C
  • Release Tool/Test Probe: 15315247/J-35616-3 (GY)

Seat Belt Buckle - Passenger

Pin

Wire

Circuit

Function

1

0.35 OG

1362

Seat Belt Switch - Right - Signal

2

0.35 PK

5057

Low Reference

Seat Belt Pretensioner - Driver


Object Number: 1841819  Size: CH

Connector Part Information

  • OEM: 54560236
  • Service: See Catalog
  • Description: 2-Way F FFB90-4 Type B (GY)

Terminal Part Information

  • Terminal/Tray: Service With Pigtail
  • Core/Insulation Crimp: N/A
  • Release Tool/Test Probe: See Terminal Repair Kit

Seat Belt Pretensioner - Driver

Pin

Wire

Circuit

Function

1

0.5 TN/WH

2118

Seat Belt Pretensioner - Left - High Control

2

0.5 OG/BK

2119

Seat Belt Pretensioner - Left - Low Control

Seat Belt Pretensioner - Passenger


Object Number: 1841819  Size: CH

Connector Part Information

  • OEM: 54560236
  • Service: See Catalog
  • Description: 2-Way F FFB90-4 Type B (GY)

Terminal Part Information

  • Terminal/Tray: Service With Pigtail
  • Core/Insulation Crimp: N/A
  • Release Tool/Test Probe: See Terminal Repair Kit

Seat Belt Pretensioner - Passenger

Pin

Wire

Circuit

Function

1

0.5 L-GN

2116

Seat Belt Pretensioner - Right - High Control

2

0.5 OG

2117

Seat Belt Pretensioner - Right - Low Control

Seat Front Vertical Motor - Driver (AG1 or AG3 or AH5)


Object Number: 1862168  Size: CH

Connector Part Information

  • OEM: 623346-1
  • Service: See Catalog
  • Description: 2-Way F (GY)

Terminal Part Information

  • Terminal/Tray: 4-965999-1/25
  • Core/Insulation Crimp: 4/A
  • Release Tool/Test Probe: 12093647/J-35616-4A (PU)

Seat Front Vertical Motor - Driver (AG1 or AG3 or AH5)

Pin

Wire

Circuit

Function

1

2 D-GN

286

Driver Seat Front Vertical Motor Up Control (AG1 or AH5)

1 D-GN

286

Driver Seat Front Vertical Motor Up Control (AG3)

2

2 D-BU

287

Driver Seat Front Vertical Motor Down Control (AG1 or AH5)

1 D-BU

287

Driver Seat Front Vertical Motor Down Control (AG3)

Seat Front Vertical Motor Position Sensor - Driver (AG3)


Object Number: 401671  Size: CH

Connector Part Information

  • OEM: 39-01-4030
  • Service: See Catalog
  • Description: 3-Way F Mini-Fit Series (NA)

Terminal Part Information

  • Terminal/Tray: 39-00-0059/28
  • Core/Insulation Crimp: K/K
  • Release Tool/Test Probe: J-38125-560/J-35616-12 (BU)

Seat Front Vertical Motor Position Sensor - Driver (AG3)

Pin

Wire

Circuit

Function

1

0.35 TN

6207

5-Volt Reference

2

0.35 BN/WH

557

Front Vertical Seat Motor Position Sensor Signal

3

0.35 GY

6206

Low Reference

Seat Horizontal Motor - Driver (AG1 or AG3 or AH5)


Object Number: 1862168  Size: CH

Connector Part Information

  • OEM: 623346-1
  • Service: See Catalog
  • Description: 2-Way F (GY)

Terminal Part Information

  • Terminal/Tray: 4-965999-1/25
  • Core/Insulation Crimp: 4/A
  • Release Tool/Test Probe: 12093647/J-35616-4A (PU)

Seat Horizontal Motor - Driver (AG1 or AG3 or AH5)

Pin

Wire

Circuit

Function

1

2 TN

285

Driver Seat Horizontal Motor Forward Control (AG1 or AH5)

1 TN

285

Driver Seat Horizontal Motor Forward Control (AG3)

2

2 L-GN

284

Driver Seat Horizontal Motor Rearward Control (AG1 or AH5)

1 L-GN

284

Driver Seat Horizontal Motor Rearward Control (AG3)

Seat Horizontal Motor - Passenger (AAQ or AG2)


Object Number: 1862168  Size: CH

Connector Part Information

  • OEM: 623346-1
  • Service: See Catalog
  • Description: 2-Way F (GY)

Terminal Part Information

  • Terminal/Tray: 4-965999-1/25
  • Core/Insulation Crimp: 4/A
  • Release Tool/Test Probe: 12093647/J-35616-4A (PU)

Seat Horizontal Motor - Passenger (AAQ or AG2)

Pin

Wire

Circuit

Function

1

2 TN

296

Passenger Seat Horizontal Motor Forward Control

2

2 L-GN

290

Passenger Seat Horizontal Motor Rearward Control

Seat Horizontal Motor Position Sensor - Driver (AG3)


Object Number: 401671  Size: CH

Connector Part Information

  • OEM: 39-01-4030
  • Service: See Catalog
  • Description: 3-Way F Mini-Fit Series (NA)

Terminal Part Information

  • Terminal/Tray: 39-00-0059/28
  • Core/Insulation Crimp: K/K
  • Release Tool/Test Probe: J-38125-560/J-35616-12 (BU)

Seat Horizontal Motor Position Sensor - Driver (AG3)

Pin

Wire

Circuit

Function

1

0.35 TN

6207

5-Volt Reference

2

0.35 D-GN

569

Horizontal Seat Motor Position Sensor Signal

3

0.35 GY

6206

Low Reference

Seat Lumbar Horizontal Motor - Driver (AG3)


Object Number: 1947070  Size: CH

Connector Part Information

  • OEM: 6098-2180
  • Service: 88988384
  • Description: 5-Way F 090 Series (BK)

Terminal Part Information

  • Pins: 1, 5
  • Terminal/Tray: 8240-4422/6
  • Core/Insulation Crimp: E/A
  • Release Tool/Test Probe: 15315247/J-35616-14 (GN)
  • Pins: 2-4
  • Terminal/Tray: 8240-4412/22
  • Core/Insulation Crimp: E/C
  • Release Tool/Test Probe: 15315247/J-35616-14 (GN)

Seat Lumbar Horizontal Motor - Driver (AG3)

Pin

Wire

Circuit

Function

1

1 D-BU

611

Driver Seat Lumbar Motor Forward Control

2

0.35 GY

6206

Low Reference

3

0.35 YE

1063

Driver Seat Lumbar Horizontal Position Sensor Signal

4

0.35 TN

6207

5-Volt Reference

5

1 PK

610

Driver Seat Lumbar Motor Rearward Control

Seat Lumbar Horizontal Motor - Driver (AH5)


Object Number: 130707  Size: CH

Connector Part Information

  • OEM: 12020556
  • Service: 12101820
  • Description: 2-Way F Metri-Pack 480 Series (BK)

Terminal Part Information

  • Terminal/Tray: 12084595/2
  • Core/Insulation Crimp: F/G
  • Release Tool/Test Probe: 12094430/J-35616-40 (BU)

Seat Lumbar Horizontal Motor - Driver (AH5)

Pin

Wire

Circuit

Function

A

2 D-BU

611

Driver Seat Lumbar Motor Forward Control

B

2 PK

610

Driver Seat Lumbar Motor Rearward Control

Seat Lumbar Horizontal Motor - Passenger (AAQ)


Object Number: 130707  Size: CH

Connector Part Information

  • OEM: 12020556
  • Service: 12101820
  • Description: 2-Way F Metri-Pack 480 Series (BK)

Terminal Part Information

  • Terminal/Tray: 12084595/2
  • Core/Insulation Crimp: F/G
  • Release Tool/Test Probe: 12094430/J-35616-40 (BU)

Seat Lumbar Horizontal Motor - Passenger (AAQ)

Pin

Wire

Circuit

Function

A

2 D-BU

211

Passenger Seat Lumbar Motor Forward Control

B

2 WH

210

Passenger Seat Lumbar Motor Rearward Control

Seat Lumbar Switch - Driver (AG3)


Object Number: 73146  Size: CH

Connector Part Information

  • OEM: 12052854
  • Service: 88953358
  • Description: 7-Way F Metri-Pack 280 Series (BK)

Terminal Part Information

  • Terminal/Tray: 12034046/2
  • Core/Insulation Crimp: E/A
  • Release Tool/Test Probe: 12094430/J-35616-4A (PU)

Seat Lumbar Switch - Driver (AG3)

Pin

Wire

Circuit

Function

A

0.35 YE

1065

Driver Seat Lumbar Forward Switch Signal

B

0.35 YE/BK

1067

Driver Seat Lumbar Down Switch Signal

C

0.35 WH

1066

Driver Seat Lumbar Up Switch Signal

D-E

--

--

Not Used

F

0.35 D-BU

1064

Driver Seat Lumbar Rearward Switch Signal

G

0.35 PU/WH

6205

Driver Position Switch High Reference (AG3)

Seat Lumbar Switch - Driver (AH5)


Object Number: 73146  Size: CH

Connector Part Information

  • OEM: 12052854
  • Service: 88953358
  • Description: 7-Way F Metri-Pack 280 Series (BK)

Terminal Part Information

  • Terminal/Tray: 12015858/4
  • Core/Insulation Crimp: F/G
  • Release Tool/Test Probe: 12094430/J-35616-4A (PU)

Seat Lumbar Switch - Driver (AH5)

Pin

Wire

Circuit

Function

A

2 D-BU

611

Driver Seat Lumbar Motor Forward Control

B

2 PU

767

Driver Seat Lumbar Motor Down Control

C

2 TN

768

Driver Seat Lumbar Motor Up Control

D

--

--

Not Used

E

3 BK

550

Ground

F

2 PK

610

Driver Seat Lumbar Motor Rearward Control

G

3 RD/WH

1140

Battery Positive Voltage

Seat Lumbar Switch - Passenger (AAQ)


Object Number: 73146  Size: CH

Connector Part Information

  • OEM: 12052854
  • Service: 88953358
  • Description: 7-Way F Metri-Pack 280 Series (BK)

Terminal Part Information

  • Terminal/Tray: 12015858/4
  • Core/Insulation Crimp: F/G
  • Release Tool/Test Probe: 12094430/J-35616-4A (PU)

Seat Lumbar Switch - Passenger (AAQ)

Pin

Wire

Circuit

Function

A

2 D-BU

211

Passenger Seat Lumbar Motor Forward Control

B

2 OG

792

Passenger Seat Lumbar Motor Down Control

C

2 PK

793

Passenger Seat Lumbar Motor Up Control

D

--

--

Not Used

E

3 BK

750

Ground

F

2 WH

210

Passenger Seat Lumbar Motor Rearward Control

G

3 RD/WH

3040

Battery Positive Voltage

Seat Lumbar Vertical Motor - Driver (AG3 or AH5)


Object Number: 1947070  Size: CH

Connector Part Information

  • OEM: 6098-2180
  • Service: 88988384
  • Description: 5-Way F 090 Series (BK)

Terminal Part Information

  • Pins: 1, 5
  • Terminal/Tray: 8240-4422/6
  • Core/Insulation Crimp: E/A
  • Release Tool/Test Probe: 15315247/J-35616-14 (GN)
  • Pins: 2-4
  • Terminal/Tray: 8240-4412/22
  • Core/Insulation Crimp: E/C
  • Release Tool/Test Probe: 15315247/J-35616-14 (GN)

Seat Lumbar Vertical Motor - Driver (AG3 or AH5)

Pin

Wire

Circuit

Function

1

2 PU

767

Driver Seat Lumbar Motor Down Control

2

0.35 GY

6206

Low Reference

3

0.35 TN

1062

Driver Seat Lumbar Vertical Position Sensor Signal

4

0.35 TN

6207

5-Volt Reference

5

2 TN

768

Driver Seat Lumbar Motor Up Control

Seat Lumbar Vertical Motor - Passenger (AAQ)


Object Number: 130707  Size: CH

Connector Part Information

  • OEM: 12020556
  • Service: 12101820
  • Description: 2-Way F Metri-Pack 480 Series (BK)

Terminal Part Information

  • Terminal/Tray: 12084595/2
  • Core/Insulation Crimp: F/G
  • Release Tool/Test Probe: 12094430/J-35616-40 (BU)

Seat Lumbar Vertical Motor - Passenger (AAQ)

Pin

Wire

Circuit

Function

A

2 PK

793

Passenger Seat Lumbar Motor Up Control

B

2 OG

792

Passenger Seat Lumbar Motor Down Control

Seat Rear Vertical Motor - Driver (AG1 or AG3 or AH5)


Object Number: 1862168  Size: CH

Connector Part Information

  • OEM: 623346-1
  • Service: See Catalog
  • Description: 2-Way F (GY)

Terminal Part Information

  • Terminal/Tray: 4-965999-1/25
  • Core/Insulation Crimp: 4/A
  • Release Tool/Test Probe: 12093647/J-35616-4A (PU)

Seat Rear Vertical Motor - Driver (AG1 or AG3 or AH5)

Pin

Wire

Circuit

Function

1

2 YE

282

Driver Seat Rear Vertical Motor Up Control (AG1 or AH5)

1 YE

282

Driver Seat Rear Vertical Motor Up Control (AG3)

2

2 L-BU

283

Driver Seat Rear Vertical Motor Down Control (AG1 or AH5)

1 L-BU

283

Driver Seat Rear Vertical Motor Down Control (AG3)

Seat Rear Vertical Motor Position Sensor - Driver (AG3)


Object Number: 401671  Size: CH

Connector Part Information

  • OEM: 39-01-4030
  • Service: See Catalog
  • Description: 3-Way F Mini-Fit Series (NA)

Terminal Part Information

  • Terminal/Tray: 39-00-0059/28
  • Core/Insulation Crimp: K/K
  • Release Tool/Test Probe: J-38125-560/J-35616-12 (BU)

Seat Rear Vertical Motor Position Sensor - Driver (AG3)

Pin

Wire

Circuit

Function

1

0.35 TN

6207

5-Volt Reference

2

0.35 TN

568

Rear Vertical Seat Motor Position Sensor Signal

3

0.35 GY

6206

Low Reference

Seat Recline Motor - Driver (AG3 or AH5)


Object Number: 1862127  Size: CH

Connector Part Information

  • OEM: 1326490-3
  • Service: See Catalog
  • Description: 4-Way F JR-POWER MICRO III (GY)

Terminal Part Information

  • Terminal/Tray: 4-965999-1/25
  • Core/Insulation Crimp: C/A
  • Release Tool/Test Probe: 12093647/J-35616-4A (PU)

Seat Recline Motor - Driver (AG3 or AH5)

Pin

Wire

Circuit

Function

1

1 L-BU

277

Driver Seat Recline Motor Rearward Control

2

1 L-GN

276

Driver Seat Recline Motor Forward Control

3-4

--

--

Not Used

Seat Recline Motor - Passenger (AAQ)


Object Number: 1862127  Size: CH

Connector Part Information

  • OEM: 1326490-3
  • Service: See Catalog
  • Description: 4-Way F JR-POWER MICRO III (GY)

Terminal Part Information

  • Terminal/Tray: 4-965999-1/25
  • Core/Insulation Crimp: C/A
  • Release Tool/Test Probe: 12093647/J-35616-4A (PU)

Seat Recline Motor - Passenger (AAQ)

Pin

Wire

Circuit

Function

1

1 D-BU

77

Passenger Seat Recline Motor Rearward

2

1 D-GN

76

Passenger Seat Recline Motor Forward

3-4

--

--

Not Used

Seat Recline Position Sensor - Driver (AG3)


Object Number: 401671  Size: CH

Connector Part Information

  • OEM: 39-01-4030
  • Service: See Catalog
  • Description: 3-Way F Mini-Fit Series (NA)

Terminal Part Information

  • Terminal/Tray: 39-00-0059/28
  • Core/Insulation Crimp: K/K
  • Release Tool/Test Probe: J-38125-560/J-35616-12 (BU)

Seat Recline Position Sensor - Driver (AG3)

Pin

Wire

Circuit

Function

1

0.35 TN

6207

5-Volt Reference

2

0.35 WH/BK

570

Driver Seat Recline Motor Position Sensor Signal

3

0.35 GY

6206

Low Reference

Speaker - Center I/P (UQA or UQS)


Object Number: 130724  Size: CH

Connector Part Information

  • OEM: 12064869
  • Service: 12117323
  • Description: 2-Way F Metri-Pack 150 Series (BU)

Terminal Part Information

  • Terminal/Tray: 12064971/5
  • Core/Insulation Crimp: E/C
  • Release Tool/Test Probe: 12094429/J-35616-14 (GN)

Speaker - Center I/P (UQA or UQS)

Pin

Wire

Circuit

Function

A

0.35 L-BU

1960

Front Center Speaker Output (-)

B

0.35 YE

1860

Front Center Speaker Output (+)

Speaker - Center I/P (UQG)


Object Number: 280768  Size: CH

Connector Part Information

  • OEM: 12052832
  • Service: 12101825
  • Description: 2-Way F Metri-Pack 150 Series (BK)

Terminal Part Information

  • Terminal/Tray: 12064971/5
  • Core/Insulation Crimp: E/C
  • Release Tool/Test Probe: 12094429/J-35616-14 (GN)

Speaker - Center I/P (UQG)

Pin

Wire

Circuit

Function

A

0.35 L-BU

1960

Front Center Speaker Output (-)

B

0.35 YE

1860

Front Center Speaker Output (+)

Speaker - Left Front (UQA or UQS)


Object Number: 130724  Size: CH

Connector Part Information

  • OEM: 12064869
  • Service: 12117323
  • Description: 2-Way F Metri-Pack 150 Series (BU)

Terminal Part Information

  • Terminal/Tray: 12047767/2
  • Core/Insulation Crimp: E/A
  • Release Tool/Test Probe: 12094429/J-35616-14 (GN)

Speaker - Left Front (UQA or UQS)

Pin

Wire

Circuit

Function

A

0.8 GY

118

Left Front Speaker Output (-)

B

0.8 TN

201

Left Front Speaker Output (+)

Speaker - Left Front (UQF)


Object Number: 130687  Size: CH

Connector Part Information

  • OEM: 12064867
  • Service: 88987981
  • Description: 2-Way F Metri-Pack 150 Series (NA)

Terminal Part Information

  • Terminal/Tray: 12047767/2
  • Core/Insulation Crimp: E/A
  • Release Tool/Test Probe: 12094429/J-35616-14 (GN)

Speaker - Left Front (UQF)

Pin

Wire

Circuit

Function

A

0.8 GY

118

Left Front Speaker Output (-)

B

0.8 TN

201

Left Front Speaker Output (+)

Speaker - Left Front (UQG)


Object Number: 280768  Size: CH

Connector Part Information

  • OEM: 12052832
  • Service: 12101825
  • Description: 2-Way F Metri-Pack 150 Series (BK)

Terminal Part Information

  • Terminal/Tray: 12047767/2
  • Core/Insulation Crimp: E/A
  • Release Tool/Test Probe: 12094429/J-35616-14 (GN)

Speaker - Left Front (UQG)

Pin

Wire

Circuit

Function

A

0.8 GY

118

Left Front Speaker Output (-)

B

0.8 TN

201

Left Front Speaker Output (+)

Speaker - Left Front Tweeter


Object Number: 766913  Size: CH

Connector Part Information

  • OEM: 12052833
  • Service: 12117275
  • Description: 2-Way M Metri-Pack 150 Series (BK)

Terminal Part Information

  • Terminal/Tray: 12047581/2
  • Core/Insulation Crimp: E/A
  • Release Tool/Test Probe: 12094429/J-35616-3 (GY)

Speaker - Left Front Tweeter

Pin

Wire

Circuit

Function

A

0.8 GY

118

Left Front Speaker Output (-)

B

0.8 TN

201

Left Front Speaker Output (+)

Speaker - Left Rear (UQA or UQS)


Object Number: 130724  Size: CH

Connector Part Information

  • OEM: 12064869
  • Service: 12117323
  • Description: 2-Way F Metri-Pack 150 Series (BU)

Terminal Part Information

  • Terminal/Tray: 12047767/2
  • Core/Insulation Crimp: E/A
  • Release Tool/Test Probe: 12094429/J-35616-14 (GN)

Speaker - Left Rear (UQA or UQS)

Pin

Wire

Circuit

Function

A

0.8 YE

116

Left Rear Speaker Output (-)

B

0.8 BN

199

Left Rear Speaker Output (+)

Speaker - Left Rear (UQF)


Object Number: 130687  Size: CH

Connector Part Information

  • OEM: 12064867
  • Service: 88987981
  • Description: 2-Way F Metri-Pack 150 Series (NA)

Terminal Part Information

  • Terminal/Tray: 12047767/2
  • Core/Insulation Crimp: E/A
  • Release Tool/Test Probe: 12094429/J-35616-14 (GN)

Speaker - Left Rear (UQF)

Pin

Wire

Circuit

Function

A

0.8 YE

116

Left Rear Speaker Output (-)

B

0.8 BN

199

Left Rear Speaker Output (+)

Speaker - Left Rear (UQG)


Object Number: 280768  Size: CH

Connector Part Information

  • OEM: 12052832
  • Service: 12101825
  • Description: 2-Way F Metri-Pack 150 Series (BK)

Terminal Part Information

  • Terminal/Tray: 12047767/2
  • Core/Insulation Crimp: E/A
  • Release Tool/Test Probe: 12094429/J-35616-14 (GN)

Speaker - Left Rear (UQG)

Pin

Wire

Circuit

Function

A

0.8 YE

116

Left Rear Speaker Output (-)

B

0.8 BN

199

Left Rear Speaker Output (+)

Speaker - Left Rear Compartment (UQA or UQS)


Object Number: 130724  Size: CH

Connector Part Information

  • OEM: 12064869
  • Service: 12117323
  • Description: 2-Way F Metri-Pack 150 Series (BU)

Terminal Part Information

  • Terminal/Tray: 12064971/5
  • Core/Insulation Crimp: E/C
  • Release Tool/Test Probe: 12094429/J-35616-14 (GN)

Speaker - Left Rear Compartment (UQA or UQS)

Pin

Wire

Circuit

Function

A

0.5 WH

1959

Left Rear Midrange Speaker Output (-)

B

0.5 TN

1859

Left Rear Midrange Speaker Output (+)

Speaker - Left Rear Compartment (UQG)


Object Number: 280768  Size: CH

Connector Part Information

  • OEM: 12052832
  • Service: 12101825
  • Description: 2-Way F Metri-Pack 150 Series (BK)

Terminal Part Information

  • Terminal/Tray: 12064971/5
  • Core/Insulation Crimp: E/C
  • Release Tool/Test Probe: 12094429/J-35616-14 (GN)

Speaker - Left Rear Compartment (UQG)

Pin

Wire

Circuit

Function

A

0.35 WH

1959

Left Rear Midrange Speaker Output (-)

B

0.35 TN

1859

Left Rear Midrange Speaker Output (+)

Speaker - Right Front (UQA or UQS)


Object Number: 130724  Size: CH

Connector Part Information

  • OEM: 12064869
  • Service: 12117323
  • Description: 2-Way F Metri-Pack 150 Series (BU)

Terminal Part Information

  • Terminal/Tray: 12047767/2
  • Core/Insulation Crimp: E/A
  • Release Tool/Test Probe: 12094429/J-35616-14 (GN)

Speaker - Right Front (UQA or UQS)

Pin

Wire

Circuit

Function

A

0.8 D-GN

117

Right Front Speaker Output (-)

B

0.8 L-GN

200

Right Front Speaker Output (+)

Speaker - Right Front (UQF)


Object Number: 130687  Size: CH

Connector Part Information

  • OEM: 12064867
  • Service: 88987981
  • Description: 2-Way F Metri-Pack 150 Series (NA)

Terminal Part Information

  • Terminal/Tray: 12047767/2
  • Core/Insulation Crimp: E/A
  • Release Tool/Test Probe: 12094429/J-35616-14 (GN)

Speaker - Right Front (UQF)

Pin

Wire

Circuit

Function

A

0.8 D-GN

117

Right Front Speaker Output (-)

B

0.8 L-GN

200

Right Front Speaker Output (+)

Speaker - Right Front (UQG)


Object Number: 280768  Size: CH

Connector Part Information

  • OEM: 12052832
  • Service: 12101825
  • Description: 2-Way F Metri-Pack 150 Series (BK)

Terminal Part Information

  • Terminal/Tray: 12047767/2
  • Core/Insulation Crimp: E/A
  • Release Tool/Test Probe: 12094429/J-35616-14 (GN)

Speaker - Right Front (UQG)

Pin

Wire

Circuit

Function

A

0.8 D-GN

117

Right Front Speaker Output (-)

B

0.8 L-GN

200

Right Front Speaker Output (+)

Speaker - Right Front Tweeter


Object Number: 766913  Size: CH

Connector Part Information

  • OEM: 12052833
  • Service: 12117275
  • Description: 2-Way M Metri-Pack 150 Series (BK)

Terminal Part Information

  • Terminal/Tray: 12047581/2
  • Core/Insulation Crimp: E/A
  • Release Tool/Test Probe: 12094429/J-35616-3 (GY)

Speaker - Right Front Tweeter

Pin

Wire

Circuit

Function

A

0.8 D-GN

117

Right Front Speaker Output (-)

B

0.8 L-GN

200

Right Front Speaker Output (+)

Speaker - Right Rear (UQA or UQS)


Object Number: 130724  Size: CH

Connector Part Information

  • OEM: 12064869
  • Service: 12117323
  • Description: 2-Way F Metri-Pack 150 Series (BU)

Terminal Part Information

  • Terminal/Tray: 12047767/2
  • Core/Insulation Crimp: E/A
  • Release Tool/Test Probe: 12094429/J-35616-14 (GN)

Speaker - Right Rear (UQA or UQS)

Pin

Wire

Circuit

Function

A

0.8 L-BU

115

Right Rear Speaker Output (-)

B

0.8 D-BU

46

Right Rear Speaker Output (+)

Speaker - Right Rear (UQF)


Object Number: 130687  Size: CH

Connector Part Information

  • OEM: 12064867
  • Service: 88987981
  • Description: 2-Way F Metri-Pack 150 Series (NA)

Terminal Part Information

  • Terminal/Tray: 12047767/2
  • Core/Insulation Crimp: E/A
  • Release Tool/Test Probe: 12094429/J-35616-14 (GN)

Speaker - Right Rear (UQF)

Pin

Wire

Circuit

Function

A

0.8 L-BU

115

Right Rear Speaker Output (-)

B

0.8 D-BU

46

Right Rear Speaker Output (+)

Speaker - Right Rear (UQG)


Object Number: 280768  Size: CH

Connector Part Information

  • OEM: 12052832
  • Service: 12101825
  • Description: 2-Way F Metri-Pack 150 Series (BK)

Terminal Part Information

  • Terminal/Tray: 12047767/2
  • Core/Insulation Crimp: E/A
  • Release Tool/Test Probe: 12094429/J-35616-14 (GN)

Speaker - Right Rear (UQG)

Pin

Wire

Circuit

Function

A

0.8 L-BU

115

Right Rear Speaker Output (-)

B

0.8 D-BU

46

Right Rear Speaker Output (+)

Speaker - Right Rear Compartment (UQA or UQS)


Object Number: 130724  Size: CH

Connector Part Information

  • OEM: 12064869
  • Service: 12117323
  • Description: 2-Way F Metri-Pack 150 Series (BU)

Terminal Part Information

  • Terminal/Tray: 12047767/2
  • Core/Insulation Crimp: E/A
  • Release Tool/Test Probe: 12094429/J-35616-14 (GN)

Speaker - Right Rear Compartment (UQA or UQS)

Pin

Wire

Circuit

Function

A

0.8 WH

1959

Right Rear Midrange Speaker Output (-)

B

0.8 TN

1859

Right Rear Midrange Speaker Output (+)

Speaker - Right Rear Compartment (UQG)


Object Number: 280768  Size: CH

Connector Part Information

  • OEM: 12052832
  • Service: 12101825
  • Description: 2-Way F Metri-Pack 150 Series (BK)

Terminal Part Information

  • Terminal/Tray: 12064971/5
  • Core/Insulation Crimp: E/C
  • Release Tool/Test Probe: 12094429/J-35616-14 (GN)

Speaker - Right Rear Compartment (UQG)

Pin

Wire

Circuit

Function

A

0.5 WH

1959

Right Rear Midrange Speaker Output (-)

B

0.5 TN

1859

Right Rear Midrange Speaker Output (+)

Speaker - Subwoofer (UQA or UQS)


Object Number: 280768  Size: CH

Connector Part Information

  • OEM: 12052832
  • Service: 12101825
  • Description: 2-Way F Metri-Pack 150 Series (BK)

Terminal Part Information

  • Terminal/Tray: See Terminal Repair Kit
  • Core/Insulation Crimp: See Terminal Repair Kit
  • Release Tool/Test Probe: See Terminal Repair Kit

Speaker - Subwoofer (UQA or UQS)

Pin

Wire

Circuit

Function

A

1 L-GN/BK

1794

Subwoofer Speaker Output (-)

B

1 D-BU/WH

346

Subwoofer Speaker Output (+)

Speaker - Subwoofer (UQG)


Object Number: 130637  Size: CH

Connector Part Information

  • OEM: 12064760
  • Service: 12085208
  • Description: 4-Way F Metri-Pack 150 Series (BK)

Terminal Part Information

  • Terminal/Tray: See Terminal Repair Kit
  • Core/Insulation Crimp: See Terminal Repair Kit
  • Release Tool/Test Probe: See Terminal Repair Kit

Speaker - Subwoofer (UQG)

Pin

Wire

Circuit

Function

A

0.5 L-GN/BK

1794

Subwoofer Speaker Output (-)

B

0.5 D-BU/WH

346

Subwoofer Speaker Output (+)

C

0.5 L-BU/BK

315

Right Subwoofer Speaker Output (-)

D

0.5 D-GN

1795

Right Subwoofer Speaker (+)

Starter Motor X1

Connector Part Information

  • OEM: 121465076
  • Core/Insulation Crimp: N/A
  • Description: Ring Terminal

Starter Motor X1

Pin

Wire

Circuit

Function

A

32 RD

1

Battery Positive Voltage

Starter Motor X2


Object Number: 696940  Size: CH

Connector Part Information

  • OEM: 12089916
  • Service: 12101763
  • Description: 1-Way F Metri-Pack 280 Series, Sealed (BK)

Terminal Part Information

  • Terminal/Tray: 12129493/2
  • Core/Insulation Crimp: 4/5
  • Release Tool/Test Probe: 12094430/J-35616-4A (PU)

Starter Motor X2

Pin

Wire

Circuit

Function

A

3 PU

6

Starter Solenoid Crank Voltage

Steering Column Tilt/Telescope Actuator X1 (N38)


Object Number: 698669  Size: CH

Connector Part Information

  • OEM: 15326886
  • Service: 88988300
  • Description: 4-Way F GT 280 Series (BK)

Terminal Part Information

  • Terminal/Tray: 7116-4618-02/14
  • Core/Insulation Crimp: See Terminal Repair Kit
  • Release Tool/Test Probe: J-38125-215/J-35616-64B (L-BU)

Steering Column Tilt/Telescope Actuator X1 (N38)

Pin

Wire

Circuit

Function

A

1 BN

2112

Steering Column Tilt Motor Control - Down

B

1 PK

2111

Steering Column Tilt Motor Control - Up

C

1 OG

2098

Steering Column Telescope Motor Forward

D

1 TN

2110

Steering Column Telescope Motor Rearward

Steering Column Tilt/Telescope Actuator X2 (N38)


Object Number: 646420  Size: CH

Connector Part Information

  • OEM: 15332135
  • Service: 15306414
  • Description: 4-Way F GT 150 Series (BK)

Terminal Part Information

  • Terminal/Tray: 12191812/19
  • Core/Insulation Crimp: E/C
  • Release Tool/Test Probe: 15315247/J-35616-2A (GY)

Steering Column Tilt/Telescope Actuator X2 (N38)

Pin

Wire

Circuit

Function

A

0.35 OG

2154

Steering Column Tilt Sensor Signal

B

0.35 GY

6206

Low Reference

C

0.35 TN

6207

5-Volt Reference

D

0.35 OG

2153

Steering Column Telescope Sensor Signal

Steering Wheel Control Switch - Left


Object Number: 1399235  Size: CH

Connector Part Information

  • OEM: 30700-1100
  • Service: See Catalog
  • Description: 10-Way F 0.64 Series (GY)

Terminal Part Information

  • Terminal/Tray: 1393364-2/7
  • Core/Insulation Crimp: K/K
  • Release Tool/Test Probe: 15315247/J-35616-64B (L-BU)

Steering Wheel Control Switch - Left

Pin

Wire

Circuit

Function

1

0.35 PU

1375

12-Volt Reference

2

--

--

Not Used

3

0.35 GY

1884

Cruise Control Switch Signal

4-5

--

--

Not Used

6

0.35 PU/WH

7005

LED Dimming Signal

7

--

--

Not Used

8

0.35 BK/WH

1551

Ground

9

0.35 GN/WH

7158

Cruise Control Indicator Dimming Signal

10

--

--

Not Used

Steering Wheel Control Switch - Right (UK3)


Object Number: 1709750  Size: CH

Connector Part Information

  • OEM: 31068-1010
  • Service: See Catalog
  • Description: 4-Way F HDAC64 SR Housing Series (BK)

Terminal Part Information

  • Terminal/Tray: 1393364-2/7
  • Core/Insulation Crimp: K/K
  • Release Tool/Test Probe: 15315247/J-35616-64B (L-BU)

Steering Wheel Control Switch - Right (UK3)

Pin

Wire

Circuit

Function

1

0.35 BK/WH

1551

Ground

2

0.35 PU/WH

7005

LED Dimming Signal

3

0.35 PU

1375

12-Volt Reference

4

0.35 D-BU

1796

Steering Wheel Controls Signal

Steering Wheel Speed Position Sensor (WDA or Z88 or W49 Late Production)


Object Number: 40427  Size: CH

Connector Part Information

  • OEM: AIT2PB-06-01FS
  • Service: See Catalog
  • Description: 6-Way F AIT II Series (NA)

Terminal Part Information

  • Terminal/Tray: See Terminal Repair Kit
  • Core/Insulation Crimp: See Terminal Repair Kit
  • Release Tool/Test Probe: See Terminal Repair Kit

Steering Wheel Speed Position Sensor (WDA or Z88 or W49 Late Production)

Pin

Wire

Circuit

Function

1

--

--

Not Used

2

0.5 L-GN/BK

6432

CAN Bus Low Serial Data

3

0.5 TN/WH

6433

CAN Bus High Serial Data

4

--

--

Not Used

5

0.5 D-GN

2087

12-Volt Reference

6

0.5 L-BU

2088

Low Reference

Steering Wheel Speed Position Sensor (W49 Early Production)


Object Number: 1862024  Size: CH

Connector Part Information

  • OEM: 112413703
  • Service: See Catalog
  • Description: 6-Way F MQS Series (BK)

Terminal Part Information

  • Terminal/Tray: 928999-5/15
  • Core/Insulation Crimp: J/J
  • Release Tool/Test Probe: 12094429/J-35616-64B (L-BU)

Steering Wheel Speed Position Sensor (W49 Early Production)

Pin

Wire

Circuit

Function

1

0.5 L-GN/BK

6432

CAN Bus Low Serial Data

2

--

--

Not Used

3

0.5 TN/WH

6433

CAN Bus High Serial Data

4

--

--

Not Used

5

0.5 D-GN

2087

12-Volt Reference

6

0.5 L-BU

2088

Low Reference

Steering Wheel/Column Tilt/Telescope Switch (N38)


Object Number: 1862240  Size: CH

Connector Part Information

  • OEM: AIT2PB-06-1AK
  • Service: See Catalog
  • Description: 6-Way AIT II Series (BK)

Terminal Part Information

  • Terminal/Tray: 7116-4618-02/14
  • Core/Insulation Crimp: P/P
  • Release Tool/Test Probe: J-38125-215/J-35616-64B (L-BU)

Steering Wheel/Column Tilt/Telescope Switch (N38)

Pin

Wire

Circuit

Function

1

0.35 RD/WH

2140

Battery Positive Voltage

2

0.35 GY

2096

Steering Column Tilt and Telescope Up Switch Signal

3

0.35 PK

2094

Steering Column Tilt and Telescope Forward Switch Signal

4

--

--

Not Used

5

0.35 OG

2095

Steering Column Tilt and Telescope Reverse Switch Signal

6

0.35 YE

2097

Steering Column Tilt and Telescope Down Switch Signal

Sunload Sensor (CJ2)


Object Number: 130637  Size: CH

Connector Part Information

  • OEM: 12064760
  • Service: 12085208
  • Description: 4-Way F Metri-Pack 150 Series (BK)

Terminal Part Information

  • Terminal/Tray: 12064971/5
  • Core/Insulation Crimp: E/C
  • Release Tool/Test Probe: 12094429/J-35616-14 (GN)

Sunload Sensor (CJ2)

Pin

Wire

Circuit

Function

A

0.35 L-BU/BK

590

Driver Sunload Sensor Signal

B

0.35 GY

1548

Passenger Sunload Sensor Signal

C

0.35 BK/WH

1551

Ground

D

0.35 L-GN/BK

1137

DRL Ambient Light Sensor Signal

Sunroof Control Module (C3U)


Object Number: 1530488  Size: CH

Connector Part Information

  • OEM: 7283-5909-40
  • Service: See Catalog
  • Description: 10-Way F (L-GY)

Terminal Part Information

  • Pin: 1, 6
  • Terminal/Tray: 7116-4101-08/9
  • Core/Insulation Crimp: E/A
  • Release Tool/Test Probe: 12094430/J-35616-2A (GY)
  • Pin: 3
  • Terminal/Tray: 7116-4110-02/9
  • Core/Insulation Crimp: E/C
  • Release Tool/Test Probe: 12094430/J-35616-4A (PU)
  • Pins: 5, 7, 10
  • Terminal/Tray: 7116-4100-08/9
  • Core/Insulation Crimp: E/C
  • Release Tool/Test Probe: 12094430/J-35616-2A (GY)

Sunroof Control Module (C3U)

Pin

Wire

Circuit

Function

1

3.0 BK

850

Ground

2

--

--

Not Used

3

0.5 YE

43

Ignition Voltage

4

--

--

Not Used

5

0.35 BN

100

Sunroof Switch Open Signal

6

1 RD/WH

3440

Battery Positive Voltage

7

0.35 WH

--

Serial Communication

8-9

--

--

Not Used

10

0.35 OG

110

Sunroof Switch Close Signal

Sunroof Shade Module (C3U)


Object Number: 1530488  Size: CH

Connector Part Information

  • OEM: 7283-5909-40
  • Service: See Catalog
  • Description: 10-Way F (L-GY)

Terminal Part Information

  • Pin: 1, 6
  • Terminal/Tray: 7116-4101-08/9
  • Core/Insulation Crimp: E/A
  • Release Tool/Test Probe: 12094430/J-35616-2A (GY)
  • Pin: 3
  • Terminal/Tray: 7116-4110-02/9
  • Core/Insulation Crimp: E/C
  • Release Tool/Test Probe: 12094430/J-35616-4A (PU)
  • Pins: 5, 7, 10
  • Terminal/Tray: 7116-4100-08/9
  • Core/Insulation Crimp: E/C
  • Release Tool/Test Probe: 12094430/J-35616-2A (GY)

Sunroof Shade Module (C3U)

Pin

Wire

Circuit

Function

1

1 BK

850

Ground

2

--

--

Not Used

3

0.5 YE

43

Ignition Voltage

4

--

--

Not Used

5

0.35 D-BU

5304

Front Sunshade Switch Open Signal

6

1 RD/WH

3440

Battery Positive Voltage

7

PU

--

Serial Communication

8-9

--

--

Not Used

10

0.35 YE/BK

5305

Front Sunshade Switch Close Signal

Sunroof Shade Switch (C3U)


Object Number: 130714  Size: CH

Connector Part Information

  • OEM: 12124997
  • Service: 12167130
  • Description: 5-Way F Metri-Pack 150 Series, Unsealed (BK)

Terminal Part Information

  • Terminal/Tray: See Terminal Repair Kit
  • Core/Insulation Crimp: See Terminal Repair Kit
  • Release Tool/Test Probe: See Terminal Repair Kit

Sunroof Shade Switch (C3U)

Pin

Wire

Circuit

Function

A

0.35 GY

8

Instrument Panel Lamp Supply Voltage

B

0.35 BK

850

Ground

C

--

--

Not Used

D

0.35 L-BU

5304

Front Sunshade Switch Open Signal

E

0.35 YE

5305

Front Sunshade Switch Close Signal

Sunroof Switch (C3U)


Object Number: 130714  Size: CH

Connector Part Information

  • OEM: 12124997
  • Service: 12167130
  • Description: 5-Way F Metri-Pack 150 Series, Unsealed (BK)

Terminal Part Information

  • Terminal/Tray: See Terminal Repair Kit
  • Core/Insulation Crimp: See Terminal Repair Kit
  • Release Tool/Test Probe: See Terminal Repair Kit

Sunroof Switch (C3U)

Pin

Wire

Circuit

Function

A

0.35 GY

8

Instrument Panel Lamp Supply Voltage

B

0.35 BK

850

Ground

C

--

--

Not Used

D

0.35 BN

100

Sunroof Switch Open Signal

E

0.35 OG

110

Sunroof Switch Close Signal

Sunshade - Left (DH6)


Object Number: 35441  Size: CH

Connector Part Information

  • OEM: 12047663
  • Service: 12085481
  • Description: 2-Way M Metri-Pack 150 Series (BK)

Terminal Part Information

  • Terminal/Tray: 12047581/2
  • Core/Insulation Crimp: E/C
  • Release Tool/Test Probe: 12094429/J-35616-3 (GY)

Sunshade - Left (DH6)

Pin

Wire

Circuit

Function

A

0.5 OG

1732

Courtesy Lamps Supply Voltage

B

0.5 BK

850

Ground

Sunshade - Right (DH6)


Object Number: 35441  Size: CH

Connector Part Information

  • OEM: 12047663
  • Service: 12085481
  • Description: 2-Way M Metri-Pack 150 Series (BK)

Terminal Part Information

  • Terminal/Tray: 12047581/2
  • Core/Insulation Crimp: E/C
  • Release Tool/Test Probe: 12094429/J-35616-3 (GY)

Sunshade - Right (DH6)

Pin

Wire

Circuit

Function

A

0.5 OG

1732

Courtesy Lamps Supply Voltage

B

0.5 BK

850

Ground

Tail Lamp - Left (Z88)


Object Number: 779050  Size: CH

Connector Part Information

  • OEM: 12124662
  • Service: See Catalog
  • Description: 5-Way F Metri-Pack 150 Series, Sealed (BN)

Terminal Part Information

  • Terminal/Tray: 12048074/2
  • Core/Insulation Crimp: E/1
  • Release Tool/Test Probe: 12094429/J-35616-14 (GN)

Tail Lamp - Left (Z88)

Pin

Wire

Circuit

Function

A

0.5 PU

709

Left Park Lamp Supply Voltage

B

--

--

Not Available

C

0.5 YE/BK

5356

Left Tail Lamp Outage Detection Signal

D

0.8 BK

650

Ground

E

0.8 YE

18

Left Rear Stop/Turn Lamp Supply Voltage

Tail Lamp - Right (Z88)


Object Number: 779050  Size: CH

Connector Part Information

  • OEM: 12124662
  • Service: See Catalog
  • Description: 5-Way F Metri-Pack 150 Series, Sealed (BN)

Terminal Part Information

  • Terminal/Tray: 12048074/2
  • Core/Insulation Crimp: E/1
  • Release Tool/Test Probe: 12094429/J-35616-14 (GN)

Tail Lamp - Right (Z88)

Pin

Wire

Circuit

Function

A

0.5 BN/WH

309

Right Park Lamp Supply Voltage

B

--

--

Not Available

C

0.5 PU

5357

Right Tail Lamp Outage Detection Signal

D

0.8 BK

850

Ground

E

0.8 D-GN

19

Right Rear Stop/Turn Lamp Supply Voltage

Tail/Stop and Turn Signal Lamp - Left (W49 or WDA)


Object Number: 1694736  Size: CH

Connector Part Information

  • OEM: 12450004
  • Service: See Catalog
  • Description: 3-Way F CIC W3 Socket (L-GY)

Terminal Part Information

  • Terminal/Tray: See Terminal Repair Kit
  • Core/Insulation Crimp: See Terminal Repair Kit
  • Release Tool/Test Probe: See Terminal Repair Kit

Tail/Stop and Turn Signal Lamp - Left (W49 or WDA)

Pin

Wire

Circuit

Function

A

RD

--

Left Rear Stop/Turn Supply Voltage (WDA)

WH

--

Left Rear Stop/Turn Supply Voltage (W49)

B

BK

--

Ground

BK

--

Ground

C

L-BU

--

Park Lamps Supply Voltage (WDA)

L-BU

--

Park Lamps Supply Voltage (WDA)

D-BU

--

Park Lamps Supply Voltage (W49)

D-BU

--

Park Lamps Supply Voltage (W49)

Tail/Stop and Turn Signal Lamp - Right (W49 or WDA)


Object Number: 1694736  Size: CH

Connector Part Information

  • OEM: 12450004
  • Service: See Catalog
  • Description: 3-Way F CIC W3 Socket (L-GY)

Terminal Part Information

  • Terminal/Tray: See Terminal Repair Kit
  • Core/Insulation Crimp: See Terminal Repair Kit
  • Release Tool/Test Probe: See Terminal Repair Kit

Tail/Stop and Turn Signal Lamp - Right (W49 or WDA)

Pin

Wire

Circuit

Function

A

RD

--

Right Rear Stop/Turn Supply Voltage (WDA)

WH

--

Right Rear Stop/Turn Supply Voltage (W49)

B

BK

--

Ground

BK

--

Ground

C

L-BU

--

Park Lamps Supply Voltage (WDA)

L-BU

--

Park Lamps Supply Voltage (WDA)

D-BU

--

Park Lamps Supply Voltage (W49)

D-BU

--

Park Lamps Supply Voltage (W49)

Theft Deterrent Module (TDM)


Object Number: 1593355  Size: CH

Connector Part Information

  • OEM: 50579705
  • Service: See Catalog
  • Description: 5-Way F 2.54mm (BK)

Terminal Part Information

  • Terminal/Tray: 16-02-1110/20
  • Core/Insulation Crimp: H/H
  • Release Tool/Test Probe: J-38125-213/J-35616-64B (L-BU)

Theft Deterrent Module (TDM)

Pin

Wire

Circuit

Function

1

0.35 RD/WH

1040

Battery Positive Voltage

2

0.35 BN

4

Ignition Voltage

3

0.35 BK/WH

1551

Ground

4

--

--

Not Used

5

0.35 D-GN

5060

Low Speed GMLAN Serial Data

Throttle Body (LY7)


Object Number: 1664617  Size: CH

Connector Part Information

  • OEM: 15355297
  • Service: 19115594
  • Description: 6-Way F GT 150 Series, Sealed (BK)

Terminal Part Information

  • Terminal/Tray: 15326427/5
  • Core/Insulation Crimp: Pins A, B - 2/A
  • Core/Insulation Crimp: Pins C, D, E, F - E/A
  • Release Tool/Test Probe: 15315247/J-35616-2A (GY)

Throttle Body (LY7)

Pin

Wire

Circuit

Function

A

0.8 BN

582

TAC Motor Control - 2

B

0.8 YE

581

TAC Motor Control - 1

C

0.5 TN

2752

Low Reference

D

0.5 D-GN

485

TP Sensor 1 Signal

E

0.5 GY

2701

5-Volt Reference

F

0.5 PU

486

TP Sensor 2 Signal

Trailer Connector (V92 or Early Production)


Object Number: 525095  Size: CH

Connector Part Information

  • OEM: 15354653
  • Service: 15306164
  • Description: 7-Way F Metri-Pack 280, Sealed (BK)

Terminal Part Information

  • Pins: A, D, F, G
  • Terminal/Tray: 12110847/4
  • Core/Insulation Crimp: E/5
  • Release Tool/Test Probe: 15315247/J-35616-4A (PU)
  • Pins: C, E
  • Terminal/Tray: 12110845/4
  • Core/Insulation Crimp: A/5
  • Release Tool/Test Probe: 15315247/J-35616-4A (PU)
  • Pins: B
  • Terminal/Tray: 15305232/23
  • Core/Insulation Crimp: Pins B - B/F/3
  • Core/Insulation Crimp: Pins B - F/3
  • Release Tool/Test Probe: J-38125-11A/J-35616-42 (RD)

Trailer Connector (V92 or Early Production)

Pin

Wire

Circuit

Function

A

0.5 L-GN

1624

Trailer Backup Lamps Supply Voltage (V92)

B

0.5 BK

850

Ground (without V92)

2 BK

850

Ground (V92)

C

2 D-BU

47

Trailer Auxiliary Supply Voltage (V92)

D

0.5 D-GN

1619

Stop Lamp Supply Voltage

E

2 RD/BK

542

Battery Positive Voltage (V92)

F

0.5 BN

2109

Trailer Park Lamps Supply Voltage

G

0.5 YE

1618

Stop Lamp Supply Voltage

Turn Signal Lamp - Left Front (W49 or Z88)


Object Number: 1710998  Size: CH

Connector Part Information

  • OEM: 1-1438608-3
  • Service: See Catalog
  • Description: 2-Way F MQS Series, Sealed (BK)

Terminal Part Information

  • Terminal/Tray: See Terminal Repair Kit
  • Core/Insulation Crimp: See Terminal Repair Kit
  • Release Tool/Test Probe: See Terminal Repair Kit

Turn Signal Lamp - Left Front (W49 or Z88)

Pin

Wire

Circuit

Function

1

0.8 YE

--

Left Turn Signal Indicator Lamp Supply Voltage (Z88)

0.8 BK

--

Ground (W49)

2

0.8 BK

--

Ground (Z88)

0.8 GN

--

Left Turn Signal Indicator Lamp Supply Voltage (W49)

Turn Signal Lamp - Lower Left Front (WDA)


Object Number: 1710998  Size: CH

Connector Part Information

  • OEM: 1-1438608-3
  • Service: See Catalog
  • Description: 2-Way F MQS Series, Sealed (BU)

Terminal Part Information

  • Terminal/Tray: See Terminal Repair Kit
  • Core/Insulation Crimp: See Terminal Repair Kit
  • Release Tool/Test Probe: See Terminal Repair Kit

Turn Signal Lamp - Lower Left Front (WDA)

Pin

Wire

Circuit

Function

1

0.5 L-BU/WH

1314

Left Turn Signal Indicator Lamp Supply Voltage

2

0.5 BK

1350

Ground

Turn Signal Lamp - Lower Right Front (WDA)


Object Number: 1710998  Size: CH

Connector Part Information

  • OEM: 1-1438608-3
  • Service: See Catalog
  • Description: 2-Way F MQS Series, Sealed (BU)

Terminal Part Information

  • Terminal/Tray: 962885-5/15
  • Core/Insulation Crimp: 6/6
  • Release Tool/Test Probe: 12094429/J-35616-64B (L-BU)

Turn Signal Lamp - Lower Right Front (WDA)

Pin

Wire

Circuit

Function

1

0.5 L-BU/WH

1314

Right Turn Signal Indicator Lamp Supply Voltage

2

0.5 BK

1350

Ground

Turn Signal Lamp - Right Front (W49 or Z88)


Object Number: 1710998  Size: CH

Connector Part Information

  • OEM: 1-1438608-3
  • Service: See Catalog
  • Description: 2-Way F MQS Series, Sealed (BK)

Terminal Part Information

  • Terminal/Tray: See Terminal Repair Kit
  • Core/Insulation Crimp: See Terminal Repair Kit
  • Release Tool/Test Probe: See Terminal Repair Kit

Turn Signal Lamp - Right Front (W49 or Z88)

Pin

Wire

Circuit

Function

1

0.8 YE

--

Right Turn Signal Indicator Lamp Supply Voltage (Z88)

0.8 BK

--

Ground (W49)

2

0.8 BK

--

Ground (Z88)

0.8 GN

--

Right Turn Signal Indicator Lamp Supply Voltage (W49)

Turn Signal Lamp - Upper Left Front (WDA)


Object Number: 1710998  Size: CH

Connector Part Information

  • OEM: 1-1438608-3
  • Service: See Catalog
  • Description: 2-Way F MQS Series, Sealed (BU)

Terminal Part Information

  • Terminal/Tray: See Terminal Repair Kit
  • Core/Insulation Crimp: See Terminal Repair Kit
  • Release Tool/Test Probe: See Terminal Repair Kit

Turn Signal Lamp - Upper Left Front (WDA)

Pin

Wire

Circuit

Function

1

0.5 L-BU/WH

1314

Left Turn Signal Indicator Lamp Supply Voltage

2

0.5 BK

1350

Ground

Turn Signal Lamp - Upper Right Front (WDA)


Object Number: 1710998  Size: CH

Connector Part Information

  • OEM: 1-1438608-3
  • Service: See Catalog
  • Description: 2-Way F MQS Series, Sealed (BU)

Terminal Part Information

  • Terminal/Tray: 962885-5/15
  • Core/Insulation Crimp: 6/6
  • Release Tool/Test Probe: 12094429/J-35616-64B (L-BU)

Turn Signal Lamp - Upper Right Front (WDA)

Pin

Wire

Circuit

Function

1

0.5 L-BU/WH

1314

Right Turn Signal Indicator Lamp Supply Voltage

2

0.5 BK

1350

Ground

Turn Signal/Multifunction Switch X1


Object Number: 1862243  Size: CH

Connector Part Information

  • OEM: AIT2PB101FS
  • Service: See Catalog
  • Description: 10-Way F (WH)

Terminal Part Information

  • Terminal/Tray: 7116-4618-02/14
  • Core/Insulation Crimp: P/P
  • Release Tool/Test Probe: J-38125-215/J-35616-64B (L-BU)

Turn Signal/Multifunction Switch X1

Pin

Wire

Circuit

Function

1

0.35 BK/WH

1551

Ground

2

0.35 L-BU/WH

1414

Left Turn Signal Switch Signal

3

0.35 D-BU/WH

1415

Right Turn Signal Switch Signal

4

0.35 L-BU

1714

Windshield Wiper Switch Low Signal

5

0.35 L-GN

1715

Windshield Wiper Switch High Signal

6

0.35 PK

94

Windshield Washer Switch Signal

7

0.35 TN/BK

6009

Low Reference

8-10

--

--

Not Used

Turn Signal/Multifunction Switch X2


Object Number: 1862242  Size: CH

Connector Part Information

  • OEM: AIT2PB101BH
  • Service: See Catalog
  • Description: 10-Way JST (GY)

Terminal Part Information

  • Terminal/Tray: 7116-4618-02/14
  • Core/Insulation Crimp: P/P
  • Release Tool/Test Probe: J-38125-215/J-35616-64B (L-BU)

Turn Signal/Multifunction Switch X2

Pin

Wire

Circuit

Function

1-6

--

--

Not Used

7

0.35 PU

524

Headlamp Dimmer Switch High Beam Signal

8

0.35 BK/WH

1551

Ground

9

--

--

Not Used

10

0.35 BN

1356

Flash To Pass Switch Signal

Variable Effort Steering Actuator (NV7)


Object Number: 1467003  Size: CH

Connector Part Information

  • OEM: 85202-1
  • Service: See Catalog
  • Description: 2-Way F JPT Series (BK)

Terminal Part Information

  • Terminal/Tray: 4-964286-1/16
  • Core/Insulation Crimp: E/1
  • Release Tool/Test Probe: 12093647/J-35616-4A (PU)

Variable Effort Steering Actuator (NV7)

Pin

Wire

Circuit

Function

1

0.5 BN

1295

Variable Effort Steering Actuator Control

2

0.5 WH

1294

Variable Effort Steering Actuator Supply Voltage

Vehicle Communications Interface Module (VCIM) X1 (UE1)


Object Number: 1471689  Size: CH

Connector Part Information

  • OEM: 15431362
  • Service: 15306351
  • Description: 16-Way F Micro64 Unsealed (WH)

Terminal Part Information

  • Pins: 1-3, 6, 7, 10-12, 15
  • Terminal/Tray: 15445905/23
  • Core/Insulation Crimp: Pins 1-3, 6, 10-12 - J/J
  • Core/Insulation Crimp: Pins 7, 15 - K/K
  • Release Tool/Test Probe: 12180559/J-35616-6 (BN)

Vehicle Communications Interface Module (VCIM) X1 (UE1)

Pin

Wire

Circuit

Function

1

0.35 D-GN

5060

Low Speed GMLAN Serial Data

2

0.35 BN/WH

2517

Keypad Red LED Signal

3

0.35 YE/BK

2516

Keypad Green LED Signal

4-5

--

--

Not Used

6

0.35 L-GN/BK

2515

Keypad Supply Voltage

7

0.8 BK/WH

351

Ground (W49 Early Production)

0.8 BK

650

Ground (WDA or Z88 or W49 Late Production)

8-9

--

--

Not Used

10

0.35 TN/BK

2500

High Speed GMLAN Serial Data Bus+

11

0.35 D-GN/WH

2514

Keypad Signal

12

0.35 TN

2501

High Speed GMLAN Serial Data Bus-

13-14

--

--

Not Used

15

0.8 RD/WH

4640

Battery Positive Voltage

16

--

--

Not Used

Vehicle Communications Interface Module (VCIM) X2 (UE1)


Object Number: 1471691  Size: CH

Connector Part Information

  • OEM: 15431365
  • Service: 88952886
  • Description: 12-Way F Micro64 Series, Unsealed (NA)

Terminal Part Information

  • Terminal/Tray: 15445905/23
  • Core/Insulation Crimp: J/J
  • Release Tool/Test Probe: 12180559/J-35616-6 (BN)

Vehicle Communications Interface Module (VCIM) X2 (UE1)

Pin

Wire

Circuit

Function

1

0.35 OG/BK

1406

Remote Playback Device Left Audio Signal

2

0.35 L-BU

1405

Remote Playback Device Audio Common Signal

3

0.35 TN/BK

2500

High Speed GMLAN Serial Data Bus+

4

0.35 TN

2501

High Speed GMLAN Serial Data Bus-

5-7

--

--

Not Used

8

0.35 BARE

814

Drain

9

0.35 GY

655

Cellular Microphone Signal

10

0.35 BARE

514

Ground

11-12

--

--

Not Used

Vehicle Communications Interface Module (VCIM) X3 (UE1)


Object Number: 814531  Size: CH

Connector Part Information

  • OEM: 15431359
  • Service: See Catalog
  • Description: 16-Way F Micro 100A (GY)

Terminal Part Information

  • Terminal/Tray: 175266-5/15
  • Core/Insulation Crimp: J/J
  • Release Tool/Test Probe: 15315247/J-35616-16 (L-GN)

Vehicle Communications Interface Module (VCIM) X3 (UE1)

Pin

Wire

Circuit

Function

1

--

--

Not Used

2

0.35 PK

5149

Voice Recognition Audio Signal

3

--

--

Not Used

4

0.35 PK/BK

5152

Low Reference

5

0.35 BARE

1792

Drain

6-16

--

--

Not Used

Wheel Speed Sensor (WSS) - Left Front


Object Number: 1862103  Size: CH

Connector Part Information

  • OEM: 34062-0011
  • Service: See Catalog
  • Description: 2-Way F 1.5 Series, Sealed (BK)

Terminal Part Information

  • Terminal/Tray: 34083-1002/28
  • Core/Insulation Crimp: C/E/1
  • Release Tool/Test Probe: 12094429/J-35616-14 (GN)

Wheel Speed Sensor (WSS) - Left Front

Pin

Wire

Circuit

Function

1

0.5 L-BU

830

Left Front Wheel Speed Sensor Signal

2

0.5 YE

873

Low Reference

Wheel Speed Sensor (WSS) - Left Rear


Object Number: 1862103  Size: CH

Connector Part Information

  • OEM: 34062-0011
  • Service: See Catalog
  • Description: 2-Way F 1.5 Series, Sealed (BK)

Terminal Part Information

  • Terminal/Tray: 34083-1002/28
  • Core/Insulation Crimp: C/E/1
  • Release Tool/Test Probe: 12094429/J-35616-14 (GN)

Wheel Speed Sensor (WSS) - Left Rear

Pin

Wire

Circuit

Function

1

0.5 TN

884

Left Rear Wheel Speed Sensor Signal

2

0.5 OG

885

Low Reference

Wheel Speed Sensor (WSS) - Right Front


Object Number: 1862103  Size: CH

Connector Part Information

  • OEM: 34062-0011
  • Service: See Catalog
  • Description: 2-Way F 1.5 Series, Sealed (BK)

Terminal Part Information

  • Terminal/Tray: 34083-1002/28
  • Core/Insulation Crimp: C/E/1
  • Release Tool/Test Probe: 12094429/J-35616-14 (GN)

Wheel Speed Sensor (WSS) - Right Front

Pin

Wire

Circuit

Function

1

0.5 D-GN

872

Right Front Wheel Speed Sensor Signal

2

0.5 TN

833

Low Reference

Wheel Speed Sensor (WSS) - Right Rear


Object Number: 1862103  Size: CH

Connector Part Information

  • OEM: 34062-0011
  • Service: See Catalog
  • Description: 2-Way F 1.5 Series, Sealed (BK)

Terminal Part Information

  • Terminal/Tray: 34083-1002/28
  • Core/Insulation Crimp: C/E/1
  • Release Tool/Test Probe: 12094429/J-35616-14 (GN)

Wheel Speed Sensor (WSS) - Right Rear

Pin

Wire

Circuit

Function

1

0.5 BN

882

Right Rear Wheel Speed Sensor Signal

2

0.5 WH

883

Low Reference

Window Motor - Driver (AXC or AXE)


Object Number: 1664554  Size: CH

Connector Part Information

  • OEM: 2-1355696-1
  • Service: 88988401
  • Description: 6-Way F Timer Jr-Power Series, Sealed (GY)

Terminal Part Information

  • Pins: 1, 4
  • Terminal/Tray: 4-964273-1/15
  • Core/Insulation Crimp: C/5
  • Release Tool/Test Probe: 12093647/J-35616-4A (PU)
  • Pins: 6
  • Terminal/Tray: 4-964286-1/16
  • Core/Insulation Crimp: E/1
  • Release Tool/Test Probe: 12093647/J-35616-4A (PU)

Window Motor - Driver (AXC or AXE)

Pin

Wire

Circuit

Function

1

2 RD/WH

3340

Battery Positive Voltage

2-3

--

--

Not Used

4

2 BK

550

Ground

5

--

--

Not Used

6

0.35 BN

6132

Linear Interconnect Network Bus

Window Motor - Driver (without AXC or AXE)


Object Number: 684837  Size: CH

Connector Part Information

  • OEM: 12129487
  • Service: 88988609
  • Description: 2-Way F Metri-Pack 280 Series, Flexlock, Sealed (GY)

Terminal Part Information

  • Terminal/Tray: 12110845/4
  • Core/Insulation Crimp: F/5
  • Release Tool/Test Probe: 15315247/J-35616-4A (PU)

Window Motor - Driver (without AXC or AXE)

Pin

Wire

Circuit

Function

A

3 BN

165

Power Window Motor Left Front Down Control

B

3 D-BU

164

Power Window Motor Left Front Up Control

Window Motor - Left Rear


Object Number: 684837  Size: CH

Connector Part Information

  • OEM: 12129487
  • Service: 88988609
  • Description: 2-Way F Metri-Pack 280 Series, Flexlock, Sealed (GY)

Terminal Part Information

  • Terminal/Tray: 12110853/4
  • Core/Insulation Crimp: F/5
  • Release Tool/Test Probe: 15315247/J-35616-4A (PU)

Window Motor - Left Rear

Pin

Wire

Circuit

Function

A

3 BN

669

Power Window Motor Left Rear Down Control

B

3 D-BU

668

Power Window Motor Left Rear Up Control

Window Motor - Passenger (AXC)


Object Number: 1664554  Size: CH

Connector Part Information

  • OEM: 2-1355696-1
  • Service: 88988401
  • Description: 6-Way F Timer Jr-Power Series, Sealed (GY)

Terminal Part Information

  • Pins: 1, 4
  • Terminal/Tray: 4-964273-1/15
  • Core/Insulation Crimp: C/5
  • Release Tool/Test Probe: 12093647/J-35616-4A (PU)
  • Pins: 6
  • Terminal/Tray: 4-964286-1/16
  • Core/Insulation Crimp: E/1
  • Release Tool/Test Probe: 12093647/J-35616-4A (PU)

Window Motor - Passenger (AXC)

Pin

Wire

Circuit

Function

1

2 RD/WH

3340

Battery Positive Voltage

2-3

--

--

Not Used

4

2 BK

750

Ground

5

--

--

Not Used

6

0.35 D-BU

6133

Linear Interconnect Network Bus

Window Motor - Passenger (without AXC)


Object Number: 684837  Size: CH

Connector Part Information

  • OEM: 12129487
  • Service: 88988609
  • Description: 2-Way F Metri-Pack 280 Series, Flexlock, Sealed (GY)

Terminal Part Information

  • Terminal/Tray: 12110845/4
  • Core/Insulation Crimp: A/5
  • Release Tool/Test Probe: 15315247/J-35616-4A (PU)

Window Motor - Passenger (without AXC)

Pin

Wire

Circuit

Function

A

2 BN

667

Power Window Motor Right Front Down Control

B

2 D-BU

666

Power Window Motor Right Front Up Control

Window Motor - Right Rear


Object Number: 684837  Size: CH

Connector Part Information

  • OEM: 12129487
  • Service: 88988609
  • Description: 2-Way F Metri-Pack 280 Series, Flexlock, Sealed (GY)

Terminal Part Information

  • Terminal/Tray: 12110853/4
  • Core/Insulation Crimp: F/5
  • Release Tool/Test Probe: 15315247/J-35616-4A (PU)

Window Motor - Right Rear

Pin

Wire

Circuit

Function

A

3 BN

671

Power Window Motor Right Rear Down Control

B

3 D-BU

670

Power Window Motor Right Rear Up Control

Window Switch - Driver X1 (without AXC or AXE)


Object Number: 1716517  Size: CH

Connector Part Information

  • OEM: 7283-9028-30
  • Service: See Catalog
  • Description: 8-Way F YESC Kaizen Series (BK)

Terminal Part Information

  • Pins: 1
  • Terminal/Tray: 7114-4100-08/9
  • Core/Insulation Crimp: E/C
  • Release Tool/Test Probe: 15315247/J-35616-3 (GY)
  • Pins: 2-8
  • Terminal/Tray: 7116-4618-02/14
  • Core/Insulation Crimp: P/P
  • Release Tool/Test Probe: J-38125-215/J-35616-64B (L-BU)

Window Switch - Driver X1 (without AXC or AXE)

Pin

Wire

Circuit

Function

1

0.35 PU/WH

1382

LED Dimming Signal

2

0.35 D-BU

1307

Power Window Master Switch Lockout Signal

3

0.35 PU

169

Power Window Master Switch Left Rear Down Signal

4

0.35 D-GN

168

Power Window Master Switch Left Rear Up Signal

5

0.35 TN

167

Power Window Master Switch Right Front Down Signal

6

0.35 L-BU

166

Power Window Master Switch Right Front Up Signal

7

0.35 PU

171

Power Window Master Switch Right Rear Down Signal

8

0.35 L-GN

170

Power Window Master Switch Right Rear Up Signal

Window Switch - Driver X2 (without AXC or AXE)


Object Number: 556473  Size: CH

Connector Part Information

  • OEM: 15326924
  • Service: 15306174
  • Description: 8-Way F GT 280 Series (BK)

Terminal Part Information

  • Pins: A, D, E, H
  • Terminal/Tray: 15304713/19
  • Core/Insulation Crimp: F/D
  • Release Tool/Test Probe: 15315247/J-35616-4A (PU)
  • Pins: F, G
  • Terminal/Tray: 15304711/8
  • Core/Insulation Crimp: E/A
  • Release Tool/Test Probe: 15315247/J-35616-4A (PU)

Window Switch - Driver X2 (without AXC or AXE)

Pin

Wire

Circuit

Function

A

3 BK

550

Ground

B-C

--

--

Not Used

D

3 BN

165

Power Window Motor Left Front Down Control

E

3 D-BU

164

Power Window Motor Left Front Up Control

F

0.35 L-BU/WH

280

Power Window Master Switch Lockout Right Rear Signal

G

0.35 YE

43

Ignition Voltage

H

3 RD/WH

3340

Battery Positive Voltage

Window Switch - Left Rear


Object Number: 556473  Size: CH

Connector Part Information

  • OEM: 15326924
  • Service: 15306174
  • Description: 8-Way F GT 280 Series (BK)

Terminal Part Information

  • Pins: A-D
  • Terminal/Tray: 15304711/8
  • Core/Insulation Crimp: E/A
  • Release Tool/Test Probe: 15315247/J-35616-4A (PU)
  • Pins: E-H
  • Terminal/Tray: 15304713/19
  • Core/Insulation Crimp: Pins E, H - F/D
  • Core/Insulation Crimp: Pins F, G - 4/4
  • Release Tool/Test Probe: 15315247/J-35616-4A (PU)

Window Switch - Left Rear

Pin

Wire

Circuit

Function

A

0.35 D-GN

168

Power Window Master Switch Left Rear Up Signal

B

0.35 GY

8

Instrument Panel Lamp Supply Voltage

C

0.35 PU

169

Power Window Master Switch Left Rear Down Signal

D

0.35 D-BU

1307

Power Window Master Switch Lockout Signal

E

3 D-BU

668

Power Window Motor Left Rear Up Control

F

2 BK

550

Ground

G

2 RD/WH

3340

Battery Positive Voltage

H

3 BN

669

Power Window Motor Left Rear Down Control

Window Switch - Passenger (without AXC or AXE)


Object Number: 556473  Size: CH

Connector Part Information

  • OEM: 15326924
  • Service: 15306174
  • Description: 8-Way F GT 280 Series (BK)

Terminal Part Information

  • Pins: A-D
  • Terminal/Tray: 15304711/8
  • Core/Insulation Crimp: E/A
  • Release Tool/Test Probe: 15315247/J-35616-4A (PU)
  • Pins: E-H
  • Terminal/Tray: 15304713/19
  • Core/Insulation Crimp: 4/4
  • Release Tool/Test Probe: 15315247/J-35616-4A (PU)

Window Switch - Passenger (without AXC or AXE)

Pin

Wire

Circuit

Function

A

0.35 L-BU

166

Power Window Master Switch Right Front Up Signal

B

0.35 GY

8

Instrument Panel Lamp Supply Voltage

C

0.35 TN

167

Power Window Master Switch Right Front Down Signal

D

0.35 YE

43

Ignition Voltage

E

2 D-BU

666

Power Window Motor Right Front Up Control

F

2 BK

750

Ground

G

2 RD/WH

3340

Battery Positive Voltage

H

2 BN

667

Power Window Motor Right Front Down Control

Window Switch - Right Rear


Object Number: 556473  Size: CH

Connector Part Information

  • OEM: 15326924
  • Service: 15306174
  • Description: 8-Way F GT 280 Series (BK)

Terminal Part Information

  • Pins: A-D
  • Terminal/Tray: 15304711/8
  • Core/Insulation Crimp: E/A
  • Release Tool/Test Probe: 15315247/J-35616-4A (PU)
  • Pins: E-H
  • Terminal/Tray: 15304713/19
  • Core/Insulation Crimp: Pins E, H - F/D
  • Core/Insulation Crimp: Pins F, G - 4/4
  • Release Tool/Test Probe: 15315247/J-35616-4A (PU)

Window Switch - Right Rear

Pin

Wire

Circuit

Function

A

0.35 L-GN

170

Power Window Master Switch Right Rear Up Signal

B

0.35 GY

8

Instrument Panel Lamp Supply Voltage

C

0.35 PU

171

Power Window Master Switch Right Rear Down Signal

D

0.35 L-BU/WH

280

Power Window Master Switch Lockout Right Rear Signal

E

3 D-BU

670

Power Window Motor Right Rear Up Control

F

2 BK

750

Ground

G

2 RD/WH

3340

Battery Positive Voltage

H

3 BN

671

Power Window Motor Right Rear Down Control

Windshield Washer Fluid Level Switch


Object Number: 1940136  Size: CH

Connector Part Information

  • OEM: 15336024
  • Service: 88987993
  • Description: 2-Way F GT 150 Sealed (BK)

Terminal Part Information

  • Terminal/Tray: 15326267/19
  • Core/Insulation Crimp: E/4
  • Release Tool/Test Probe: 15315247/J-35616-2A (GY)

Windshield Washer Fluid Level Switch

Pin

Wire

Circuit

Function

1

0.5 BK

1350

Ground

2

0.35 TN

185

Low Washer Fluid Indicator Control

Windshield Washer Fluid Pump


Object Number: 635009  Size: CH

Connector Part Information

  • OEM: 12052641
  • Service: 12102747
  • Description: 2-Way F Metri-Pack 150 Series (BK)

Terminal Part Information

  • Terminal/Tray: 12048074/2
  • Core/Insulation Crimp: E/1
  • Release Tool/Test Probe: 12094429/J-35616-14 (GN)

Windshield Washer Fluid Pump

Pin

Wire

Circuit

Function

A

0.5 OG

228

Windshield Washer Pump Control

B

0.5 BK

1350

Ground

Windshield Washer Solvent Heater X1 (XA7)


Object Number: 1715214  Size: CH

Connector Part Information

  • OEM: 7282-3214-30
  • Service: 19115654
  • Description: 2-Way M Y-Type 9.5 Series, Sealed (BK)

Terminal Part Information

  • Terminal/Tray: 7114-3250/14
  • Core/Insulation Crimp: G/3
  • Release Tool/Test Probe: 12094430/J-35616-21 (RD)

Windshield Washer Solvent Heater X1 (XA7)

Pin

Wire

Circuit

Function

1

5 RD/WH

1440

Battery Positive Voltage

2

5 BK

1750

Ground

Windshield Washer Solvent Heater X2 (XA7)


Object Number: 1664625  Size: CH

Connector Part Information

  • OEM: 33472-0611
  • Service: 19115669
  • Description: 6-Way F Sealed (BK)

Terminal Part Information

  • Terminal/Tray: 33012-1003/23
  • Core/Insulation Crimp: 2/E/2
  • Release Tool/Test Probe: J-38125-217/J-35616-14 (GN)

Windshield Washer Solvent Heater X2 (XA7)

Pin

Wire

Circuit

Function

1

0.35 L-GN

6096

Washer Fluid Heated Control Switch Signal

2

0.35 D-BU/WH

5970

Washer Fluid Heated Control Switch LED Supply Voltage

3

--

--

Not Used

4

0.35 BK

1450

Ground

5

0.35 PK

94

Windshield Washer Switch Signal

6

0.35 OG

300

Power Mode

Windshield Wiper Motor


Object Number: 1538775  Size: CH

Connector Part Information

  • OEM: 10811710
  • Service: 88987987
  • Description: 4-Way F Timer Jr-Power Sealed (BK)

Terminal Part Information

  • Terminal/Tray: 4-964273-1/15
  • Core/Insulation Crimp: E/1
  • Release Tool/Test Probe: 12093647/J-35616-4A (PU)

Windshield Wiper Motor

Pin

Wire

Circuit

Function

1

1 PU

92

Windshield Wiper Motor High Speed

2

1 D-GN

95

Windshield Washer Switch Signal

3

0.35 YE

196

Windshield Wiper Motor Park Switch Signal

4

1 BK

1650

Ground

Yaw and Lateral Accelerometer Sensor


Object Number: 810084  Size: CH

Connector Part Information

  • OEM: 1-967640-1
  • Service: 88953370
  • Description: 4-Way F MQS Socket Housing, Sealed (BK)

Terminal Part Information

  • Terminal/Tray: 962885-5/15
  • Core/Insulation Crimp: 6/6
  • Release Tool/Test Probe: 12094429/J-35616-64B (L-BU)

Yaw and Lateral Accelerometer Sensor

Pin

Wire

Circuit

Function

1

0.5 L-BU

2088

Low Reference

2

0.5 L-GN/BK

6432

CAN Bus Low Serial Data

3

0.5 TN/WH

6433

CAN Bus High Serial Data

4

0.5 D-GN

2087

12-Volt Reference