GM Service Manual Online
For 1990-2009 cars only
Connector 1: Inflatable Restraint Front End Sensor - Left
Connector 2: Inflatable Restraint Front End Sensor - Right
Connector 3: Inflatable Restraint Front Passenger Presence System (PPS) Module
Connector 4: Inflatable Restraint Front Passenger Presence System (PPS) Sensor
Connector 5: Inflatable Restraint I/P Module C1
Connector 6: Inflatable Restraint I/P Module C2
Connector 7: Inflatable Restraint PASSENGER AIR BAG ON/OFF Indicator
Connector 8: Inflatable Restraint Passenger Seat Belt Tension Retractor Sensor
Connector 9: Inflatable Restraint Sensing and Diagnostic Module (SDM)
Connector 10: Inflatable Restraint Side Impact Module - Left (AJ7)
Connector 11: Inflatable Restraint Side Impact Module - Right (AJ7)
Connector 12: Inflatable Restraint Side Impact Sensing Module (SISM) - Left (AJ7)
Connector 13: Inflatable Restraint Side Impact Sensing Module (SISM) - Right (AJ7)
Connector 14: Inflatable Restraint Steering Wheel Module C1
Connector 15: Inflatable Restraint Steering Wheel Module C2
Connector 16: Seat Belt Pretensioner - LF
Connector 17: Seat Belt Pretensioner - RF

Inflatable Restraint Front End Sensor - Left


Object Number: 1336240  Size: CH

Connector Part Information

  • OEM: 15356725 (Early Production)
  • OEM: 15356722 (Late Production)
  • Service: 88986455
  • Description: 2-Way F GT 150 Series Sealed (YE)

Terminal Part Information

  • Terminal: Service with Pigtail
  • Core/Insulation Crimp: N/A
  • Release Tool/Test Probe: See Terminal Repair Kit

Inflatable Restraint Front End Sensor - Left

Pin

Wire Color

Circuit No.

Function

A

TN/OG

5045

Low Reference

B

YE

354

Discriminating Sensor - Left - Signal

Inflatable Restraint Front End Sensor - Right


Object Number: 684970  Size: CH

Connector Part Information

  • OEM: 15356726 (Early Production)
  • OEM: 15356724 (Late Production)
  • Service: 15306362
  • Description: 2-Way F GT 150 Series Sealed (YE)

Terminal Part Information

  • Terminal: Service with Pigtail
  • Core/Insulation Crimp: N/A
  • Release Tool/Test Probe: See Terminal Repair Kit

Inflatable Restraint Front End Sensor - Right

Pin

Wire Color

Circuit No.

Function

A

GY

5600

Low Reference

B

D-GN

1409

Discriminating Sensor - Right - Signal

Inflatable Restraint Front Passenger Presence System (PPS) Module


Object Number: 1468542  Size: CH

Connector Part Information

  • OEM: 15431682
  • Service: Not Serviced
  • Description: 18-Way F Micro-Pack 100W Series Sealed (BK)

Terminal Part Information

  • Terminal: Service with Terminated Lead
  • Core/Insulation Crimp: N/A
  • Release Tool/Test Probe: 12122523/J-35616-6

Inflatable Restraint Front Passenger Presence System (PPS) Module

Pin

Wire Color

Circuit No.

Function

1

D-BU

2307

Passenger Air Bag On Indicator Control

2

D-GN

2308

Passenger Air Bag Off Indicator Control

3

--

--

Not Used

4

GY

2488

Passenger Seat Belt Tension Sensor Signal

5

BK/WH

1751

Ground

6

YE

1362

Passenger Presence Sensor Signal

7

D-GN

608

5-Volt Reference

8

--

--

Not Used

9

PK

1139

Ignition 1 Voltage

10-13

--

--

Not Used

14

L-BU

1361

Low Reference

15

GY

1361

Low Reference

16

PK

608

5-Volt Reference

17

--

--

Not Used

18

PK

5018

Occupant Sensor Serial Data

Inflatable Restraint Front Passenger Presence System (PPS) Sensor


Object Number: 1538769  Size: CH

Connector Part Information

  • OEM: 15439374
  • Service: See Catalog
  • Description: 3-Way F 1.5 Series Sealed (GY)

Terminal Part Information

  • Terminal: Service with Pigtail
  • Core/Insulation Crimp: N/A
  • Release Tool/Test Probe: 12094430/J-35616-2A

Inflatable Restraint Front Passenger Presence System (PPS) Sensor

Pin

Wire Color

Circuit No.

Function

1

D-GN

608

5-Volt Reference

2

YE

1362

Passenger Presence Sensor Signal

3

GY

1361

Low Reference

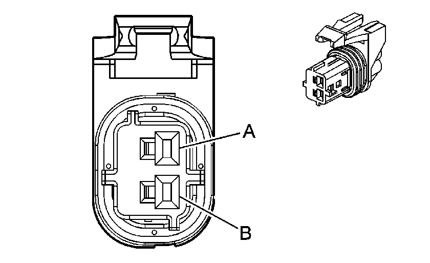
Inflatable Restraint I/P Module C1


Object Number: 966373  Size: CH

Connector Part Information

  • OEM: 54550267
  • Service: See Catalog
  • Description: 2-Way F ABX-3 Code B (WH)

Terminal Part Information

  • Terminal: Service with Pigtail
  • Core/Insulation Crimp: N/A
  • Release Tool/Test Probe: N/A

Inflatable Restraint I/P Module C1

Pin

Wire Color

Circuit No.

Function

A

YE

3025

I/P Module Stage 1 - High Control

B

OG

3024

I/P Module Stage 1 - Low Control

Inflatable Restraint I/P Module C2


Object Number: 966368  Size: CH

Connector Part Information

  • OEM: 54550271
  • Service: See Catalog
  • Description: 2-Way F ABX-3 Code G (WH)

Terminal Part Information

  • Terminal: Service with Pigtail
  • Core/Insulation Crimp: N/A
  • Release Tool/Test Probe: N/A

Inflatable Restraint I/P Module C2

Pin

Wire Color

Circuit No.

Function

A

GY

3027

I/P Module Stage 2 - High Control

B

PU

3026

I/P Module Stage 2 - Low Control

Inflatable Restraint PASSENGER AIR BAG ON/OFF Indicator


Object Number: 1538776  Size: CH

Connector Part Information

  • OEM: 15398877
  • Service: See Catalog
  • Description: 5-Way F HCM Series (WH)

Terminal Part Information

  • Terminal: Service with Pigtail
  • Core/Insulation Crimp: N/A
  • Release Tool/Test Probe: N/A

Inflatable Restraint PASSENGER AIR BAG ON/OFF Indicator

Pin

Wire Color

Circuit No.

Function

1

D-BU

2307

Passenger Air Bag On Indicator Control

2

BK

1551

Ground

3

D-GN

2308

Passenger Air Bag Off Indicator Control

4

PK

1139

Ignition 1 Voltage

5

PU

5234

Passenger Seat Belt Indicator

Inflatable Restraint Passenger Seat Belt Tension Retractor Sensor


Object Number: 684807  Size: CH

Connector Part Information

  • OEM: 12110293
  • Service: 12117025
  • Description: 3-Way F Metri-Pack 150 Series Sealed (BK)

Terminal Part Information

  • Terminal: Service with Pigtail
  • Core/Insulation Crimp: N/A
  • Release Tool/Test Probe: 12094429/J-35616-2A

Inflatable Restraint Passenger Seat Belt Tension Retractor Sensor

Pin

Wire Color

Circuit No.

Function

A

PK

608

5-Volt Reference

B

L-BU

1361

Low Reference

C

GY

2488

Passenger Seat Belt Tension Sensor Signal

Inflatable Restraint Sensing and Diagnostic Module (SDM)


Object Number: 1394178  Size: CH

Connector Part Information

  • OEM: 15357038
  • Service: See Catalog
  • Description: 34-Way F Micro-Pack 100 W 2.5 CL Series (YE)

Terminal Part Information

  • Terminal: Service with Terminated Lead
  • Core/Insulation Crimp: N/A
  • Release Tool/Test Probe: 12122523/J-35616-6

Inflatable Restraint Sensing and Diagnostic Module (SDM)

Pin

Wire Color

Circuit No.

Function

A1

TN

3021

Steering Wheel Module Stage 1 - High Control

A2

BN

3020

Steering Wheel Module Stage 1 - Low Control

A3

OG

3024

I/P Module Stage 1 - Low Control

A4

YE

3025

I/P Module Stage 1 - High Control

A5

TN/WH

2118

Seat Belt Pretensioner - Left - High Control

A6

OG/BK

2119

Seat Belt Pretensioner - Left - Low Control

A7

OG

2117

Seat Belt Pretensioner - Right - Low Control

A8

L-GN

2116

Seat Belt Pretensioner - Right - High Control

A9

BK/WH

1751

Ground

A10

PK

1139

Ignition 1 Voltage

A11

D-BU

1128

Class 2 Serial Data

A12

--

--

Not Used

A13

PK

5018

Occupant Sensor Serial Data

A14

D-GN

5016

Seat Belt Switch - Left - Signal

A15

L-GN

5055

Driver Seat Position Switch Signal (Early Production)

--

--

Not Used (Late Production)

A16

OG

1362

Seat Belt Switch - Right - Signal

A17

L-BU

5056

Passenger Seat Position Switch Signal (Early Production)

--

--

Not Used (Late Production)

A18

PK

5057

Seat Position Switch Low Reference (Early Production)

--

--

Not Used (Late Production)

B1

WH

3023

Steering Wheel Module Stage 2 - High Control

B2

PK

3022

Steering Wheel Module Stage 2 - Low Control

B3

PU

3026

I/P Module Stage 2 - Low Control

B4

GY

3027

I/P Module Stage 2 - High Control

B5

YE

354

Discriminating Sensor - Left - Signal

B6

TN/OG

5045

Low Reference

B7

GY

5600

Low Reference

B8

D-GN

1409

Discriminating Sensor - Right - Signal

C1

BN

2137

Side Impact Module - LF - High Control (AJ7)

C2

YE/BK

2138

Side Impact Module - LF - Low Control (AJ7)

C3

L-GN

2136

Side Impact Module - RF - Low Control (AJ7)

C4

TN/WH

2135

Side Impact Module - RF - High Control (AJ7)

C5

YE

2131

Side Impact Sensing Module - Left - Voltage (AJ7)

C6

WH

2132

Side Impact Sensing Module - Left - Signal (AJ7)

C7

D-GN

2134

Side Impact Sensing Module - Right - Signal (AJ7)

C8

TN

2133

Side Impact Sensing Module - Right - Voltage (AJ7)

Inflatable Restraint Side Impact Module - Left (AJ7)


Object Number: 739643  Size: CH

Connector Part Information

  • OEM: CA-252-92-5 Q
  • Service: See Catalog
  • Description: 2-Way F (YE)

Terminal Part Information

  • Terminal: Service with Pigtail
  • Core/Insulation Crimp: N/A
  • Release Tool/Test Probe: N/A

Inflatable Restraint Side Impact Module - Left (AJ7)

Pin

Wire Color

Circuit No.

Function

1

D-GN/WH

--

Side Impact Module - LF - Low Control

2

D-GN/WH

--

Side Impact Module - LF - High Control

Inflatable Restraint Side Impact Module - Right (AJ7)


Object Number: 739643  Size: CH

Connector Part Information

  • OEM: CA-252-92-5 Q
  • Service: See Catalog
  • Description: 2-Way F (YE)

Terminal Part Information

  • Terminal: Service with Pigtail
  • Core/Insulation Crimp: N/A
  • Release Tool/Test Probe: N/A

Inflatable Restraint Side Impact Module - Right (AJ7)

Pin

Wire Color

Circuit No.

Function

1

D-GN

--

Side Impact Module - RF - Low Control

2

D-GN

--

Side Impact Module - RF - High Control

Inflatable Restraint Side Impact Sensing Module (SISM) - Left (AJ7)


Object Number: 877918  Size: CH

Connector Part Information

  • OEM: 15356727
  • Service: 88953129
  • Description: 2-Way F GT 150 Series, Sealed (YE)

Terminal Part Information

  • Terminal: Service with Pigtail
  • Core/Insulation Crimp: N/A
  • Release Tool/Test Probe: See Terminal Repair Kit

Inflatable Restraint Side Impact Sensing Module (SISM) - Left (AJ7)

Pin

Wire Color

Circuit No.

Function

A

WH

2132

Side Impact Sensing Module - Left - Signal

B

YE

2131

Side Impact Sensing Module - Left - Voltage

Inflatable Restraint Side Impact Sensing Module (SISM) - Right (AJ7)


Object Number: 877918  Size: CH

Connector Part Information

  • OEM: 15356727
  • Service: 88953129
  • Description: 2-Way F GT 150 Series, Sealed (YE)

Terminal Part Information

  • Terminal: Service with Pigtail
  • Core/Insulation Crimp: N/A
  • Release Tool/Test Probe: See Terminal Repair Kit

Inflatable Restraint Side Impact Sensing Module (SISM) - Right (AJ7)

Pin

Wire Color

Circuit No.

Function

A

D-GN

2134

Side Impact Sensing Module - Right - Signal

B

TN

2133

Side Impact Sensing Module - Right - Voltage

Inflatable Restraint Steering Wheel Module C1


Object Number: 966373  Size: CH

Connector Part Information

  • OEM: 54560208
  • Service: See Catalog
  • Description: 2-Way F ABX-3 Code B (GY)

Terminal Part Information

  • Terminal: Service with Pigtail
  • Core/Insulation Crimp: N/A
  • Release Tool/Test Probe: N/A

Inflatable Restraint Steering Wheel Module C1

Pin

Wire Color

Circuit No.

Function

A

TN

3021

Steering Wheel Module Stage 1 - High Control

B

BN

3020

Steering Wheel Module Stage 1 - Low Control

Inflatable Restraint Steering Wheel Module C2


Object Number: 966368  Size: CH

Connector Part Information

  • OEM: 54550271
  • Service: See Catalog
  • Description: 2-Way F ABX-3 Code G (PU)

Terminal Part Information

  • Terminal: Service with Pigtail
  • Core/Insulation Crimp: N/A
  • Release Tool/Test Probe: N/A

Inflatable Restraint Steering Wheel Module C2

Pin

Wire Color

Circuit No.

Function

A

WH

3023

Steering Wheel Module Stage 2 - High Control

B

PK

3022

Steering Wheel Module Stage 2 - Low Control

Seat Belt Pretensioner - LF


Object Number: 295469  Size: CH

Connector Part Information

  • OEM: 12110505
  • Service: 15306044
  • Description: 2-Way F Metri-Pack 150 Series (YE)

Terminal Part Information

  • Terminal: Service with Pigtail
  • Core/Insulation Crimp: E/C
  • Release Tool/Test Probe: 12094429/J-35616-2A

Seat Belt Pretensioner - LF

Pin

Wire Color

Circuit No.

Function

A

TN/WH

2118

Seat Belt Pretensioner - Left - High Control

B

OG/BK

2119

Seat Belt Pretensioner - Left - Low Control

Seat Belt Pretensioner - RF


Object Number: 295469  Size: CH

Connector Part Information

  • OEM: 12110505
  • Service: 15306044
  • Description: 2-Way F Metri-Pack 150 Series (YE)

Terminal Part Information

  • Terminal: Service with Pigtail
  • Core/Insulation Crimp: E/C
  • Release Tool/Test Probe: 12094429/J-35616-2A

Seat Belt Pretensioner - RF

Pin

Wire Color

Circuit No.

Function

A

L-GN

2116

Seat Belt Pretensioner - Right - High Control

B

OG

2117

Seat Belt Pretensioner - Right - Low Control