GM Service Manual Online
For 1990-2009 cars only
Connector 1: Fuse Block - Underhood Label (Early Production)
Connector 2: Fuse Block - Underhood Label (Late Production)
Connector 3: Fuse Block - Underhood Top View
Connector 4: Fuse Block - Underhood Bottom View
Connector 5: Fuse Block - Underhood C1
Connector 6: Fuse Block - Underhood C2 (Early Production)
Connector 7: Fuse Block - Underhood C2 (Late Production)
Connector 8: Fuse Block - Underhood C3
Connector 9: Fuse Block - I/P Label
Connector 10: Fuse Block - I/P Top View
Connector 11: Fuse Block - I/P Bottom View
Connector 12: Fuse Block - I/P C1 (Early Production)
Connector 13: Fuse Block - I/P C1 (Late Production)
Connector 14: Fuse Block - I/P C2
Connector 15: Sit-N-Lift Seat Fuse Block (AQW)

Fuse Block - Underhood Label (Early Production)


Object Number: 1522138  Size: MF

Fuse Block - Underhood Label (Late Production)


Object Number: 1564526  Size: MF

Fuse Block - Underhood Label Usage

No.

Device

Rating

Description

1

RH HI BEAM Fuse

10A

Headlamp - High Beam - Right

2

FUEL PUMP Fuse

15A

FUEL PUMP Relay

3

DIODE

--

AC/CLTCH Relay

4

LH HI BEAM Fuse

10A

Headlamp - High Beam - Left

5

--

--

Not Used

6

A/C CLTCH Fuse

10A

AC/CLTCH Relay

7

HORN Fuse

15A

HORN Relay

8

LH LO BEAM Fuse

10A

Headlamp - Low Beam - Left

9

PCM ETC Fuse

15A

PCM

10

--

--

Not Used

11

TRANS SOLS Fuse

10A

1-2 SS Valve, 2-3 SS Valve, and TCC Solenoid Valve

12

RH LO BEAM Fuse

10A

Headlamp - Low Beam - Right

13

ABS Fuse

10A

EBCM

14

PCM IGN Fuse

10A

CRNK Relay and PCM

15

ELEC IGN Fuse

15A

ICM

16

FUEL INJ Fuse

15A

Fuel Injectors 1-6

17

HVAC/RPA/CRUISE Fuse

10A

CRUISE/SWTCH Fuse, HVAC Control Module, and Rear Object Sensor Control Module

18

ETC Fuse

15A

TAC Module

19

ENG SNSR/EVAP Fuse

15A

HO2S1 and HO2S2

20

AIRBAG Fuse

10A

Inflatable Restraint PASSENGER AIR BAG ON/OFF Indicator, PPS Module, and SDM

21

--

--

Not Used

22

EMIS/AWD Fuse

15A

Differential Clutch Pump Actuator Check Valve

23

AUX/PWR 12VDC Fuse

25A

Auxiliary Power Outlet - Rear and Cigar Lighter

24

FRT WSW Fuse

15A

BCM

25

AC/DC INVRTR Fuse

25A

Accessory AC/DC Power Control Module

26

RR BLWR/110VAC Fuse

25A

Blower Motor - Auxiliary

27

FRT/BLWR Fuse

25A

HVAC Control Module

28

FRT WPR Fuse

25A

WPR1 Relay

29

FAN1 Fuse

30A

FAN1 Relay

30

STRTR SOL Fuse

40

CRNK Relay

31

ABS MOTOR Fuse

60A

EBCM

32

--

--

Not Used

33

FAN2 Fuse

40A

FAN2 and FAN3 Relays

34

FRT BLWR HI

40A

Blower Motor Resistor Assembly

35

BATT MAIN 3 Fuse

60A

ELC, TRUNK/LKS and Spare Fuses

36

RR DEFOG Fuse

40A

RR DEFOG Relay

37

BATT MAIN 2 Fuse

60A

HTD/SEATS, LH - PSD, PWR/MIR, RH - PSD, and STOP/TRN Fuses, PWR SEATS Circuit Breaker

38

BATT MAIN 1 Fuse

40A

CNSTR/VENT, CHMSL BCK/UP, CLSTR/HVAC, INT/LAMP, ONSTAR, PRK/LAMP, PSD, RADIO AMP, and RFA MDLS Fuses (Early Production)

--

AC/CLTCH Relay

--

DIODE 3 and A/C Compressor Clutch

--

CRNK Relay

--

Starter Motor

--

FAN1 Relay

--

Cooling Fan - Left

--

FAN2 Relay

--

Cooling Fan - Right

--

FAN3 Relay

--

Cooling Fan - Right

--

FUEL PUMP Relay

--

Fuel Pump and Sender Assembly

--

HI BEAM Relay

--

LH HI BEAM and RH HI BEAM Fuses

--

HORN Relay

--

Horn - Left and Horn - Right

--

IGN MAIN Relay

--

ABS, AIRBAG, HVAC/RPA/CRUISE, PCM IGN, and TRANS SOLS Fuses, AC/CLTCH Relay

--

LO BEAM Relay

--

LH LO BEAM and RH LO BEAM Fuses

--

PWR/TRN Relay

--

ELEC IGN, EMIS/AWD, ENG SNSR/EVAP, ETC, FUEL INJ, and Spare Fuses

--

RUN RLY Relay

--

FRT/BLWR and RR BLWR/110VAC Fuses

--

WPR1 Relay

--

WPR2 Relay

--

WPR2 Relay

--

Windshield Wiper Motor

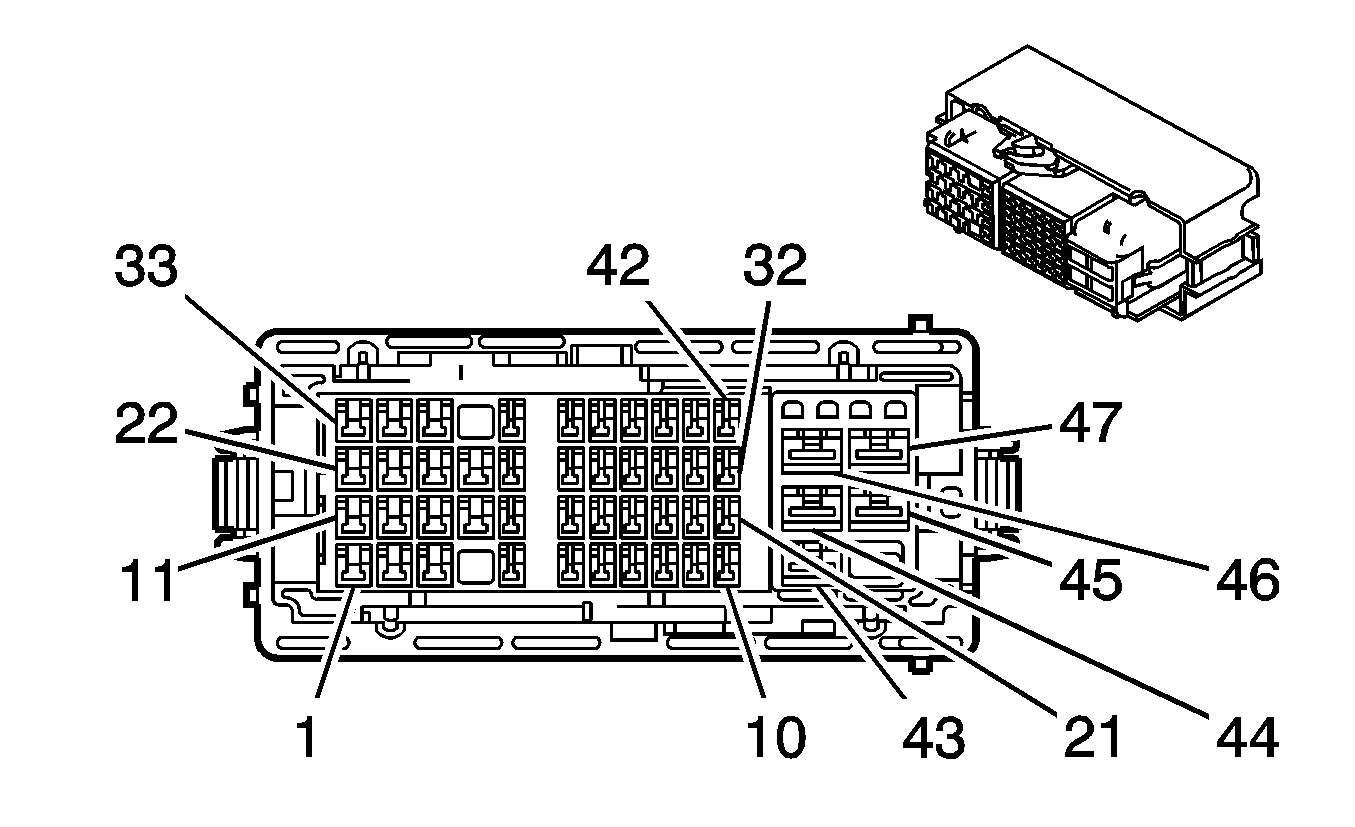
Fuse Block - Underhood Top View


Object Number: 1522143  Size: MF

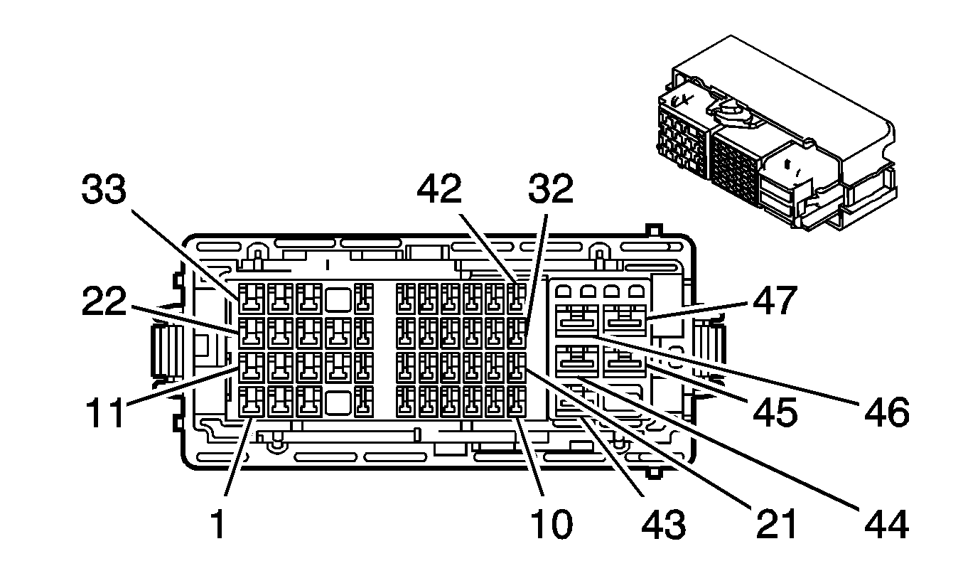
Fuse Block - Underhood Bottom View


Object Number: 1522145  Size: MF

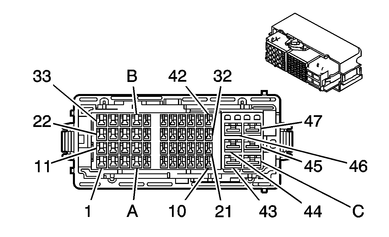
Fuse Block - Underhood C1


Object Number: 1538765  Size: CH

Connector Part Information

  • OEM: 15484558
  • Service: See Catalog
  • Description: 47-Way F Receptacle 1.5, 2.8, 6.3 Series (GY)

Terminal Part Information

  • Pin: 1
  • Terminal/Tray: 15304713/Tray 19
  • Core/Insulation Crimp: F/D
  • Release Tool/Test Probe: 15315247/J-35616-4A
  • Pins: 2, 11-13, 22, 24-25, 34-35
  • Terminal/Tray: 15304711/Tray 8
  • Core/Insulation Crimp: Pins 2, 13, 24-25, 35: E/A
  • Core/Insulation Crimp: Pins 11-12, 22, 34: 2/A
  • Release Tool/Test Probe: 15315247/J-35616-4A
  • Pins: 4, 6, 9-10, 15-21, 26-30, 32, 36-42
  • Terminal/Tray: 8100-4339/Tray 22
  • Core/Insulation Crimp: E/C
  • Release Tool/Test Probe: 15315247/J-38616-2A
  • Pins: 7-8
  • Terminal/Tray: 12191812/19
  • Core/Insulation Crimp: C/A
  • Release Tool/Test Probe: 15315247/J-35616-2A (GY)
  • Pin: 43
  • Terminal/Tray: 7116-4122-02/Tray 10
  • Core/Insulation Crimp: D/G
  • Release Tool/Test Probe: 12094430/J-35616-42

Fuse Block - Underhood C1

Pin

Wire Color

Circuit No.

Function

1

PU

6

Starter Solenoid Crank Voltage

2

PK

639

Ignition 1 Voltage

3

--

--

Not Used

4

D-GN/WH

2087

5-Volt Reference (JL4)

5

--

--

Not Used

6

D-GN

335

Low Speed Cooling Fan Relay Control

7

RD/WH

540

Battery Positive Voltage

8

BK

1050

Ground

9

D-GN/WH

459

A/C Compressor Clutch Relay Control

10

BK/WH

451

Ground

11

PK

239

Ignition 1 Voltage

12

PK

1039

Ignition 1 Voltage

13

PK

439

Ignition 1 Voltage

14

--

--

Not Used

15

L-GN

526

Stop Lamp Supply Voltage

16

PK

1339

Ignition 1 Voltage

17

D-GN

59

A/C Compressor Clutch Supply Voltage

18

YE/BK

625

Starter Enable Relay Control

19

PK

439

Ignition 1 Voltage

20

GY

1884

Cruise Control Switch Signal

21

BN

5069

Powertrain Relay Control

22

PK

39

Ignition 1 Voltage

23

--

--

Not Used

24

PK

839

Ignition 1 Voltage

PK

839

Ignition 1 Voltage

25

PK

839

Ignition 1 Voltage

PK

839

Ignition 1 Voltage

26

L-BU

1764

Steering Wheel Position Signal B (JL4)

27

L-BU

1296

Axle Actuator - Control (w/o JL4)

28

BN/WH

419

MIL Control

29

L-GN

1763

Steering Wheel Position Signal A (JL4)

30

L-BU

2088

Low Reference (JL4)

31

--

--

Not Used

32

D-BU

473

High Speed Cooling Fan Relay Control

33

--

--

Not Used

34

D-GN

389

Vehicle Speed Signal

D-GN

389

Vehicle Speed Signal

35

L-GN

526

Stop Lamp Supply Voltage

L-GN

526

Stop Lamp Supply Voltage

36

L-BU/WH

2088

Low Reference (JL4)

37

L-BU

1122

Class 2 Serial Data

38

D-GN

1049

Class 2 Serial Data

39

L-GN

1338

Lateral Accelerometer Signal (JL4)

40

L-BU

910

Yaw Rate Sensor Signal (JL4)

41

D-GN

2087

5-Volt Reference (JL4)

42

D-GN/WH

465

Fuel Pump Relay Control

43

RD/BK

1442

Battery Positive Voltage

44-47

--

--

Not Used

Fuse Block - Underhood C2 (Early Production)


Object Number: 1538764  Size: CH

Connector Part Information

  • OEM: 15484559
  • Service: See Catalog
  • Description: 47-Way F Receptacle 1.5, 2.8, 6.3 Series (BK)

Terminal Part Information

  • Pins: 1-2, 11, 13, 22-23, 25, 33, 35
  • Terminal/Tray: 15304711/Tray 8
  • Core/Insulation Crimp: E/A
  • Release Tool/Test Probe: 15315247/J-35616-4A
  • Pins: 3, 12, 14
  • Terminal/Tray: 15304713/Tray 19
  • Core/Insulation Crimp: Pins 3,14 : F/D
  • Core/Insulation Crimp: Pins 12 : 4/4
  • Release Tool/Test Probe: 15315247/J-35616-4A
  • Pins: 4-10, 15-21, 26-32, 36-42
  • Terminal/Tray: 8100-4339/Tray 22
  • Core/Insulation Crimp: E/C
  • Release Tool/Test Probe: 15315247/J-38616-2A
  • Pin: 31
  • Terminal/Tray: 12191812/19
  • Core/Insulation Crimp: E/C
  • Release Tool/Test Probe: 15315247/J-35616-2A (GY)
  • Pins: 43-47
  • Terminal/Tray: 7116-4122-02/Tray 10
  • Core/Insulation Crimp: D/G
  • Release Tool/Test Probe: 12094430/J-35616-42
  • Pin: 45
  • Terminal/Tray: 7116-4121-02/Tray 10
  • Core/Insulation Crimp: C/A
  • Release Tool/Test Probe: 12094430/J-35616-42

Fuse Block - Underhood C2 (Early Production)

Pin

Wire Color

Circuit No.

Function

1

PK

339

Ignition 1 Voltage

2

RD/WH

2440

Battery Positive Voltage

3

BN

641

Ignition 3 Voltage

4

PK

1139

Ignition 1 Voltage

5

L-BU

1296

Axle Actuator - Control

6

L-BU

1122

Class 2 Serial Data

7

D-GN

1049

Class 2 Serial Data

8

BN/WH

419

MIL Control

9

TN/WH

1969

Headlamp High Beam Relay Control

10

PK

1439

Ignition 1 Voltage

11

BN

9

Park Lamp Supply Voltage

12

BN

41

Ignition 3 Voltage

13

BK

1650

Ground

14

RD/BK

1342

Battery Positive Voltage

15

D-GN

389

Vehicle Speed Signal

16

L-BU/WH

2088

Low Reference

17

L-GN/BK

1338

Lateral Accelerometer Signal

18

L-GN

526

Stop Lamp Supply Voltage

19

PK/WH

1970

Headlamp Low Beam Relay Control

20

TN

860

Front Windshield Wiper Switch High Signal

21

L-BU

910

Yaw Rate Sensor Signal

22

RD/WH

2540

Battery Positive Voltage

23

GY

120

Fuel Pump Supply Voltage

24

--

--

Not Used

25

D-GN

95

Windshield Wiper Motor Low Speed Control

26

L-BU

1764

Steering Wheel Position Signal B

27

PK

739

Ignition 1 Voltage

28

PK

739

Ignition 1 Voltage

29

OG

300

Run Relay Control

30

D-GN

2087

5-Volt Reference

31

TN

28

Horn Relay Control

TN

28

Horn Relay Control

32

GY

91

Windshield Wiper Switch Signal 2

33

RD/WH

2540

Battery Positive Voltage

34

--

--

Not Used

35

PU

92

Windshield Wiper Motor High Speed Control

36

L-GN

1763

Steering Wheel Position Signal A

37

D-GN/WH

2087

5-Volt Reference

38

PK/BK

109

Hood Ajar Switch Signal

39

D-BU/WH

1315

Right Front Turn Signal Lamp Supply Voltage

40

L-BU/WH

1314

Left Front Turn Signal Lamp Supply Voltage

41

GY

1884

Cruise Control Switch Signal

42

L-BU

2088

Low Reference

43

RD/BK

742

Battery Positive Voltage

44

RD/BK

842

Battery Positive Voltage

45

RD/BK

442

Battery Positive Voltage

46

RD/BK

642

Battery Positive Voltage

47

--

--

Not Used

Fuse Block - Underhood C2 (Late Production)


Object Number: 1553928  Size: CH

Connector Part Information

  • OEM: 15492268
  • Service: See Catalog
  • Description: 50-Way F Receptacle 1.5, 2.8, 6.3 Series (BK)

Terminal Part Information

  • Pins: 1-2, 11, 13, 22-23, 25, 33, 35
  • Terminal/Tray: 15304711/Tray 8
  • Core/Insulation Crimp: E/A
  • Release Tool/Test Probe: 15315247/J-35616-4A
  • Pins: 3, 12, 14
  • Terminal/Tray: 15304713/Tray 19
  • Core/Insulation Crimp: Pins 3,14 : F/D
  • Core/Insulation Crimp: Pins 12 : 4/4
  • Release Tool/Test Probe: 15315247/J-35616-4A
  • Pins: 4-10, 15-21, 26-32, 36-42
  • Terminal/Tray: 8100-4339/Tray 22
  • Core/Insulation Crimp: E/C
  • Release Tool/Test Probe: 15315247/J-38616-2A
  • Pin: 31
  • Terminal/Tray: 12191812/19
  • Core/Insulation Crimp: E/C
  • Release Tool/Test Probe: 15315247/J-35616-2A (GY)
  • Pins: 43-47
  • Terminal/Tray: 7116-4122-02/Tray 10
  • Core/Insulation Crimp: D/G
  • Release Tool/Test Probe: 12094430/J-35616-42
  • Pin: 45
  • Terminal/Tray: 7116-4121-02/Tray 10
  • Core/Insulation Crimp: C/A
  • Release Tool/Test Probe: 12094430/J-35616-42

Fuse Block - Underhood C2 (Late Production)

Pin

Wire Color

Circuit No.

Function

1

PK

339

Ignition 1 Voltage

2

RD/WH

2440

Battery Positive Voltage

3

BN

641

Ignition 3 Voltage

4

PK

1139

Ignition 1 Voltage

5

L-BU

1296

Axle Actuator - Control

6

L-BU

1122

Class 2 Serial Data

7

D-GN

1049

Class 2 Serial Data

8

BN/WH

419

MIL Control

9

TN/WH

1969

Headlamp High Beam Relay Control

10

PK

1439

Ignition 1 Voltage

11

BN

9

Park Lamp Supply Voltage

12

BN

41

Ignition 3 Voltage

13

BK

1650

Ground

14

RD/BK

1342

Battery Positive Voltage

15

D-GN

389

Vehicle Speed Signal

16

L-BU/WH

2088

Low Reference

17

L-GN/BK

1338

Lateral Accelerometer Signal

18

L-GN

526

Stop Lamp Supply Voltage

19

PK/WH

1970

Headlamp Low Beam Relay Control

20

TN

860

Front Windshield Wiper Switch High Signal

21

L-BU

910

Yaw Rate Sensor Signal

22

RD/WH

2540

Battery Positive Voltage

23

GY

120

Fuel Pump Supply Voltage

24

--

--

Not Used

25

D-GN

95

Windshield Wiper Motor Low Speed Control

26

L-BU

1764

Steering Wheel Position Signal B

27

PK

739

Ignition 1 Voltage

28

PK

739

Ignition 1 Voltage

29

OG

300

Run Relay Control

30

D-GN

2087

5-Volt Reference

31

TN

28

Horn Relay Control

TN

28

Horn Relay Control

32

GY

91

Windshield Wiper Switch Signal 2

33

RD/WH

2540

Battery Positive Voltage

34

--

--

Not Used

35

PU

92

Windshield Wiper Motor High Speed Control

36

L-GN

1763

Steering Wheel Position Signal A

37

D-GN/WH

2087

5-Volt Reference

38

PK/BK

109

Hood Ajar Switch Signal

39

D-BU/WH

1315

Right Front Turn Signal Lamp Supply Voltage

40

L-BU/WH

1314

Left Front Turn Signal Lamp Supply Voltage

41

GY

1884

Cruise Control Switch Signal

42

L-BU

2088

Low Reference

43

RD/BK

742

Battery Positive Voltage

44

RD/BK

842

Battery Positive Voltage

45

RD/BK

442

Battery Positive Voltage

46

RD/BK

642

Battery Positive Voltage

47

--

--

Not Used

A-C

--

--

Not Used

Fuse Block - Underhood C3


Object Number: 1538764  Size: CH

Connector Part Information

  • OEM: 15486516
  • Service: See Catalog
  • Description: 47-Way F Receptacle 1.5, 2.8, 6.3 Series (NA)

Terminal Part Information

  • Pins: 13, 22, 33
  • Terminal/Tray: 15304711/Tray 8
  • Core/Insulation Crimp: Pins 13: 2/A
  • Core/Insulation Crimp: Pins 22,22,33,33: E/A
  • Release Tool/Test Probe: 15315247/J-35616-4A
  • Pins: 20, 31, 36-37, 40-42
  • Terminal/Tray: 8100-4339/Tray 22
  • Core/Insulation Crimp: E/C
  • Release Tool/Test Probe: 15315247/J-38616-2A
  • Pins: 44-47
  • Terminal/Tray: 7116-4122-02/Tray 10
  • Core/Insulation Crimp: D/G
  • Release Tool/Test Probe: 12094430/J-35616-42

Fuse Block - Underhood C3

Pin

Wire Color

Circuit No.

Function

1-12

--

--

Not Used

13

D-GN

29

Horn Control

14-19

--

--

Not Used

20

L-GN/BK

311

Right Headlamp High Beam Supply Voltage

21

--

--

Not Used

22

BN

9

Park Lamp Supply Voltage

BN

9

Park Lamp Supply Voltage

23-30

--

--

Not Used

31

D-GN/WH

711

Left Headlamp High Beam Supply Voltage

32

--

--

Not Used

33

BN

9

Park Lamp Supply Voltage

BN

9

Park Lamp Supply Voltage

34-35

--

--

Not Used

36

YE

712

Left Headlamp Low Beam Supply Voltage

37

TN/WH

312

Right Headlamp Low Beam Supply Voltage

38-39

--

--

Not Used

40

L-BU/WH

1314

Left Front Turn Signal Lamp Supply Voltage

41

D-BU/WH

1315

Right Front Turn Signal Lamp Supply Voltage

42

PK/BK

109

Hood Ajar Switch Signal (AP3)

43

--

--

Not Used

44

WH

504

Left Cooling Fan Motor Supply Voltage

45

L-BU

409

Right Cooling Fan Motor Supply Voltage

46

GY

532

Left Cooling Fan Motor Low Control

47

BK

1250

Ground

Fuse Block - I/P Label


Object Number: 1522146  Size: MF

Fuse Block - I/P Label Usage

No.

Device

Rating

Description

1

TRUNK/LKS Fuse

15A

BCM

2

ELC Fuse

20A

ALC Sensor, Multifunction Switch - Overhead Console and Rear Window Washer Fluid Pump Relay

3

RR WPR Fuse

15A

Rear Window Wiper Motor

4

RADIO AMP Fuse

20A

DVD Player and Radio

5

INT/LAMP Fuse

10A

BCM

6

ONSTAR Fuse

10A

DLC and VCU

7

RFA MDLS Fuse

10A

Digital Radio Receiver and RCDLR

8

CLSTR/HVAC Fuse

10A

HVAC Control Module and IPC

9

CRUISE/SWTCH Fuse

2A

Cruise Control Lever

10

STRG WHL ILLUM Fuse

2A

Steering Wheel Control Switch Assembly - Left and Steering Wheel Control Switch Assembly - Right

11

PWR/MIR Fuse

10A

Garage Door Opener and Outside Rearview Mirror Switch

12

STOP/TRN Fuse

20A

BCM

13

HTD/SEATS Fuse

20A

Heated Seat Relay - Driver and Heated Seat Relay - Passenger

14

--

--

Not Used

15

ELC Fuse

25A

ALC Compressor, ALC Inflator Air Switch, ALC Sensor, ALC Solenoid Valve, and Trailer Wiring Blunt Cut

16

HTD/MIR Fuse

10A

Outside Rearview Mirror - Driver and Outside Rearview Mirror - Passenger

17

CHMSL BCK/UP Fuse

15A

BCM

18

--

--

Not Used

19

CNSTR/VENT Fuse

10A

EVAP Canister Vent Solenoid

20

PRK/LAMP Fuse

10A

PRK LAMP Relay

21

PSD Fuse

15A

LSDM and RSDM

22-23

--

--

Not Used

24

LH-PSD Fuse

40A

LSDM

25

RH-PSD Fuse

40A

RSDM

26-27

--

--

Not Used

28

PRK LAMP Relay

--

License Lamp - Left, License Lamp - Right, Tail Lamp - Left, Tail Lamp - Right, Tail/Stop and Turn Signal Lamp - Left, Tail/Stop and Turn Signal Lamp - Right, and Trailer Wiring Blunt Cut

29

RAP Relay

--

ELC and RR WPR Fuses, and PWR WNDW Circuit Breaker

30

RR DEFOG Relay

--

HTD/MIR Fuse and Rear Window Defogger Grid

31

PWR SEATS Circuit Breaker

25A

Seat Adjuster Switch - Driver or Memory Seat Module - Driver and Seat Adjuster Switch - Passenger

32

PWR WNDW Circuit Breaker

25A

Window Switch - Driver and Window Switch - Passenger

Fuse Block - I/P Top View


Object Number: 1522149  Size: MF

Fuse Block - I/P Bottom View


Object Number: 1522150  Size: MF

Fuse Block - I/P C1 (Early Production)


Object Number: 1538764  Size: CH

Connector Part Information

  • OEM: 15484559
  • Service: See Catalog
  • Description: 47-Way F Receptacle 1.5, 2.8, 6.3 Series (BK)

Terminal Part Information

  • Pins: 3, 11-13, 22, 25
  • Terminal/Tray: 15304711/Tray 8
  • Core/Insulation Crimp: 2/A
  • Release Tool/Test Probe: 15315247/J-35616-4A
  • Pins: 4-6, 8-9, 16-18, 21, 36, 38-39, 41-42
  • Terminal/Tray: 8100-4339/Tray 22
  • Core/Insulation Crimp: E/C
  • Release Tool/Test Probe: 15315247/J-38616-2A
  • Pins: 15, 30
  • Terminal/Tray: 12191812/19
  • Core/Insulation Crimp: C/A
  • Release Tool/Test Probe: 15315247/J-35616-2A (GY)
  • Pins: 43-45, 47
  • Terminal/Tray: 7116-4122-02/Tray 10
  • Core/Insulation Crimp: D/G
  • Release Tool/Test Probe: 12094430/J-35616-42

Fuse Block - I/P C1 (Early Production)

Pin

Wire Color

Circuit No.

Function

1-2

--

--

Not Used

3

RD/WH

240

Battery Positive Voltage

4

TN

707

RAP Relay Coil Control

5

RD/WH

640

Battery Positive Voltage

6

RD/WH

2340

Battery Positive Voltage (UE1)

7

--

--

Not Used

8

GY

8

Instrument Panel Lamp Supply Voltage

9

PK

739

Ignition 1 Voltage

10

--

--

Not Used

11

RD/WH

2040

Battery Positive Voltage

12

RD/WH

340

Battery Positive Voltage

13

BN

9

Park Lamp Supply Voltage

14

--

--

Not Used

15

BN

9

Park Lamp Supply Voltage

16

RD/WH

640

Battery Positive Voltage (U2K)

17

RD/WH

2340

Battery Positive Voltage

18

RD/WH

1040

Battery Positive Voltage

19-20

--

--

Not Used

21

PK

1539

Ignition 1 Voltage

22-24

--

--

Not Used

25

RD/WH

1240

Battery Positive Voltage

26-29

--

--

Not Used

30

RD/WH

1040

Battery Positive Voltage

31-37

--

--

Not Used

38

L-GN

526

Stop Lamp Supply Voltage

39

L-GN

526

Stop Lamp Supply Voltage

40

--

--

Not Used

41

GY

1458

Instrument Panel Lamp Supply Voltage

42

WH

1080

Park Lamp Relay Control

43

RD/BK

642

Battery Positive Voltage

44

RD/BK

242

Battery Positive Voltage

45

RD/BK

842

Battery Positive Voltage

46

--

--

Not Used

47

RD/BK

742

Battery Positive Voltage

Fuse Block - I/P C1 (Late Production)


Object Number: 1553928  Size: CH

Connector Part Information

  • OEM: 15492268
  • Service: See Catalog
  • Description: 50-Way F Receptacle 1.5, 2.8, 6.3 Series (BK)

Terminal Part Information

  • Pins: 3, 11-13, 22, 25
  • Terminal/Tray: 15304711/Tray 8
  • Core/Insulation Crimp: 2/A
  • Release Tool/Test Probe: 15315247/J-35616-4A
  • Pins: 4-6, 8-9, 16-18, 21, 36, 38-39, 41-42
  • Terminal/Tray: 8100-4339/Tray 22
  • Core/Insulation Crimp: E/C
  • Release Tool/Test Probe: 15315247/J-38616-2A
  • Pins: 15, 30
  • Terminal/Tray: 12191812/19
  • Core/Insulation Crimp: C/A
  • Release Tool/Test Probe: 15315247/J-35616-2A (GY)
  • Pins: 43-45, 47
  • Terminal/Tray: 7116-4122-02/Tray 10
  • Core/Insulation Crimp: D/G
  • Release Tool/Test Probe: 12094430/J-35616-42

Fuse Block - I/P C1 (Late Production)

Pin

Wire Color

Circuit No.

Function

1-2

--

--

Not Used

3

RD/WH

240

Battery Positive Voltage

4

TN

707

RAP Relay Coil Control

5

RD/WH

640

Battery Positive Voltage

6

RD/WH

2340

Battery Positive Voltage (UE1)

7

--

--

Not Used

8

GY

8

Instrument Panel Lamp Supply Voltage

9

PK

739

Ignition 1 Voltage

10

--

--

Not Used

11

RD/WH

2040

Battery Positive Voltage

12

RD/WH

340

Battery Positive Voltage

13

BN

9

Park Lamp Supply Voltage

14

--

--

Not Used

15

BN

9

Park Lamp Supply Voltage

16

RD/WH

640

Battery Positive Voltage (U2K)

17

RD/WH

2340

Battery Positive Voltage

18

RD/WH

1040

Battery Positive Voltage

19-20

--

--

Not Used

21

PK

1539

Ignition 1 Voltage

22-24

--

--

Not Used

25

RD/WH

1240

Battery Positive Voltage

26-29

--

--

Not Used

30

RD/WH

1040

Battery Positive Voltage

31-37

--

--

Not Used

38

L-GN

526

Stop Lamp Supply Voltage

39

L-GN

526

Stop Lamp Supply Voltage

40

--

--

Not Used

41

GY

1458

Instrument Panel Lamp Supply Voltage

42

WH

1080

Park Lamp Relay Control

43

RD/BK

642

Battery Positive Voltage

44

RD/BK

242

Battery Positive Voltage

45

RD/BK

842

Battery Positive Voltage

46

--

--

Not Used

47

RD/BK

742

Battery Positive Voltage

A-C

--

--

Not Used

Fuse Block - I/P C2


Object Number: 1538764  Size: CH

Connector Part Information

  • OEM: 15486516
  • Service: See Catalog
  • Description: 47-Way F Receptacle 1.5, 2.8, 6.3 Series (NA)

Terminal Part Information

  • Pins: 2-3, 11, 22
  • Terminal/Tray: 15304711/Tray 8
  • Core/Insulation Crimp: 2/A
  • Release Tool/Test Probe: 15315247/J-35616-4A
  • Pins: 4, 36, 38
  • Terminal/Tray: 12191812/Tray 19
  • Core/Insulation Crimp: C/A
  • Release Tool/Test Probe: 15315247/J-35616-2A (GY)
  • Pins: 9-10, 19, 40-42
  • Terminal/Tray: 8100-4339/Tray 22
  • Core/Insulation Crimp: E/C
  • Release Tool/Test Probe: 15315247/J-38616-2A
  • Pins: 14, 23, 25, 35
  • Terminal/Tray: 15304713/Tray 19
  • Core/Insulation Crimp: Pins 14, 23: 4/4
  • Core/Insulation Crimp: Pins 25, 35: F/D
  • Release Tool/Test Probe: 15315247/J-35616-4A
  • Pins: 43, 45-46
  • Terminal/Tray: 7116-4121-02/Tray 10
  • Core/Insulation Crimp: C/A
  • Release Tool/Test Probe: 12094430/J-35616-42

Fuse Block - I/P C2

Pin

Wire Color

Circuit No.

Function

1

--

--

Not Used

2

RD/WH

1440

Battery Positive Voltage

3

--

--

Not Used

4

OG

2267

Mirror Heating Element Supply Voltage

5-8

--

--

Not Used

9

RD/WH

2840

Battery Positive Voltage

10

RD/WH

1840

Battery Positive Voltage

11

YE

643

Accessory Voltage

12-13

--

--

Not Used

14

RD/WH

1140

Battery Positive Voltage

15-18

--

--

Not Used

19

WH

193

Rear Defog Relay Control

20-21

--

--

Not Used

22

RD/WH

2040

Battery Positive Voltage

23

RD/WH

1140

Battery Positive Voltage

24

--

--

Not Used

25

YE

143

Accessory Voltage

26-34

--

--

Not Used

35

RD/WH

140

Battery Positive Voltage

36

RD/WH

440

Battery Positive Voltage

37

--

--

Not Used

38

YE

843

Accessory Voltage

39

--

--

Not Used

40

GY

8

Instrument Panel Lamp Supply Voltage

41

PK

739

Ignition 1 Voltage

42

RD/WH

840

Battery Positive Voltage

43

RD/BK

2940

Battery Positive Voltage

44

--

--

Not Used

45

RD/WH

1940

Battery Positive Voltage

46

D-GN

1927

Rear Window Defog Supply Voltage

47

--

--

Not Used

Sit-N-Lift Seat Fuse Block (AQW)


Object Number: 1548099  Size: CH

Connector Part Information

  • OEM: 24380 40F20
  • Service: Not Serviced
  • Description: 2-Way F/2-Way M Fuse Holder (BK)

Terminal Part Information

  • Terminal: Not Serviced in Kit
  • Core/Insulation Crimp: N/A
  • Release Tool/Test Probe: N/A

Sit-N-Lift Seat Fuse Block (AQW)

Pin

Wire Color

Circuit No.

Function

1

WH

AJ01

Battery Positive Voltage

2

RD

AJ02

Battery Positive Voltage

3

RD/GN

AS32

Battery Positive Voltage

4

RD

AJ05

Battery Positive Voltage